Виробник універсального круглошліфувального верстата для перешліфування корінних та шатунних шийок колінвалів моделі 3Д4230 - Лубенський верстатобудівний завод "Комунар"
Завод "Фенікс" заснований в 1915 році і в 1918 отримав назву "Комунар". З 1957 завод спеціалізується на виробництві універсальних і спеціальних круглошліфувальних верстатів з різним рівнем автоматизації, від верстатів з ручним керуванням до верстатів з сучасними ЧПУ.
Круглошліфувальний верстат 3Д4230 запущений у виробництво в 1990 році і є подальшим удосконаленням верстата моделі 3В423 .
Круглошліфувальний верстат 3Д4230 призначений для перешліфування корінних та шатунних шийок колінвалів довжиною до 1600 мм і вагою до 150 кг, а також конічних хвостовиків з ухилом до 3° колінчастиних валів методом врізного шліфування при ручному подачі шліфування.
Верстати 3Д4230 можуть застосовуватись на авторемонтних заводах та інших підприємствах, зайнятих відновленням колінчастиних валів, що здійснюють ремонт двигунів внутрішнього згоряння легкових та вантажних автомобілів, тракторів, мінітракторів, мотоблоків та іншої техніки.
Шліфування проводиться при ручній врізній подачі шліфувального круга. На верстатах 3Д4230 можна проводити шліфування гладких циліндричних та конічних поверхонь з кутом конусності до 3°30'.
Перешліфування корінних шийок колінчастиних валів може проводитися як у центрах, так і в патронах, шатунних шийок - тільки в патронах.
Клас точності верстатів за ГОСТ 8-82Е: 3Д4230 - В, 3Д4230А - А.
Вид кліматичного виконання верстатів УХЛ4.2 за ГОСТ 15150-69. Верстати для країн з тропічним кліматом мають бути виготовлені у кліматичному виконанні ТВ4.2 за ГОСТ 15150-69.
По поздовжнім напрямним передній частинині станини переміщається нижній стіл, що несе на собі верхній поворотний стіл .
У Т-подібному пазу нижнього столу укріплені переставні упори реверсу . Переміщення столів може здійснюватися вручну або гідравлічно.
Шліфувальна бабка переміщається по направляючих кочення. Це покращує плавність та підвищує точність подачі.
Шпиндель шліфувальної бабки встановлений у двох гідравлічних підшипниках спеціальної конструкції.
Шпиндель передньої бабки обертається у підшипниках кочення високих класів точності.
Вузли та деталі механізму швидкого підведення змонтовані у підкладній плиті, що має напрямні для шліфувальної бабки.
Основними вузлами механізму є:
Механізм балансування шліфувального кола закріплюється на фланці шліфувального кола і призначений для усунення дисбалансу, що виникає у процесі зносу кола. Балансування проводиться під час обертання шліфувального кола гальмуванням вручну однієї з ручок.
Для виправлення шліфувального кола зі верстатом поставляються знімні настільні правильні прилади:
Гідрофікований прилад для редагування кола закріплений на шліфувальній бабці. Правка проводиться алмазним олівцем за рахунок коливального руху алмазоутримувача вздовж утворюють периферії кола.
Лівий патрон-центрозмішувач кріпиться на планшайбі передньої бабки. На патроні є дві рухомі противаги і вантажі, призначені для балансування колінчастиних валів. Розміщенням противаг на патронах досягається майже повна динамічна врівноваженість оброблюваних валів, що дозволяє підвищити режими та якість обробки.
Правий патрон-центрозмішувач кріпиться на планшайбі задньої бабки. Умови кріплення та влаштування патрона правого такі ж, як у лівого патрона.
Правий патрон відрізняється відсутністю ділильного диска та фіксуючого пристрою.
Розробник - Лубенський верстатобудівний завод "Комунар" .
Колінчастиний вал служить для сприйняття зусиль від шатунів, пов'язаних з поршнем двигуна, та передачі цих зусиль на трансмісію автомобіля чи трактора. Таким чином, колінчастиний вал перетворює змінний зворотно-поступальний рух поршнів у обертальний. У колінчастому валі піддаються шліфування корінні та шатунні шийки, при цьому повинні бути витримані допуски:
Шліфування шийок колінчастиних валів представляє значні труднощі через його складну конфігурацію, неврівноваженість, обмеженість шийки двома бортами, більшого відношення довжини валу до діаметра шийок і тому зниженої його жорсткості. Корінні шийки шліфують на круглошліфувальних верстатах великої потужності.
Колінчастиний вал повинен бути попередньо збалансований спільно з передньою та задньою бабками.
Балансування колінчастого валу при шліфуванні шатунних шийок здійснюється рухомими вантажами, розміщеними позаду бабок виробу в неробочій зоні. Балансування важких колінчастиних валів здійснюється зміщенням додаткових рухомих вантажів на планшайбі патрона.
Для досягнення циліндричності шийки, що шліфується, верхній стіл допускає невеликий поворот.

Габарит робочого простору верстата 3Д4230 для перешліфування колінвалів.

Фото круглошліфувального верстата 3Д4230

Процес шліфування на круглошліфувальному верстаті 3Д4230

Колінвал після шліфування на круглошліфувальному верстаті 3Д4230

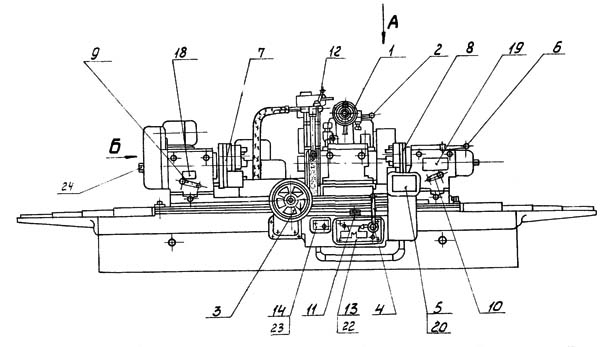
Розташування складових частинин верстата 3Д4230 для перешліфування шийок колінчастиних валів

Розташування органів керування круглошлифовальным верстатом 3Д4230

Настановне креслення круглошлифовального верстата 3Д4230
| Наименование параметра | 3В423 | 3Д4230 |
|---|---|---|
| Основні параметри | ||
| Класс точності по ГОСТ 8-71 | П | В/А |
| Наибольший диаметр обертання устанавливаемого вироби, мм | 580 | 580 |
| Наибольшая длина устанавливаемого вироби в центрах, мм | 1600 | 1600 |
| Наибольшая длина устанавливаемого вироби в патронах, мм | 1450 | 1450 |
| Наибольший диаметр шлифования без люнета, мм | 150 | 200 |
| Наибольший диаметр шлифования в люнете, мм | 110 | 130, 200 |
| Наименьший диаметр шлифования в люнете, мм | 30 | 25 |
| Расстояние от оси шпинделя передньої бабки до зеркала стола - высота центров, мм | 300 | 300 |
| Наибольшая длина шлифования, мм | 1600 | 1600 |
| Наибольший радиус кривошипа, мм | 105 | 110 |
| Наибольшая масса обрабатываемого вироби, кг | 150 | 160 |
| Станина і столы верстата | ||
| Наибольшее продольное перемещение стола от руки/ от гідравлики, мм | 1600/ 1600 | 1600/ 1600 |
| Скорость переміщення стола от гідросистемы наименьшая/ наибольшая, м/мин | 0,2/ 4,0 | 0,2/ 5,0 |
| Ручное замедленное/ ускоренное переміщення стола за один оборот маховика, мм | 2/ 15,2 | |
| Шлифовальная бабка | ||
| Наибольшее перемещение шлифовальной бабки, мм | 175 | |
| Диаметр шлифовального круга - наименьший/ наибольший, мм | 750/ 900 | 750/ 900 |
| Диаметр шлифовального круга - посадочный, мм | 305 | 305 |
| Наибольшая высота устанавливаемого круга, мм | 63 | 63 |
| Частота обертання шпинделя шлифовальной бабки, об/мин | 740 | 740 |
| Окружная скорость шлифовального круга, м/с | 35 | 35 |
| Кінець шлифовального шпинделя, мм | 1:5 | |
| Механізм поперечных подач шлифовальной бабки | ||
| Наибольшее перемещение шлифовальной бабки по винту, мм | 175 | 175 |
| Быстрый подвод шлифовальной бабки, мм | 100 | 100 |
| Время швидкого подвода шлифовальной бабки, с | ||
| Толчковая подача - периодическая подача з реверсированием стола (на один зуб храпового колеса), мм | 0,0025 | |
| Цена деления лимба поперечної подачі, мм | 0,005 | |
| Цена деления лимба тонкой поперечної подачі, мм | 0,0025 | |
| Величина поперечного переміщення шлифовальной бабки за один оборот маховика (лимба), мм | 0,5 | |
| Скорость швидкого установочного переміщення шлифовальной бабки, мм/мин | ||
| Точность обробки - конусность, мкм | 2,5 | 2,5 |
| Точность обробки - овальность, мкм | 2,5 | 2,5 |
| Передня бабка | ||
| Частота обертання вироби (при частоте тока 50 Гц), об/мин | 30; 60; 90; 180 | 30; 60; 85; 174 |
| Количество швидкостей обертання вироби | 4 | 4 |
| Конус шпинделя передньої бабки | Морзе 5 | |
| Задня бабка | ||
| Величина відведення пиноли задньої бабки от руки рычагом/ винтом, мм | 35/ 55 | |
| Конус шпинделя пінолі задньої бабки | Морзе 4 | |
| Привід та електроустаткування верстата | ||
| Кількість електродвигунів на верстаті | 7 | 7 |
| Електродвигун шпинделя шліфувальної бабки М1, кВт | 11,0 | 11,0 |
| Електродвигун насоса системи охолодження М2, кВт | 0,25 | 0,25 |
| Електродвигун магнітного сепаратора М3, кВт | 0,09 | 0,09 |
| Електродвигун основного насоса гідросистеми М4, кВт | 2,2 | 2,2 |
| Електродвигун насоса системи змащення шпинделя М5, кВт | 0,09 | 0,09 |
| Електродвигун насоса системи змащення направляючих столу М6, кВт | 0,09 | 0,09 |
| Електродвигун приводу виробу М7, кВт | 1,75 | 1,7 |
| Сумарна потужність електродвигунів, кВт | 14,63 | |
| Габаритні розміри та маса верстата | ||
| Габаритні розміри верстата (довжина x ширина x висота), мм | 5500 х 2550 х 1670 | 5600 х 2600 х 1900 |
| Маса верстата з електрообладнанням та охолодженням, кг | 8180 | 7500 |
Будь-який наказ, який може бути неправильно зрозумілий, розуміється неправильно.
Армійська аксіома