Виробник заточувального верстата для зуборізних головок 3А666 - Вітебський завод заточувальних верстатів Візас , заснований у 1897 році.
З 1940 року підприємство спеціалізується на випуску заточувального обладнання та на сьогоднішній день є єдиним у СНД виробником верстатів для виготовлення та заточування будь-якого різального інструменту. Продукція заводу експлуатується більш як у шістдесяти країнах світу.
Напівавтомат 3А666 заточувальний для зуборізних головок призначений для високопродуктивного чорнового і чистового заточування зуборізних головок і кругових протяжок, що застосовуються для нарізування конічних коліс з круговим зубом, а також зуборізних головок і фрез-протяжок, призначених для нарізування конічних коліс з прямим зубом, застосовується в крупно масового виробництва конічних зубчастиних коліс.
Цикл роботи напівавтоматичний. Заточувана зуборізна головка встановлюється на шпинделі бабки виробу.
Рухи, необхідні для заточування, здійснюються шліфувальним колом.
Процес заточування зуборізних головок поділяється на дві операції: чорнову та чистову, причому всі однойменні різці заточуються спочатку начорно, а потім начисто з однієї установки головки перемиканням механізму подач.
Для заточування двосторонньої зуборізної головки необхідні дві установки: одна для внутрішніх, інша для зовнішніх різців.
Подача шліфувального кола на глибину шару металу, що знімається, відбувається автоматично і безперервно від чорнового, а потім чистового кулачків.
Виправлення шліфувального кола здійснюється перед кожним циклом заточування всіх однойменних різців зуборізної головки.
Розподіл на необхідну кількість різців головки, що заточуються, здійснюється механізмом поділу. Заточування ведеться при рясному охолодженні.
Є електропроводка зі штепсельними роз'ємами.
Напівавтомати 3А666 забезпечують заточування зуборізних головок для конічних коліс із круговими зубами. Модель 3А666 розрахована також на заточування зуборізних головок для конічних коліс з прямими зубами.
Заточування на напівавтоматах відбувається конічною поверхнею абразивного кола типу 4Т (ГОСТ 2424-67), що осцилює в горизонтальній площині, з охолодженням. Заточувану зуборізну головку закріплюють на шпинделі бабки виробу і встановлюють у положення заточування.
Для заточування двосторонньої головки необхідно дві установки: одну для внутрішніх різців, іншу для зовнішніх різців;
для заточування тристоронньої головки – три установки. Заточення однойменних різців ділиться на два цикли: чорновий і чистовий, що відрізняються тільки величиною припуска, що знімається, і величиною поперечної подачі.
Цикл чистового заточування включає виходжування без подачі.
Кожен цикл заточування автоматизовано. У напівавтоматі мод. 3А666 автоматичний цикл включає правку кола на початку циклу та зупинку верстата після закінчення циклу.
Кожен різець заточується за кілька подвійних хитань шліфувальної бабки при безперервній подачі врізування, закон зміни якої визначається профілем кулачка подачі.
Величина припуску, що знімається за цикл, і режим обробки визначаються конструктивними параметрами верстата і не можуть змінюватися.
Клас точності верстата П згідно з ГОСТ 8-71.

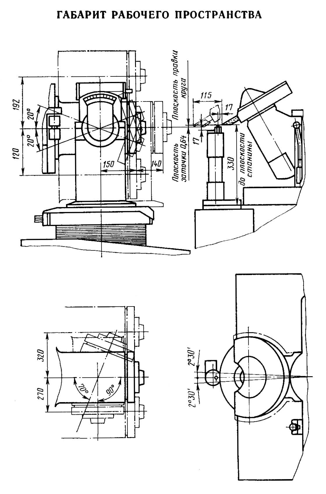
3А666 Габаритні розміри робочого простору заточувального верстата для зуборізних головок

Основні розміри та посадкові місця заточувального верстата 3А666
Основні розміри та посадкові місця заточувального верстата 3А666. Завантажити у збільшеному масштабі

Фото заточувального верстата для зуборізних головок 3А666

3А666 Кінематична схема заточувального верстата для зуборізних головок
Напівавтомат моделі 3А666 призначений для абразивного заточування різцевих зуборізних головок для нарізування конічних коліс з круговими та прямими зубами. Напівавтомат розроблений Вітебським ВКВ ЗШ та ЗС (конструктор В. Р. Полудеткін).
Напівавтомат 3А666 скомпонований з вузлів, що окремо збираються. По горизонтальним (V-подібною і плоскою) роликовим напрямним станини 1 (рис. 122) переміщаються шліфувальні санки 41, що несуть шліфувальну бабку 38, що здійснює качательные (осцилюючі) руху горизонтальній площині і вертикальну подачу на глибину різання при заточуванні і правку. До нижньої частинини шліфувальних санок прикріплений механізм подачі 65. Механізм приводу 48 осциляції шліфувальної бабки, переміщення шліфувальних санок і вертикальної подачі шліфувальної бабки змонтований у вікні правого торця станини і закритий кожухом. Зліва від шліфувального кола на станині встановлений механізм правки 71, що несе гільзу 30 з алмазом 36. З лівого торця станини по направляючих ковзання в поперечному напрямку переміщається вручну каретка 3, несуча бабку виробу 6. Крім поперечного переміщення каретка забезпечує пересувне бабці виробу поздовжнє. Баба виробу має можливість повертатися на каретці навколо своєї осі, а її шпиндель 35 повертатися навколо своєї осі і нахилятися. На бабці виробу встановлений механізм автоматичного поділу 14. Пульт керування розміщений на передній стінці шліфувальних санок. Шафа з електроустаткуванням прикріплена до задньої стінки станини. Бак для СОЖ з насосом та магнітним сепаратором встановлений поруч із верстатом.
Привід шлифовального шпинделя 37 осуществляется от електродвигуна 39, качание шлифовальной бабки — от електродвигуна 50 при включенной електромагнитной муфте 49 через червячную пару, конические шестерни і кривошип 42 шарнирного четырехзвенника, коромыслом которого является корпус шлифовальной бабки. Перемещение шлифовальных салазок при правке происходит кулачком 56, при делении — кулачком 58. Вращение кулачка 56 осуществляется от того же електродвигуна при включенной електромагнитной муфте 52 через две пары червячных шестерен; вращение кулачка 58 — при включенной муфте 49 через червячную пару, конические шестерни і две пары цилиндрических шестерен. Перемещение шлифовальных салазок 41 от кулачка 56 происходит через толкатель 53, рычаг 51, поворачивающийся вокруг оси, связанной з кулачком 58, через гайку-ползушку 46 і винт 40. От кулачка 58 перемещение салазок происходит через рычаг 51, поворачивающийся вокруг оси, связанной з толкателем 53, і далее через гайку-ползушку і винт 40. Подача врізання производится вертикальным переміщенням шлифовальной бабки, опирающейся через ролик 69 на черновой 68 или чистовой 67 кулачок. Переключення на режими черновой или чистовой заточки производят рукояткой 64, перемещающей через две пары конических шестерен і реечную передачу гильзу 66. Подвод алмаза 36 в зону правки і его отвод осуществляются от електродвигуна 34 через червячную пару, перегрузочную муфту і винт 32 з гайкой, закрепленной в гильзе 30, несущей алмазный карандаш.
Круг подается на алмаз при правке в двух направлениях: вертикальном і продольном от кулачка 60, посаженного на одном валу з кулачком 56. Рух от кулачка 60 передається через рычажную систему 59 на храповой механізм 61, 62 к далее по двум цепям: по ланцюги, обеспечивающей вертикальную подачу, — через карданный вал 63, конические шестерни і винт 70 з гайкой, связанной з роликом 69, і по ланцюги, обеспечивающей продольную подачу, — через две пары цилиндрических шестерен, винт 40 і гайку-ползушку 46, опирающуюся на рычаг 51. Ручная подача врізання происходит при вращении вала храповика за квадрат. При правке круга шлифовальная бабка должна занимать строго определенное положение относительно правящего алмаза, обеспечиваемое клином 43, перемещающимся от електродвигуна 47 через червячную передачу і винт 45 з гайкой і заклинивающим кривошип 42. Поворот шпинделя 35 бабки вироби при делении осуществляется от електродвигуна 18 через червячную передачу, мальтийскую пару 13—12, цилиндрическую зубчатую передачу, регулируемый кривошип 10, шатун 28 і коромысло 21, несущее зуб 24 поворота делительного диска 27, жестко связанного со шпинделем вироби. Поворотным зубом 24 і фиксатором 9 через рычажную систему 19—20 управляет кулачок 16, жестко закрепленный на оси червячного колеса, служащего одновременно двухпальцевым водилом мальтийского креста 12. При повороте червячного колеса, прежде чем палец 13 зайдет в паз мальтийского креста 12, кулачок 16, воздействуя на рычаг 17, насаженный на одном валу 15 з рычагом 23, повернет з помощью ролика 11 одним концом рычага 23 кронштейн 9 з фиксатором, а другим концом через тягу 22 переместит поворотный зуб 24. При етом фиксатор 9 выйдет, а поворотный зуб 24 войдет в паз делительного диска. Коромысло 21, несущее поворотный зуб, повернется на угол, устанавливаемый при изменении ексцентриситета кривошипа 10. После выхода пальца 13 из мальтийского креста кулачок 16 выведет поворотный зуб 24 из паза делительного диска, освободит подпружиненный кронштейн 9, і фиксатор западет в паз делительного диска. Затем мальтийский крест повернется еще на 90° і коромысло 26 з поворотным зубом возвратится в исходное положение. На етом цикл деления заканчивается.
Установка бабки вироби 3А666 в вертикальном направлении происходит при вращении вала червяка 4 за квадрат, в поперечном направлении — при вращении вала 2 за квадрат. Перемещение бабки вироби в продольном направлении обеспечивается вращением за квадрат гвинта 5, гайка которого закреплена в корпусе бабки вироби. Угловые установки шпинделя происходят следующим образом. Шпиндель вироби 35 поворачивают за квадрат червяка 25, связанного з механізмом деления 14, обкатывающегося вокруг червячного сектора 26 на бабке вироби; наклон шпинделя обеспечивается вращением червяка 29, связанного з поворотным корпусом і обкатывающегося вокруг сектора, закрепленного на нижней частини бабки вироби; бабка вироби поворачивается вокруг вертикальной оси вращением вала 7.
Полуавтоматический цикл роботи верстата состоит из ряда післядовательных циклов обробки окремих зубьев і автоматичною правки круга в начале каждого цикла. Нажатием кнопки «Пуск» включается вращение шлифовального круга і подача СОЖ- Затем кнопкой «Цикл заточки» включаются електродвигатель 50 і електромагнитная муфта 52, обеспечивающая вращение кулачков 56 подачі шлифовального круга і 60 переміщення шлифовальных салазок на правку. Шлифовальный круг, проходя над поднятым в верхнее положение алмазом 36, правится. В кінці ходу шлифовальных салазок влево от кулачка 56 бесконтактный выключатель 55 отключит муфту 52 і включит електродвигатели 34 і 47. Електродвигун 47 переместит клин 43 назад, обеспечив тем самым возможность качания шлифовальной головки, і отключит выключатель 44. Електродвигун 34 переместит алмаз из верхнего положения в нижнее, при етом отключится выключатель 31, а в кінці ходу включится выключатель 33, который дает команду на відключення електродвигателей 34 і 47, і включит муфту 49. Муфта 49 обеспечивает увімкнення качания шлифовальной бабки і вращение кулачка 58 переміщення шлифовальных салазок при заточке і кулачков врізання 67 і 68. Кулачок 58 имеет замкнутую кривую, состоящую из четырех участков. За один оборот кулачка, соответствующий полному циклу заточки одного резца, происходит подвод шлифовальной бабки в зону заточки, отвод на деление і остановка на период деления.
После заточки одного резца і відведення шлифовальной бабки выключатель 57 дает команду на увімкнення електродвигуна деления 18. Начинается деление. По окончании деления выключатель 15 отключит електродвигатель 18, шлифовальная головка подводится в зону обробки і начнется заточка очередного резца. Выключатель 8 — блокировочный; если он останется включенным, а выключатель 57 отключится, то все двигатели выключатся. По окончании заточки післяднего резца, реле счета импульсов, получающее импульсы от выключателя 57, дает команду на відключення електродвигуна 50 і реверсивное увімкнення електродвигателей 34 і 47. Електродвигун 47 переміщенням клина 43 установит шлифовальную головку в положение правки і включит выключатель 44, заблокировав тем самым увімкнення кинематических ланцюгів от електродвигуна 50 через муфту 49. Електродвигун 34 поднимет алмаз в положение правки. Алмаз, перемещаясь, по пути отключит з помощью выключателя 33 муфту 49, а выключателем 31 отключит електродвигатели 34 і 47 і включит електродвигатель 50 і муфту 52. Електродвигун 50 з помощью кулачка 56 переместит шлифовальные салазки в исходное (крайнее правое) положение. В етом положении з помощью выключателя 54 отключатся електродвигатель 50 і муфта 52. Цикл закончен. После окончания чернового цикла рукоятку 64 переключают в положение чистовой заточки, нажимают кнопку «Цикл заточки», і цикл повторяется снова.
Ниже приведено опис конструкції окремих вузлів напівавтомату.
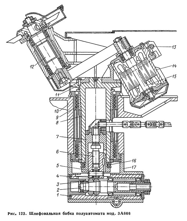
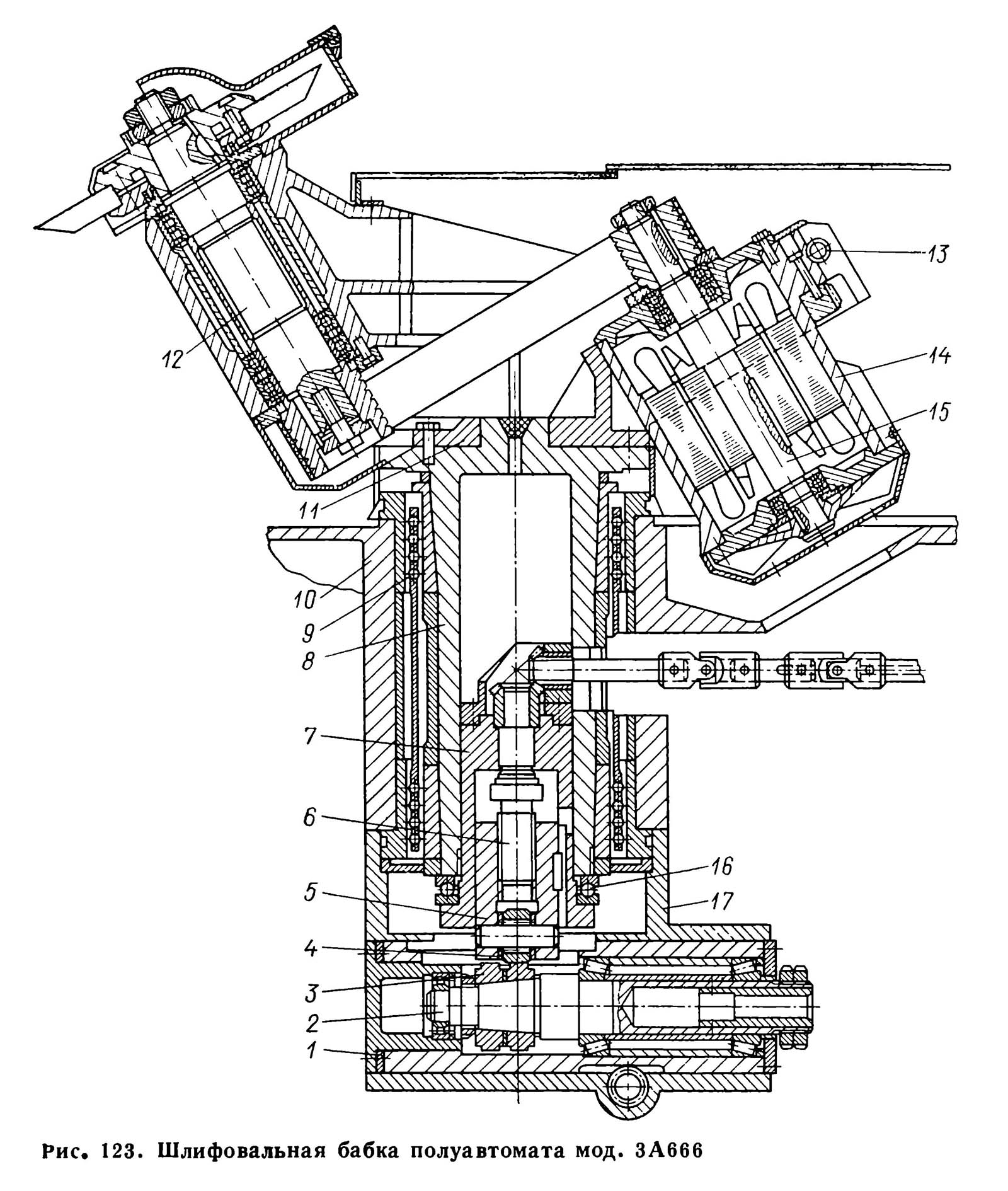
Шлифовальная бабка (рис. 123) представляет собой колонну 8 з закрепленным на ней корпусом 11, в расточках которого установлены на підшипниках качения шпиндель шлифовального круга 12 і корпус встроенного електродвигуна 14. Шпиндель связан з електродвигуном плоскоременной передачей. Натяжение ремня осуществляют поворотом корпуса 14, наружная поверхность которого ексцентрична относительно оси ротора 15, і фиксируют стяжным болтом 13. Колонну 8 устанавливают в расточке корпуса 10 шлифовальных салазок на двух четырехрядных шариковых підшипниках 9. Для выбора зазоров в підшипниках посадочные шейки колонны і внутренние кольца підшибників выполнены коническими. К нижней частини корпуса шлифовальных салазок прикреплен корпус механізма 17, в котором перемещается гильза 1 з кулачковым валом 2. На кулачковом валу закреплены черновой і чистовой кулачки подачі 3, на один из которых через ролик 4, ползушку 5, винт б, гильзу 7 і упорный подшипник 16 опирается колонна шлифовальной головки.

3А666 Шлифовальная бабка заточного верстата для зуборезных головок
3А666 Шлифовальная бабка заточного верстата для зуборезных головок. Скачать в увеличенном масштабе
Бабка вироби (рис. 124) предназначена для закрепления затачиваемой зуборезной головки і поворота її при установці относительно шлифовального круга вокруг трех взаимно перпендикулярных осей. Зуборезную головку устанавливают на одну из двух конусных посадочных поверхностей шпинделя 12 і притягивают к его торцу болтами. При заточке резцовых головок з посадочным отверстием большего или меньшего диаметра, чем диаметр посадочных конусов шпинделя, их крепят з помощью промежуточных фланцев.

3А666 Бабка вироби заточного верстата для зуборезных головок
3А666 Бабка вироби заточного верстата для зуборезных головок. Скачать в увеличенном масштабе
На заднем кінці шпинделя устанавливают сменные делительные диски 13. Шпиндель 12 смонтирован на підшипниках качения в корпусе шпиндельной головки 10, поворачивающейся в вертикальной плоскости на цапфах 11 в стойке 14. Наклон шпиндельной головки осуществляют вращением за квадрат червяка 8, закрепляющегося з червячным сектором 7 Угол наклона отсчитывают по шкале 6. Головку фиксируют на стойке рукояткой 5 через винт 3 і гайку 4. Поворот бабки вироби вокруг своей оси происходит при обкатывании зубчатого колеса 15 по зубчатому сектору 17 Фиксация бабки на каретке обеспечивается винтом 1, ввинчивающимся в гайку 16. Вращение гвинта производится за квадрат 2 через коническую передачу. Поворот шпинделя вироби вокруг своей оси осуществляют вращением червяка, обкатывающегося вокруг шестерни 9.
Все механізмы напівавтомату, за исключением бабки вироби з механізмом деления і каретки, смазываются централизованно от лопастного насоса. Емкость для масла размещена в станине.
Наладка напівавтомату для заточки зуборезных головок для нарізання колес з круговым зубом происходит в следующей післядовательности. С помощью калибра (рис. 125, а) алмаз настраивают по высоте. В положении переключателя «Правка вне цикла» производят правку круга при ручном вертикальном перемещении шлифовальной бабки. На конус шпинделя бабки вироби устанавливают делительный диск, фиксатор заводят в его паз, шкалы механізма деления устанавливают в соответствии з числом затачиваемых зубьев.
Шпиндель вироби наклоняют і перемещают по вертикали на величины, подсчитанные по формулам на стр. 166, или взятые из таблиц, прилагаемых к руководству верстатом. Поперечной установкой бабки вироби ось зуборезной головки смещают на половину її диаметра. Поздовжньої установкой бабки вироби резцы зуборезной головки подводят в зону заточки. Для установки необходимо торец калибра 1 прижать к кромке круга (рис. 125, б), при етом противоположный торец калибра определит крайнее положение кромки круга во время заточки. Поворотом шпинделя вироби з резцовой головкой вокруг своей оси з помощью калибра затачиваемую поверхность резца совмещают з плоскостью заточки (рис. 125, в). Шпиндель вироби дополнительно поворачивают на величину снимаемого при заточке припуска. Устанавливают черновой или чистовой цикл заточки. Установкой переключателя на пульті керування настраивают число затачиваемых за один цикл резцов, після заточки которых верстат останавливается.
При заточке зуборезных головок для нарізання конических шестерен з прямым зубом бабку вироби необходимо дополнительно повернуть вокруг вертикальной оси на угол 90° относительно направления переміщення шлифовальных салазок.

3А666 Схема налагодження заточного верстата для зуборезных головок
3А666 Схема налагодження заточного верстата для зуборезных головок. Скачать в увеличенном масштабе

Настановне креслення заточного верстата для зуборезных головок 3А666
Настановне креслення заточного верстата для зуборезных головок 3А666. Скачать в увеличенном масштабе

Технічні характеристики заточного верстата 3А666
Технічні характеристики заточного верстата 3А666. Скачать в увеличенном масштабе
Той, хто не дивиться вперед, виявляється позаду.
Г. Уеллс