metalinstryment.com
Довідник по металорізальних верстатів та пресовому обладнанні

БДС-5 Верстат деревообрабатывающий комбинированный
Схеми, опис, характеристики

БДС-5 Верстат комбинированный деревообрабатывающий







Відомості про виробника деревообрабатывающего комбинированного верстата БДС-5

Производитель універсального заточного верстата БДС-5 - Витебский завод заточных верстатів Визас, основанный в 1897 году.

С 1940 года предприятие специализируется на выпуске заточного оборудования і на сегодняшний день является единственным в СНГ производителем верстатів для изготовления і заточки любого режущего инструмента. Продукция завода експлуатируется более чем в шестидесяти странах мира.

Завод «ВИЗАС» производит, также, деревообробне обладнання.





Верстати, выпускаемые Витебским заводом заточных верстатів, Визас


БДС-5 Верстат деревообрабатывающий комбинированный. Назначение, область применения

Полупромышленный 4-х операционный комбинированный деревообрабатывающий верстат БДС-5 предназначен для комплексной обробки деталей из различных сортов дерева.

Комбинированный верстат БДС-5 имеет простую конструкцию: електродвигатель з двухступенчатым шкивом і строгальный вал (шпиндель) з приемным шкивом соединены клиновым ремнем. Строгальный вал (шпиндель) имеет две скорости обертання - 3000 і 3900 об/мин при перестановке клинового ремня.

С торца строгального вала крепится приемный шкив і дискова пила (дискова фреза).

Для установки токарного приспособления строгальный вал демонтируется і заменяется токарним шпинделем.

Верстат БДС-5 выполняет наступні операции:

  1. Строгание (фугование) по плоскости до 200 мм по ширине і до 3 мм в глубину за один проход при скорости подачі заготовки до 2 м/мин;
  2. Строгание по ребрам (кромке) под углом от 0 до 45°;
  3. Распиловку вдоль і поперек волокон доски толщиной до 50 мм при скорости подачі заготовки до 1,0 м/мин;
  4. Фрезерование дисковий фрезой глубиной до 16 мм при скорости подачі заготовки до 2 м/мин;
  5. Токарная обработка заготовки длиной до 630 мм, диаметром до 200 мм на план-шайбе і 100 мм в центрах.

Модифікації верстата БДС-5:

Приспособления, поставляемые к верстату БДС-5 за отдельную плату


Cклад комбинированного верстата БДС-5

Верстат БДС-5 состоит из станины 1 (рисунок 1), на которой установлен в підшипниках качения главный вал, являющийся ножевым валом.

На валу консольно установлен шкив, на который через клиноременную передачу передається вращение от електродвигуна 3.

На станине установлены строгальные столы (передний 4 і задний 5) з ограждением ножевого вала і пильный стол 1 (рисунок 2). На строгальные столы устанавливается удлинитель БДС—5.П2.000. Удлинитель стола состоит из (см.рисунок 10)

ПРИМЕЧАНИЕ иголки і ролики удлинителя стола помещены в комплектовочном ящике, а болты з шайбами установлены на станке.

На пильном столе установлена поворотная линейка для углового строгания. На скалку, расположенную вдоль пильного стола устанавливается линейка для углового пиления БДС-5.П1.010 (поз.2 рисунок 2).

Взамен стола 1 (рисунок 2) предусмотрена установка на станину верстата приспособления для токарной обробки (рисунок 12).

На передний строгальный стол устанавливается пристрій прижимное для строгания (рисунок 13). Крепежные болты з шайбами установлены на станке.


БДС-5 Загальний вигляд комбинированного верстата

Фото вигляд комбинированного верстата БДС-5

Фото комбинированного верстата БДС-5


Фото вигляд комбинированного верстата БДС-5

Фото комбинированного верстата БДС-5


Фото вигляд комбинированного верстата БДС-5

Фото комбинированного верстата БДС-5


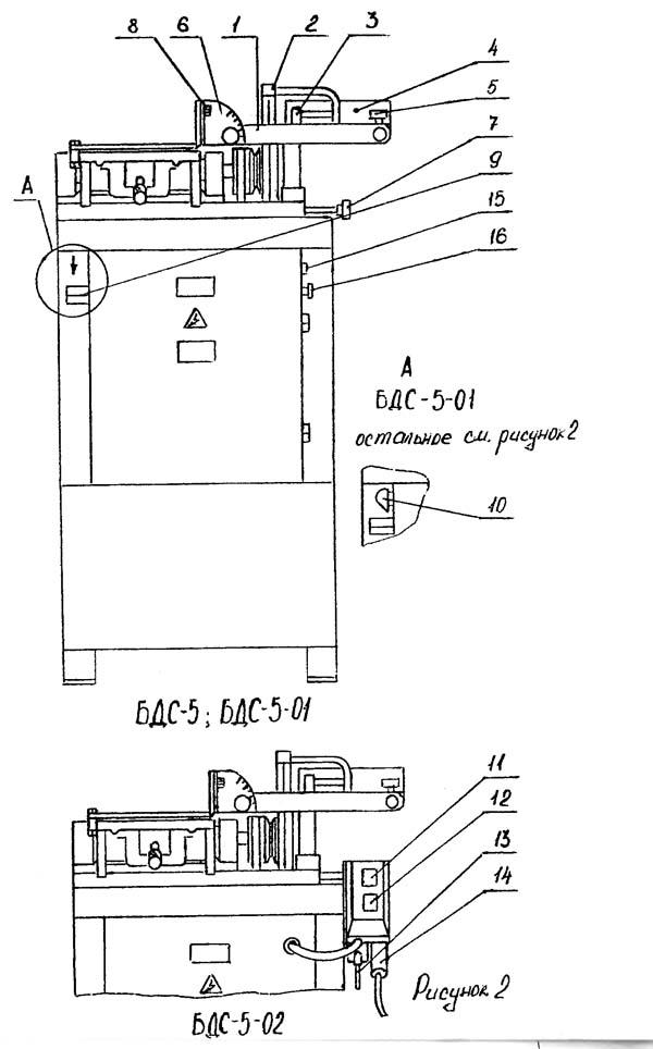
Розташування складових частин і органів керування верстатом БДС-5

Розташування складових частин і органів керування верстатом БДС-5


Розташування складових частин і органів керування верстатом БДС-5

Розташування складових частин і органів керування верстатом БДС-5


Крепление дисковий пилы і дисковий фрезы на кінці шпинделя

Крепление дисковий пилы і дисковий фрезы на кінці шпинделя


Установка токарного і прижимного пристосувань на верстат БДС-5

Установка токарного і прижимного пристосувань на верстат БДС-5


БДС-5 Верстат стационарный комбинированный. Опис вузлів

Для выполнения предусмотренных на станке работ необходимо учитывать, что:


Операция продольного пиления

При продольном пилении (фрезеровании) для обеспечения прямолинейного переміщення вдоль стола заготовку прижать к направляющей линейке 3 (рис.2), сняв линейку БДС-5.П1.010 поз. 4.

Пиление осуществлять плавно, без рывков, в нижнем положении пильного стола , строго соблюдая правила техники безопасности, изложенные в разделе 4 данного руководства. Перед пилением необходимо установить меньшую скорость обертання ножевого, вала (3000 мин -1), установив ремень на шкив меньшего диаметра електродвигуна і соответствующий ручей шкива ножевого вала.


Операция продольного пиления под углом

Для пиления под углом необходимо снять линейку 3 (рис.2) з пильного стола, установить требуемый угол пиления по лимбу линейки 4 і зафиксировать винтом 5 (рис.2). Пиление производить прижимай заготовку к линейке 4, перемещая її по скалке вдоль пильного стола.

ПРИМЕЧАНИЕ - Верстат поставляется налаженным на операцию пиление.


Операция строгания

При строгании величина снимаемого припуска устанавливается опусканием или подъемом переднего строгального стола. При етом величина снимаемого припуска не должна превышать 3мм. Подналадка верстата производится в соответствии з п.п.9.4 і 9.5настоящего руководства. Перед строганием установить большую скорость обертання ножевого вала (3900 мин-1), установив ремень на шкив большего диаметра електродвигуна і соответствующий ручей шкива, ножевого вала.

Перемещение строгальных столов осуществляется з помощью винтов і их фиксация гвинтами 12.

Для строгания под углом необходимо установить требуемый угол строганий по лимбу 6 (рис.2) линейки 6 (рис.1) учитывая, что цена деления на лимбе равна 5 град.

Задать линейку гвинтами 13 з двух сторон. Отпустить винты з гайками 7,8 (рис. 1,2) і опустить линейку до заднего строгального стола. Зажать винты 7 і произвести строгание, прижимая заготовку к плоскости линейки 6.


Операция фрезерування

Для выполнения фрезерных работ необходимо вместо пилы установить фрезу. Для чего снять пильный стол 1 (рис.2), пилу, кольцо 1 (рис.9). Установить Фрезу з кольцом БДС-4.90.201 поз.2 (рис.10), фланец 1 і закрепить болтом 3, з шайбой 4 (рис.9).

Сняв расклинивающий нож, установить пильный стол. Пильный стол фиксируется гвинтами 7 (рис.2), один из винтов закручивается ключом БДС-4.90.202А.


Токарные роботи

Для выполнения токарных работ необходимо:

Снять пильный стол со станины і режущий инструмент з оправки ножевого вала, снять клиновой ремень со шкивов ножевого валаи електродвигуна.

Установить клиновой ремень А—1600 на шкив токарного приспособления і установить пристрій 1 (рис.12) на станине закрепить зажимными гвинтами 7 (рис.2).

Установить опору БДС-5.П5.030 поз.2 (рис.12),отрегулировать пристрій по высоте, установить клиновой ремень А—1600 на ручей меньшего диаметра шкива електродвигуна, і зажать опору болтом 6.

Для токарной обробки необходимо закрепить заготовку в центрах, поджав її задним центром посредством маховичка 4 (рис.12), или на планшайбе посредством шурупов через пазы на планшайбе. Установить подручник 5 з екраном в месте обробки з зазором 3...5 мм от контура заготовки. Включить верстат і произвести обработку стамеской ВЗ-335.91.010. При работе в центрах планшайбу снять со шпинделя.


Строгание з использованием прижимного приспособления

Для строгания з использованием прижимного приспособления.

Снять ограждение 16 (рис.1) ножевого вала, отвернуть два гвинта М5 х 12, снять линейку Б, отвернув винты 13 і М5 х 15 з двух сторон линейки.

Установить пристрій БДС-5.П6.000 на передний строгальный стол (рис.13). Закрепить его тремя болтами поз.1 (М8 х16) і одним специальным винтом 2, завернуть ключом его БДС-4.90.202А.

Регулювання по высоте прижима осуществляется вращением рукоятки 3.

ПРИМЕЧАНИЯ: Приспособление для токарной обробки поставляется по требованию заказчика за отдельную плату.


Подготовительные операции

Углы заточки дереворежущего инструмента

Углы заточки дереворежущего инструмента


Регулювання ножей в строгальном барабане верстата БДС-5

Регулювання ножей в строгальном барабане верстата БДС-5


Планка для калибровки ножей в баробане верстата БДС-5

Планка для калибровки ножей в строгальном барабане


Ножи необходимо устанавливать так, чтобы они выступали на 1 мм за габарити ножевого вала. При установці контролировать равномерную выставку ножей по всей длине вала.

Затяжку болтов, удерживающих ножи, начинать от середины клина, выставку ножей произвести по калиберной планке. Перед началом роботи обязательно проверить надежность крепления ножей. Включив фугувальне пристрій, убедиться в нормальной его работе. Необходимо следить за работой підшибників ножевого вала. В случае повышения температуры необходимо заменить підшипники.





Електроустаткування деревообрабатывающего комбинированного верстата БДС-5

Схема електрична комбинированного верстата БДС-5

Електрична схема верстата БДС-5 на 220 В


Схема електрична комбинированного верстата БДС-5

Електрична схема верстата БДС-5-01 на 380 В


Схема електрична комбинированного верстата БДС-5

Електрична схема верстата БДС-5-02 на 220 В c ключом

ВНИМАНИЕ! Електроустаткування рассчитано на подключение к електросети з напряжением:

Электроаппаратура верстатів БДС-5; БДС-5-01 смонтирована в електрошкафу 8 (рисунок 1), расположенном на станине і предназначена для керування работой двигуна.

Электрошкаф имеет степень защиты IP54 по ГОСТ 14254-80.

Для верстатів БДС-5-01 (рисунок 6) і БДС-5-02 (рисунок 8) схемой предусмотрено тепловое реле для защиты електродвигуна от длительных перегрузок, нулевая защита от самопроизвольного пуска двигуна, осуществляемая катушкой магнитного пускателя, і блокировка ланцюги керування верстата при отсутствии ключа БДС-4.90.202А в устройстве замка-микропереключателя SQ1 (БДС-5, БДС-5-01).

Електродвигун 3 (рисунок 1) работает в повторнократковременном режиме S3 на станке БДС-5 (6 мин. роботи + 4 мин. отдых) ив длительном режиме S1 на станке БДС-5-01, БДС-5-02.

Пуск верстата БДС-5-02: вставить ключ БДС-4.90.202А поз. 13 (рис.2) в замок повернув на 90 по часовий стрелке і подсоединить розетку поз. 14. Нажать кнопку "ПУСК" поз. 11.

Для остановки верстата нажать кнопку "СТОП" 10 з грибовидным толкателем і фиксацией в нажатом (рис.1) положении. Расфиксацией - поворотом толкателя на 90° (по часовий стрелке). Для БДС-5—02 кнопка "СТОП" поз. 12 (рис.2).

Важно помнить, что:






Верстат деревообрабатывающий БДС-5. Відео взято з канала ютуб «Инженер Андрей».





Технічні характеристики комбинированного верстата БДС-5

Наименование параметра БДС-4 БДС-5 ВЗ-335
Пиление дисковий пилкою
Диапазон глубины пропила, мм 50 50 80
Наибольший диаметр пильного диска, мм Ø250 Ø250 Ø250..Ø315
Посадочный диаметр пилы, мм 40 40 32, 50
Частота обертання пилы, об/мин 2400, 4000 3000, 4500 3000, 4500
Розміри рабочей поверхности пильного стола, мм
Розміри торцевой каретки, мм
Ход торцевой каретки, мм
Наибольший диаметр фрезы, мм 180 180 Наибольшая глубина фрезерування, мм 16 16 Фугование (строгание) Наибольшая ширина фугования (строгания), мм 200 200 250 Наибольшая глубина снимаемого слоя за один проход при строгании, мм 3 3 Диаметр режущей частини ножевого вала, мм Частота обертання ножевого вала на холостом ходу, об/мин 2400, 4000 3000, 3900 3000, 4500 Розміри строгального ножа, мм Количество строгальных ножей в ножевом барабане 2 2 Ширина строгальных столов, мм Общая длина строгальных столов, мм 1300 Рейсмус Максимальная і минимальная толщина заготовки при рейсмусовании (Высота подъема рейсмусового стола), мм нет нет 120 Наименьшая длина обрабатываемой заготовки при рейсмусовании, мм нет нет 400 Скорость подачі заготовки в режиме рейсмуса, м/мин нет нет 3,6; 5 Розміри рабочей поверхности рейсмусового стола, мм нет нет Максимальная ширина рейсмусования, мм нет нет Наибольшая толщина срезаемого слоя при рейсмусовании, мм нет нет 3 Сверление. Фрезерование кінцівой фрезой Наибольший диаметр сверла, фрезы, мм нет нет 3..20 Частота обертання сверла, фрезы, мин нет нет 3000, 4500 Розміри рабочей поверхности стола, мм нет нет 450 х 250 Глубина сверления, мм нет нет 150 Продольный ход стола, мм нет нет 150 Пристрій токарное Частота обертання токарного шпинделя, об/мин нет 1300 1600 Наибольшая длина заготовки при токарной обработке, мм нет 630 800 Наибольший диаметр заготовки при токарной обработке в центрах, мм нет 100 80 Наибольший диаметр заготовки при токарной обработке на план-шайбе, мм нет 200 300 Вес токарного приспособления, кг нет 26 Електроустаткування верстата Род тока питающей сети ~220В ~220В / ~380В ~380В Количество електродвигателей на станке, шт 1 1 1 Електродвигун, кВт 2,2 1,5/ 2,2 3 Габарит і масса верстата Габарит верстата (длна х ширина х высота), мм 1035 х 560 х 1280 825 х 580 х 1000 1100 х 900 х 900 Масса верстата, кг 140 125 250

    Список литературы:

  1. Верстат деревообрабатывающий БДС-5, БДС-5-01, БДС-5-02. Руководство по експлуатации БДС-5.00.000 РЭ, 2009

  2. Амалицкий В.В. Деревообрабатывающие верстати і инструменты, 2002
  3. Афанасьев А.Ф. Резьба по дереву, Техника, Инструменты, Изделия, 2014
  4. Бобиков П.Д. Мебель своими руками, 2004
  5. Борисов И.Б. Обработка дерева, 1999
  6. Джексон А., Дей Д. Библия работ по дереву, 2015
  7. Золотая книга работ по дереву для владельца загородного участка, 2015
  8. Ильяев М.Д. Резьба по дереву, Уроки мастера, 2015
  9. Комаров Г.А. Четырехсторонние продольно-фрезерные верстати для обробки древесины, 1983
  10. Кондратьев Ю.Н., Питухин А.В... Технология изделий из древесины, Конструирование изделий і расчет материалов, 2014
  11. Коротков В. И. Деревообрабатывающие верстати, 2007
  12. Лявданская О.А., Любчич В.А., Бастаева Г.Т. Основы деревообробки, 2011
  13. Любченко В.И. Рейсмусовые верстати для обробки древесины, 1983
  14. Манжос Ф.М. Дереворежущие верстати, 1974
  15. Расев А.И., Косарин А.А. Гідротермическая обработка і консервирование древесины, учебное пособие, 2010
  16. Рыженко В.И. Полная енциклопедия художественных работ по дереву, 2010
  17. Рыкунин С.Н., Кандалина Л.Н. Технология деревообробки, 2005
  18. Симонов М.Н., Торговников Г.И. Окорочные верстати, 1990
  19. Соловьев А.А., Коротков В.И. Наладка деревообрабатывающего оборудования, 1987
  20. Суханов В.Г. Круглопильные верстати для распиловки древесины, 1984
  21. Фокин С.В., Шпортько О.Н. Деревообработка, Технологии і обладнання, 2017
  22. Хилтон Билл Работы по дереву, Полное руководство по изготовлению стильной мебели для дома, 2017