Виробником свердлильних верстатів моделі 2Г106П є Єреванський верстатобудівний завод ім. Дзержинського та Кучацький верстатобудівний завод (Вірменія) .
Початок серійного виробництва настільно-свердлувального верстата 2Г106П – 1967 рік.
Верстат настільно-свердлильний 2Г106П підвищеної точності призначений для свердління отворів діаметром до 6 мм та нарізування різьблення у дрібних деталях деталях з чавуну, сталі, кольорових сплавів та неметалічних матеріалів в умовах промислових підприємств, ремонтних майстерень та побутових майстерень.
Свердлильний верстат 2Г106П може ефективно використовуватись у серійному виробництві.
Верстат 2Г106П дозволяють виконувати такі операції:
Шпиндель верстата 2Г106П отримує 8 швидкостей обертання від 2-х 4-ступінчастиних змінних шківів приводу (швидкість 2800 об/хв повторюється).
При установці на верстат механізму подачі може бути використаний в автоматичній лінії.
Відлік глибини свердління провадиться за плоскою шкалою або упором.
Два 4-ступінчасті шківи приводу дозволяють отримувати 8 швидкостей обертання шпинделя, що забезпечує вільний вибір швидкостей різання.
Оригінальна конструкція натягу ремінної передачі дозволяє швидко змінювати положення ременя на шківах для отримання потрібної швидкості різання.
Розробник: СКБ ЗШ та ЗС.
Виробник: Єреванський верстатобудівний завод ім. Дзержинського.

Габарит робочого простору свердлувального верстата 2Г106П

Посадочні місця та приєднувальні розміри свердлильного верстата 2Г106П

Фото свердлильного верстата 2Г106П

Фото свердлильного верстата 2Г106П

Розташування органів керування свердлильним верстатом 2Г106П
Розташування органів керування свердлильним верстатом 2Г106П. Дивитись у збільшеному масштабі

Кінематична схема свердлильного верстата 2Г106П
Кінематична схема свердлильного верстата 2Г106П. Дивитись у збільшеному масштабі

Схема розташування підшипників свердлильного верстата 2Г106П
Схема розташування підшипників свердлувального верстата 2Г106П. Дивитись у збільшеному масштабі

Сверлильная головка сверлильного верстата 2Г106П
Сверлильная головка сверлильного верстата 2Г106П. Дивитись у збільшеному масштабі

Сверлильная головка сверлильного верстата 2Г106П
Сверлильная головка сверлильного верстата 2Г106П. Дивитись у збільшеному масштабі
Стол 1 представляет отливку коробчатой формы, имеющую желоб для сбора і відведення охлаждающей жидкости. На верхний платик стола в специальном цоколе 2 крепится колонна 3, по которой перемещается корпус 4 сверлильной головки.
В корпусе смонтированы шпиндельный узел, винтовая пара механізма подъема сверлильной головки і механізма зажиму сверлильной головки на колонне.
Шпиндельный узел верстата состоит из шпинделя 7, пиноли 12 з підшипниками і стакана 13 з підшипниками, в которых установлена втулка 15, предназначенная для розвантаження шпинделя 7 і крепления шкивов 16 і 19. Пиноль 12 перемещается во втулке 15.
Отсчет глубины сверления производится по лимбу 24 і укрепленной на корпусе сверлильной головки стрелке. Для налаштування на заданную глубину сверления необходимо отвернуть винт на вал-шестерне 26 і повернуть корпус лимба на величину глубины сверления. Цена деления лимба - 1 мм.
Возврат пиноли в верхнее положение осуществляется пружиной 28, которая одним концом укреплена на вал-шестерне 26, а другим - в корпусе 29.
Для изменения зусилля возвратной пружины необходимо утопить фиксатор 32 і повернуть корпус 29 на необходимый угол. При етом необходимо соблюдать осторожность, так как усилие пружины може быть достаточно велико.
Для установки требуемой частоти обертання шпинделя необходимо поднять кожух 17, отжать рукоятку 30, (рукоятка нажима плиты 31 натяжения ремня) вращением кнопки 14 ослабить натяжение ремня и, пользуясь таблицей частоти обертання установить ремень на соответствующую ступень шкивов 16 і 19 или поменять шкивы местами, після чего установить требуемое натяжение ремня.

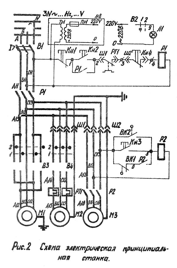
Електрична схема сверлильного верстата 2Г106П
Електрична схема сверлильного верстата 2Г106П. Дивитись у збільшеному масштабі
| Наименование параметра | 2Н106П | 2А106П | 2Г106П |
|---|---|---|---|
| Основні параметри верстата | |||
| Наибольший условный диаметр сверления в стали 45 по ГОСТ 1054-74, мм | 6 | 6 | 6 |
| Наименьшее і наибольшее расстояние от торца шпинделя до стола | 50..250 | 25..200 | 45..250 |
| Расстояние от оси вертикального шпинделя до направляючих стойки (вылет), мм | 125 | 125 | 160 |
| Рабочий стол | |||
| Розміри рабочей поверхности стола, мм | 200 х 200 | 200 х 200 | 200 х 200 |
| Число Т-образных пазов Розміри Т-образных пазов | 1 | 1 | 1 |
| Шпиндель | |||
| Наибольшее перемещение шпиндельной головки по колонне, мм | 130 | 105 | 135 |
| Ход гильзы шпинделя, мм | 70 | 70 | 70 |
| Частота обертання шпинделя, об/мин | 1000..8000 | 1548..15000 | 710, 1120, 1800, 2800, 4500, 7100, 11200 |
| Количество швидкостей шпинделя | 7 | 6 2 шкива х 3 |
7 |
| Конус шпинделя | Морзе 1а | Морзе II-Iв | Морзе Iв |
| Привод | |||
| Питающая сеть | 380 В | 380 В | 380 В |
| Електродвигун привода, кВт (об/мин) | 0,4 | 0,4 | 0,37 (3000) |
| Габарит і масса верстата | |||
| Габарити верстата (довжина ширина висота), мм | 560 х 405 х 625 | 600 х 350 х 650 | 580 х 292 х 530 |
| Маса верстата, кг | 80 | 73 | 76 |