Виробником токарно-гвинторізних верстатів моделі 1М61 є Єреванський верстатобудівний завод ім. Дзержинського .
На заводі випускалися токарно-гвинторізні верстати моделей 1Л61, 1Б61, 1П61, 1В61, 1М61 , серія токарних верстатів 16Л20, 16П16, 16Е16. Випускалися також механізовані та спецверстати моделей ЕТ-23, ЕТ-26, ЕТ-34, ЕТ-41, багаторізцевий верстат моделі ЕТ-50.
В даний час завод називається Єреванське Верстатобудівне Виробниче Об'єднання ЕСПО , ВАТ. Продукція, що виробляється - універсальні токарно-гвинторізні верстати підвищеної точності 16Е25П і 16ЕГ25П з діаметром обробки 500 мм.
Універсальний токарно-гвинторізний верстат 1М61 вироблявся з 1967 до 1992 року та замінив застарілу модель 1В61 .
Токарний верстат 1М61 призначений для токарної обробки зовнішніх (діаметром до 320 мм) та внутрішніх поверхонь деталей (довжиною 710 або 1000 мм) зі східчастиним та криволінійним профілем в осьовому перерізі.
Верстат 1М61 призначений для виконання різноманітних токарних робіт, у тому числі нарізування різьблення: метричної, дюймової, модульної та харчової в механічних цехах в умовах дрібносерійного та одиничного виробництва на підприємствах сільськогосподарського та промислового виробництва, а також на оборонних заводах.
Верстат 1М61 дозволяє проводити такі види токарних робіт:
Пуск, відключення, зміна напрямку головного руху проводиться у вигляді реверсивного магнітного пускателя.
Зміна швидкості обертання здійснюється перемиканням шестерень на передній панелі шпиндельної бабки.
Швидке реверсування електродвигуна при нарізанні різьблення - поворотом рукоятки У20 від верхнього крайнього положення в нижнє крайнє положення і навпаки.
Гальмування двигуна головного приводу здійснюється за допомогою електромагнітної муфти на кінці первинного валу коробці швидкостей.
Фланцевий кінець шпинделя виконаний за ГОСТ 12593 (DIN 55027, ІСО 702-3-75) під поворотну шайбу, з коротким конусом, що центрує, 1:4 (7°7′30″), номінальний діаметр конуса D = 106,375 мм. Умовний розмір кінця шпинделя – 6. Внутрішній (інструментальний) конус шпинделя – Морзе 5. Діаметр отвору шпинделя 35 мм. Стандартний діаметр токарного патрона 200, 250 мм.
Клас точності верстата Н.
Верстат замінив у виробництві модель 1-61.
Виробник – Єреванський верстатобудівний завод ім. Дзержинського.
Основні параметри верстата - відповідно до ГОСТ 18097-93 . Верстати токарно-гвинторізні та токарні. Основні розміри. Норми точності.

Габарит робочого простору токарного верстата 1М61

Посадочні та приєднувальні бази верстата 1М61

Фото універсального токарно-гвинторізного верстата 1М61

Розташування основних вузлів токарно-гвинторізного верстата 1М61

Розташування органів керування токарно-гвинторізним верстатом 1м61
Розташування органів керування токарно-гвинторізним верстатом 1м61. Дивитись у збільшеному масштабі

Розташування органів керування токарно-гвинторізним верстатом 1м61
Розташування органів керування токарно-гвинторізним верстатом 1м61. Дивитись у збільшеному масштабі

Таблиця налаштування різьб і подач токарно-гвинторізного верстата 1м61

Таблиця налаштування різьб і подач токарно-гвинторізного верстата 1м61

Кінематична схема токарно-гвинторізного верстата 1М61
1. Схема кінематична токарно-гвинторізного верстата 1М61. Дивитись у збільшеному масштабі
2. Схема кінематична токарно-гвинторізного верстата 1М61. Дивитись у збільшеному масштабі

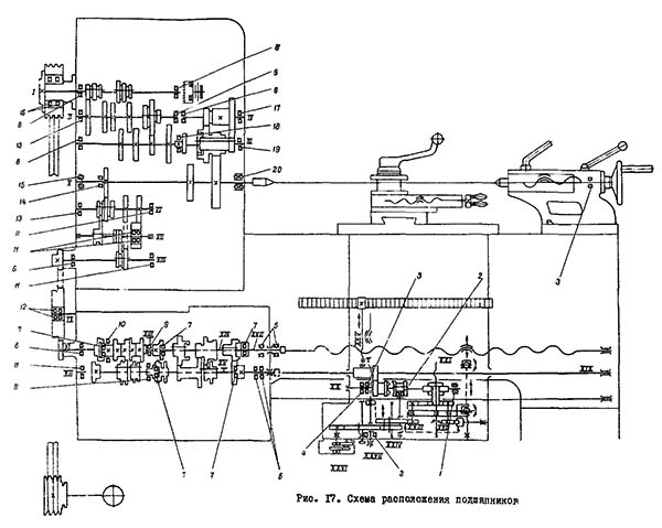
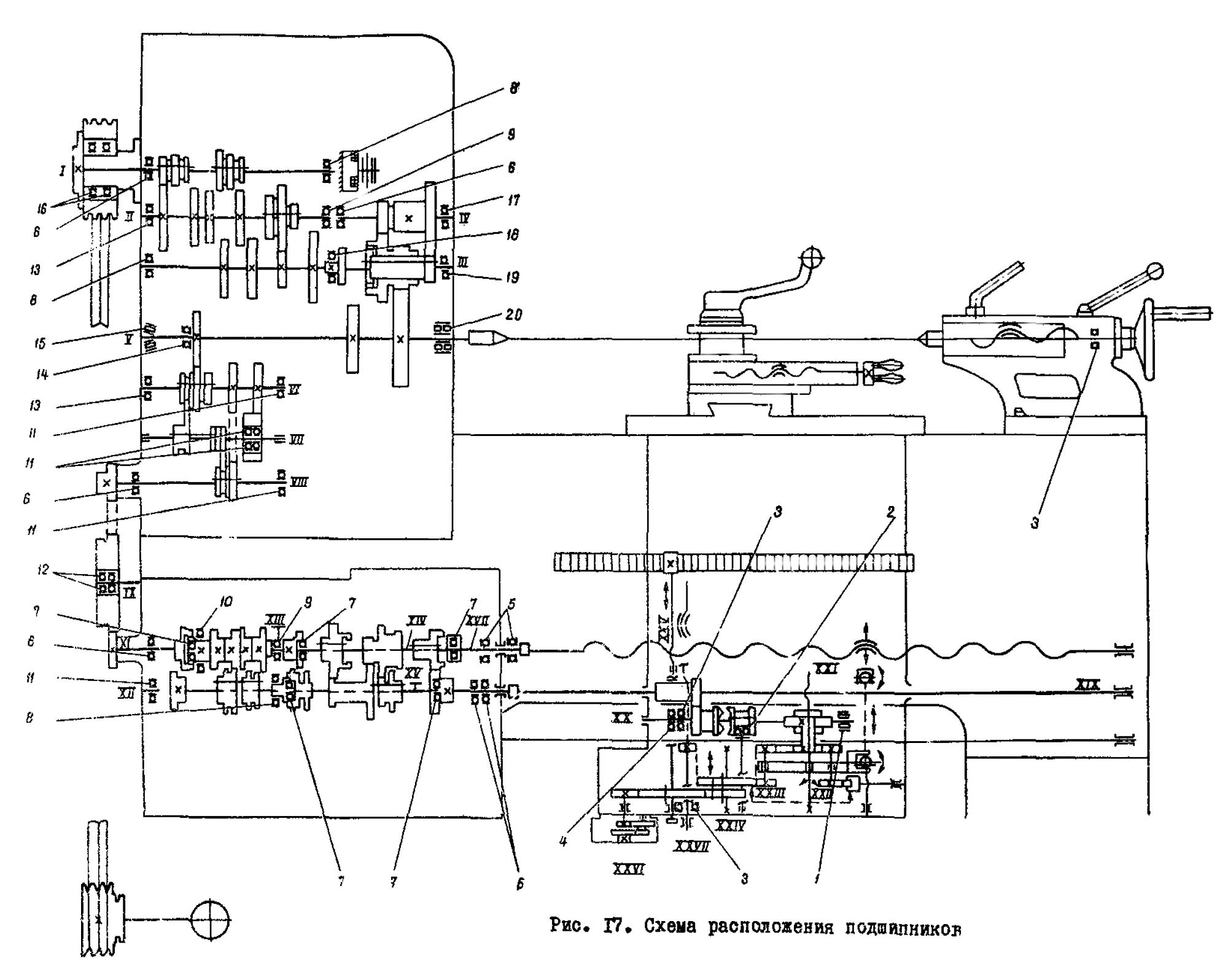
Схема розположення підшибників на токарному станке 1М61
Схема розположення підшибників на токарному станке 1М61. Дивитись у збільшеному масштабі

Список підшибників на токарному станке 1М61
Список підшибників на токарному станке 1М61. Дивитись у збільшеному масштабі
Шпиндель верстата 1М61 смонтирован на 3-х підшипниках:
Подшипник 3182116 - ето двухрядный роликовый радиальный подшипник, з короткими цилиндрическими роликами, з безбортовым наружным кольцом, з коническим посадочным отверстием (1:12), канавкой і отверстиями для внесения смазочного материала. Комплект тел качения з внутренним кольцом способны перемещаться относительно наружного. Этот типоразмер, как і большинство роликопідшибників етой серии производится в настоящее время только высокоточным, (ранее выпускался 5-ым і 6-ым классами точності), поскольку основная область применения — верстати, при работе которых недопустимо высокое биение, возникающее вследствие даже небольших отклонений от заданных размеров.
Основным производителем підшибників подобной конструкції всегда считался московский ГПЗ-1, сейчас же его производство переводят в город Волжский, на филиал Завода Авиационных Подшипников при 15 ГПЗ (все заводы объединены под егидой Европейской Подшипниковой Корпорации). В настоящее время изготавливается две модификации - 4-3182116К і 4-3182116КЕ, отличающиеся материалом сепаратора (латунь і полиамид), цена на них одинакова. Раньше же их было значительно больше, прежде всего по классу точності. Старые підшипники, массово реализуемые в фирмах соответствующего профиля могут мати точность 2, 5 і 6. Купить підшипники з гарантией качества, не опасаясь контрафакта или того, что вам продадут бывший в употреблении подшипник, можно только у официальных представителей ЕПК (ориентировочная цена — около 4700 рублей), торгующих напрямую з завода.
Импортные підшипники етого типоразмера имеют обозначение NN3016K (наличие буквы К в номере обязательно, так как она указывает на коническую посадку). В России наиболее распространена продукция следующих производителей — FAG, SKF, IBC. Есть і дешевый варіант покупки импортных підшибників етого типа — продукция восточно-европейских производителей — ZKL (Чехия) і FLT (Польша), однако чаще всего она реализуется неликвидного качества, производства 80-ых годов прошлого века, когда они поставлялись в страну для нужд уже развалившихся промышленных предприятий. Она отличается большим разнообразием модификаций, так что иногда ето единственный варіант для ремонта оборудования.
Ориентировочная цена наиболее качественных і дорогих импортных підшибників етого типа составляет около 310 евро при покупке без посредников.

Схема підшипника 3182116 двухрядного роликового радиального
В процессе експлуатации верстата возникает необходимость в регулировании окремих складових частин верстата з целью восстановления их нормальной роботи.
При ремонтi радиальный зазор переднего підшипника выбирается затягиванием гайки 2 (см.рис.6), которая після етого фиксируется контргайкой.
Гайка 3 предназначена для ослабления натяга підшипника. После регулювання гайка 3 фиксируется на прежнем месте.
Осевой люфт шпинделя регулируется гайкой 1. Затягиванием гайки 1 ликвидируются зазоры в коническом і упорном підшипниках. После регулювання гайка 1 фиксируется контргайкой.
Чрезмерное затягивание гайки 1 недопустимо. Шпиндель должен легко проворачиваться от руки.
При уменьшении крутящего момента шпинделя следует проверить натяжение ремней. Для изменения натяжения следует снять кожухи, ослабить четыре гайки на задньої стенке левой тумбы, которыми закреплена подмоторная плита и, поддерживая електродвигатель, установить требуемое натяжение ремней.
Осевой люфт ходового гвинта регулируется гайкой 1 (см.рис.7). Гайка 1 після затягивания фиксируется контргайкой. Чрезмерное затягивание гайки 1 недопустимо. Ходовой винт при раскрытой маточной гайке должен легко проворачиваться от руки.
Усилие срабатывания предохранительной муфты 3 (см.рис.8) отрегулировано на заводе. Она предохраняет механізм верстата от перегрузки при работе і встрече суппорта з жестким упором.
При необходимости можно произвести дополнительную регулировку предохранительной муфты, заворачивая винт 5 і тем самым постепенно увеличивать сжатие пружины 4.
Регулювання люфта корпуса маточной гайки в осевом направлении производится поджатием планки гвинтами, ввернутыми в правую торцовую стенку корпуса фартука. Б каждом отверстии находится по два гвинта: один рабочий і другой контровочный. При регулировке контровочный винт вывертывается.
При необходимости зазор маточной гайки регулируется винтом 6.
Винтом 9 регулируется усилие фиксации диска 8, удерживающее полугайки 7 в раскрытом положении.
Каретка прижимается к направляющим станины планками. Регулювання поджимающего зусилля планок производится гвинтами 4 (см.рис.9).
Люфт нижних салазок направляючих каретки выбирается клином 3.
Люфт верхних салазок выбирается клином 7.
Четкость роботи кулачковой муфты I резцедержателя регулируется гвинтами 2.
Усунення люфта гвинта поперечного переміщення суппорта производится затягиванием гвинта 5.
Рукоятка 17 (см.рис.3) може оказаться в положении, неудобном для фиксации задньої бабки от перемещений. Для переустановки рукоятки следует отвернуть стопорный винт, расположенный сзади бабки, приподнять рукоятку, развернуть її в нужное положение, опустить і зафиксировать.
Станина верстата устанавливается на двух тумбах і крепится к ним болтами. Между тумбами расположено корито, предназначенное для стока охлаждающей жидкости в бачок електронасоса, установленного в правой тумбе. В левой тумбе смонтирован електродвигатель головного приводу верстата. Станина имеет три равнобокие призматические і одну плоскую направляющие. По двум внешним призмам перемещается суппорт, а на одной (средней) призме з плоской направляющей устанавливается задня бабка.

Фото коробки швидкостей токарно-гвинторізного верстата 1М61
Коробка швидкостей токарно-гвинторізного верстата 1М61. Дивитись у збільшеному масштабі

Фото коробки швидкостей токарно-гвинторізного верстата 1М61

Фото тормозной муфты токарно-гвинторізного верстата 1М61
Тормозная муфта токарно-гвинторізного верстата 1М61. Дивитись у збільшеному масштабі

Креслення коробки швидкостей токарно-гвинторізного верстата 1М61
Коробка швидкостей токарно-гвинторізного верстата 1М61. Дивитись у збільшеному масштабі
Коробка швидкостей (рис. 8) обеспечивает 24 скорости обертання шпинделя (16—2000 об/мин). Она установлена і закреплена болтами на левой частини станины. Рух на коробку швидкостей передається от електродвигуна через клиноременную передачу.
Изменение скорости обертання шпинделя производится рукоятками У1 і У2 (см. рис. 6). Рукоятка У2 имеет два положения: верхнее, соответствующее 12-и ступеням оборотів в диапазоне 16—160 об/мин, і нижнее, соответствующее 12-и ступеням оборотів в диапазоне 200—2000 об/мин.
Трензель (шестерни 28—30) предназначен для реверсирования обертання ходового гвинта при нарезании левых різьб і управляется рукояткой УЗ.
Шпиндель і все валы смонтированы на підшипниках качения. Передня шейка шпинделя установлена на двухрядном роликовом подшипнике, а задня — на регулируемом коническом подшипнике.
Люфт шпинделя регулируется гайкой 1. Для устранения радиального люфта шпинделя при износе переднего підшипника следует подтянуть гайку 2 (рис. 8).

Креслення коробки подач токарно-гвинторізного верстата 1М61
Коробка подач токарно-гвинторізного верстата 1М61. Дивитись у збільшеному масштабі

Креслення коробки подач токарно-гвинторізного верстата 1М61
Коробка подач токарно-гвинторізного верстата 1М61. Дивитись у збільшеному масштабі

Фото коробки подач токарно-гвинторізного верстата 1М61
Более поздний варіант коробки подач - назначение рукояток:
Коробка передач служит для передачи руху от коробки швидкостей в коробке подач і для налаштування подач на тип нарезаемой різьби.
При нарезании метрических і дюймовых різьб рух передається через шестерни 31, 33 і 35 (см. рис. 6), а при нарезании модульных і питчевых різьб рух передастся через шестерни 32, 33 і 36.
Коробке подач рух передається от коробки швидкостей через гітару (рис. 9)
Увеличенные подачі (шаги) получаются только при низких скоростях шпинделя (16—160 об/мин). Увеличение в 16 раз.
При нарезании метрических і модульных різьб рух передається от вала XI (см. рис. 6) через зубчатую муфту 37а — 376 на ходовой винт XVII.
При нарезании дюймовых і питчевых різьб рух на ходовой винт передається через шестерни 37 і 38.
Для более точных різьб ходовой винт имеет прямое включение, без механізма ланцюги подач. Это достигается соответствующей наладкой шестерен гітари, поставляемых по особому заказу. Установка величины різьби осуществляется рукоятками У4 і У5. Установка типа різьби, увімкнення ходового гвинта или ходового валика производится при помощи рукоятки У6.
Пример налаштування метрической різьби:
3*/4 • 32/36 • 30/60 • 30/60 • 30/60 • 6 = 0,5 мм
Пример налаштування дюймовой різьби:
25,4 : (3*/4 • 48/41 • 36/32 • 45/42 • 30/60 • 30/60 • 30/60 • 6) = 32
нитки на дюйм.
Примечание. Знаком * обозначено передаточное отношение шестерен от шпинделя до коробки подач, включая гітару.
Прямое увімкнення ходового гвинта осуществляется установкой рукояток У5 і У6 в положение „Прямое увімкнення ходового гвинта". При етом во избежание поломки шестерен необходимо сначала установить рукоятку У6, а затем рукоятку; У5. При ремонтных работах, связанных з разборкой коробки подач, следует обращать особое внимание і проверять правильность розположення шестерен согласно кінематичної схеме.

Креслення суппорта токарно-гвинторізного верстата 1М61
Суппорт токарно-гвинторізного верстата 1М61. Дивитись у збільшеному масштабі

Креслення фартука токарно-гвинторізного верстата 1М61
Фартук токарно-гвинторізного верстата 1М61. Дивитись у збільшеному масштабі
Фартук (рис. 10) передает рух суппорту от ходового гвинта или ходового валика. Подачи суппорта при обтачивании осуществляются исключительно при помощи ходового валика ходовой винт применяется только при нарезании різьби.
Для увімкнення поздовжньої подачі суппорта рукоятку У12 необходимо вытянуть на себя і затем повернуть вправо влево в зависимости от требуемого направления руху суппорта.

Фото фартука токарно-гвинторізного верстата 1М61

Креслення задньої бабки токарно-гвинторізного верстата 1М61
Задня бабка токарно-гвинторізного верстата 1М61. Дивитись у збільшеному масштабі

Електрична схема токарно-гвинторізного верстата 1М61
Електроустаткування верстата размещено в специальном шкафу, в двух тумбах і в отдельной коробке, установленной з правой стороны кронштейна ходового гвинта.
Шкаф керування установлен за задньої бабкой.
Електроустаткування верстата рассчитано для роботи от сети трехфазного переменного тока напряжением 380 В, 50 Гц.
По особому заказу верстат може быть выполнен з електрообладнанням на напряжение 220 В, 50 Гц, 440 В, 60 Гц і 380 В, 60 Гц.
На станке установлены:
Пуск, останов і реверс електродвигуна головного приводу осуществляются реверсивным магнитным пускателем, управляемым путевыми выключателями при помощи рукоятки керування 14 (см. рис. 3). Для торможения електродвигуна головного приводу предусмотрена електромагнитная муфта. Реверсирование електродвигуна при нарезании різьби достигается переводом рукоятки 14 из крайнего верхнего в крайнее нижнее положение і наоборот. Для пуска електронасоса охлаждения електросхемой предусмотрены магнитный пускатель і выключатель 20. Кнопки автоматичного выключателя 21, выключатель електронасоса охлаждения 20, а также указатель нагрузки електродвигуна головного приводу 18 смонтированы на лицевой стороне електрошафи.
Лампа местного освещения ЛО (рис. 13) включается і выключается выключателем 22, установленным на светильнике местного освещения.
Схема електрична принципова показана на рис. 11. В табл. 7 указан перечень к схеме.
Керування електродвигуном M1 головного приводу осуществляется рукояткой керування путевыми выключателями ВПВ і ВПН, фиксируемой в трех положениях, В нейтральном положении рукоятки размыкающие контакты путевых выключателей ВПВ (В1-10) і ВПН (10-1) замкнуты.
Увімкненням автоматичного выключателя АВ через размыкающие контакты ВПВ (В1-10) і ВПН (10-1) промежуточное реле РП получает питание і через свой замыкающий контакт переходит на самопитание. Замкнувшиеся силовые контакты реле РП подготавливают ланцюг електронасоса охлаждения. Получает питание также реле часу РВ. Размыкающий контакт реле РВ з выдержкой часу 3-4 з отключает електромагнитную муфту торможения ЭМТ. Відключення електромагнитной муфты торможения в исходном положении необходимо для свободного проворота шпинделя.
Пуск електродвигуна M1 в направлении в направлении "вперед". Для пуска електродвигуна M1 в направлении "вперед" (вращение електродвигуна против часовий стрелки со стороны шкива), рукоятку 14 (см. рис. 3) поворачивают вверх. При етом размыкается размыкающий контакт путевого выключателя ВПВ (В1-10) (см. рис, 11) і замыкается замыкающий контакт ВПВ (1-2), срабатывает контактор KB і включает електродвигатель Ml на вращение "вперед". Размыкающий контакт KB (1-4) размыкается, обесточивается реле часу РВ, размыкая замыкающий контакт РВ (11-12) і замыкая размыкающий контакт РВ (12-13).
Відключення електродвигуна M1 производится переводом рукоятки 14 (см. рис. 3) в нейтральное положение. При етом размыкается контакт ВПВ (1-2) (см. рис. 11) і замыкается контакт ВПВ (В1-10).
Контактор KB обесточивается, реле часу РВ через контакт KB (1-4) получает питание і замыкает свой замыкающий контакт РВ (11-12). Срабатывает електромагнитная муфта ЭМТ, получая постоянный ток от селенового выпрямителя ВС, і затормаживает механізм коробки швидкостей і шпиндель. Несколько позже, з выдержкой часу 3-4 с, размыкается размыкающий контакт РВ (12-13), електромагнитная муфта отключается і система возвращается в исходное положение.
Пуск електродвигуна M1 в направлении "назад" производится переводом рукоятки 14 (см. рис. 3) в нижнее положение. Работа електросхеми аналогична работе при пуске електродвигуна М1 (см. рис. 11) в направлении "вперед", только в етом случае срабатывает контактор КН.
Электронасос охлаждения М2 включается і выключается выключателем РЭ і пускателем РП.
В електросхеме верстата предусмотрена защита от токов короткого замыкания електродвигуна головного приводу при помощи електромагнітних расланцюгителей автоматичного выключателя АВ і електронасоса охлаждения предохранителями П.
Нулевая защита осуществляется промежуточным реле РП.
Для защиты електронасоса охлаждения от перегрузки в електросхеме предусмотрено тепловое реле РТЭ.
Для предотобертання одновременного увімкнення контактов реверсивного пускателя KB і КН имеются механическая і електрична блокировки.
Подключение к цеховой системе заземления на станке осуществляется специальным болтом заземления.

Настановне креслення токарно-гвинторізного верстата 1М61

На фотографии показан стальной шар, полностью изготовленный на токарному станке.
Из цельной заготовки з помощью набора инструметов возможно выточить шар в шаре, куб в кубе в кубе і в кубе, куб в додекаедре, который в свою очередь в шаре, кольцо в кольце.
| Наименование параметра | 1М61 | 1М61П |
|---|---|---|
| Основні параметри | ||
| Класс точності по ГОСТ 8-82 | Н | П |
| Наибольший диаметр заготовки над станиной, мм | 320 | 320 |
| Наибольший диаметр заготовки над суппортом, мм | 160 | 160 |
| Наибольшая длина заготовки (РМЦ), мм | 710, 1000 | 710 |
| Наибольшая длина обтачивания, мм | 640 | 640 |
| Высота центров, мм | 170 | 170 |
| Наибольшее рассояние от оси центров до кромки резцедержателя, мм | 180 | 180 |
| Высота резца, установленного в резцедержателе, мм | 25 | 25 |
| Шпиндель | ||
| Диаметр сквозного отверстия в шпинделе, мм | 35 | 35 |
| Наибольший диаметр прутка, проходящего через отверстие в шпинделе мм | 32 | 32 |
| Число ступеней частот прямого і обратного обертання шпинделя | 24 | 24 |
| Частота прямого і обратного обертання шпинделя, об/мин | 12,5...1600 | 12,5...1600 |
| Размер внутреннего конуса в шпинделе по ГОСТ 13214-67 | М5 | М5 |
| Кінець шпинделя по ГОСТ 12593-72 | 6К | 6К |
| Торможение шпинделя | есть | есть |
| Подачи | ||
| Наибольшее продольное перемещение каретки суппорта, мм | 600 | 600 |
| Наибольшее поперечное перемещение суппорта, мм | 200 | 200 |
| Наибольшее перемещение верхнего суппорта (резцовых салазок), мм | 120 | 120 |
| Цена деления лимба верхнего суппорта (резцовых салазок), мм | 0,05 | 0,05 |
| Число ступеней продольных і поперечных подач | 17 | 17 |
| Пределы скорости продольных подач, мм/об | 0,08...1,2 | 0,08...1,2 |
| Пределы скорости поперечных подач, мм/об | 0,04...0,6 | 0,04...0,6 |
| Скорость быстрых перемещений суппорта, продольных/ поперечных, м/мин | нет | нет |
| Количество нарезаемых різьб метрических | 13 | 13 |
| Пределы шагов нарезаемых різьб метрических, мм | 0,5..6 | 0,5..6 |
| Количество нарезаемых різьб дюймовых | 16 | 16 |
| Пределы шагов нарезаемых різьб дюймовых | 3,5...48 | 3,5...48 |
| Количество нарезаемых різьб модульных | 10 | 10 |
| Пределы шагов нарезаемых різьб модульных | 0,25...3 | 0,25...3 |
| Количество нарезаемых різьб питчевых | 16 | 16 |
| Пределы шагов нарезаемых різьб питчевых | 7...96 | 7...96 |
| Предохранитель от перегрузки | ||
| Блокировка продольных і поперечных подач | ||
| Выключающие продольные упоры | ||
| Шероховатость поверхности заготовки из конструкционной стали при чистовом обтачивании, мкм, не более | ||
| Задня бабка | ||
| Наибольшая длина переміщення пиноли задньої бабки, мм | 100 | 100 |
| Наибольшее перемещение задньої бабки, мм | ±12 | ±12 |
| Центр в пиноли задньої бабки | Морзе 4 | Морзе 4 |
| Електроустаткування | ||
| Количество електродвигателей на станке | 2 | 2 |
| Електродвигун головного привода, кВт | 4 | 4 |
| Електродвигун насоса охлаждения, кВт | 0,12 | 0,12 |
| Габарити і масса верстата | ||
| Габарити верстата (довжина ширина висота), мм | 2055 х 1095 х 1450 | 2055 х 1095 х 1450 |
| Маса верстата, кг | 1260 | 1260 |
1М61, 1М61П верстат токарно-гвинторізний: - паспорт, (djvu) 2,8 Мб, Скачать
Замовити
Хто володіє інформацією – той володіє світом.
Натан Ротшильд