Виробником радіально-свердлувальних верстатів 2А53 є Одеський Завод Радіально-Свердлильних Верстатів , заснований у 1884 році.
З 1928 року Державний машинобудівний завод ім. В. І. Леніна почав спеціалізуватися на випуску металорізальних верстатів. Було освоєно випуск вертикально-свердлильних верстатів діаметром свердління до 75 мм.
У листопаді 1946 року було випущено перший радіально-свердлильний верстат діаметром свердління 50 мм. Слідом за цими верстатами завод почав випускати радіально-свердлувальні верстати діаметром свердління 75 і 100 мм, переносні свердлильні верстати з поворотною головкою діаметром свердління до 75 мм, верстати хонінгу до діаметра 600 мм, верстати глибокого свердління до діаметра 50 мм.
Радіально-свердлильний верстат загального призначення 2А53 служить для свердління, розсвердлювання, зенкерування, підрізання торців в обох напрямках, розгортання, розточування отворів і нарізування різьблення мітчиками у великих деталях, переміщення яких по столу верстата здійснювати важко, а в деяких випадках неможливо.
Радіальний свердлильний верстат 2А53 призначений для отримання наскрізних та глухих отворів в деталях за допомогою свердл, для розгортання та чистової обробки отворів, попередньо отриманих литтям або штампуванням, та для виконання інших операцій. Головний рух та рух подачі у свердлильному верстаті повідомляються інструменту.
Застосування пристосувань та спеціального інструменту значно підвищує продуктивність верстата та розширює коло можливих операцій, дозволяючи проводити на ньому свердління квадратних отворів, виточення внутрішніх канавок, вирізування круглих пластин з листа тощо. При відповідному оснащенні на верстаті можна виконувати багато операцій, характерних для розточувальних верстатів.
Компонування верстата 2А53 традиційне для радіально-свердлильних верстатів і включає:
Радіальний свердлильний верстат 2А53 розрахований на свердління отворів діаметром до 35 мм швидкорізальними свердлами в сталі середньої твердості (межа міцності при розтягуванні σ 0 = 55-65 кг/мм 2 ), і відповідно допускає зусилля подачі до 1250 кг 3 кгсм за потужності до 4-х кВт.
У межах цих параметрів верстат може бути використаний і для свердління свердлами великих діаметрів за відповідних режимів різання.
Як завжди в верстатах, повна потужність електродвигуна може бути використана за міцністю шпинделя, починаючи з 4-го ступеня чисел оборотів (140 об/хв).
Найменші числа оборотів шпинделя зазвичай використовуються на свердлильних верстатах для операцій, що не вимагають витрати повної потужності електродвигуна, до яких вимагають великий крутний момент на шпинделі.
Таким чином, на перших трьох числах оборотів шпинделя електродвигун забезпечує отримання максимально допустимого по міцності крутного шпинделя моменту, а на наступних числах оборотів використовується повністю потужність двигуна.
Найбільше допустиме зусилля подачі обумовлюється міцністю деталей верстата та жорсткістю конструкції.
Перевищення допустимого зусилля подачі спрацьовує запобіжної муфти, налаштованої на зусилля. 1250 кг, і збільшений віджимання рукава зі свердлильною головкою.
Розмір зусилля подачі залежить тільки від геометрія ріжучого інструменту.
Габарити оброблюваних деталей обмежуються по висоті відстанню від кінця шпинделя до фундаментної плити, рівних 1500 мм і вильотом шпинделя від колони, що утворює: найменшим — 400 мм і найбільшим — 1200 мм.
При розташуванні деталей поза фундаментною плитою - в ямі, висота оброблюваних деталей може бути значно збільшена.
Найбільша глибина отвору, що може бути просвердлена з однієї установки, визначається ходом шпинделя, що дорівнює 300 мм. Використовуючи хід рукава по колоні, що дорівнює 700 мм, можна обробляти отвори значно більшої довжини, ніж хід шпинделя.
Широкі діапазони чисел обертів (від 50 до 2240 об/хв) та подач (від 0,06 до 1,22 мм/об) дозволяють підібрати оптимальні режими різання при різних операціях та оброблюваних матеріалах.
Однорукояткове керування швидкостями та подачами, попередній вибір чисел оборотів, зблокований затискач свердлильної головки та колони, автоматичний затискач рукава на колоні, зручне зосереджене розташування всіх органів керування – все це забезпечує мінімальну витрату часу на виконання допоміжних операцій.
Для подальшого зменшення допоміжного часу доцільно застосовувати універсальне спеціальне оснащення.
При роботі з частою зміною інструменту рекомендується користуватися швидкозмінним патроном, що оберігає мітчики від поломки.

Габаритні розміри робочого простору верстата 2а53

Фото радіально-свердлувального верстата 2а53

Фото радіально-свердлувального верстата 2а53

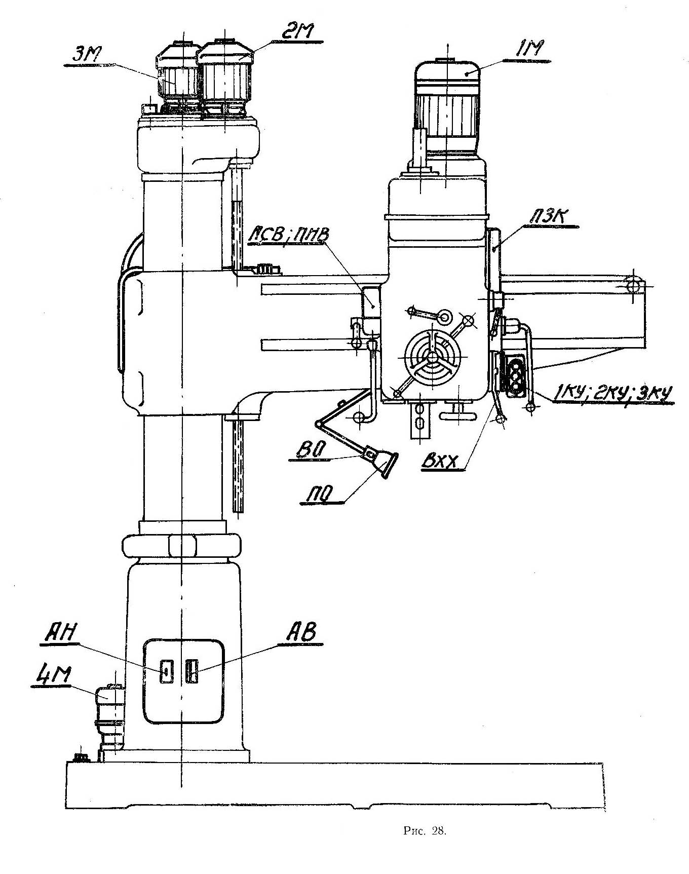
Розміщення органів керування свердлильним верстатом 2а53
Живлення ланцюгів електроустаткування здійснюється наступними напругами:
Електроустаткування верстата предназначено для подключения к трехфазной сети переменного тока з глухозаземленным или изолированным нейтральным проводом.
Верстат оборудован четырьмя електродвигунами (фиг. 29).

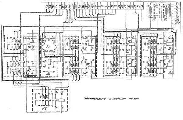
Електрична схема сверлильного верстата 2а53

Список елементів сверлильного верстата 2А53

Таблиця обозначений електроустаткування на станке 2А53
Захист от токов короткого замыкания осуществляется автоматическими выключателями. Ланцюг електродвигателей 1М, 2М і 3М защищается автоматом ввода АВ, електродвигуна 4М автоматом АН.
Вводной щит находится в цоколе колонны (фиг.28). На нем размещены автоматические выключатели ввода АВ і насоса АН.
За исключением електронасоса охлаждения инструмента, все електродвигатели верстата расположены на поворотной частини.
Питание і защитное заземление их производится через кольцевой токосъемник, расположенный в корпусе механізма переміщення рукава. Електродвигун обертання шпинделя 1М имеет тепловую защиту. Електродвигун переміщення рукава 2М і електродвигатель зажиму колонны 3М, работающие в кратковременном режиме, тепловой защиты не имеют.
Керування електродвигунами 1М, 2М, і 3М осуществляется при помощи соответствующих реверсивных магнитных пускачів; 1К1-1КП; 1K1-1K2; 2K1-2K2; 3K1-3K2.
Пускатели смонтированы на панелі, расположенной в нище рукава. Кроме пускачів на панелі смонтированы также: предохранители 1П защиты ланцюгів керування і 2П защиты ланцюги освещения, реле нулевой защиты РН і тепловое реле защиты от перегрузок двигуна 1М.
В етой же нише смонтированы трансформатор для живлення ланцюгів керування і освещения, а также 2 переключателя барабанного типа. Один из них — ПАЗ осуществляет автоматическое керування зажимом рукава, второй — КВР служит конечным выключателем верхнего і нижнего крайних положений рукава при перемещении его по колонне.
Керування електродвигуном 1M осуществляется при помощи выключателя холостого ходу ВХХ, связанного з рукояткой реверсивной фрикционной муфты шпинделя. Нормально-закрытый контакт етого выключателя разомкнутый в отключённом среднем положении рукоятки, при включении фрікциону замыкается. Нормально открытый контакт етого выключателя, замыкающийся при отключении фрікциону, служит для возврата нулевой защиты. Установленные в механізме керування скоростями головного приводу переключатель швидкостей електродвигуна ПСВ і переключатель направления обертання ПНВ, осуществляют получение различных швидкостей обертання шпинделя в одном направлении. Реверсирование шпинделя производится з помощью фрикционной муфты.
Переключатель ПЗК, действующий от рычага ручного зажиму головки, осуществляет увімкнення електродвигуна 3М гідравлічного зажиму і отжима- колонны. Автоматическое відключення етого електродвигуна після зажиму или отжима колонны производится конечным выключателем КВК, установленным в механізме гідрозажима.
Кнопочная станція 1КУ, 2КУ, 3КУ, установленная на головке, управляет переміщенням рукава вверх і вниз по колонне при помощи електродвигуна 2М.
Принципиальная електросхема приведена на стр. 36.
Таблиця обозначения аппаратов на електросхеме Приведена на стр. 35.
Монтажная електросхема панелі електрошафи приведена на стр. 37.
Монтажная електросхема внешних з'єднань приведена на стр. 38.
Питание от електросети через вводной автоматический выключатель АВ подается на кольцевой токосъемник КТ і через автоматический- выключатель АН к електрополюсу 4М.
Напряжение з контактных колец снимается щетками і подается к реверсивному магнитному пускателю 1K1—1К2 електродвигуна приводу шпинделя IM, к реверсивному магнитному пускателю 2K1—2К2 електродвигуна переміщення рукава 2М, к реверсивному магнитному пускателю 3K1—3К2 електродвигуна зажиму колонны 3М і к трансформатору ланцюгів керування і местного освещения ТУ.
Ланцюг керування питается через предохранители 1П, н. з. контакт теплового реле РТ і н. о. контакт реле нулевой защиты РН.
Реле РН включается через н. о. контакт выключателя холостого ходу ВХХ, по ланцюги 1—3—4—2.
После увімкнення реле РН его контакт осуществляет самоблокировку катушки реле РН і питание остальных катушек пускачів во время роботи верстата.
При установці дисков механізма керування скоростями в требуемом положении происходит нажатие или отжатие переключателей ПСВ і ПНВ, что определяет післядующее увімкнення одного из пускачів 1KI или 1KП по ланцюги:
1—3—4—5—6—7а—7—2 или 1—3—4—5—8—9—2
и пускачів 1K1 или 1К2 по ланцюги:
1—3—4—5—10—11—2 или 1—3—4—5—12—13—2
при включении рукоятки фрікциону, вызывающем замыкание н. з. контакта ВХХ.
После увімкнення вышеуказанных пускачів, катушки их получают самопитание замыканием нормально открытых блокконтактов, что і дает возможность без перерыва роботи производить предварительный набор новой скорости обертання шпинделя. Переход на новую скорость осуществляется путем виключення і післядующего увімкнення фрикционной муфты 1 замыканием контактов ВХХ.
Перемещение рукава осуществляется з помощью кнопок 2КУ «Вверх», 3КУ «Вниз» і 1КУ «Стоп».
При нажиме на кнопку 2КУ «Вверх» включается катушка пускателя 2К1 по ланцюги:
1—3—4—16—17—18—14—15—2
и становится на самопитание через н. о. контакт 2К1 (21—18).
Остановка переміщення рукава осуществляется кнопкой 1КУ«Стоп».
Опускание рукава производится нажимом кнопки 3КУ «Вниз», при котором включается катушка пускателя 2К2 по ланцюги:
1—3—4—16—19—20—21—22—2
и становится на самопитание через н. о. контакт 2К2 (14—20).
Ограничение переміщення рукава осуществляется конечным выключателем КВР, разрывающим в верхнем крайнем положении рукава ланцюг живлення катушки 2KI в точках 14—18, а в крайнем нижнем положении — ланцюг катушки 2К2 в точках 20—21.
Зажим рукава происходит автоматически, для чего ходовой винт після окончания подъема поворачивается на несколько оборотів в сторону опускания, а після опускания — несколько оборотів в сторону подъема.
При етом в електросхеме происходят наступні изменения: при движении рукава вверх барабанный переключатель автоматичного зажиму ПАЗ, поворачиваясь, подготовляет ланцюг живлення катушки пускателя 2К2 в точках 16—21.
Если після етого нажать на кнопку 1КУ «Стоп» ланцюг пускателя 2К1 разорвется і он своими нормально закрытыми блокконтактами в точках 21—22 включит катушку пускателя 2К2 по ланцюги:
1-3—4—16—21—22—2
При етом произойдет реверс електродвигуна 2М до тех пор, пока рукав не будет зажат, а переключатель ПАЗ снова займет нейтральное положение.
Аналогичным способом происходит зажим рукава після его переміщення вниз.
С помощью переключателя ПЗК — зажиму і отжима колонны, действующего от рычага ручного нажима головки, получают питание катушки реверсивного пускателя 3К1 і 3К2 соответственно по цепям:
1—3—4—23—24—25—2
1—3—4—26—27—28—2
чем сообщается електродвигателю одно из направлений обертання, соответствующие зажиму или отжиму колонны одновременно з ручным зажимом или отжимом головки.
Автоматическое відключення електродвигуна 3М при зажиме или отжиме осуществляется конечным выключателем КВК, который при нажатии во время зажиму разрывает своим нормально-закрытым контактом 23—24 ланцюг пускателя 3К1.
Размыканием нормально-открытого контакта 26—27 етого выключателя при его освобождении після отжима колонны осуществляется відключення електродвигуна при отжатой колонне і головке.
Лампа местного освещения ЛО управляется однополюсным выключателем ВО.
Примечание.
Здесь і ниже обозначение електроустаткування соответствует принципиальной схеме. В скобках указаны обороты електродвигателей при частоте електросети 60 пер/сек.
Розташування електроустаткування на станке приведено на стр. 38, где 1 — примечание: в скобках указана електроаппаратура верстатів в тропическом виконанні.
Для правильной роботи автоматичного зажиму і ограничителей переміщення рукава необходимо при подключении правильно сфазировать електропривод.
Для проверки правильного подключения необходимо поставить рукоятку реверсивной фрикционной муфты шпинделя в среднее (нейтральное) положение. Включить автоматический выключатель ввода АВ і нажать кнопку ЗКУ «Вниз». При етом рукав должен перемещаться вниз. Если рукав начнет перемещаться вверх, следует отключить автомат ввода AB і переключить два провода на вводных зажимах етого автомата.
Верстат должен быть надежно присоединен к общей системе заземления цеха согласно действующим нормам техники безопасности.
В станке отсутствует специальное електрообладнання, поетому уход сводится к выполнению обычных правил.
Підшипники електродвигателей должны смазываться не реже одного раза в шесть месяцев з промывкой их бензином.
Пусковая аппаратура должна регулярно очищаться от пыли, обгоревшие контакты должны зачищаться, ослабевшие соединения проводов з аппаратурой подтягиваться.
Детали апаратури не подлежат смазке, однако рекомендуется поверхность стыков сердечника якоря пускателя протирать маслом во избежание коррозии.

Розташування електроустаткування на станке 2А53

Розташування електроустаткування на станке 2А53

Монтажная схема радиально-сверлильного верстата 2А53
Монтажная схема радиально-сверлильного верстата 2А53. Дивитись у збільшеному масштабі

Монтажная схема панелі радиально-сверлильного верстата 2А53
Монтажная схема панелі радиально-сверлильного верстата 2А53. Дивитись у збільшеному масштабі
| Наименование параметра | 2А53 | |
|---|---|---|
| Основні параметри верстата | ||
| Класс точності верстата | Н | |
| Наибольший условный диаметр сверления в стали 45, мм | 35 | |
| Наибольший условный диаметр сверления в чугуне, мм | ||
| Диапазон нарезаемой різьби в стали 45, мм | ||
| Расстояние от оси шпинделя до направляющей колонны (вылет шпинделя), мм | 400..1200 | |
| Наименьшее і наибольшее расстояние от торца шпинделя до плиты, мм | 500..1500 | |
| Рамер поверхности плиты (ширина длина), мм | ||
| Рукав | ||
| Наибольшее вертикальное перемещение рукава по колонне (установочное), мм | 700 | |
| Скорость вертикального переміщення рукава по колонне, м/мин | 1,27 | |
| Угол поворота рукава вокруг колонны, град | 360 | |
| Зажим рукава на колонне | Автомат | |
| Сверлильная головка | ||
| Наибольшее горизонтальное перемещение сверлильной головки по рукаву, мм | 800 | |
| Зажим головки на рукаве | Ручной | |
| Шпиндель | ||
| Наибольшее осевое перемещение пиноли шпинделя (ход шпинделя), мм | 300 | |
| Диаметр гильзы шпинделя, мм | ||
| Противовес | Пружинный | |
| Обозначение кінця шпинделя по ГОСТ 24644-81 | ||
| Конус Морзе | 4 | |
| Частота прямого обертання шпинделя, об/мин | 50..2240 | |
| Количество швидкостей шпинделя прямого обертання | 12 | |
| Пределы рабочих подач на один оборот шпинделя, мм/об | 0,06..1,22 | |
| Число ступенів робочих подач | 8 | |
| Межі робочих подач на один оборот шпинделя при нарізанні різьблення, мм | ||
| Переміщення шпинделя на один поділ лімба, мм | 1 | |
| Переміщення шпинделя на оборот лімба, мм | 122 | |
| Найбільша маса інструменту, що встановлюється на верстаті, кг | 15 | |
| Найбільший допустимий момент, що крутить, кгс * см | 3750 | |
| Найбільше зусилля подачі, кг | 1250 | |
| Затискач обертання колони | Гідр | |
| Електроустаткування. Привід | ||
| Кількість електродвигунів на верстаті | 4 | |
| Електродвигун приводу головного руху, кВт | 2,6/ 3,0 | |
| Електродвигун приводу переміщення рукава, кВт | 1,1 | |
| Електродвигун приводу гідрозатиску колони, кВт | 0,5 | |
| Електродвигун насоса охолоджувальної рідини, кВт | 0,125 | |
| Сумарна потужність встановлених електродвигунів, кВт | 4,325 | |
| Габарити та маса верстата | ||
| Габарити верстата (довжина ширина висота), мм | 2250 х 910 х 3070 | |
| Маса верстата, кг | 4000 |