Виробник токарно-револьверного верстата моделі 1В340Ф30 - Бердичівський верстатобудівний завод "Комсомолець" , м. Бердичів, Житомирська область, Україна.
У 1929-1931 pp. на базі підприємства було засновано трансмісійний завод.
У 1932 р. заводу надається ім'я «Комсомолець». У цей період завод освоїв випуск трубопровідно-запірної арматури та запасних частинин.
З 1980 завод освоює випуск нової гами токарно-револьверних верстатів, до складу якої входять автоматизовані верстати моделі 1Г340П, верстати з цикловим програмним керуванням моделі 1Г340ПЦ, верстати з числовим програмним керуванням моделі 1В340Ф30 і роботизовані комплекси на їх базі.
У 1984 році на заводі починається випуск багатоцільових токарно-револьверних верстатів моделі 1П420ПФ40, які, окрім токарної обробки, виконують свердлильно-фрезерну доробку деталі за одну установку в патроні.
Верстат токарно-револьверний 1В340Ф30 з вертикальною інструментальною головкою на хрестовому супорті призначений для токарної обробки деталей з прямолінійним, ступінчастиним та криволінійним профілем із прутка в автоматичному циклі та з штучних заготовок — у напівавтоматичному циклі в умовах серійного та дрібносерійного виробництв; на ньому можна проводити обточування, розточування, проточування канавок, підрізування торців, свердління, зенкерування, розгортання, нарізування різьблення плашками і мітчиками, а також різцем за програмою.
Восьмипозиційна револьверна головка на хрестовому супорті у поєднанні з однокоординатним поперечним гідрофікованим супортом забезпечує високі технологічні можливості верстата, фіксується за допомогою зубчастиних напівмуфт і керується гідравлікою.
Поздовжнє та поперечне переміщення здійснюються високомоментними двигунами постійного струму через кулькові гвинтові пари.
Токарно-револьверний верстат 1В340Ф30 має оперативну систему керування типу «Електроніка НЦ-31».
Верстат 1В340Ф30 виготовляється у двох виконаннях:
Затискач та подача прутків, а також затискач штучних заготовок здійснюються гідравлічним механізмом затиску та подачі прутка.
У верстаті 1В340Ф30 реалізована можливість швидкої переналагодження з пруткового виконання для обробки пруткових матеріалів та в патроні для обробки штучних заготовок, що значно розширює його технічні можливості.
Затискач та подача прутків, а також затискач штучних заготовок виготовляються гідравлічним механізмом затиску та подачі прутка.
Найбільше допустиме коливання діаметра прутка ±1 мм, штучних заготовок ±3 мм.
Верстат забезпечує точність обробки виробів за 8 квалітетом з шорсткістю поверхонь Ra 2,5 мкм. Основні переваги верстата:
Верстат призначений для роботи в умовах серійного та дрібносерійного виробництва.
Коригований рівень звукової потужності LpA не повинен перевищувати 96 дБа.
Розробник - Бердичівський верстатобудівний завод «Комсомолець».

Габаритні розміри робочого простору верстата 1в340ф30

Посадочні та приєднувальні бази верстата 1в340ф30

Посадочні та приєднувальні бази верстата 1в340ф30

Фото токарного револьверного верстата 1в340ф30

Фото токарного револьверного верстата 1в340ф30

Пульт керування токарного револьверного верстата з ЧПУ 1В340Ф30
Пульт керування токарного револьверного верстата з ЧПУ 1В340Ф30. Дивитись у збільшеному масштабі

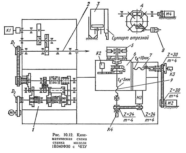
Кінематична схема токарного револьверного верстата 1в340ф30
Кінематична схема токарного револьверного верстата 1в340ф30. Дивитись у збільшеному масштабі
Головний рух (обертання шпинделя) здійснюється від двошвидкісного електродвигуна M1 потужністю 15 кВт з числом оборотів 4500 через ремінну передачу на вхідний вал зі шківом D2 коробки швидкостей 1.
Коробка швидкостей має чотири вали із зубчастиними колесами, які попарно знаходяться в зачепленні, та електромагнітні муфти. Електромагнітні муфти включаються попарно, що забезпечує ступінчасту зміну частоти обертання вихідного валу коробки швидкостей. Вихідний вал коробки швидкостей пов'язаний плоскозубчастою передачею зі шківом D1, який передає обертання на шпиндель верстата 2. Ступінчаста зміна частоти обертання шпинделя 2 може проводитися на холостому ході та під навантаженням. Гальмування шпинделя здійснюється включенням електромагнітних муфт коробки швидкостей. Контроль за частотою обертання шпинделя при різьбонарізанні здійснюється датчиком зворотного зв'язування К1.
Рух подач - поздовжні та поперечні переміщення револьверного супорта здійснюються електродвигунами постійного струму з регульованим числом оборотів від 0 до 1500 об/хв за допомогою пар гвинт - гайка кочення з ходом гвинтів, відповідно, 10 і 5 мм.
У поздовжньому напрямку він переміщається гвинтовою передачею з гайкою кочення 7, яка отримує обертання через ремінну передачу від двигуна М2 з регульованою частотою обертання. Контроль за частотою обертання гвинтової пари кочення здійснюється датчиком зворотного зв'язку КЗ; цим контролюється величина подачі револьверного супорта.
Поперечне переміщення револьверної головки 5 на револьверному супорті 6 здійснюється гвинтовою передачею з гайкою кочення 9, яка отримує обертання електродвигуна МЗ з регульованою частотою обертання. При цьому переміщення револьверної головки контролюється датчиком зворотного зв'язку К4. Поворот револьверної головки здійснюється гідродвигуном М4 через передачу черв'яку 4; контроль положення револьверної головки - датчик зворотного зв'язку К2, який пов'язаний з її віссю обертання зубчастою передачею.
Швидкі ходи (8 м/хв) і робочі подачі (5..600 мм/хв) відрізного супорта здійснюються за допомогою гідравліки.
Гідроциліндром 3 здійснюються підведення та робоча подача відрізного супорта, гідроциліндром 5 - фіксація револьверної головки в робочому положенні.

Настановне креслення токарного револьверного верстату 1в340ф30
| Найменування параметру | 1B340F30 | |
|---|---|---|
| Основні параметри верстату | ||
| Позначення системи ЧПУ | NC-31 | |
| Найбільший діаметр виробу, що обробляється над станиною, мм | 400 | |
| Найбільший діаметр прутка, що обробляється, на передньому затиску, мм | 50 | |
| Найбільший діаметр оброблюваного прутка в затискній і трубі, що подає, мм | 40 | |
| Діаметр отвору в шпинделі, мм | ||
| Найбільша довжина виробу, що встановлюється в центрах (РМЦ), мм | 120 | |
| Шпиндель | ||
| Потужність двигуна головного руху, кВт | 6 | |
| Кількість робочих швидкостей шпинделя | 12 | |
| Межі чисел оборотів шпинделя, об/хв | 45...2000 | |
| Частота обертання шпинделя в I діапазоні, об/хв | 45...1400 | |
| Частота обертання шпинделя у II діапазоні, об/хв | 63...2000 | |
| Межі чисел оборотів шпинделя (зворотне обертання), об/хв | 45...250 | |
| Кінець шпинделя фланцевий згідно з ГОСТ 12595-75. | 1-6C | |
| Найбільший момент, що крутить, на шпинделі не менше, Нм (кг*м) | 40 | |
| Подання | ||
| Найбільше переміщення револьверного супорта: поздовжнє (Z)/поперечне (X), мм |
310/110 | |
| Діапазон швидкостей поздовжніх та поперечних подач револьверного супорта, мм/хв. | 1..2500 | |
| Число подач револьверного супорта | б/с | |
| Швидкість швидких поздовжніх/поперечних ходів, м/хв. | 10/ 5 | |
| Діапазон швидкостей поздовжніх та поперечних подач відрізного супорта, мм/хв. | 5..600 | |
| Число подач відрізного супорта | б/с | |
| Швидкість швидких ходів відрізного супорта, м/хв. | 8 | |
| Кількість позицій (інструментів) у револьверній головці | 8 | |
| Найбільше зусилля поздовжніх/поперечних подач, кгс | 600/300 | |
| Параметри системи ЧПУ | ||
| Позначення системи ЧПУ | NC-31 | |
| Число координат | 2 | |
| Кількість одночасно керованих координат | 2 | |
| Дискретність завдання координат у поздовжньому/поперечному напрямку (дискретність завдання по осі Z, X) | 0,001 | |
| Електроустаткування верстата | ||
| Кількість електродвигунів на верстаті, кВт | 6 | |
| Електродвигун головного приводу, кВт | 6 | |
| Електродвигун поздовжніх подач, кВт | 1,5 | |
| Електродвигун поперечних подач, кВт | 1,5 | |
| Електродвигун станції мастила, кВт | 0,37 | |
| Електродвигун гідростанції, кВт | 2,2 | |
| Електродвигун насоса охолодження, кВт | 0,12 | |
| Електродвигун інструментальної головки, кВт | ||
| Сумарна потужність електродвигунів, кВт | 11,69 | |
| Сумарна потужність верстата, кВт | ||
| Габарити та маса верстата | ||
| Габаритні розміри верстата з ЧПУ (довжина, ширина, висота), мм | 2840 1770 1670 | |
| Маса верстата з ЧПУ, кг | 3600 |