Виробником токарно-гвинторізних верстатів моделі 1М61 є Єреванський верстатобудівний завод ім. Дзержинського .
На заводі випускалися токарно-гвинторізні верстати моделей 1Л61, 1Б61, 1П61, 1В61, 1М61 , серія токарних верстатів 16Л20, 16П16, 16Е16. Випускалися також механізовані та спецверстати моделей ЕТ-23, ЕТ-26, ЕТ-34, ЕТ-41, багаторізцевий верстат моделі ЕТ-50.
В даний час завод називається Єреванське Верстатобудівне Виробниче Об'єднання ЕСПО , ВАТ. Продукція, що виробляється - універсальні токарно-гвинторізні верстати підвищеної точності 16Е25П і 16ЕГ25П з діаметром обробки 500 мм.
Універсальний токарно-гвинторізний верстат 1М61 вироблявся з 1967 до 1992 року та замінив застарілу модель 1В61 .
Токарний верстат 1М61 призначений для токарної обробки зовнішніх (діаметром до 320 мм) та внутрішніх поверхонь деталей (довжиною 710 або 1000 мм) зі східчастиним та криволінійним профілем в осьовому перерізі.
Верстат 1М61 призначений для виконання різноманітних токарних робіт, у тому числі нарізування різьблення: метричної, дюймової, модульної та харчової в механічних цехах в умовах дрібносерійного та одиничного виробництва на підприємствах сільськогосподарського та промислового виробництва, а також на оборонних заводах.
Верстат 1М61 дозволяє проводити такі види токарних робіт:
Пуск, відключення, зміна напрямку головного руху проводиться у вигляді реверсивного магнітного пускателя.
Зміна швидкості обертання здійснюється перемиканням шестерень на передній панелі шпиндельної бабки.
Швидке реверсування електродвигуна при нарізанні різьблення - поворотом рукоятки У20 від верхнього крайнього положення в нижнє крайнє положення і навпаки.
Гальмування двигуна головного приводу здійснюється за допомогою електромагнітної муфти на кінці первинного валу коробці швидкостей.
Фланцевий кінець шпинделя виконаний за ГОСТ 12593 (DIN 55027, ІСО 702-3-75) під поворотну шайбу, з коротким конусом, що центрує, 1:4 (7°7′30″), номінальний діаметр конуса D = 106,375 мм. Умовний розмір кінця шпинделя – 6. Внутрішній (інструментальний) конус шпинделя – Морзе 5. Діаметр отвору шпинделя 35 мм. Стандартний діаметр токарного патрона 200, 250 мм.
Клас точності верстата Н.

Габарит робочого простору токарного верстата 1М61

Фото універсального токарно-гвинторізного верстата 1М61

Розташування основних вузлів токарно-гвинторізного верстата 1М61

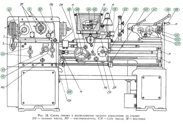
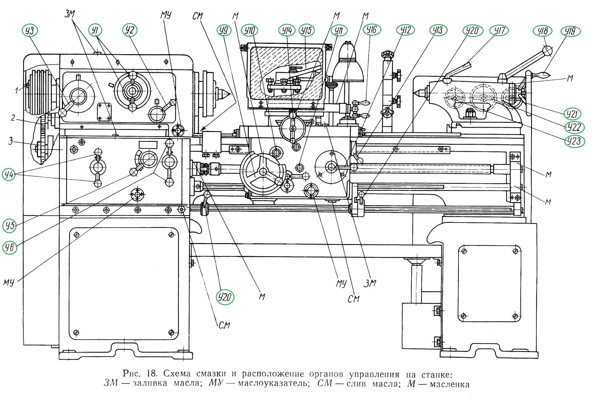
Розташування органів керування токарно-гвинторізним верстатом 1м61
Розташування органів керування токарно-гвинторізним верстатом 1м61. Дивитись у збільшеному масштабі

Розташування органів керування токарно-гвинторізним верстатом 1м61
Розташування органів керування токарно-гвинторізним верстатом 1м61. Дивитись у збільшеному масштабі

Монтажная схема токарно-гвинторізного верстата 1М61. 1967 год
Монтажная схема токарно-гвинторізного верстата 1М61. 1967 год. Дивитись у збільшеному масштабі

Монтажная схема токарно-гвинторізного верстата 1М61. 1967 год
Монтажная схема токарно-гвинторізного верстата 1М61. 1967 год. Дивитись у збільшеному масштабі

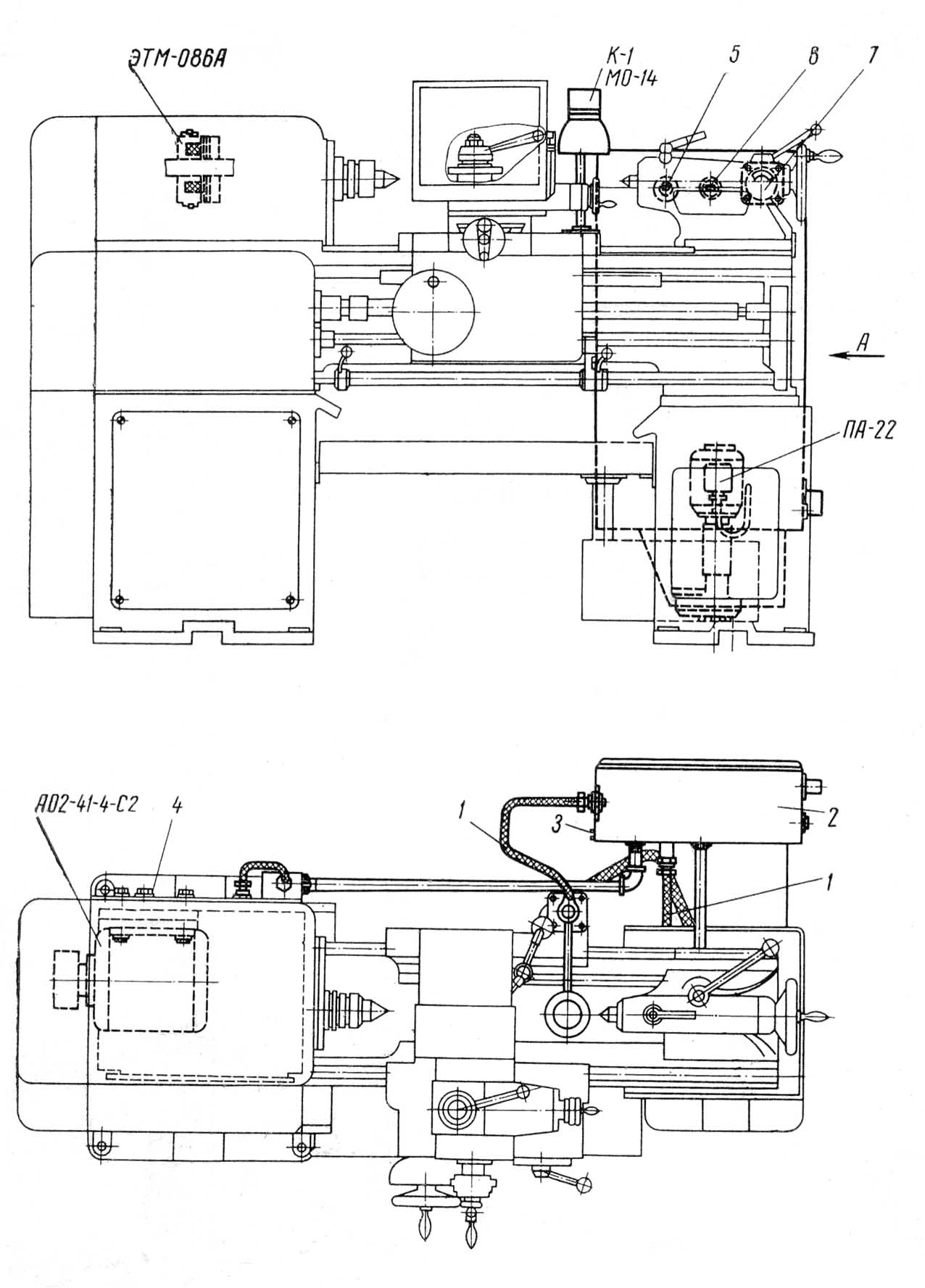
Схема розположення електроустаткування токарно-гвинторізного верстата 1М61. 1967 год
Питание ланцюгів електроустаткування осуществляется следующими напряжениями:
Електроустаткування верстата предназначено для подключения к трехфазной сети переменного тока з глухозаземленным или изолированным нейтральным проводом.
На станке установлены два трехфазных короткозамкнутых асинхронных електродвигуна:

Електрична схема токарно-гвинторізного верстата 1М61. 1980 год
Електроустаткування верстата размещено в специальном шкафу, в двух тумбах і в отдельной коробке, установленной з правой стороны кронштейна ходового гвинта.
Шкаф керування установлен за задньої бабкой.
Електроустаткування верстата рассчитано для роботи от сети трехфазного переменного тока напряжением 380 В, 50 Гц.
На станке установлены:
Пуск, останов і реверс електродвигуна головного приводу осуществляются реверсивным магнитным пускателем, управляемым путевыми выключателями при помощи рукоятки керування 14 (см. рис. 3). Для торможения електродвигуна головного приводу предусмотрена електромагнитная муфта. Реверсирование електродвигуна при нарезании різьби достигается переводом рукоятки 14 из крайнего верхнего в крайнее нижнее положение і наоборот. Для пуска електронасоса охлаждения електросхемой предусмотрены магнитный пускатель і выключатель 20. Кнопки автоматичного выключателя 21, выключатель електронасоса охлаждения 20, а также указатель нагрузки електродвигуна головного приводу 18 смонтированы на лицевой стороне електрошафи.
Лампа местного освещения ЛО (рис. 13) включается і выключается выключателем 22, установленным на светильнике местного освещения.
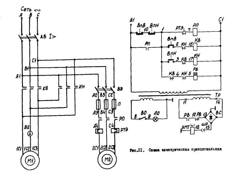
Схема електрична принципова показана на рис. 11. В табл. 7 указан перечень к схеме.
Керування електродвигуном M1 головного приводу осуществляется рукояткой керування путевыми выключателями ВПВ і ВПН, фиксируемой в трех положениях, В нейтральном положении рукоятки размыкающие контакты путевых выключателей ВПВ (В1-10) і ВПН (10-1) замкнуты.
Увімкненням автоматичного выключателя АВ через размыкающие контакты ВПВ (В1-10) і ВПН (10-1) промежуточное реле РП получает питание і через свой замыкающий контакт переходит на самопитание. Замкнувшиеся силовые контакты реле РП подготавливают ланцюг електронасоса охлаждения. Получает питание также реле часу РВ. Размыкающий контакт реле РВ з выдержкой часу 3-4 з отключает електромагнитную муфту торможения ЭМТ. Відключення електромагнитной муфты торможения в исходном положении необходимо для свободного проворота шпинделя.
Пуск електродвигуна M1 в направлении в направлении "вперед". Для пуска електродвигуна M1 в направлении "вперед" (вращение електродвигуна против часовий стрелки со стороны шкива), рукоятку 14 (см. рис. 3) поворачивают вверх. При етом размыкается размыкающий контакт путевого выключателя ВПВ (В1-10) (см. рис, 11) і замыкается замыкающий контакт ВПВ (1-2), срабатывает контактор KB і включает електродвигатель Ml на вращение "вперед". Размыкающий контакт KB (1-4) размыкается, обесточивается реле часу РВ, размыкая замыкающий контакт РВ (11-12) і замыкая размыкающий контакт РВ (12-13).
Відключення електродвигуна M1 производится переводом рукоятки 14 (см. рис. 3) в нейтральное положение. При етом размыкается контакт ВПВ (1-2) (см. рис. 11) і замыкается контакт ВПВ (В1-10).
Контактор KB обесточивается, реле часу РВ через контакт KB (1-4) получает питание і замыкает свой замыкающий контакт РВ (11-12). Срабатывает електромагнитная муфта ЭМТ, получая постоянный ток от селенового выпрямителя ВС, і затормаживает механізм коробки швидкостей і шпиндель. Несколько позже, з выдержкой часу 3-4 с, размыкается размыкающий контакт РВ (12-13), електромагнитная муфта отключается і система возвращается в исходное положение.
Пуск електродвигуна M1 в направлении "назад" производится переводом рукоятки 14 (см. рис. 3) в нижнее положение. Работа електросхеми аналогична работе при пуске електродвигуна М1 (см. рис. 11) в направлении "вперед", только в етом случае срабатывает контактор КН.
Электронасос охлаждения М2 включается і выключается выключателем РЭ і пускателем РП.
В електросхеме верстата предусмотрена защита от токов короткого замыкания електродвигуна головного приводу при помощи електромагнітних расланцюгителей автоматичного выключателя АВ і електронасоса охлаждения предохранителями П.
Нулевая защита осуществляется промежуточным реле РП.
Для защиты електронасоса охлаждения от перегрузки в електросхеме предусмотрено тепловое реле РТЭ.
Для предотобертання одновременного увімкнення контактов реверсивного пускателя KB і КН имеются механическая і електрична блокировки.
Подключение к цеховой системе заземления на станке осуществляется специальным болтом заземления.
Питание ланцюгів електроустаткування осуществляется следующими напряжениями:
Електроустаткування верстата предназначено для подключения к трехфазной сети переменного тока з глухозаземленным или изолированным нейтральным проводом.
На станке установлены два трехфазных короткозамкнутых асинхронных електродвигуна:

Електрична схема токарно-гвинторізного верстата 1М61. 1967 год
Електрична схема токарно-гвинторізного верстата 1М61. Дивитись у збільшеному масштабі

Список елементів токарно-гвинторізного верстата 1М61. 1967 год
Список елементів токарно-гвинторізного верстата 1М61. Дивитись у збільшеному масштабі

Список елементів токарно-гвинторізного верстата 1М61. 1967 год
Список елементів токарно-гвинторізного верстата 1М61. Дивитись у збільшеному масштабі

Монтажная схема токарно-гвинторізного верстата 1М61. 1967 год
Монтажная схема токарно-гвинторізного верстата 1М61. 1967 год. Дивитись у збільшеному масштабі

Монтажная схема токарно-гвинторізного верстата 1М61. 1967 год
Монтажная схема токарно-гвинторізного верстата 1М61. 1967 год. Дивитись у збільшеному масштабі

Схема розположення електроустаткування токарно-гвинторізного верстата 1М61. 1967 год
Електроустаткування токарно-гвинторізного верстата 1М61 обеспечивает следующее:
Кнопки автоматичного выключателя, рукоятки выключателей електронасоса і местного освещения смонтированы на електрошкафу.
При установці верстат должен быть надежно заземлен і подключен к общей системе заземления цеха. Болты заземления расположены позади левой тумбы верстата і на електрошкафу. Электрошкаф также должен быть заземлен.
Увімкненням вводного автоматичного выключателя АВ подготавливается пуск верстата.
Пуск, останов і реверс двигуна головного приводу ГД производится при помощи рукоятки керування командоконтроллером КК, имеющим 3 фиксированных положения і по одному контакту на каждое положение, из которых контакт ККС (В1-1) замкнут в нейтральном положении. После увімкнення выключателя АВ через н. з. контакт ККС промежуточное реле РП получает питание і замыкает свой н.о. контакт (В1-1). Через н.о. контакт РП (В1-1) промежуточное реле РП переходит на самопитание.
После увімкнення АВ получает питание реле часу РВ, контакт которого РВ (11-12) з выдержкой часу 3..4 сек отключает електромагнитную муфту ЭМТ. При пуске в направлении „Вперед" (вращение двигуна ГД — против часовий стрелки со стороны шкива) рукоятку У20 нужно поворачивать вверх. При етом контакт ККВ (1—2) замыкает ланцюг катушки KB, образуется ланцюг В1-1-2-С1, контактор KB срабатывает і н.о. контактом включает двигатель в сторону обертання ,,Вперед", а н.з. контакт контактора KB (1-4) размыкается. Реле часу РВ обесточивается, размыкая контакт РВ (В1-11) і замыкая контакт РВ (11-12). Процесс увімкнення „Вперед" окончен.
Відключення двигуна производится переводом рукоятки У20 в нейтральное положение. При етом размыкается контакт ККВ, контактор KB обесточивается і замыкает свой н.з. контакт в точках 1-4. Реле часу РВ, получая питание, замыкает н.о. контакт РВ (В1-11) без выдержки часу. При етом, получая питание через трансформатор ТВ, срабатывает електромагнитная муфта ЭМТ і затормаживает механізм коробки швидкостей і шпиндель. Электромагнитная муфта питается постоянным током через селеновые выпрямители ВС.
Несколько позже, з выдержкой часу 3..4 сек, размыкается контакт РВ (11-12), електромагнитная муфта отключается і схема приводится в исходное положение.
Пуск „Назад" производится переводом рукоятки У20 в нижнее положение. Работа схеми аналогична работе „Вперед", только в етом случае срабатывает контактор КН.
Трансформатор местного освещения ТО включается і выключается выключателем освещения ВО. Электронасос включается і выключается выключателем ВЭ і пускателем КЭ.
В схеме предусмотрена защита головного електродвигуна от коротких замыканий при помощи електромагнітних расланцюгителей автомата АВ і електронасоса охлаждения — предохранителями П. Нулевая защита осуществляется промежуточным реле РП.
Для защиты електронасоса от перегрузки в схеме предусмотрено тепловое реле РТЭ.
Захист головного двигуна от перегрузки осуществляется тепловыми расланцюгителями автомата АВ.
Для предотобертання одновременного увімкнення двух контакторов реверсивного пускателя KB і КН имеется механическая блокировка.
Верстат должен быть обязательно заземлен.
Монтажные електросхеми приведены на рис. 15 і 16, расположение електроапаратури на станке — на рис. 17.
| Наименование параметра | 1М61 | 1М61П |
|---|---|---|
| Основні параметри | ||
| Класс точності по ГОСТ 8-82 | Н | П |
| Наибольший диаметр заготовки над станиной, мм | 320 | 320 |
| Наибольший диаметр заготовки над суппортом, мм | 160 | 160 |
| Наибольшая длина заготовки (РМЦ), мм | 710, 1000 | 710 |
| Наибольшая длина обтачивания, мм | 640 | 640 |
| Высота центров, мм | 170 | 170 |
| Наибольшее рассояние от оси центров до кромки резцедержателя, мм | 180 | 180 |
| Высота резца, установленного в резцедержателе, мм | 25 | 25 |
| Шпиндель | ||
| Диаметр сквозного отверстия в шпинделе, мм | 35 | 35 |
| Наибольший диаметр прутка, проходящего через отверстие в шпинделе мм | 32 | 32 |
| Число ступеней частот прямого і обратного обертання шпинделя | 24 | 24 |
| Частота прямого і обратного обертання шпинделя, об/мин | 12,5...1600 | 12,5...1600 |
| Размер внутреннего конуса в шпинделе по ГОСТ 13214-67 | М5 | М5 |
| Кінець шпинделя по ГОСТ 12593-72 | 6К | 6К |
| Торможение шпинделя | есть | есть |
| Подачи | ||
| Наибольшее продольное перемещение каретки суппорта, мм | 600 | 600 |
| Наибольшее поперечное перемещение суппорта, мм | 200 | 200 |
| Наибольшее перемещение верхнего суппорта (резцовых салазок), мм | 120 | 120 |
| Цена деления лимба верхнего суппорта (резцовых салазок), мм | 0,05 | 0,05 |
| Число ступеней продольных і поперечных подач | 17 | 17 |
| Пределы скорости продольных подач, мм/об | 0,08...1,2 | 0,08...1,2 |
| Пределы скорости поперечных подач, мм/об | 0,04...0,6 | 0,04...0,6 |
| Скорость быстрых перемещений суппорта, продольных/ поперечных, м/мин | нет | нет |
| Количество нарезаемых різьб метрических | 13 | 13 |
| Пределы шагов нарезаемых різьб метрических, мм | 0,5..6 | 0,5..6 |
| Количество нарезаемых різьб дюймовых | 16 | 16 |
| Пределы шагов нарезаемых різьб дюймовых | 3,5...48 | 3,5...48 |
| Количество нарезаемых різьб модульных | 10 | 10 |
| Пределы шагов нарезаемых різьб модульных | 0,25...3 | 0,25...3 |
| Количество нарезаемых різьб питчевых | 16 | 16 |
| Пределы шагов нарезаемых різьб питчевых | 7...96 | 7...96 |
| Предохранитель от перегрузки | ||
| Блокировка продольных і поперечных подач | ||
| Выключающие продольные упоры | ||
| Шероховатость поверхности заготовки из конструкционной стали при чистовом обтачивании, мкм, не более | ||
| Задня бабка | ||
| Наибольшая длина переміщення пиноли задньої бабки, мм | 100 | 100 |
| Наибольшее перемещение задньої бабки, мм | ±12 | ±12 |
| Центр в пиноли задньої бабки | Морзе 4 | Морзе 4 |
| Електроустаткування | ||
| Количество електродвигателей на станке | 2 | 2 |
| Електродвигун головного привода, кВт | 4 | 4 |
| Електродвигун насоса охлаждения, кВт | 0,12 | 0,12 |
| Габарити і масса верстата | ||
| Габарити верстата (длина ширина высота), мм | 2055 х 1095 х 1450 | 2055 х 1095 х 1450 |
| Масса верстата, кг | 1260 | 1260 |
1М61, 1М61П верстат токарно-гвинторізний: - паспорт, (djvu) 2,8 Мб, Скачать
Замовити
Хто володіє інформацією – той володіє світом.
Натан Ротшильд