metalinstryment.com
Довідник по металорізальних верстатів та пресовому обладнанні

МС 032 горизонтальный пятикоординатный обрабатывающий центр
схеми, опис, характеристики

МС 032 Верстат фрезерный горизонтальный пятикоординатный обрабатывающий центр





Відомості про виробника горизонтального обрабатывающего центра МС 032

Изготовитель обрабатывающего центра МС032 - Научно-производственный комбинат металлорежущих верстатів г. София, Болгария. Болгарские производители металлообрабатывающих верстатів



Верстати, выпускаемые Болгарскими станкостроительными заводами


МС 032 пятикоординатный обрабатывающий центр. Назначение, область применения

Фрезерный верстат МС032 з числовым программным керуванням (ЧПУ), автоматичною сменой инструмента (АСИ) предназначен для высокопроизводительной обробки корпусных деталей массой до 100 кг из конструкционных материалов от легких сплавов до высокопрочных сталей.

Принцип роботи і особливості конструкції верстата МС 032

Пятикоординатный обрабатывающий центр МС032 з CNC (ЧПУ) системой керування предназначен для високопроизводительной і точной обробки произвольно расположенных поверхностей деталей при установці на рабочем столе.

Обрабатывающий центр МС 032 може обрабатывать детали массой до 100 кг, которые вписываются в цилиндр з диаметром Ø 320 мм і высотой 250 мм.

Верстат МС 032 имеет наступні основні технологические возможности:

Обработка произвольно расположенных поверхностей осуществляется посредством линейных перемещений вращающегося инструмента по осам "X" і "Z", поворотом обрабатываемой детали по двум взаимоперпендикулярным осям / А і С / і її переміщенням по оси "Y".

Предусмотренная автоматическая механическая блокировка столов А і С після установочного поворота обеспечивает точную і стабильную работу верстата.

Наличие магазина для инструментов, сменяющихся автоматически, дает возможность выполнить много операций при одноразовом установлении обрабатываемой детали і в большинстве случаях - полная її обработка.

Обработка детали в подвешанном положении і автоматически действующий транспортер для відведення стружек обеспечивает очень хороший отвод стружки.

Верстат состоит из независимых моцульннх единиц, управляемых системой числового программного керування.

Шпиндель

Горизонтальный шпиндель смонтирован в шпиндельной бабке, которая представляет из себя чугунную отливку в которой находится, также, двухступенчатая трансмиссионная шестереночная передача.

Шпиндельная бабка смонтирована на предварительно затянутых і смазанных роликовых підшипниках класса точності HG.

Шпиндельная бабка перемещается по двум осям:

Скорость обертання шпинделя до 6000 об/мин.

DC електродвигатель шпинделя - 11 кВт.

Конуса шпинделя имеет воздушный обдув.

AC Сервомоторы з высоким крутящим моментом связанные высокопрецизионными шарико-винтовыми парами з диаметром Ø 40 мм і резьбой 10.

Стол

Круглый рабочий стол имеет оригинальную компактную конструкцию:

Стол смонтирован на нерухомою колонне і выполняет наступні функции:

ЧПУ FANUC 18i

Контроль по 5 осям

Цветной дисплей LCD

DNC связь

Магазин инструмента

Инструментальный магазин: На 32 инструмента з пристрійм автоматичною смены инструмента.

Верстати многоцелевые - обрабатывающие центры. Загальні відомості

Синонимы: верстат, многооперационный верстат, пятикоординатный обрабатывающий центр, фрезерный верстат з ЧПУ і АСИ, фрезерный горизонтальный пятикоординатный обрабатывающий центр, верстат горизонтально-фрезерный з ЧПУ і АСИ, Machining Center, Horizontal boring and milling center for cubical workpieces, Special purpose machining center, High speed machining center (HSC)

Многоцелевой (многооперационный) верстат — ето верстат для комплексной обробки заготовок з числовым программным керуванням і автоматичною сменой инструментов.

Многим специалистам нравится название — обрабатывающий центр (ОЦ). Аналогичные термины используют за рубежом.

Кроме многоцелевых, существуют і другие верстати з ЧПУ з автоматичною сменой режущих инструментов, которые не называют многооперационными. В чем же различие между ними.

Многооперационные верстати отличаются особо високою кінцінтрацией обробки. На них производят черновую, получистовую і чистовую обработку сложных корпусных заготовок, содержащих десятки обрабатываемых поверхностей, выполняют самые разнообразные технологические переходы: фрезерование плоскостей, уступов, канавок, окон, колодцев; сверление, зенкерование, развертывание, растачивание гладких і ступенчатых отверстий; растачивание отверстий инструментами з тонким регулюванням на размер; обработку наружных і внутренних поверхностей і др. Для осуществления етих операций на станке необходимо мати большой запас металлорежущих инструментов. У верстатів з ЧПУ і автоматичною сменой инструментов запас инструментов создается обычно в револьверних головках. Среди них фрезерные і сверлильные верстати, предназначенные для изготовления головним образом таких корпусных і плоскостных деталей, для обробки которых достаточно мати 5—10 различных инструментов. Многооперационные верстати имеют инструментальные магазины з запасом в 15-30, а при необходимости в 50—100 і более инструментов.

Еще одна важная особенность большинства многооперационных верстатів — наличие поворотного стола или делительного приспособления з периодическим или непрерывным (по программе) делением. Это обязательное условие для обробки заготовки з нескольких сторон без переустановки. МС новых конструкций оснащают дополнительными столами і пристроями для автоматичною смены заготовок. Заготовки предварительно закрепляют на столе-спутнике, і вместе з ним они попадают з дополнительного стола на основной. Установку заготовки в спутник і снятие обработанной детали производят во время роботи верстата. Таким образом, вспомогательное время, затрачиваемое на загрузку — разгрузку верстата, сводится к минимуму.

Многооперационные верстати имеют чаще всего контурную или универсальную систему керування, позволяющую обрабатывать разнообразные криволинейные поверхности, фрезеровать отверстия і т.д. МС отличаются широким диапазоном бесступінчастого регулювання частоти обертання шпинделя (заготовки) і подач, высокими (8—12 м/мин) скоростями быстрых (вспомогательных) ходов, особо високою жесткостью і надежностью.

В связи з високою стоимостью многооперационных верстатів их используют для обробки наиболее технологически сложных заготовок. В етих случаях один верстат може заменить три — п'ять верстатів з ЧПУ или п'ять — десять универсальных верстатів.



Координатная система верстата МС 032

Координатная система верстата МС 032

Координатная система верстата МС 032

Координатная система верстата МС 032. Дивитись у збільшеному масштабі



Посадочные і присоединительные базы верстата МС 032

Поворотный стол пятикоординатного фрезерного верстата МС032

Поворотный стол пятикоординатного фрезерного верстата МС032

Поворотный стол пятикоординатного фрезерного верстата МС032. Дивитись у збільшеному масштабі



Загальний вигляд пятикоординатного верстата з ЧПУ МС 032

Фото пятикоординатного фрезерного верстата МС032

Фото пятикоординатного фрезерного верстата МС032

Фото пятикоординатного фрезерного верстата МС032. Дивитись у збільшеному масштабі



Фото пятикоординатного фрезерного верстата МС032

Фото пятикоординатного фрезерного верстата МС032

Фото пятикоординатного фрезерного верстата МС032. Дивитись у збільшеному масштабі



Фото пятикоординатного фрезерного верстата МС032

Фото пятикоординатного фрезерного верстата МС032

Фото пятикоординатного фрезерного верстата МС032. Дивитись у збільшеному масштабі



Фото пятикоординатного фрезерного верстата МС032

Фото пятикоординатного фрезерного верстата МС032

Фото пятикоординатного фрезерного верстата МС032. Дивитись у збільшеному масштабі



Фото пятикоординатного фрезерного верстата МС032

Фото пятикоординатного фрезерного верстата МС032

Фото пятикоординатного фрезерного верстата МС032. Дивитись у збільшеному масштабі



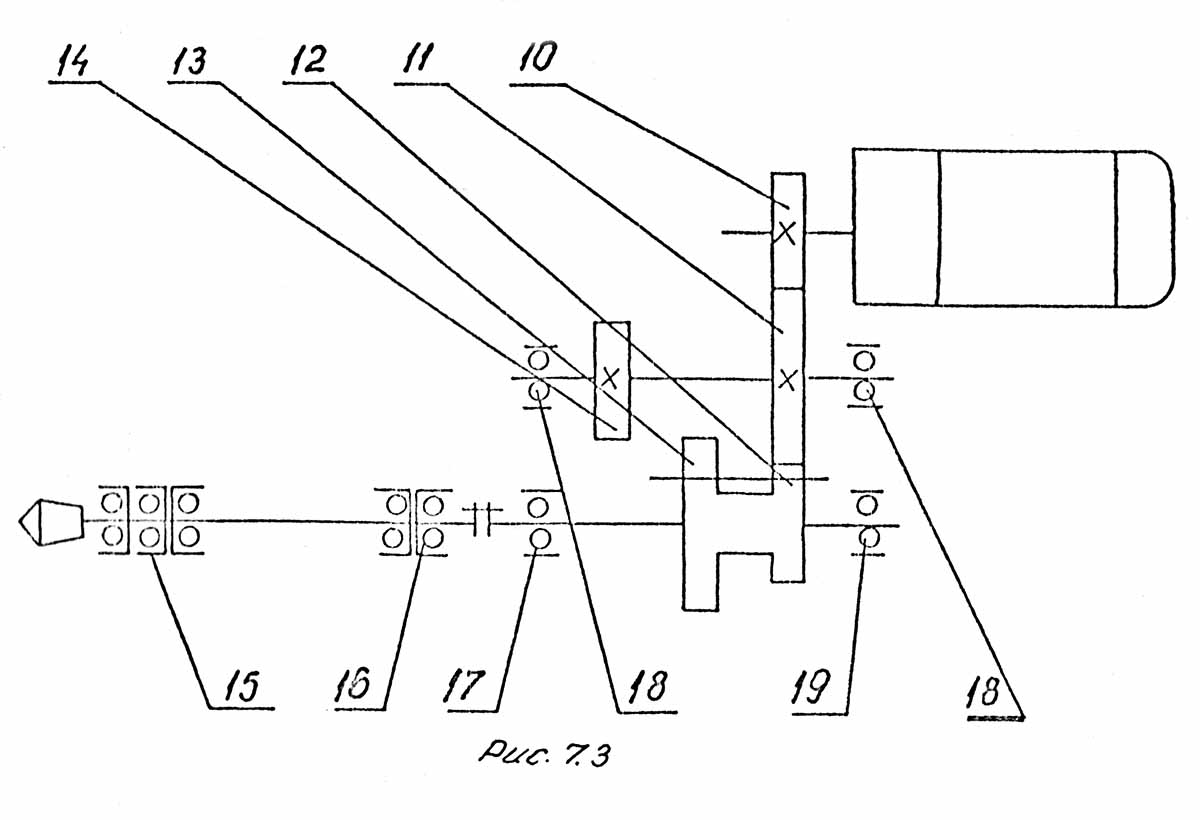
Розташування складових частин пятикоординатного горизонтального фрезерного центра МС 032

Розташування складових частин фрезерного центра МС032

Розташування складових частин фрезерного центра МС032

Розташування складових частин фрезерного центра МС032. Дивитись у збільшеному масштабі



Список складових частин горизонтального фрезерного центра МС 032

  1. Станина
  2. Ограждение
  3. Транспортер для відведення стружек
  4. Стойка
  5. Крестовый шпиндель
  6. Главный привод
  7. Вертикальные салазки (ось Y)
  8. Поворотный стол
  9. Магазин для инструментов
  10. Система дозированной змазки
  11. Пневмогідравлическая система
  12. Електроустаткування
  13. Шкаф для инструментов
  14. Система ЧПУ
  15. Уравновешивание салазки оси "Y"



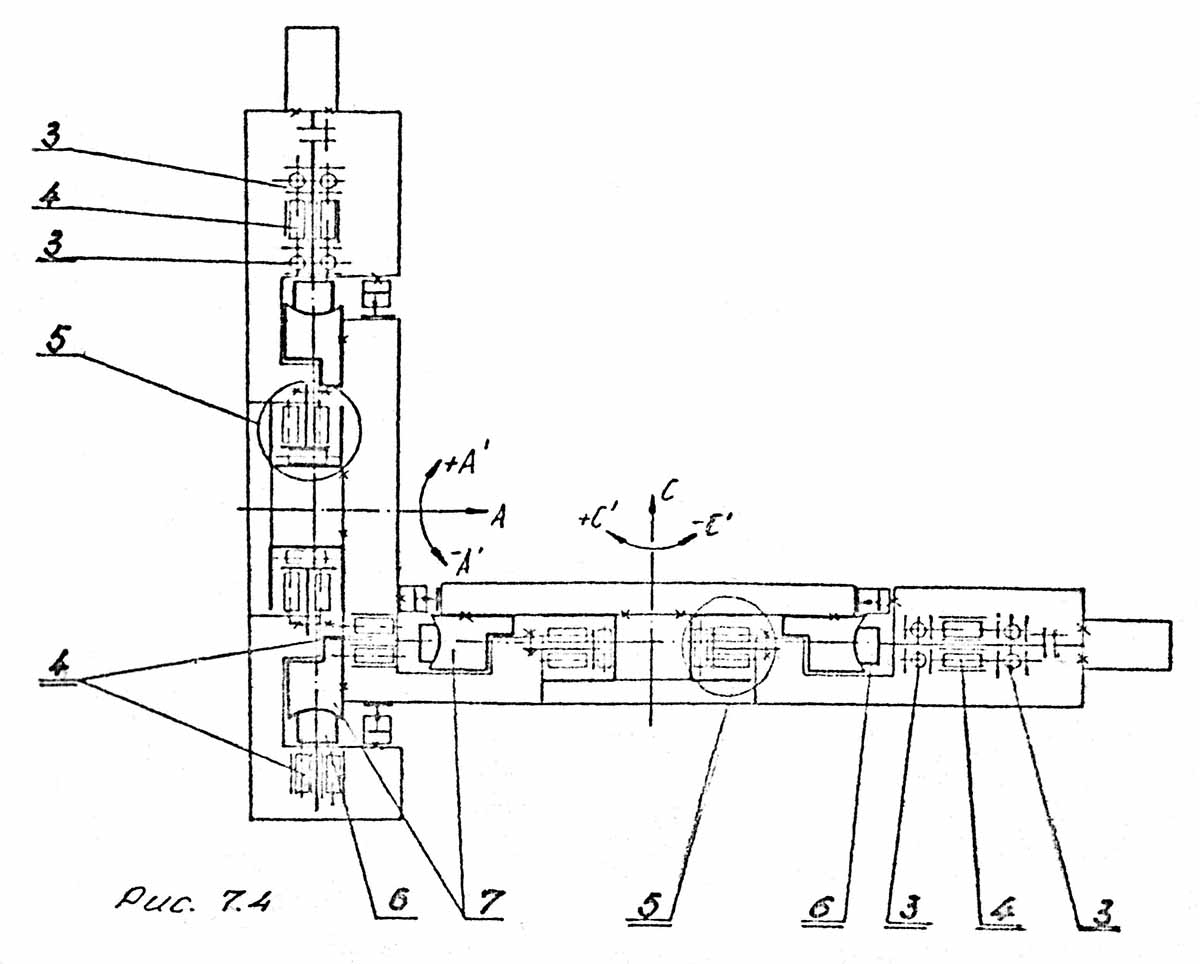
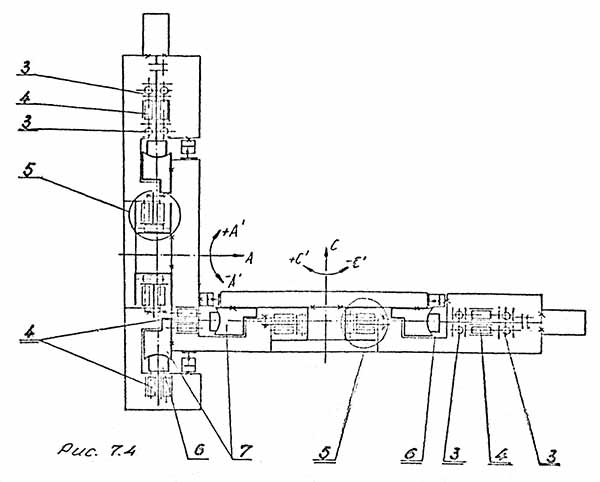
Кінематична схема пятикоординатного верстата МС 032

МС 032 Кінематична схема пятикоординатного верстата з ЧПУ і АСИ

Кінематична схема горизонтального фрезерного центра МС 032

Схема кінематична пятикоординатного верстата МС 032. Дивитись у збільшеному масштабі



Кінематична схема Привода осей X, Y, Z фрезерного пятикоординатного верстата МС 032

Привід осей X, Y, Z верстата МС 032

Кінематична схема Привода осей X, Y, Z фрезерного пятикоординатного верстата МС 032. Дивитись у збільшеному масштабі



Кінематична схема Привода осей А і С робочого стола фрезерного пятикоординатного верстата МС 032

Привід осей А і С робочого стола верстата МС 032

Кінематична схема Привода осей А і С робочого стола фрезерного пятикоординатного верстата МС 032. Дивитись у збільшеному масштабі



Кінематична схема Привода инструментального магазина фрезерного пятикоординатного верстата МС 032

Привід инструментального магазина верстата МС 032

Кінематична схема Привода инструментального магазина фрезерного пятикоординатного верстата МС 032. Дивитись у збільшеному масштабі



Кінематична схема Главного приводу (приводу шпинделя) фрезерного пятикоординатного верстата МС 032

Главный привід (привід шпинделя) верстата МС 032

Кінематична схема Главного приводу (приводу шпинделя) фрезерного пятикоординатного верстата МС 032. Дивитись у збільшеному масштабі





Опис конструкції верстата МС 032


Станина

Станина является основной опорной базой верстата. Представляет собой монолитное чугунное литье з подходящими ребрами з наклонами, обеспечивающими хороший отвод стружек из рабочей зоны верстата.

В нижней частини станины имеется лотковое углубление, в которое встроен транспортер для відведення стружек.

У станины имеются карманы з отверстиями для болтов, предназначенных для крепления верстата к фундаменту.

На направляючих станины установлены крестовые салазки, несущие на себе салазки "Z" і шпиндельную бабку.

К станине посредством болтов прикреплена стойка, на которой установлены салазки "Y", поворотный стол і инструментальный магазин.

На ограждения верстата ( закрепленного к станине ) расположены система керування верстатом і електрошкаф.

Продольный ( крестовый ) суппорт

Крестовый супорт ( рис.8 ) расположен на станине верстата. Он состоит из крестовых салазок і салазок 2.

Крестовые салазки ( 2 ) представляют собой чугунную отливку і предназначенные для обеспечения переміщення шпиндельной бабки і головного приводу в горизонтальном направлении по оси "Х". Рух салазок по закаленным і шлифованным чугунным направляющим станины осуществляется посредством пластмассовых лент, приклеенных соответственно к салазкам і планкам ( 1 ), подобно салазкам Z . Использование пластмассовых лент в сочетании з чугунными направляющими обеспечивает высокую износоустойчивость і низкий коеффициент трения.

С помощью клиньєв, расположенных з обеих сторон, ликвидируется боковой зазор і обеспечивается стабильное рух по направляющим станины. На торцевых поверхностях салазок закреплены маслоочистительные планки направляючих, которые одинаковы з маслоочистительными планками салазок

Салазки Z ( поз.3 ) установлены на крестовых салазках і предназначены для обеспечения руху шпиндельной бабки і головного приводу по направлению координатной оси Их рух по закаленным направляющим крестовых салазок осуществляется посредством приклеенных в их пазах пластмассовых лент ( 6 ) і ( 9 ) і закрывающих планок ( 1.2 ), з приклеенными к ним пластмассовыми лентами ( 8 ).

Ликвидация бокового зазору осуществляется посредством клиньєв ( 5 ), расположенных з обеих сторон, на которых приклеена пластмассовая лента ( 6 ).

Маслоочищение направляючих производится пластмассовыми планками ( 4 ) і ( 10 ), установленные нерухомо на салазках. Кроме того, салазки целиком защищены кожухом ( 11 ).

Главный привод

Главный привід является механізмом, осуществляющим рух різання. Он показан на рис.9 і прикреплен к салазкам.

Главный привід состоит из следующих елементів:

Шпиндельная бабка

Шпиндельная бабка ( поз.1 ) представляет собой надежно усиленную ребрами чугунную отливку. В ней размещаются все елементы головного привода, а главный двигатель закреплен фланцами.

Главный двигатель

Главный двигатель ( поз.19 ) з бесступенчатым регулюванням оборотів.

Его рабочий диапазон от 12 до 3760 об/мин з шагом 1 об/мин.

Зубчатый привод

Зубчатый привід двухступенчатый. Состоит из точных зубчатых пар, обеспечивающих поддиапазон регулировки оборотів. Выбор оборотів производится по программе или вручную з пульта керування. Кинематическая ланцюг первого поддиапазона ( 12 ... 975 об/мин) от двигуна до шпинделя осуществляется зубчатыми колесами ( поз.18,20,9 і 26 ).

При втором диапазоне ( от 976 ... 3760 об/мин) рух передається через зубчасті колеса поз. 18, 20, 27. При выборе оборотных ступеней смена обоих поддиапазонов осуществляется автоматически пневмоцилиндром, приводящим в рух ось з нерухомо закреп ленной вилкой, смещающей зубчатый блок. Он составлен из зубчатых колес поз. 26 і 27. Зубчатый привід установлен на опорах высокоточных підшибників класса точності Р5. Смазка зубчатого приводу і підшибників осуществляется разбрызгиванием масла в шпиндельной бабке.

ВНИМАНИЕ ! Перед первоначальным пуском верстата проверить масло в шпиндельной бабке. В случае необходимости долить масло MX-М 46 (FDC 7803-82). Маслоуказатель, установленный на крышке бабки, показывает уровень масла. Запрещается превышение его верхней отметки. 4«5.4. Шпиндель

Шпиндель

Шпиндель (поз.7) - см.рис.9 - изготовлен из высококачественной стали. Он термообработанный, точно отшлифованный і в передньої своей частини заканчивается присоединительным конусом ISO № 40. Конус также термообработанный ( HRC 60...64 ) і точно отшлифован. В задньої своей частини шпиндель имеет торцевые отверстия, в которые входят штифты, связывающие зубчатую муфту ( поз.16 ), через которую передається крутящий момент от зубчатого приводу к шпинделю. Он установлен на опорах точных підшибників качения в калиброванных отверстиях шпиндельной гильзы ( поз.4 ) следующим способом: в передньої своей частини шпиндель установлен на опорах пакета шпиндельных підшибників, собранных з натягом по внутреннему диаметру 0,002..0,003 мм, осуществляющих легкий предварительный натяг і з зазором по внешнему диаметру до 0,002 мм. В задньої частини шпиндель установлен на опорах двух шпиндельных підшибників такого же типоразмера как у передних. Підшипники монтируются з натягом по внутреннему диаметру 0,002 до 0,003 мм і з зазором по внешнему диаметру до 0,002 мм. Для достижения предварительного натяга пяти підшибників применяется осевая сила 9 кН.

Пакеты шпиндельных підшибників смазываются смазкой GMN № 3 і дополнительное смазывание не рекомендуется. В передньої своей частини шпиндель имеет торцевую шпонку, передающую крутящий момент инструменту.

Ориентация шпинделя в позицию смены инструмента осуществляется електрическим путем з помощью импульсного датчика і фиксатора. Ориентация шпинделя производится как по программе, так і вручную посредством набора соответствующей функции з клавиатуры на пульті системы ЧПУ.

Во время смены инструмента присоединительный конус инструмента обдувается струей сжатого воздуха.

Механізм зажиму инструментов

Механізм зажиму расположен в шпинделе і керування им осуществляется как по программе, так і вручную кнопкой на пульті керування. Состоит из цанги з шариками, установленной на затяжке ( поз.57 ) і осево обеспечена гайкой.

На затяжке установлены 70 штук тарельчатых пружин осуществляющих усилие зажиму 4600 N. Тарельчатые пружины смазываются смазкой "Литол 24" смешанной з 3% молибденовым бисульфидом.

Сжатие пружинного пакета при смене инструмента производится пневмогідравлическим усилительным пристрійм, подающем масло под давлением 10 МПа поршню ( поз.34 ), который со своей стороны посредством пустотелого штока ( поз.35 ) сжимает пружинный пакет і открывает цангу.

При снятии давления пневмогідравлічного усилителя поршень ( поз.34 ) возвращается под воздействием пружины в первоначальное положение, пружинный пакет разгружается і шарики, передвигаясь назад, зажимают инструмент. Затяжка (поз.57) при открытии цанги, выталкивает инструмент из конуса шпинделя на расстояние 0,6 ± 0,2 мм.

Опис пневмогідравлічного усилителя рассмотрено в разделе "Пневмогідравлическая система".

Стойка

Стойка служит для переміщення робочого стола верстата в вертикальном направлении посредством двигуна і шарико-винтовой пары.

Стойка представляет собой усиленную ребрами чугунную отливку, прикрепленную к станине болтами.

На направляючих стойки крепятся салазки "Y", которые носут на себе рабочий стол ( з его установкой на опорах ) к его приводы по двум осям.

На стойке закреплен инструментальный магазин вместе з его приводом.

Вертикальные салазки "Y"

Вертикальные салазки ( поз.1, рис.10 ) установлены на закаленных і отшлифованных направляючих стойки. Перемещение салазок относительно стойки конструктивно подобно перемещению крестовых салазок і салазок Z.

С помощью вертикальних салазок посредством механізма подачі ( 2 ) осуществляется рух в координатном направлении Y. Салазки є опорной базой крепления механізма руху по координатной оси А.

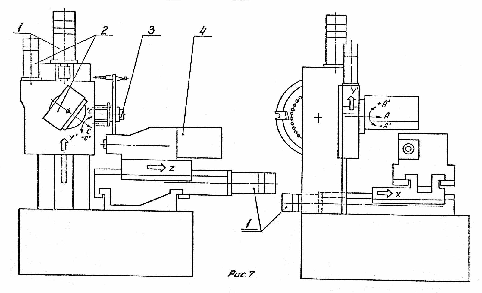
Поворотный стол

Поворотный стол служит для закрепления і ориентировки детали при обработке.

Поворотный стол представляет собой рабочий стол верстата з двумя взаимно перпендикулярными осями обертання -осью А і осью С. Установлен на салазках Y.

Ось "А"

Поворот около оси "А" обеспечивает наклон робочого стола от - 91° до + 132°.

Привід осуществляется высокомоментным електродвигуном 8 ( рис.13 ) і редуктором, который состоит из червяка і червячного колеса, обеспечивающих точный угловой поворот стола.

На валу електродвигуна закреплена шлицевая шайба 7 ( рис.13 ), которая вместе з шлицевой втулкой 6 і гайкой 5 ( рис.13 ), передает крутящий момент червяку 2 і червячному колесу 12 ( рис.12 ), которое прикреплено жестко к столу 10 (рис.12).

Фиксация поворотного стола по оси "А" після поворота в данном угловом положении осуществляется через гідравлический тормоз 9 ( рис.12 ).

Ось "С"

Рабочий стол 10 ( рис.11 ) установлен на опорах точного радиально-упорного підшипника 11 ( рис.11 ), закрепленного к корпусу 13 ( рис.11). Стол може совершать вращение подачі по оси "С" от 0° до 360°. Обеспечена возможность застопоривания робочого стола 10 гідравлическим тормозом 9.

Привід робочого стола 10 аналогичен приводу по оси "А" Завод-изготовитель обеспечивает точное позиционирование приводу по осям "А" і "С". При обнаружении в червячной передаче зазору больше допустимого необходимо произвести следующее: освободить винты 4 ( рис13) при снятом двигателе 8 і нерухомому поворотном столе. Червяк поворачивается по часовий стрелке до тех пор пока не ликвидируется зазор.

После регулировки зазору, винти 4 затягиваются моментом 35 Нм.

Допустимая разница в зазоре при различных угловых положениях стола - 0,005 мм.

Механізм подачі салазок по осям X, Y і Z

Движения подачі салазок по трем координатным осям X, Y, Z осуществляются посредством окремих высокомоментных електродвигателей постоянного тока 1 ( рис. 14 ), установленных на соответствующих торцах салазок, причем по оси Y електродвигатель имеет встроенный тормоз.

Каждый двигатель посредством специальной муфты ( 2 ) связан з шарико-винтовой парой. Винт ( 3 ) шарико-винтовой пары установлен на опорах двухрядного радиально-упорного цилиндрического роликопідшипника ( 5 ), имеющего высокую грузоподъемность і стабильность. Необходимый натяг обеспечивается гайкой (4 0. Шариковая гайка ( 6 ) монтируется стабильно в • кронштейне ( 7 ), который прикреплен к соответствующим салазкам. Каждая шарико-винтовая пара изготовлена з предварительным натягом, произведенным в заводских условиях і не нуждается в дополнительной регулировке,

ВНИМАНИЕ! Запрещено производить любые регулировки і ремонт механізма подачі салазок Y, когда післядние находятся в верхнем положении. Ремонт і регулировки могут производиться только після переміщення салазок вниз до упора на специально подложенные деревянные бруски.

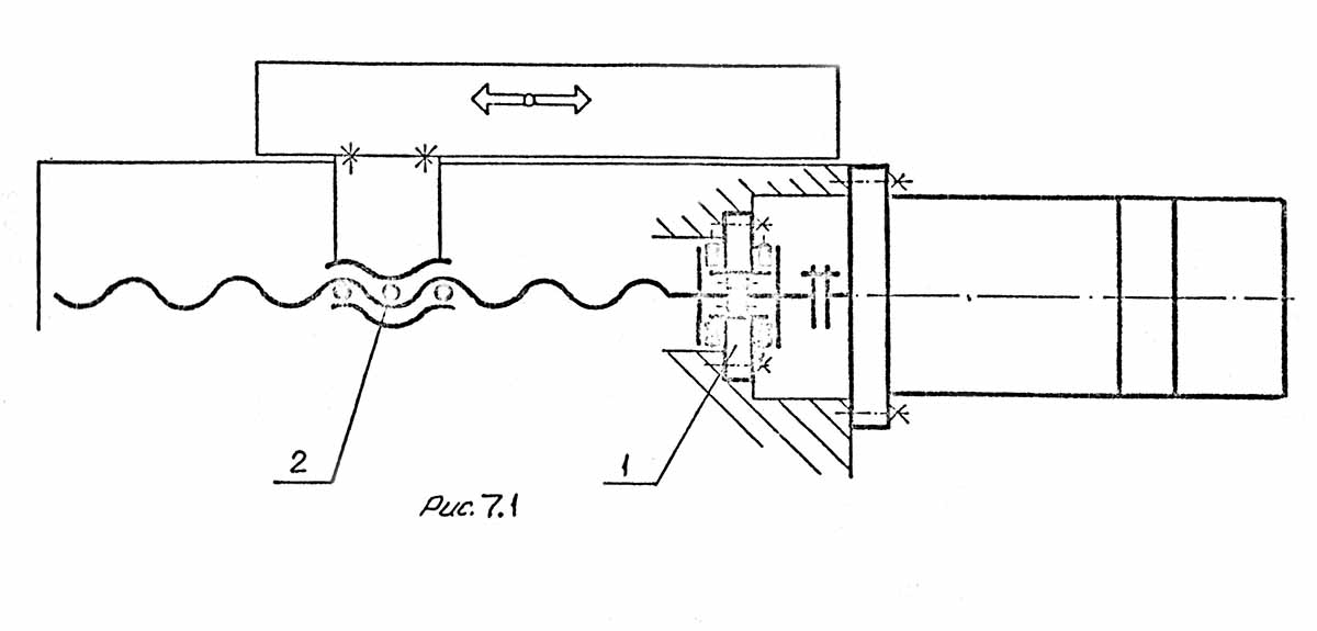
Магазин инструментов

Магазин инструментов ( рис 15 ) служит для правильного позиционирования по заданной программе і в ручном режиме роботи нужного гнезда для смены инструмента. Движения смены инструмента производятся шпинделем верстата.

Магазин инструментов имеет 32 гнезда, расположенных по периферии металлического диска ( 4 ).

Магазин инструментов прикреплен к стойке посредством шпильки ( 8 ) і ограничительных втулок ( 9 ), позволяющих работу з инструментами з максимальной длиной 250 мм.

Привід магазина осуществляется електродвигуном ( 1 ) з встроенным тормозом і волновым редуктором.

На валу електродвигуна закреплен волновой генератор ( 2 ), который посредством упругого елемента волнового редуктора ( 6 ), резиновых втулок ( 7 ), через чашу ( 5 ) і фланцу ( 3 ) передает крутящий момент металлическому диску (4).

Резиновые втулки ( 7 ) обеспечивают самоустановку магазина инструментов при смене инструмента.

Магазин вращается в одном направлении, позиционируя при етом ( по программе і в ручном режиме роботи ) нужное гнездо в позицию смены посредством бесконтактных датчиков, находящихся на планке, закрепленной на фланце инструментального магазина.

Бесконтактные датчики реагируют отверстиями, расположенными на металлическом диске, причем два крайних датчика фиксируют гнездо инструмента в позиции смена инструмента, а средний датчик отсчитывает післядовательный номер гнезда инструмента.

Диск і захваты инструментов

Металлический диск 4 ( рис. 16 ) является базой для укрепления захватов для инструментов.

Диск прикрепляется к фланцу инструментального магазина болтами.

Индексирование очередного инструмента осуществляется посредством системы состоящей из 4-х бесконтактных датчиков, установленных неподвижно, і 32 отверстий, пробитых в диске.

Захваты инструментов предназначены для сохранения неиспользуемых в данный момент инструментов, а при вызове их - передачи их шпинделю.

Конструкція захватов инструментов представляет собой две пластины, расположенные на определенном расстоянии одна от другой посредством втулки ( 1 ), палец ( 2 ), осуществляющий отпирание і запирание инструментов ( б ), шпонку ( 5 ), обеспечивающую постоянное ориентирование инструмента.

Захваты прикрепляются к металлическому диску посредством винтов і гаек.

Смена инструмента осуществляется при подходе ориентированного шпинделя к магазину, торец которого нажимает упругий палец ( 2 ), післядний отпирает захват і при выдвижении шпинделя запирает диаметрально захват инструмента ( 6 ).





МС 032 Верстат фрезерный (горизонтальный пятикоординатный обрабатывающий центр). Відеоролик.





Технічні характеристики верстата МС 032

Наименование параметра МС 032
Основні параметри верстата
Розміри рабочей поверхности стола (длина х ширина), мм Ø 320
Рабочий ход по оси X, мм 550
Рабочий ход по оси Y, мм 500
Рабочий ход по оси Z, мм 500
Поворот стола по оси А, град 220°
Поворот стола вокруг своей оси С, град 360°
Рабочая подача по осям X, Y, Z, мм/мин 1..4000
Рабочая подача по оси С, град/мин 1..360°
Быстрый ход по осям X, Y, Z, м/мин 10
Быстрый ход по оси А, м/мин 5
Быстрый ход по оси С, м/мин 10
Сила подачі по осям X, Y, Z, Н 6000
Момент по оси С, Нм 360
Скорость обертання шпинделя, об/мин 12..3760
Минимальное прграммируемое перемещение по осям X, Y, Z, мм 0,001
Минимальное прграммируемое перемещение по оси С, град 0,001°
Присоединительный конус инструмента ISO 40
Максимальная длина консольной частини инструмента, мм 250
Максимальный диаметр инструмента, мм Ø 80
Максимальная масса инструмента, мм 6
Центрирующий диаметр стола, мм Ø 150
Точность позиционирования по осям X, Y, Z, мм 0,03
Точность позиционирования по осям А і С, угл.сек 60", 30"
Мощность електродвигуна головного привода, кВт 11
Габарити і масса верстата
Габарити верстата (длина ширина), мм 2500 х 3500
Масса верстата, кг 7500

    Список литературы:

  1. Пятикоординатный обрабатывающий центр з горизонтальным шпинделем МС 032.12. Руководство по експлуатации, 1989

  2. Аврутин С.В. Основы фрезерного дела, 1962
  3. Аврутин С.В. Фрезерне дело, 1963
  4. Ачеркан Н.С. Металлорежущие верстати, Том 1, 1965
  5. Барбашов Ф.А. Фрезерне дело 1973, с.141
  6. Барбашов Ф.А. Фрезерные роботи (Профтехобразование), 1986
  7. Блюмберг В.А. Справочник фрезеровщика, 1984
  8. Григорьев С.П. Практика координатно-расточных і фрезерных работ, 1980
  9. Копылов Р.Б. Работа на фрезерных верстатах,1971
  10. Косовский В.Л. Справочник молодого фрезеровщика, 1992, с.180
  11. Кувшинский В.В. Фрезерование,1977
  12. Ничков А.Г. Фрезерные верстати (Библиотека станочника), 1977
  13. Пикус М.Ю. Справочник слесаря по ремонту металлорежущих верстатів, 1987
  14. Плотицын В.Г. Расчёты настроек і наладок фрезерных верстатів, 1969
  15. Плотицын В.Г. Наладка фрезерных верстатів,1975
  16. Рябов С.А. Современные фрезерные верстати і их оснастка, 2006
  17. Схиртладзе А.Г., Новиков В.Ю. Технологическое обладнання машиностроительных производств, 1980
  18. Тепинкичиев В.К. Металлорежущие верстати, 1973
  19. Чернов Н.Н. Металлорежущие верстати, 1988
  20. Френкель С.Ш. Справочник молодого фрезеровщика (3-е изд.) (Профтехобразование), 1978