Постачальником настільного токарно-гвинторізного верстата Корвет-402 є Енкор-Інструмент-Воронеж, ТОВ , засноване в 1992 році. Адреса сайту: http://www.enkor.ru/, сайт інтернет-магазину www.enkor24.ru.
Виробник – компанія Shanghai Joye Import & Export Co., Ltd. , Китай, м. Шанхай, заснована у липні 2003 року.
Токарний верстат металу Корвет 402 призначений для обробки заготовок з металу, деревини, всіх видів пластмаси методом точення.
Верстат Корвет 402 є настільним універсальним токарно-гвинторізним верстатом і призначається для всіляких токарних робіт:
Традиційне наочне компонування верстата Корвет 402 у поєднанні з відпрацьованою кінематичною схемою дозволяє впевнено забезпечити токарну обробку з класом точності Н протягом тривалого терміну експлуатації.
У порівнянні з пропонованими на ринку малогабаритними верстатами - він простий в експлуатації, надійний та довговічний.
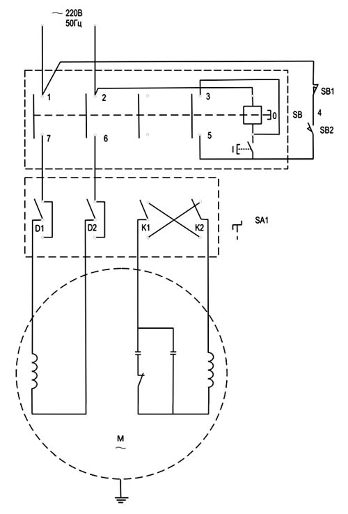
Токарний верстат Корвет 402 працює від однофазної мережі змінного струму напругою 220 В частотою 50 Гц.
Верстат Корвет 402 може експлуатуватися за таких умов:
Особливості конструкції токарного верстата по металу Корвет 402 :



Верстат підключається до розетки мережі 220В, 50Гц за допомогою вилки із заземлюючим контактом. Перед підключенням необхідно перевірити надійність з'єднання верстата із заземлюючим контактом вилки.
Для включення верстата необхідно:
Вимкнути верстат можна чотирма способами:
| Найменування параметру | Корвет-400 | Корвет-401 | Корвет-402 | Корвет-403 |
|---|---|---|---|---|
| Основні параметри верстата | ||||
| Найбільший діаметр заготовки над станиною, мм | 180 | 180 | 220 | 220 |
| Найбільший діаметр заготовки над супортом, мм | ||||
| Найбільша довжина заготовки у центрах (РМЦ), мм | 300 | 300 | 500 | 750 |
| Рекомендована глибина точення за один прохід, мм | 0,1 | 0,1 | 0,2 | 0,2 |
| Максимальна глибина точення за один прохід, мм | 0,2 | 0,2 | 0,3 | 0,3 |
| Максимальний розмір державки різця, мм | 8 х 8 | 10 х 10 | 13 х 13 | 13 х 13 |
| Шпиндель | ||||
| Діаметр наскрізного отвору в шпинделі, мм | 20 | 20 | 20 | 20 |
| Конус Морзе шпинделя | Морзе 3 | Морзе 3 | Морзе 3 | Морзе 3 |
| Число ступенів частот прямого обертання шпинделя | Б/с | Б/с | 6 | 6 |
| Частота прямого обертання шпинделя, об/хв | 0..1100, 0..2500 | 0..1100, 0..2500 | 100, 250, 350, 500, 900, 1800 | 100, 250, 350, 500, 900, 1800 |
| Число ступенів частот зворотного обертання шпинделя | Б/с | Б/с | 6 | 6 |
| Частота зворотного обертання шпинделя, об/хв | 0..1100, 0..2500 | 0..1100, 0..2500 | 100, 250, 350, 500, 900, 1800 | 100, 250, 350, 500, 900, 1800 |
| Диаметр токарного патрона, мм | 80 | 80 | 100 | 100 |
| Найбільше радіальне биття шпинделя, мм | 0,01 | 0,01 | 0,01 | 0,01 |
| Гальмування шпинделя | ні | ні | ні | ні |
| Блокування рукояток | ні | ні | ні | ні |
| Супорт. Подання | ||||
| Найбільше поздовжнє переміщення каретки супорта, мм | 405 | |||
| Переміщення супорта поздовжнє на один поділ лімба, мм | 0,025 | 0,025 | 0,025 | 0,025 |
| Найбільше поперечне переміщення супорта, мм | 65 | 65 | 110 | 110 |
| Переміщення супорта поперечне на один поділ лімба, мм | 0,025 | 0,025 | 0,025 | 0,025 |
| Найбільше переміщення верхніх (різцевих) санок (поворотного супорта), мм | 35 | 35 | 50 | 50 |
| Переміщення різцевих санок на один поділ лімба, мм | 0,25 | 0,025 | 0,025 | 0,025 |
| Кут повороту різцевих санчат, град | ±45° | ±45° | ±45° | ±45° |
| Число ступенів поздовжніх подач супорта | Б/с | Б/с | ||
| Межі поздовжніх робочих подач супорту, мм/про | Б/с | Б/с | 0,12..0,33 | 0,11..0,30 |
| Межі робочих поперечних подач супорта, мм/про | ні | ні | ні | ні |
| Кількість нарізаних різьблень метричних | 9 | 9 | 12 | 12 |
| Межі кроків різьб метричних, що нарізаються, мм | 0,4..2,0 | 0,5..2,5 | 0,5..3,0 | 0,5..3,0 |
| Межі кроків різьблення дюймових | ні | ні | 8..56 | 8..56 |
| Межі кроків різьблення модульних | ні | ні | ні | ні |
| Межі кроків різьблення питних | ні | ні | ні | ні |
| Задня бабка | ||||
| Конус Морзе задньої бабки | №2 | №2 | №2 | №2 |
| Найбільше переміщення пінолі, мм | 40 | 40 | 40 | 40 |
| Електроустаткування | ||||
| Номінальна напруга живлення, | 220 в 50 Гц | 220 в 50 Гц | 220 в 50 Гц | 220 в 50 Гц |
| Електродвигун головного приводу, кВт | 0,4 колекторний | 0,5 колекторний | 0,75 | 0,75 |
| Габарити та маса верстата | ||||
| Габарити верстата (довжина ширина висота), мм | 770 х 330 х 330 | 850 х 305 х 320 | 1030 х 480 х 475 | 1250 х 480 х 475 |
| Маса верстата, кг | 37 | 38 | 105 | 120 |