metalinstryment.com
Довідник по металорізальних верстатів та пресовому обладнанні

ИБ2222 Машина листогибочная трехвалковая (вальцы) для гибки листового металла
Схеми, опис, характеристики

ИБ2222 Машина листогибочная трехвалковая для гибки листового металла



Прессы механические, прессы гідравлические, верстати поперечно-строгальные

Відомості про виробника трехвалковой листогибочной машины ИБ2222

Изготовитель трехвалковой листогибочной машины ИБ2222 - Славгородский завод кузнечно-прессового оборудования КПО имени 8-летия Октября.

Разработчик листогибочной машины ИБ2222 — Азовское специальное конструкторское бюро кузнечно-прессового оборудования і автоматических линий, СКБ Ко.

В настоящее время машину ИБ2222 производит ПАО «Кувандыкский завод КПО «Долина» Оренбургская обл., г. Кувандык





Верстати, выпускаемые Славгородским заводом кузнечно-прессового оборудования КПО


ИБ2222 Машина листогибочная трехвалковая симметричная з механическим приводом. Назначение і область применения

Машина ИБ2222 разработана в 1979 году і серийно выпускалась з 1980 года. Разработчик ПО КПО г. Азов. Изготовитель - Завод КПО г. Славгород.

Машина листогибочная ИБ2222 предназначена для гибки цилиндрических і конических обечаек из листового металла в холодном состоянии - до 2 метров в ширину і до 16 мм по толщине, а также для гибки сортового і фасонного проката, подгибки кромок листа на требуемый радиус гибки (при использовании дополнительного инструмента).

Основні параметри машины листогибочной трехвалковой ИБ2222:

Ширина стола у вальцов ИБ2222, как у большинства валковых машин, двухметровая. Этот размер ограничивает максимальную ширину изготавливаемых изделий.

Листогибочные машины ИБ2222 применяются в судостроении, химическом, авиационном і общем машиностроении.

Ротационная трехвалковая листогибочная машина ИБ2222 предназначена для гибки листового проката з пределом текучести бт = 250 МПа (25 кгс/мм²) в холодном состоянии в цилиндрические і конические обечайки з небольшим углом.

На машинах ИБ2222 производится свободная гибка листа, помещенного между верхним і боковым валками. При перемещении боковых валков вверх лист прогибается, и, проходя через зону деформации (под верхним валком), участки листа получают післядовательную, равномерную по длине остаточную кривизну. Изменение радиуса гибки обеспечивается различным положением боковых валков по отношению к верхнему.

Гибка листа на малые радиусы ограничивается силой сцепления приводных валков з изгибаемым листом і производится за несколько післядовательных пропусков (проходов).

При производстве работ следует учитывать, что если процесс гибки будет работать з максимальной толщиной листа в 16 мм, то для выполнения подгибки данные вальцы не могут подгибать такой листовой материал. Так как для данной операции максимум толщины будет на 20% меньше максимальной толщины гибки. И равен 12 миллиметрам.

При выходе кромки листа з ролика автоматичного останова происходит отклонение головного приводу з включением реверса обертання валков, тем самым заготовка перемещается в обратном направлении.

ИБ2222 Особливості конструкції машины

Станина состоит из сварной рамы из швеллеров (основания) і двух литых чугунных стоек. Стойки одновременно є корпусами червячных редукторов і служат для подъема і опускания нажимного валка. К основанию станины крепятся опори валков, електродвигатели привода, механізма откидывания опори.

На левой стойке предусмотрены отверстия для крепления механізма съема вироби і приспособления для гибки конусов. Для удобства выгрузки готового вироби из рабочей зоны левая опора нажимного валка выполнена откидной.

На выступающих из опор концах шеек нижних валков закреплены шестерни открытой зубчатой пары, входящей в зацепление з выходной шестерней редуктора привода.

Боковые і верхний валки вращаются в сферических самоустанавливающихся підшипниках. Направление обертання боковых валков изменяется реверсированием електродвигуна.

Машина имеет два нижних (приводных) і один верхний (нажимной) валок, установленных в левой і правой стойках станины.

Верхний (нажимной) валок опирается одним концом на правую стойку, а другим на откидную опору, что позволяет снять обечайку з верхнего валка. Поворот откидной опори — от индивидуального електродвигуна через предохранительную муфту, червячный редуктор і винтовую пару.

Для удержания нажимного валка в наклонном положении при снятии правой шарнирной опори і для установки его в наклонное положение имеется нажимная колонка.

Привід верхнего нажимного валка — от електродвигуна. Через редуктор, открытую зубчатую передачу і трансмиссионный валик рух передається на правый і левый червячные редукторы. При помощи механізма отводки кулачков муфта може отключать левый червячный редуктор, что дает возможность изгибать конические обечайки з небольшим углом образующей конуса.

Подъем і опускание верхнего валка осуществляются переміщенням подъемных винтов з приводом от червячных редукторов.

Боковые (нижние) приводные валки, совершающие прямое і обратное вращение, приводятся в рух от електродвигуна через двухступенчатый редуктор і открытую зубчатую передачу.

Конструктивная схема машины обеспечивает установку боковых валков на поворотных рычагах, что позволяет производить подгибку кромок листа з одной его установки.

Главный привід — от индивидуального електродвигуна. Через клиноременную передачу і червячный редуктор вращение передається ведущей шестерне, которая установлена на тихоходном валу редуктора.

Главный привід снабжен тормозным пристрійм (реле контроля скорости) для мгновенного останова електродвигуна.

Крайние положения боковых валков і откидной опори ограничены конечными выключателями.

Привід переміщення боковых валков і привід наклона откидной опори снабжены предохранительными муфтами, предотвращающими поломку машины при перегрузках.

При гибке сортового проката на верхний і боковые валки устанавливаются полукольца, соответствующие профилю сечения обрабатываемого проката.

Керування листогибочной машиной — кнопкове з отдельно стоящего пульта керування.

Смазка - комбинированная: централизованная от насосной станції густой змазки і местная ручная.

Шумовые характеристики по ОСТ2Н89-7—80. Уровень вибрации на рабочем месте не должен превышать 20% норм по ГОСТ 12.1.012—78.

Режим роботи толчковый (одиночные ходу).

Машина изготовляется і поставляется по ТУ2-041-245—80 з основними параметрами по ГОСТ 10664—63.

В комплект поставки входят: инструмент для гибки проката, комплект запасных частин, комплект инструмента і приладдя, руководство по експлуатации.

По специальному заказу поставляются специнструмент і средства механизации:


Машины листогибочные трехвалковые (вальцы). Загальні відомості

Синонимы: ротационная валковая листогибочная машина — roll sheet bending machine, roller sheet metal bending machine.

Процесс гибки деталей из листовых заготовок осуществляется на валковых машинах, в которых гибка происходит между тремя вращающимися валками, установленными в шахматном порядке. Преимущественно используются универсальные трех- і четырехвалковые листогибочные машины, но в окремих случаях находят применение і специализированные машины.

Основным назначением универсальных листогибочных машин является гибка цилиндрических і конических обечаек і секторов. Гибка выполняется в холодном і горячем состоянии, причем горячая гибка используется для формовки только толстостенных заготовок.

Минимально возможный радиус изгиба равен не менее пяти- десятикратной толщине заготовки; з увеличением ширины заготовки предельное значение радиуса изгиба увеличивается.

При небольшом объеме производства универсальные листогибочные машины применяются также і для проведения других технологических процессов, как-то гибки сортового проката і труб, гибки листовых заготовок на малый радиус, местной штамповки і правки листовых заготовок.

Основними преимуществами универсальных листогибочных машин є отсутствие необходимости в сменной технологической оснастке і большая их универсальность, благодаря чему применение етих машин економически выгодно і при индивидуальном производстве.

Формообразование изделий на валковых листогибочных машинах происходит при одновременном перемещении заготовки между деформирующими валками і при её поперечном изгибе. Валки расположены обычно горизонтально. Выпускаются трёхвалковые машины з симметричным і асимметричным расположением валков (рис., а, б) і четырёхвалковые (рис., б). На валковых листогибочных машинах изгибают заготовки толщиной от 1 до 150 мм как в холодном, так і в горячем состоянии (при толщине листов св. 50 мм); скорость гибки 3-8 м/мин.

Машины листогибочные трехвалковые

Машины листогибочные трехвалковые і четырехвалковые





ИБ2222 Загальний вигляд машины листогибочной трехвалковой

ИБ-2222 Загальний вигляд  машины листогибочной трехвалковой

Фото машины листогибочной трехвалковой ИБ2222


ИБ-2222 Загальний вигляд  машины листогибочной трехвалковой

Фото машины листогибочной трехвалковой ИБ2222


ИБ-2222 Загальний вигляд  машины листогибочной трехвалковой

Фото машины листогибочной трехвалковой ИБ2222


ИБ2222 Розташування складових частин трехвалковой листогибочной машины

ИБ 2222 Розташування складових частин трехвалковой листогибочной машины

Розташування складових частин машины листогибочной ИБ2222

ИБ 2222 Розташування складових частин трехвалковой листогибочной машины

Розташування складових частин машины листогибочной ИБ2222


ИБ2222 Список складових частин трехвалковой листогибочной машины

  1. Рама - ИБ2222-11-001
  2. Стойки - ИБ2222-12-001
  3. Опора откидная - ИБ2222-14-001
  4. Приспособление для гибки конических обечаек - ИБ2222-15-001
  5. Привід главный - ИБ2222-21-001
  6. Привід регулировки высоты боковых валков - ИБ2222-22-001
  7. Механізм наклона откидной опори - ИБ2222-23-001
  8. Валок верхний - ИБ2222-31-001
  9. Валки боковые - ИБ2222-32-001
  10. Ограждение - ИБ2222-71-001
  11. Смазка - ИБ2222-82-001
  12. Електроустаткування - ИБ2222-91-001
  13. Электрошкаф - ИБ2222-92-001
  14. Пульт керування - ИБ2222-93-001
  15. * Стол передний - СШ6
  16. * Стол приемный - СП20
  17. * Механізм съема вироби - МСИ8
  18. * Механізм поддержки обечайки - МП01
  19. * Инструмент для гибки уголков, полос, квадратов, труб, швеллеров - ИБ2222-64-001
  20. Выключатель коленный - ИБ2222-65-001

* Для машин со средствами механизации


ИБ2222 Пульт керування трехвалковой листогибочной машиной

ИБ 2222 Пульт керування трехвалковой листогибочной машиной

Пульт керування трехвалковой листогибочной машиной ИБ2222


ИБ2222 Список органів керування вальцами

  1. Загальний стоп
  2. Переключатель ланцюги керування
  3. Переключатель направления обертання головного привода
  4. * Кнопка увімкнення механізма съема - вперед
  5. * Кнопка увімкнення механізма съема - назад
  6. Кнопка увімкнення подъема откидной опори
  7. Кнопки опускания откидной опори
  8. Кнопка переключения механізма поддержки обечайки вверх
  9. Кнопка переключения механізма поддержи обечайки вниз
  10. Кнопка переміщення заднего бокового валка вверх
  11. Кнопка переміщення заднего бокового валка вниз
  12. Кнопка переміщення переднего бокового валка вверх
  13. Кнопка переміщення переднего бокового валка вниз
  14. Лампа сигнальная "Сеть"
  15. Лампа сигнальная "Главный привід включен"

* Для машин со средствами механизации

Примечание: На листогибочных машинах пульт керування може быть встроенным в ограждение головного приводу (машины ИБ2213, ИБ2216) или быть выносным - крепиться к кронштейнам коленного выключателя (машины ИБ2219, ИБ2220, ИБ2222).





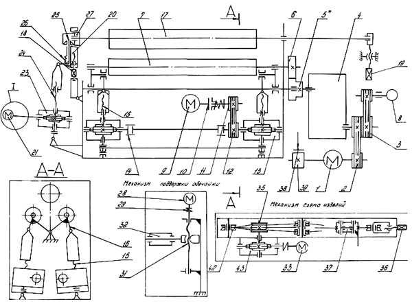
ИБ2222 Кінематична схема трехвалковой листогибочной машины

ИБ 2222 Кінематична схема трехвалковой листогибочной машины

Кінематична схема листогибочной машины ИБ2222

ИБ2222 Кінематична схема трехвалковой листогибочной машины. Дивитись у збільшеному масштабі


  1. Електродвигун приводу боковых валков (М1) (главный привод) - 12 кВт
  2. Шкив - Ø200
  3. Шкив - Ø400
  4. Редуктор - Ц2У-315Н-40-21
  5. Шестерня - m=16, z=18
  6. Шестерня - m=16, z=21, 2шт
  7. Валок боковой - Ø260, 2шт
  8. Реле контроля скорости - нет
  9. Електродвигун регулировки высоты боковых валков (М2,3) - 5,5 кВт, 2шт
  10. Муфта, 2шт
  11. Шкив - Ø140, 2шт
  12. Шкив - Ø180, 2шт
  13. Редуктор - 4-125-31,5-56-3ц-У4, 4шт
  14. Муфта, 2шт
  15. Винтовая пара подъема бокового валка - Tr86 х 10, 4шт
  16. Рычаг, 4шт
  17. Валок верхний - Ø270
  18. Винт - Tr60 х 9
  19. Винт подъема верхнего валка
  20. Откидная опора верхнего валка
  21. Електродвигун механізма наклона откидной опори верхнего валка (М4) - 1,1 кВт
  22. Редуктор - 24-40-10-56-4-1-У1-1
  23. Винтовая пара - Tr32 х 6
  24. Фиксатор
  25. Пружина
  26. Стакан
  27. Електродвигун приводу поддерживателя обечайки (М6) - 0,75 кВт
  28. Муфта
  29. Винтовая пара - Tr32 х 6
  30. Ролик
  31. Електродвигун приводу механізма съема изделий (сталкивателя) (М5) - 1,5 кВт
  32. Редуктор - 4-100-50-52-1Ц-У4
  33. Барабан - Ø150
  34. Винт
  35. Каретка
  36. Тормоз колодочный - Tr-200
  37. Шкив тормозной - Ø200
  38. Шкив - нет
  39. Шкив - нет
  40. Блок, 2шт

ИБ2222 Наладки инструмента листогибочной машины

ИБ 2222в Наладки инструмента листогибочной машины ИБ2222

Наладки инструмента листогибочной машины ИБ2222

Наладки инструмента листогибочной машины ИБ2222. Дивитись у збільшеному масштабі


ИБ2222 Способы подгибки кромок листового проката

ИБ 2222в Способы подгибки кромок листового проката

I Подгибка кромок у прямого листа
II Подгибка кромок предварительно согнутого листа


ИБ2222 Порядок роботи на машине при гибке цилиндрической обечайки

  1. Лист заводится между верхним і боковыми валками. При етом кромка листа должна бить выставлена параллельно образующей переднего валка
  2. Задний боковой валок перемещается в крайнее нижнее положение
  3. Передний боковой валок перемещается в крайнее верхнее положение і осуществляется зажим листа
  4. Задний боковой валок перемещается вверх і производится подгибка передньої кромки листа
  5. Боковые валки устанавливаются по симметричной схеме (на одном уровне относительно верхнего)
  6. Лист перемещается в крайнее переднее положение
  7. Производится подгибка второй кромки листа, аналогично первой
  8. Боковые валки устанавливаются по симметричной схеме
  9. Производится гибка листа в цилиндр. Радиус гибки зависит от положения боковых валков относительно верхнего, контроль которых осуществляется з помощью указателей, расположенных на правой стойке машины
  10. Откидывается левая опора верхнего валка і обечайка снимается

Внимание

Т.к. подгибка кромок листа осуществляется по асимметричной схеме, то в етом случае возникают большие радиальные зусилля, чем при симметричной схеме. По етой причине на машине возможна подгибка кромок меньшей толщины (см*табл.1).

При работе требуется большее внимание к правильности регулировки і установки заготовки в валках, а также наблюдение за переміщенням заготовки в процессе гибки. После каждого перехода следует проверить параллельность кромки листа образующей валка.

Плоская заготовка должна быть предварительно исправлена т.к. наличие искривленности вызывает її перекос і смещение торцовых кромок у обечайки.

Смещение кромок исправляется путем обратного перекоса обечайки в валках. Правка возможна, если обечайка согнута не полностью.





ИБ2222 Налаштування машины для гибки конических обечаек

ИБ 2222 ИБ2222 Налаштування машины на гибку конических обечаек

Налаштування машины ИБ2222 для гибки конических обечаек


Для гибки конических обечаек верхний валок устанавливают в наклонное положение под углом ε к горизонту. Угол ε і величина переміщення левой опори верхнего валка Δh лев. получаются из нижеприведенных соотношений между углом конуса і необходимыми радиусами гибки, (см.рис.28).

Угол при вершине конических обечаек (максимальный) составляет для машин:

Установку верхнего валка в положение для гибки конических обечаек производить в следующей післядовательности:

  1. отпустить нижние шлицевые гайки на винте откидной опори
  2. передньої тягой установить верхний валок в нужное положение одновременно заворачивая винт в стакан вращением муфты вручную. Контроль переміщення по линейке на стойке
  3. завернуть нижние шлицевые гайки небольшим усилием. Открыть откидную опору і затянуть верхние гайки. Затянуть нижние гайки, закрыть опору
  4. гайками зафиксировать тягу консоли верхнего валка, отрегулировав при етом свободное откидывание левой опори
  5. отрегулировать положение конечного выключателя з помощью пазов в кронштейне конечного выключателя і планки з упором в приводе откидной опори
  6. одеть на шейку верхнего валка при снятой откидной опоре пристрій для гибки конических обечаек. Хвостовик упора приспособления при надевании откидной опори должен заходить в пристрій от поворота вокруг посадочной шейки - валка.
  7. Возврат валка в горизонтальное положение производить в обратной післядовательности. При гибке конических обечаек лист устанавливается таким образом, чтобы вогнутая кромка меньшего диаметра заготовки усеченного конуса прилегала к упору приспособления для гибки конических обечаек.

Где * розміри для справок:


Максимальные розміри сортового проката і Rmin минимальный радиус гибки:

  1. Наладка инструмента для гибки трубы. Максимальный диаметр трубы - Ø32; 45, Rmin = 400 мм
  2. Наладка инструмента для гибки сдвоенного уголка полкой наружу. Максимальные розміри уголка - 50х50х5, Rmin = 450 мм
  3. Наладка инструмента для гибки швеллера полкой наружу. Максимальный размер швеллера - №12, Rmin = 400 мм
  4. Наладка инструмента для гибки квадрата. Максимальные розміри квдрата - 50х50, Rmin = 300 мм
  5. Наладка инструмента для гибки полосы на ребро. Максимальные розміри полосы - 36х60, Rmin = 400 мм




ИБ2222 Машина листогибочная трехвалковая для гибки листового металла. Відеоролик.




Технічні характеристики трехвалковой листогибочной машины ИБ2222

Наименование параметра ИБ2220 ИБ2222 ИБ2222В
Основні параметри машины
Наибольшая толщина изгибаемого листа при бт = 250 МПа (25 кгс/мм²), мм 10 16 16
Наибольшая ширина изгибаемого листа, мм 2000 2000 2000
Максимальный угол при вершине конических обечаек, град 20 20
Скорость гибки, м/мин 9.3 7,7 8,5
Наименьший радиус гибки, мм 180 240 240
Диаметр верхнего валка, мм 215 270 270
Диаметр боковых валков, мм 195 260 260
Електроустаткування і привід машины
Количество електродвигателей, кВт 4 4 4
Електродвигун (головного) приводу обертання боковых валков, кВт 8,5 12,0 12,0
Електродвигун механізма наклона откидной опори верхнего валка, кВт 1,1 1,1 1,1
Электродвигатели регулировки высоты боковых валков, кВт 3,0 5,5 5,5
*Електродвигун приводу механізма съема изделий (сталкивателя) (М5), кВт 1,5 1,5 1,5
*Електродвигун приводу поддерживателя обечайки (М6), кВт 0,75 0,75 0,75
Суммарная мощность електродвигателей, кВт
Габарит і масса машины
Габарит (длина х ширина х высота), мм 3940 х 1250 х 1310 4040 х 1490 х 1745 4040 х 1590 х 2096
Масса, кг 5850 11495 8890

    Список литературы:

  1. Банкетов А.Н., Бочаров Ю.А., Добринский Н.С. і др. Кузнечно-прессовое обладнання, 1970
  2. Бочаров Ю.А., Прокофьев В, Н. Гідропривід кузнечно-прессовых машин, 1969
  3. Белов А.Ф., Розанов Б. В., Линц В. П. Объемная штамповка на гідравлических прессах, 1971
  4. Живов Л.И. Кузнечно-штамповочное обладнання, 2006
  5. Кузьминцев В.Н. Ковка на молотах і прессах, 1979
  6. Розанов Б.В. Гідравлические прессы, 1959
  7. Титов Ю.А. Обладнання кузнечно-прессовых цехов, 2001
  8. Щеглов В.Ф. Кузнечно-прессовые машины, 1989
  9. Берлет Разработка чертежей поковок, 2001
  10. Рудман Л.И. Справочник по оборудованию для листовой штамповки, 1989
  11. Романовский В.П. Справочник по холодной штамповке, 1965
  12. Охрименко Я.М. Технология кузнечно-штамповочного производства, 1966
  13. Кузьминцев В.Н. Ковка на молотах і прессах, 1979
  14. Мещерин В.Т. Листовая штамповка. Атлас схем, 1975