Виробником настільно-свердлильного верстата моделі ГС2112 є Гомельський завод верстатних вузлів ДЗСУ , заснований у 1961 році.
Завод вже понад 50 років випускає верстати токарні з ЧПУ; верстати токарно-гвинторізні; верстати свердлильні; вузли верстатів.
У 1970 році завод приступив до виготовлення вузлів до токарно-гвинторізних верстатів: коробки подач та фартухи.
З 1976-1991 роки завод входив до складу Московського виробничого об'єднання "Червоний Пролетар".
У 1972 році освоєно випуск радіально - свердлильних верстатів моделі 2Е52.
В даний час ВАТ «Гомельський завод верстатних вузлів» виробляє металорізальні верстати та комплектуючі до них.
Настільний свердлильний верстат ГС2112 виготовлений згідно з ТУ РБ 00222479-101-95.
Свердлильний верстат ГС2112 призначений для свердління отворів та нарізування різьблення в дрібних деталях з чавуну, сталі, кольорових сплавів та неметалічних матеріалів в умовах промислових підприємств, ремонтних майстерень та побутових майстерень.
Простота конструкції забезпечує легкість керування, надійність та довговічність верстатів.
Відлік глибини свердління провадиться за плоскою шкалою або упором.
П'ятиступінчасті шківи приводу дозволяють отримувати п'ять швидкостей обертання шпинделя, що забезпечує вільний вибір швидкостей різання.
Оригінальна конструкція натягу ремінної передачі дозволяє швидко змінювати положення ременя на шківах для отримання потрібної швидкості різання.
Верстати ГС2112 дозволяють виконувати такі операції:
Захисний кожух ремінної передачі блокований з приводом верстата для його відключення при відкритті кожуха. При цьому електродвигун верстата може бути запущений тільки після закриття кожуха.
У таблиці частот обертання шпинделя наведено попереджувальну символіку, що вказує на неприпустимість перемикання рукоятки керування при обертанні шпинделя. Для підключення до мережі живлення на верстаті встановлено штепсельний роз'єм, біля якого встановлений попереджувальний знак "Електрична напруга" та табличка з характеристикою мережі живлення, ланцюгів керування, величиною плавкою уставки запобіжників для захисту від короткого замикання.
Шпиндель призначений передачі обертання інструменту, закріпленому в патроні, який встановлюється на кінці шпинделя. Шпиндель монтується у гільзі на підшипниках кочення. Зубчаста рейка гільзи знаходиться у постійному зачепленні із зубчастиним колесом штурвального пристрою.
Гайка на кінці шпинделя призначена для зняття патрона свердлильного з конуса шпинделя.
Для запобігання мимовільному опусканню шпинделя на валу штурвального пристрою закріплена спіральна пружина.
ЕНС12 – Ø12 – виробник Єйський верстатобудівний завод ЄСЗ, м. Єйськ
ОД71 – Ø12 – виробник Оренбурзький станкозавод, м. Оренбург
НС-12Б, НС-12-М - Ø12 - виробник Барнаульський верстатобудівний завод
ШУНСС-12 – Ø12 – виробник Мукачівський верстатобудівний завод, с. Кольчино
ГС2112 - Ø12 - виробник Гомельський завод верстатних вузлів
ЗІМ1330.00.00.001 - Ø12 - виробник Завод ім. Масленнікова, ЗІМ-Верстатобудівник, м. Самара
МП8-1655 - Ø12 - виробник СтанкоБудівельний завод ім. Кірова, м. Мінськ
БС-01 - Ø12 - виробник Беверс, м. Бердичів
ВС3-5016 - Ø12 - виробник Воронезький верстатозавод
Р175М - Ø12 - виробник Чистопільський завод АвтоСпецОбладнання, м. Чистопіль
Р175, Р175М - Ø13 - виробник АвтоСпецОбладнання
ВІ 2-7 - Ø14 - виробник Волгоградський інструментальний завод
MD-23 - Ø14 - виробник Каунаський верстатобудівний завод "Неріс"

Фото свердлильного верстата ГС2112

Фото свердлильного верстата ГС2112
Фото свердлильного верстата ГС2112. Дивитись у збільшеному масштабі

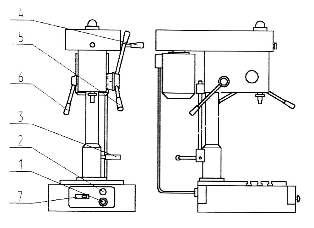
Розташування органів керування свердлильним верстатом ГС2112

Кінематична схема сверлильного верстата гс2112
Кінематична схема сверлильного верстата ГС2112. Дивитись у збільшеному масштабі
Кінематична схема верстата (рис.2) содержит три кинематические ланцюги: обертання шпинделя, ручной подачі і перемещение шпиндельной бабки по колонне.
Вращение от електродвигуна М передається через ременную передачу на вал шпинделя.
Ручная подача осуществляется рукоятками штурвального пристроя, вращение которых через зубчатое колесо 3 передається на рейку 4 пиноли шпинделя.

Електрична схема сверлильного верстата гс2112
На станке ГС2112 установлен один асинхронный електродвигатель мощностью 0,55 кВт для приводу шпинделя.
В станке применяются наступні величины напряжений переменного тока:
По классу защиты от поражения електрическим током, електрообладнання относится к I классу по ГОСТ 12.2.007.0-75
| Наименование параметра | 2М112 | ГС2112 |
|---|---|---|
| Основні параметри верстата | ||
| Наибольший диаметр сверления, мм | 12 | 12 |
| Наименьшее і наибольшее расстояние от торца шпинделя до стола | 0..400 | 50..400 |
| Расстояние от оси вертикального шпинделя до направляючих стойки (вылет), мм | 190 | 190 |
| Рабочий стол | ||
| Ширина рабочей поверхности стола, мм | 250 | 250 |
| Число Т-образных пазов Розміри Т-образных пазов | 3 | 3 |
| Шпиндель | ||
| Наибольшее перемещение шпиндельной головки (бабки), мм | 250 | |
| Ход гильзы шпинделя, мм | 100 | 100 |
| Частота обертання шпинделя, об/мин | 450..4500 | 450..4500 |
| Количество швидкостей шпинделя | 5 | 5 |
| Конус шпинделя | Морзе В18 | |
| Привод | ||
| Електродвигун приводу головного руху Мощность, кВт | 0,55 | 0,55 |
| Габарит і масса верстата | ||
| Габарити верстата (длина ширина высота), мм | 795 х 370 х 950 | 340 х 690 х 960 |
| Масса верстата, кг | 120 | 100 |
Робота заповнює час, відпущений неї.
Перший закон Паркінсона