metalinstryment.com
Довідник по металорізальних верстатів та пресовому обладнанні

6А12П Верстат консольно-фрезерный вертикальний
Паспорт, руководство, схеми, опис, характеристики

6А12п Загальний вигляд  консольного фрезерного верстата







Відомості про виробника консольно-фрезерного верстата 6А12П, 6А12Р

Вертикальный консольно-фрезерный верстат 6А12п, 6А12р производил Луганский станкостроительный завод.

За время своей истории предприятие носило разные официальные і сокращённые наименования: Луганский казённый патронний завод, Луганский патронно-станкостроительный завод имени В. И. Ленина, Луганский Станкостроительный завод им. В. И. Ленина.

Луганский станкостроительный завод одним из первых в бывшем Советском Союзе освоил крупносерийное производство фрезерных верстатів з цикловой і числовой системами программного керування. Заводом были разработаны і запущены в производство особо сложные высокопроизводительные верстати з автоматичною сменой инструмента і числовым программным керуванням моделей СВМ1Ф4 і СФ68Ф3П. На заводе освоен выпуск малогабаритных токарных МС-03 і МС-04, фрезерных МС-51, МС-54, СВФ1 і сверлильных верстатів СВС1-010.





Верстати, выпускаемые Луганским станкостроительным заводом


6А12п вертикальний консольно-фрезерный верстат з програмным керуванням. Назначение, область применения

Консольно-фрезерный верстат 6А12П з программным керуванням в прямоугольных координатах предназначен для выполнения всех видов фрезерных работ в условиях серийного производства.

Верстат 6А12П используется для автоматичною обробки различных ступенчатых поверхностей, фрезерування прямоугольной спирали, расточки отверстий, фрезерування шпоночных канавок, выполнения маятникового, скачкообразного, строчного циклов, обробки внутренней і наружной рамок і т. д.

Особливості конструкції і принцип роботи верстата

В станке 6А12П при помощи кулачков осуществлено путевое программирование движений стола, а также соответствующих елементів цикла роботи верстата.

Каждой программой може задаваться 24 различных руху стола в любой післядовательности, увімкнення і вимкнення електродвигуна головного руху, робота насоса охлаждения, подъем і опускание консоли при быстром перемещении стола, а также автоматический выбор люфта в винтовой паре поздовжньої подачі стола.

Двадцать четыре команды программы как для рабочих подач, так і для быстрых перемещений задаются штеккерами.

Керування подачами осуществляется з помощью електромагнітних муфт, особенностью которых является расположение фрикционных дисков вне зоны дії магнитного потока, благодаря чему уменьшается время срабатывания муфт і повышается надежность их роботи.

При напівавтоматическом цикле на станке можно обрабатывать внутренние і наружные замкнутые рамки, плоскости, расположенные на различной высоте і т.д.

Верстат 6А12П може работать без программы. В етом случае керування осуществляется кнопками і рукоятками как на обычном вертикально-фрезерном станке.

Перемещения стола, консоли і каретки вручную сблокированы з механическими переміщеннями так, что их одновременное увімкнення невозможно.

Гідравлическое пристрій для выбора люфта в винтовой паре продольного переміщення стола позволяет вести фрезерование как по подаче, так і против нее. Увімкнення етого пристроя производится автоматически по заданной программе. Работает оно от гідравлічного насоса, который одновременно служит для подачі змазки к механізмам і направляющим стола і каретки. Насос з приводным електродвигуном смонтирован в каретке.

Во избежание повреждения обработанной поверхности фрезой при быстрых продольном і поперечном обратных ходух стола консоль автоматически опускается на 1 мм і поднимается в исходное положение після окончания швидкого переміщення. Механізм подъема і опускания консоли работает от автономной гідросистемы з отдельным приводным електродвигуном.

Изменение швидкостей шпинделя і подач стола осуществляется при помощи однорукояточных механізмов.

Отличительной особенностью верстата является наличие замедленной подачі, на которую може быть переключено рух стола, каретки или консоли в кінці ходу, что повышает точность линейных размеров при работе по программе. Точность линейных размеров, обеспечиваемая верстатом при работе по программе, составляет 0,1 мм.

Система программного керування дает возможность осуществлять в любой післядовательности прямолинейные переміщення стола в трех прямоугольных координатах в пределах 24 переходов.

При работе верстата 6А12П по программе обеспечивается высокая степень точності (+0,05 мм). Это достигается введением в привід подач вузла замедления, сводящего до минимума инерционные перебеги стола і обеспечивающего высокую стабильность размеров при повторении циклов. На станке предусмотрен также автоматический отвод детали от инструмента при ускоренных ходух стола і возврат її в исходное положение при переходе на рабочую подачу, что предохраняет обработанную поверхность от повреждений инструментом. Это сокращает машинное время, необходимое для вывода инструмента из зоны різання.

Гідравлический механізм выбора люфта в паре винт—гайка способствует сохранению постоянного натяжения независимо от степени износа гайки. В связи з етим можно широко применять на станке прогрессивный метод попутного фрезерування.

Конструкцией гідравлічного механізма передбачаєся возможность регулювання степени натяжения в винтовой паре в зависимости от режима різання.

Наличие на станке поворотной головки і возможность переміщення шпинделя в осевом направлении позволяют производить фрезерование под различными углами.

Кнопкове керування верстата — гибкое: одновременно можно осуществлять два три руху стола (рабочую і замедленную подачі) или ускоренный ход. При помощи кнопок осуществляется также толчковый режим (рух стола только при нажатой кнопке).

В електросхеме верстата предусмотрена возможность увімкнення его в автоматическую линию, а при наличии загрузочного пристроя — преобертання верстата в автомат.

Два, три і более верстатів моделі 6А12П може обслуживать один рабочий.

Верстат 6А12Р унифицирован со верстатом 6А12П. Однако он не имеет программного керування и, значит, пульта набора і считывания программы, блоков електроупоров, електроустаткування, связанного з программным керуванням, вузла замедления в коробке подач.*

Система керування верстатом 6А12Р простая і удобная. В зависимости от потребностей производства возможны наступні варіанти керування: вручную от рукоятки, кнопкове, автоматическое і напівавтоматическое (маятниковый і скачкообразный циклы).

На станке 6А12Р могут быть установлены поворотный стол, делительная головка з единичным і автоматическим делением і ряд других пристосувань, повышающих технические возможности верстата.

Рукоятки і маховики керування снабжены четкими лимбами или табличками з необходимыми данными для налаштування верстата. Органы керування верстатами 6А12П і 6А12Р указаны на рис. 8 і 9.

Следует помнить, что рукоятки і маховики используются только при наладке і снимаются при работе з механической подачей.





Посадочные і присоединительные базы фрезерного верстата 6А12п

Посадочные і присоединительные базы горизонтального консольно-фрезерного верстата 6А12п

Посадочные і присоединительные базы верстата 6а12п


6А12п Загальний вигляд вертикального консольно-фрезерного верстата

6А12п Загальний вигляд  консольно-фрезерного верстата

Фото вертикального консольно-фрезерного верстата 6а12п

Фото вертикального консольно-фрезерного верстата 6а12п. Дивитись у збільшеному масштабі



6А12п Розташування складових частин консольно-фрезерного верстата

Розташування складових частин консольно-фрезерного верстата 6А12п

Розташування складових частин фрезерного верстата 6А12п


Список складових частин консольно-фрезерного верстата 6А12п

  1. рукоятка переключения подач;
  2. конечные кулачки поперечного ходу;
  3. блок електроупоров «Поперечно»;
  4. блок електроупоров «Вертикально»;
  5. пульт набора і считывания программы;
  6. кнопка «Возврат барабана в нулевое положение»;
  7. кнопка «Толчок шпинделя»;
  8. рукоятки переключения швидкостей;
  9. винт поворота головки;
  10. рукоятка зажиму пиноли;
  11. рукоятка переміщення пиноли;
  12. конечные кулачки продольного ходу;
  13. блок електроупоров «Продольно»;
  14. пульт керування;
  15. лимб поперечного переміщення стола;
  16. лимб вертикального переміщення стола;
  17. лимб продольного переміщення стола;
  18. винт регулировки клиньєв салазок;
  19. рукоятка зажиму салазок.




Схема кінематична консольно-фрезерного верстата 6А12п

6А12п Схема кінематична консольно-фрезерного верстата

Кінематична схема консольно-фрезерного верстата 6а12п

1. Схема кінематична консольно-фрезерного верстата 6А12п. Дивитись у збільшеному масштабі

2. Розташування підшибників консольно-фрезерного верстата 6А12п. Дивитись у збільшеному масштабі




Конструкція окремих вузлів консольно-фрезерного верстата 6А12п

Станина і коробка швидкостей

Коробка швидкостей консольно-фрезерного верстата 6А12п

Коробка швидкостей консольно-фрезерного верстата 6а12п

Коробка швидкостей консольно-фрезерного верстата 6А12п. Дивитись у збільшеному масштабі



Станина - ето пустотелая отливка трапецоидального сечения з большим числом ребер і взаимно перпендикулярных стенок, что придает ей жесткость.

В боковых нишах станины, закрываемых дверками, размещены две панелі електроустаткування. Для предупреждения попадания на електроаппаратуру масла і грязи дверки з внутренней стороны имеют уплотнение.

Коробка швидкостей смонтирована в расточках станины (в її верхней частини). Она имеет 18 ступеней чисел оборотів. Нужное число оборотів устанавливается переключением трех блоков шестерен.

Вал електродвигуна через упругую муфту связан з валом 1 (рис. 10) коробки швидкостей. От нее через коническую шестерню з круговым зубом рух передається на фрезерную головку, установленную на валу V.

При сборке передньої опори вала V і затяжке підшибників осевой люфт вала не должен превышать 0,03—0,06 мм. Регулювання производится за счет подшлифовки колец, находящихся между підшипниками. Зацепление конических колес регулируется тремя гвинтами в стакане передньої опори.

Торможение шпинделя осуществляется електромагнитной муфтой в течение 2—4 сек.( Торможение шпинделя в станке 6А12Р електродинамическое.)




Механізм переключения швидкостей

Механізм переключения швидкостей консольно-фрезерного верстата 6А12п

Механізм переключения швидкостей консольно-фрезерного верстата 6а12п

Механізм переключения швидкостей консольно-фрезерного верстата 6А12п. Дивитись у збільшеному масштабі



Механізм переключения швидкостей (рис. 11) — кулисный з одной рукояткой. Перемещение кулис осуществляется зубчатым секторным механізмом. Заданные переміщення от кулис передаются вилкам, переключающим блоки шестерен коробки швидкостей.

Нужное число оборотів шпинделя устанавливается вращением рукоятки в любую сторону з отсчетом по лимбу. Во избежание самопроизвольного увімкнення механізм имеет фиксатор. Кроме того, от нефиксированного положения рукоятки предусмотрена електрична блокировка микровыключателем.

Фрезерная головка

Фрезерная головка консольно-фрезерного верстата 6А12п

Фрезерная головка консольно-фрезерного верстата 6а12п

Фрезерная головка консольно-фрезерного верстата 6А12п. Дивитись у збільшеному масштабі



Поворотная фрезерна головка (рис. 12) представляет собой фасонную чугунную отливку, в расточках которой смонтированы подвижная пиноль 15, шпиндель 13 і промежуточный вал 2 з зубчатой передачей. Передней опорой шпинделя служит двухрядный радиальный роликоподшипник № А3182118 з короткими цилиндрическими роликами. Задней опорой є два радиально-упорных підшипника № А36214. Натяг підшибників задньої опори шпинделя осуществляется подшлифовкой колец 9, а підшипника № А3182118 -полуколец 12.

Шпиндель — разгруженный. Осевые і радиальные нагрузки, возникающие на шестерне 6, воспринимаются непосредственно корпусом через підшипники. Для регулировки зацепления конических шестерен предусмотрены три гвинта 1.

Механізм переміщення пиноли состоит из кронштейна з гайкой 8, жестко закрепленных на пиноли, і гвинта 7, получающего вращение от двух конических шестерен 10. Одна из шестерен сидит на валике вместе з маховиком 11. При перемещении пиноли необходимо отпустить рукоятку, расположенную з левой стороны фрезерной головки.

Поворот фрезерной головки осуществляется вручную при помощи валика з шестерней, вмонтированных во фланцевую часть станины.

Консоль

Консоль фрезерного верстата 6А12п

Консоль фрезерного верстата 6а12п. (Вертикальный разрез)

Консоль фрезерного верстата 6А12п. Дивитись у збільшеному масштабі



Консоль фрезерного верстата 6А12п

Консоль фрезерного верстата 6а12п. (Горизонтальный разрез)

Консоль фрезерного верстата 6А12п. Дивитись у збільшеному масштабі



Консоль - ето чугунный корпус з прямоугольными направляющими под станину і перпендикулярными к ним направляющими под салазки. Будучи несущим кронштейном стола і салазок, консоль одновременно служит для розміщення механізмов, передающих рух на продольную, поперечную і вертикальную подачі, електродвигателей, коробки подач, механізма опускания і подъема консоли, електромагнітних муфт і др. На консоли монтируется также пульт керування верстатом.

По бокам і сверху консоли имеются три окна (рис. 13), через которые осуществляется регулировка електромагнітних муфт. С правой стороны консоли расположено окно з крышкой 8 для монтажа механізма опускания і подъема консоли. Крышкой 7 закрывается ниша, в которой находятся клеммные наборы 6 з електропроводкой, идущей к електромуфтам і електродвигунам. Передня плоскость консоли закрывается крышкой 1, которая служит дополнительной опорой для валов подач. На крышке монтируются три лимба подач: поздовжньої, поперечної і вертикальной (цена деления лимба 0,05 мм, один оборот лимбов поздовжньої і поперечної подач соответствует перемещению стола на 5 мм, лимба вертикальной подачі — на 2 мм).

Для роботи на станке вручную необходимо: оттянуть лимб, совместить его нулевую риску з риской на конической втулке і затем, вращая рукоятку, подавать на необходимый размер фрезерування.

Внутри консоли расположены три горизонтальных вала: продольного ходу стола 11, вертикального ходу консоли 10 і поперечного ходу салазок 9. На концах валов имеются три кулачка для передачи обертання от рукояток ручного керування, имеющих блокировку механической подачі.

На каждом валу расположено по две електромагнітних муфты 2, посредством которых осуществляется рух консоли, стола і салазок в продольном, поперечном і вертикальном направлениях. Реверсирование движений происходит з помощью електромагнітних муфт. От среднего вала через коническую шестерню рух передається на вертикальний винт 3.

Ходовой винт вертикальной подачі посредством гайки 4 опирается на стойку 5, которая крепится жестко в основании верстата.

В вертикальной стенке консоли крепится шариковая предохранительная муфта, входящая в зацепление з VI валом коробки подач. Для регулировки муфты необходимо снять крышку 12 з левой стороны консоли і через окно з помощью гаек отрегулировать нормальную работу муфты. Регулювання будет правильной, если при фрезеровании чугуна (HB = 160..180) торцевой фрезой Ø 110мм, з числом зубьев 12, при ширине фрезерування 80 мм, глубине 6 мм, подаче 500 мм/мин, і скорости обертання шпинделя 1000 об/мин, муфта периодически прощелкивает.




Коробка подач

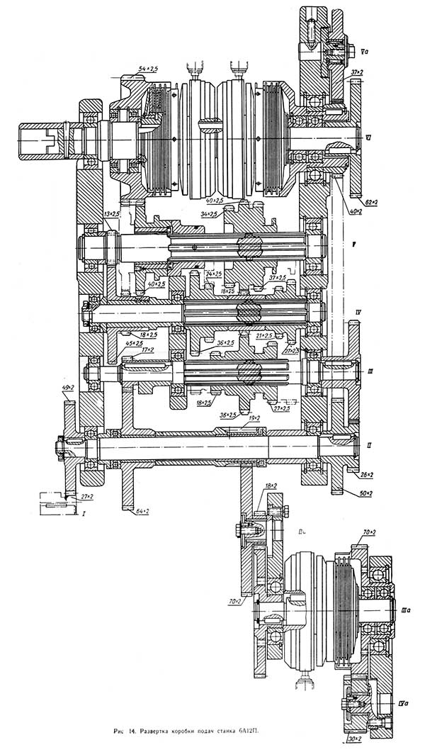
Коробка подач фрезерного верстата 6А12п

Коробка подач фрезерного верстата 6а12п

Коробка подач фрезерного верстата 6А12п. Дивитись у збільшеному масштабі



Коробка подач верстата 6А12П (рис. 14) обеспечивает 18 рабочих, ускоренную і замедленную подачі.

В коробке подач верстата 6А12Р (рис. 15) отсутствует узел замедления подач. К корпусу коробки подач прифланцован механізм переключения подач.

Переключення подач осуществляется тройными блоками на III і V валах і переборной шестерней (z=40) на V валу, Для переключения подачі рукоятку лимба следует повернуть на один оборот.

Ускоренная подача происходит при включении електромагнитной муфты на VI валу колобки подач.

При снятии коробки подач следует особое внимание обратить на післядовательность разборки. Необходимо снять крышку 12 з левой стороны консоли (рис. 13), отвернуть три гвинта в корпусе предохранительной муфты, повернуть шестерню 13 выборкой к муфте так, чтобы можно было вынуть муфту через окно. После етого можно приступить к снятию коробки подач. Для облегчения її монтажа рекомендуется снять фильтр 4 (рис. 24), вывернуть пробку 5 і снять плунжер насоса 3, который мешает установці коробки подач в консоль.

Механізм опускания і подъема консоли

Гідравлический механізм опускания і подъема консоли (рис. 16) состоит из корпуса, в котором находятся поршень-рейка 2, фиксаторы 3 і 4. плавающий распределитель 5 і маслонасос 1, приводимый во вращение електродвигуном.

Опускание консоли при включении механізма происходит автоматически при ускоренном ходе. При включении же ускоренного ходу от кнопки или кулачка (робота по программе) включается двигатель маслонасоса. Масло из полости 4 нагнетается в полость Б, предварительно утопив фиксатор 4, з которым жестко связан стержень 6. Этот стержень воздействует на блок-контакт БК1, разрывая ланцюг живлення муфты «Подача» і подготавливая ланцюг живлення пускателя опускания консоли (рис.17). Поршень-рейка 3 перемещается влево до тех пор, пока фиксатор 4 под воздействием пружины не зайдет в гнездо. При етом фиксатор воздействует на блок-контакт БК2, прекращается питание пускателя механізма опускания консоли, і двигатель маслонасоса 1 отключается.

При переключении з ускоренного ходу на подачу или при нажатии на кнопку «Стоп» происходит обратная робота насоса: масло нагнетается в полость А, перемещая поршень 3 вправо; фиксатор 4 нажимает на блок-контакт БК-2, подготавливая ланцюг живлення пускатели опускания консоли.

Перемещаясь вправо, поршень-рейка открывает канал 2, через который масло попадает под фиксатор 5 і перемещает его вверх до фиксированного положения. Ланцюг живлення пускателя подъема консоли разрывается і создается ланцюг живлення муфты «Подача».

Поршень-рейка 3 вращает зубчатый сектор, представляющий собой винт-втулку. Витки наружной різьби гвинта є опорой для гайки-втулки, жестко закрепленной в расточке корпуса консоли. Сектор сидит на упорном шарикоподшипнике, который опирается на бурт ходового гвинта консоли. Вращаясь, он заставляет опускаться или подниматься на 1 мм гайку і вместе з ней консоль, в то время как ходовой винт консоли остается неподвижным.

Стол і салазки

Стол является післядним елементом в ланцюги продольных подач. За счет салазок і консоли стол получает возможность поперечных і вертикальних перемещений.

На салазках (рис. 18) расположена рукоятка увімкнення подачі 7. Если ета рукоятка установлена в положение «Подача круговая», то продольных перемещений стола не будет, вращается шлицевый вал 32 з приводной шестерней гітари 9, з которой снимается рух при установці круглого стола или делительной головки з единичным і автоматическим непрерывным делением.

При тяжелом силовом режиме на поздовжньої подаче жесткость салазок може быть увеличена за счет рукояток 12 зажиму салазок на консоли 10, которые через ексцентриковый вал 14 поджимают клинья 13. Однако пользоваться рукоятками приходится редко, т. к. при обычных условиях роботи достаточна жесткость салазок без зажима. Включать поперечний ход при зажатых рукоятках зажиму салазок нельзя, потому что механізм подачі будет работать з большой перегрузкой.

Ограничительные кулачки продольного ходу 3 і 8 предназначены для автоматичного виключення поздовжньої подачі или продольного швидкого ходу, а ограничительные кулачки 11 - для виключення поперечного ходу. Перемещение конечных кулачков ограничивается гвинтами 2. Работать на станке без ограничительных кулачков воспрещается.

Для налаштування верстата 6А12П по программе используются кулачки 5, которые крепятся в пазах стола, консоли і станины.

Винты 6 предназначены для выбора люфта в скосах стола при тяжелом фрезеровании, если оно ведется кратковременно по длине.

Механізм выбора люфта в паре винт-гайка продольного ходу

Механізм выбора люфта состоит из корпуса 20 (рис. 18, К - К), к торцу которого крепится шестеренчатый маслонасос 27.

В цилиндре корпуса механізма ходит поршень двустороннего дії. Давление в обеих полостях цилиндра регулируется клапанами.

Шестеренчатым насосом масло нагнетается в одну из полостей цилиндра, заставляя перемещаться поршень 26 со штоком 25. Шток поршня шарнирно соединен з удлиненным рычагом 21, который вращает ось 19. На оси сидит укороченный рычаг 18, соединенный через тягу 1 з вилкой 2 (рис. 19). Вилка непосредственно воздействует на обе полугайки, з помощью которых выбирается люфт в винтовой паре.

Механізм выбора люфта включается автоматически при работе верстата в условиях попутного фрезерування (тумблер необходимо поставить в положение «Попутное фрезерование»). При движении стола вправо ротор електродвигуна механізма должен вращаться по часовий стрелке (если смотреть на двигатель со стороны крыльчатки). На станке 6А12Р люфт в паре винт—гайка по мере их износа устраняется подтягиванием полугайки.

Электромагнитная муфта

Многодискова електромагнитная муфта предназначена для передачи крутящего момента величиной 5—7,5 кг. м. Обмотка електромагнита рассчитана на напряжение 24 в і мощность 13,7 Вт; провод обмотки ПЭВ-1 имеет диаметр 0,44 мм і число витков 1360. Муфта (рис. 20) состоит из електромагнита 1, якоря 3> дисков, регулировочной гайки 4, нажимной тарельчатой пружины 7 і пружин, разжимающих диски після того, как муфта обесточена.

Якорь і ярмо електромагнита выполнены из железа Армко. Внутренние фрикционные диски 6 — стальные, наружные 5 - из стали з металлокерамической обкладкой.

Питание к електромагниту муфты подводится через щеткодержатель. Магнитный поток, создаваемый находящейся на ярме катушкой, замыкаясь через якорь, притягивает его к електромагниту. Якорь через три гвинта связан з крестовиной, которая посредством тарельчатой пружины сжимает наружные і внутренние фрикционные диски, передающие крутящий момент.

По мере износа металлокерамической обкладки необходимо производить регулировку муфты при її обесточенном состоянии. Для етого нужно отжать планку 8 з фиксатором 9 к якорю і повернуть її на 30—45° влево или вправо от радиального положения. Затем повернуть регулировочную гайку против часовий стрелки (если смотреть на нее со стороны дисков) на 3—4 шага соответственно отверстиям захода фиксатора 9 і диска 10, поставить планку 8 в радиальное положение і незначительным вращением гайки 4 влево і вправо застопорить її фиксатором 9. Включить муфту і посмотреть, прилегает ли якорь 3 к ярму по всей окружности; если нет, то следует отпустить гайку на 1—2 шага фиксатора.

Электромагнитная муфта може работать как в масляной среде, так і в воздушной.

Блок електроупоров

Блок електроупоров верстата 6А12П (рис. 21) состоит из корпуса 2, внутри которого вмонтированы десять микровыключателей 1 (восемь из них предназначены для роботи по программе). Два микровыключателя є конечными: один «Стоп» - для руху стола, например, влево - обозначается значком 0 — , другой «Стоп» — для руху стола вправо — обозначается — 0. Обозначения всех микровыключателей нанесены на съемную крышку 8.

Блок електроупоров работает следующим образом: при нажатии кулачка на подвижный упор 3 рух передається через регулировочный винт 4 на пружинный рычаг 5, который непосредственно воздействует на микровыключатель. Время срабатывания микровыключателя при перемещении подвижного упора 3 зависит от налаштування регулировочного гвинта 4. В случае большого ходу упора рычагом 5, создается пережим в блоке. Все десять пружинных рычагов свободно сидят на оси 6. Блок електроупоров герметически закрыт, на каждом упоре имеется защитный резиновый колпачок 7.





Система охлаждения

Охлаждение рекомендуется применять при работе быстрорежущими фрезами по стали. Оно не только уменьшает нагрев режущих лезвий инструмента, но і улучшает условия різання металла.

Количество подаваемой емульсии регулируется краном, которым можно пользоваться і как краном-выключателем емульсии. В качестве охлаждающей жидкости применяются также емульсии.

По боковой канавке стола (рис. 18, В - В) емульсия стекает под уклон через фильтр 28, проходит сетки 29 і 30 і через трубку 31 поступает в канавку салазок, выполненную з уклоном. Далее через ниппель і шланг жидкость поступает, в консоль. По мере накопления стружки в фильтре 28 его следует очищать.


Система змазки

Своевременная смазка предохраняет верстат от износа і сохраняет на более длительный период его первоначальную точность.

Для змазки верстата применяется масло индустриальное «20» (веретенное «3»), ГОСТ 1707-51.

Перед пуском верстата резервуары з пробками 2, 9, 10 і 12 (рис. 22) заполняются маслом до уровня, определяемого верхними отверстиями соответствующих маслоуказателей 3, 4 і 11. Не допускается падение уровня масла ниже нижних отверстий маслоуказателей.

Смазка головного привода

Смазка шестерен і підшибників производится плунжерным маслонасосом, привід которого осуществляется от торцового кулачка 2 (рис. 23). Насос расположен в расточке станины і крепится четырьмя гвинтами. При монтаже насоса необходимо следить за герметичностью присоединения трубопровода к маслонасосу, чтобы не было подсасывания воздуха через зазоры в систему маслопровода.

Плунжером насоса масло нагнетается в маслораспределитель 1 і по трубкам подходит к местам змазки. Маслораспределитель имеет регулировочные винты, з помощью которых регулируется подача масла в ту или иную точку змазки верстата.

К фрезерной головке смазка подается хлорвиниловым шлангом 4 (рис. 12), который соединен со штуцером 3 на верхнем фланце корпуса фрезерной головки. В результате регулировки винтом 5 достигается капельная подача масла к підшипникам передньої і задньої опор шпинделя. Регулювання считается правильной, если за 40..60 сек. подается одна капля.

При продолжительной работе верстата масло собирается во фланце 14. Для удаления излишков масла фланец имеет сливное отверстие. О работе маслонасоса можно судить по маслоуказателю на фрезерной головке.

Смазка консоли і коробки подач

Смазка консоли (рис. 24) осуществляется принудительно от плунжерного насоса 1, прифланцованного к днищу консоли. Насос засасывает масло через сетку фильтра 4 і подает его в маслораспределитель 2, находящийся на правой стороне консоли. О работе маслонасоса можно судить по пульсации масла в маслораспределителе.

Количество подаваемого масла в трубку регулируется при помощи винтов маслораспределителя.

Регулювання давления масла в системе змазки производится регулировочным клапаном.

Смазка вертикального гвинта консоли

В нижней частини станины имеется масляная ванна, предназначенная для змазки гвинта вертикального ходу консоли. Уровень масла при заливке определяется по маслозаливочному отверстию 10 (рис. 22). Заливка производится до тех пор, пока масло не начинает выливаться из етого отверстия. Консоль при заливке масла должна быть опущена.

Смазка салазок

Смазка салазок осуществляется от шестеренчатого насоса 27 механізма выбора люфта (рис. 18).

При нажатии на кнопку 4 начинает работать насос, подающий масло в распределитель, из которого оно поступает к точкам змазки.

Указателем начала подачі масла служит струйный маслораспределитель 1. Через 4..5 сек. після появления масла в маслоуказателе кнопку 4 следует отпустить. Смазку салазок нужно производить два раза в смену.




Консольно-фрезерный верстат 6А12п. Відеоролик.



Технічні характеристики консольного фрезерного верстата 6А12п

Наименование параметра 6А12п 6Н12 6М12 6Р12 6Т12
Основні параметри верстата
Класс точності по ГОСТ 8-71 і ГОСТ 8-82 Н Н Н Н
Розміри поверхности стола, мм 1250 х 320 1250 х 320 1250 х 320 1250 х 320 1250 х 320
Наибольшая масса обрабатываемой детали, кг 250 250 400
Расстояние от торца шпинделя до стола, мм 435 30..400 30..400 30..450 30..450
Расстояние от оси шпинделя до вертикальних направляючих станины (вылет), мм 320 350 350 350 380
Рабочий стол
Наибольший продольный ход стола от руки (по оси X), мм 760 700 700 800 800
Наибольший поперечний ход стола от руки (по оси Y), мм 260 240/ 260 240/ 260 250 320
Наибольший вертикальний ход стола от руки (по оси Z), мм 400 370 370 420 420
Перемещение стола на одно деление лимба в продольном і поперечном направлении, мм 0,05
Перемещение стола на одно деление лимба в вертикальном направлении, мм 0,02
Перемещение стола на один оборот лимба в продольном і поперечном направлении, мм 5
Перемещение стола на один оборот лимба в вертикальном направлении, мм 2
Пределы продольных подач стола (X), мм/мин 20..1000 40..2000 12..1250 12,5..1600 12,5..1600
Пределы поперечных подач стола (Y), мм/мин 20..1000 27..1330 12..1250 12,5..1600 12,5..1600
Пределы вертикальних подач стола (Z), мм/мин 8..400 13..665 8,3..416,6 4,1..530 4,1..530
Количество подач продольных/ поперечных/ вертикальних 18 18 18 22 22
Скорость быстрых продольных перемещений стола (по оси X), м/мин 2,5 4 3 4 4
Скорость быстрых поперечных перемещений стола (по оси Y), м/мин 2,5 4 3 4 4
Скорость быстрых вертикальних перемещений стола (по оси Z), м/мин 1 1 1 1,330 1,330
Замедленная подача, мм/мин 20/20/8 - - - -
Шпиндель
Частота обертання шпинделя, об/мин 40..2000 63..3150 31,5..1600 40..2000 31,5..1600
Количество швидкостей шпинделя 18 18 18 18
Перемещение пиноли шпинделя, мм 50 70 70 70 70
Конус фрезерного шпинделя №3 №3 №3 №3 №3
Кінець шпинделя ГОСТ 24644-81, ряд 4, виконання 6 ГОСТ 836-62 50
Отверстие фрезерного шпинделя, мм 27 29 29 29
Поворот шпиндельной головки вправо і влево, град ±45° ±45° ±45° ±45° ±45°
Механіка верстата
Выключающие упоры подачі (поздовжньої, поперечної, вертикальной) Есть Есть Есть Есть Есть
Блокировка ручной і механической подач (поздовжньої, поперечної, вертикальной) Есть Есть Есть Есть Есть
Блокировка раздельного увімкнення подач Есть Есть Есть Есть Есть
Торможение шпинделя Есть Есть Есть Есть Есть
Предохранительная муфта от перегрузок Есть Есть Есть Есть
Автоматическая прерывистая подача Есть Есть Есть Есть
Електроустаткування, привод
Количество електродвигателей на станке 3 3 3 4
Електродвигун приводу головного руху, кВт (об/мин) 5,5 (1400) 7 7,5 7,5 7,5
Електродвигун приводу подач, кВт (об/мин) 1,1 (1400) 1,7 2,2 2,2 3,0
Електродвигун зажиму инструмента, кВт (об/мин) - - - - 0,25
Електродвигун насоса механізма опускания і подъема консоли, кВт (об/мин) 0,12 (1400) - - - -
Електродвигун насоса механізма выбора люфта, кВт (об/мин) 0,12 (1400) - - - -
Електродвигун насоса охлаждающей жидкости, кВт (об/мин) 0,12 0,12 0,12 0,12 0,12
Суммарная мощность всех електродвигателей, кВт 9,825 9,825 1,87
Габарит і масса верстата
Габарити верстата (длина ширина высота), мм 1765 х 2375 х 1950 1745 х 2260 х 2000 2395 х 1745 х 2000 2305 х 1950 х 2020 2280 х 1965 х 2265
Масса верстата, кг 2500 3000 3000 3120 3250

    Список литературы:

  1. Верстат настільний фрезерный з ручным керуванням моделі МС-51. Руководство по експлуатации. Луганский станкостроительный завод им. Ленина, 1992

  2. Аврутин С.В. Основы фрезерного дела, 1962
  3. Аврутин С.В. Фрезерне дело, 1963
  4. Ачеркан Н.С. Металлорежущие верстати, Том 1, 1965
  5. Барбашов Ф.А. Фрезерне дело 1973, с.141
  6. Барбашов Ф.А. Фрезерные роботи (Профтехобразование), 1986
  7. Блюмберг В.А. Справочник фрезеровщика, 1984
  8. Григорьев С.П. Практика координатно-расточных і фрезерных работ, 1980
  9. Копылов Р.Б. Работа на фрезерных верстатах,1971
  10. Косовский В.Л. Справочник молодого фрезеровщика, 1992, с.180
  11. Кувшинский В.В. Фрезерование,1977
  12. Ничков А.Г. Фрезерные верстати (Библиотека станочника), 1977
  13. Пикус М.Ю. Справочник слесаря по ремонту металлорежущих верстатів, 1987
  14. Плотицын В.Г. Расчёты настроек і наладок фрезерных верстатів, 1969
  15. Плотицын В.Г. Наладка фрезерных верстатів,1975
  16. Рябов С.А. Современные фрезерные верстати і их оснастка, 2006
  17. Схиртладзе А.Г., Новиков В.Ю. Технологическое обладнання машиностроительных производств, 1980
  18. Тепинкичиев В.К. Металлорежущие верстати, 1973
  19. Чернов Н.Н. Металлорежущие верстати, 1988
  20. Френкель С.Ш. Справочник молодого фрезеровщика (3-е изд.) (Профтехобразование), 1978









Заказать

Кто владеет информацией - тот владеет миром.

Натан Ротшильд