Виробник плоскошліфувального верстата 3Л741ВФ10 - Липецький верстатобудівний завод, ЛСЗ , заснований у 1929 році.
В 1956 ремонтно-тракторний завод був переорієнтований на випуск верстатів і перейменований на Липецький верстатобудівний завод.
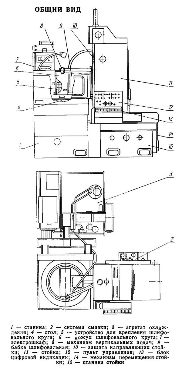
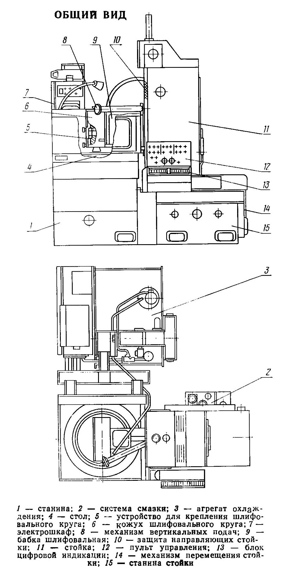
Плоскошліфувальний верстат із круглим магнітним столом 3Л741ВФ10 призначений для шліфування периферією кола плоских та конусних (опуклих та увігнутих) поверхонь виробів із феромагнітних матеріалів.
Верстат 3Л741ВФ10 може використовуватися в умовах одиничного і дрібносерійного виробництва.
Прийнята у верстаті 3Л741ВФ10 компонування передбачає модульний принцип побудови гами верстатів із прямокутними та круглими столами, використання груп та вузлів при створенні агрегатних та спеціальних верстатів. Шліфувальна бабка верстата зі шпинделем на опорах кочення переміщається вертикально по направляючих стійки. Стійка переміщається в поперечному напрямку разом із санками, що мають розвинені напрямні по довжині, по направляючих станини стійки.
Дистанційне керування швидкістю столу та стійки, використання для вертикального та поперечного переміщень гвинтових пар кочення, централізованої замкнутої системи змащення покращує умови експлуатації верстата.
Застосування в верстаті 3Л741ВФ10 направляючих з фторопластової стрічки з низьким коефіцієнтом тертя дозволяє виключити зазори в системі СНІД, підвищити здатності конструкції верстата, що демпфують, і досягти отримання малих швидкостей робочих органів. У верстаті застосовані кроковий електродвигун у ланцюзі вертикальних подач, винесений комплектний гідропривід із насосами об'ємного регулювання та система стабілізації температури олії.
Ця конструкція забезпечує високу точність та надійність верстата в процесі експлуатації.
У верстаті є пристрій цифрової індикації, що дозволяє контролювати величини вертикального переміщення шліфувальної бабки в процесі обробки.
Верстат не може вбудовуватися в автоматичну лінію.
Деталі встановлюються вручну на електромагнітному столі.
Шлам зі столу видаляється разом із СОЖ за допомогою лотка коробчастої форми. СОЖ очищається від шламу магнітним сепаратором. СОЖ подається до зони шліфування насосом П-90.
Розробник - Липецький верстатобудівний завод.
Клас точності верстата - по ГОСТ 8-82 Е.
Шорсткість обробленої поверхні зразка Ra = 0,63 мкм.
Верстату 3Л741ВФ10 присвоєно найвищу категорію якості.
У механізмі вертикального переміщення шліфувальної бабки є самогальмуюча черв'ячна передача, що запобігає мимовільному опусканню шліфувальної бабки.
Шліфувальна бабка та стійка верстата мають блокування, що забезпечують відключення їхнього переміщення при досягненні ними крайніх положень.
У верстаті є блокування, що унеможливлює включення робочих органів верстата без включення електромагнітної плити.
Шліфувальне коло надійно закріплено на планшайбі відповідно до вимог ГОСТ 2270-78.
У верстаті є блокування, що забезпечують відскок обертового шліфувального круга від виробу при столі, що обертається, у разі втрати живлення електромагнітною плитою або при втраті живлення електродвигуна шліфувального круга.
Механізм переміщення стійки з шліфувальною бабкою має блокування, що виключає можливість включення ручного та механізованого переміщення одночасно.
Рукоятка та інші органи керування верстата забезпечені надійними фіксаторами, які не допускають мимовільних переміщень органів керування.
На дверцятах електрошафи, на захисній пластині клемного введення, на кришці сельсина положення бабки встановлено знак (напруги за ГОСТ 12.4.026-76).
Електричні випробування та вимірювання повинні відповідати вимогам ГОСТ 12.3.009-80.
Для замикання дверцят шафи з електрообладнанням застосований запор, що закривається за допомогою спеціального ключа, що виймається.
На панелі керування верстата встановлено кнопку «Стоп» (аварійна) червоного кольору з грибоподібним штовхачем збільшеного розміру.
При натисканні на кнопку "Стоп" вимкнення електромагнітної плити не відбувається.
Прискорене вертикальне переміщення вниз шліфувальної бабки неможливе при колі і столі, що обертаються.
Електродвигун прискорених переміщень стійки та електродвигун переміщення стійки в режимі редагування мають блокування, що виключає їх одночасне включення.
Верстат має пристрій місцевого освітлення зони обробки прибудованого типу, що відповідає вимогам ГОСТ 22758-77.
У пристрої передбачена можливість зручної, надійної установки та фіксації світильника у потрібних положеннях.
Влаштування місцевого освітлення має індивідуальний вимикач, розташований у зручному місці.
Шліфувальне коло забезпечене захисним кожухом.
Кріплення захисного кожуха надійно утримує його на місці у разі розриву кола.
На захисному кожусі шліфувального кола є стрілка, що вказує напрямок обертання шпинделя.
На вимогу замовника у разі роботи верстата без застосування СОЖ конструкція кожуха шліфувального кола передбачає можливість підключення до нього пилевідсмоктувального пристрою.
У верстаті є блокування, що не допускає переміщення обертового кола вниз і обертання столу до підведення живлення до електромагнітної плити, що вказується світловою сигналізацією.
Встановлений в електрошафі вступний вимикач має два певні фіксовані стани контактів - включений і відключений. Нижній фіксований стан «відключено» гарантує від'єднання всіх дротів, приєднаних до джерела живлення, за винятком заземлюючого.

Габарит робочого простору плоскошліфувального верстата 3Л741ВФ10

Ескіз кінця шпинделя плоскошліфувального верстата 3Л741ВФ10
Ескіз кінця шпинделя плоскошліфувального верстата 3Л741ВФ10. Дивитись у збільшеному масштабі

Фото плоскошліфувального верстата 3Л741ВФ10

Фото плоскошліфувального верстата 3Л741ВФ10

Фото плоскошліфувального верстата 3Л741ВФ10

Загальний вигляд плоскошліфувального верстата 3Л741ВФ10
Загальний вигляд плоскошліфувального верстата 3Л741ВФ10. Дивитись у збільшеному масштабі

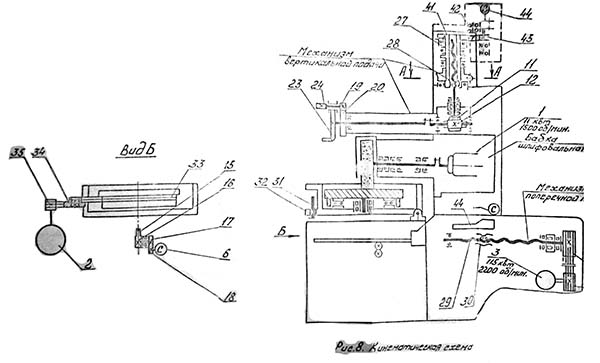
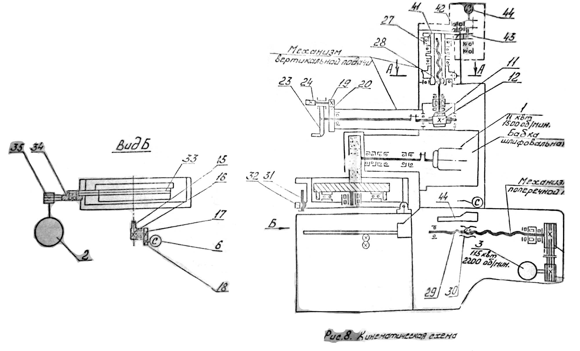
Кінематична схема плоскошліфувального верстата 3Л741ВФ10
Кінематична схема плоскошліфувального верстата 3Л741ВФ10. Дивитись у збільшеному масштабі

Настановне креслення плоскошліфувального верстата 3Л741ВФ10
Настановне креслення плоскошліфувального верстата 3Л741ВФ10. Дивитись у збільшеному масштабі
| Найменування параметру | 3L741VF10 | 3E756 | 3E756L |
|---|---|---|---|
| Основні параметри | |||
| Клас точності згідно з ГОСТ 8-82 | У | П | П |
| Найбільші розміри виробів, що обробляються (діаметр х висота), мм | 630 x 350 | 800 x 480 | 1000 x 480 |
| Найменші розміри оброблюваної заготовки круглого перерізу, (діаметр х висота), мм | 50 х 40 | 40 х 5 | 40 х 5 |
| Необроблюваний внутрішній діаметр заготовки найбільшого діаметра, мм | (100)+0,8 | (100)+0,8 | |
| Найбільша відстань від основи верстата до робочої поверхні столу, мм | 1060 | 1060 | |
| Площина оброблених поверхонь, мкм | 9 | 14 | |
| Паралельність верхньої обробленої поверхні основи, мкм | 9 | 14 | |
| Шорсткість обробленої поверхні, Ra, мкм | 0,63 | 1 | 1 |
| Найбільша маса виробів, що обробляються, кг | 300 | 400 | 400 |
| Робочий стіл верстата | |||
| Діаметр магнітного столу, мм | 630 | 800 | 1000 |
| Діаметр електромагнітного столу, мм | 110 | 110 | |
| Частота обертання столу (6 ступенів), об/хв | 5...30 | 5...30 | |
| Поздовжнє переміщення столу, мм | - | 520 | 555 |
| Швидкість поздовжнього руху столу, м/хв. | - | 3,2 | 3,2 |
| Потужність електромагнітної плити, Вт | 590 | 814 | |
| Шліфувальна бабка | |||
| Найбільші розміри шліфувального кола згідно з ГОСТ 2424-83, мм | 450х80х203 | 500х100х400 | 500х100х400 |
| Число оборотів шліфувального кола за хвилину | 1460 | 985 | 985 |
| Кінець шпинделя шліфувальної бабки за ГОСТ 2323-76 (найбільший діаметр), мм | 80 | 100 | 100 |
| Найбільше вертикальне переміщення шліфувальної бабки, мм | 350 | 510 | 510 |
| Ціна поділу лімба вертикального переміщення шліфувальної бабки, мм | 0,005 | 0,005 | |
| Вертикальне переміщення шліфувальної бабки на один оберт лімба, мм | 0,25 | 0,25 | |
| Вертикальні подачі шліфувальної бабки, мм/хв. | 0,002..0,1 | 0,05..3,0 | 0,05..3,0 |
| Швидкість прискореного вертикального переміщення, м/хв | 0,2 | 0,26 | 0,26 |
| Швидкість уповільненого підведення шліфувальної бабки, мм/хв. | 12..16 | 12..16 | |
| Поперечне переміщення стійки, мм | 430 | - | - |
| Привід та електроустаткування верстата | |||
| Рід струму мережі живлення | 50Гц, 380 В | 50Гц, 380 В | 50Гц, 380 В |
| Кількість електродвигунів на верстаті | 9 | 7 | 7 |
| Тип UCI | F5290 | - | - |
| Електродвигун шпинделя шліфувальної бабки, кВт | 11 | 37/55 | 37/55 |
| Електродвигун приводу обертання столу, кВт | 2,2 | 2,2 | |
| Електродвигун приводу подач, кВт | 1,3 | 1,3 | |
| Електродвигун насоса системи змащення, кВт | 0,09 | 0,09 | |
| Електродвигун насоса системи охолодження, кВт | 0,6 | 0,6 | |
| Електродвигун магнітного сепаратора, кВт | 0,12 | 0,12 | |
| Загальна встановлена потужність усіх електродвигунів, кВт | 16,22 | 42,81/ 60,81 | 42,81/ 60,81 |
| Габарити та маса верстата | |||
| Розміри машини, мм | 2860 х 1630 х 2660 | 4425 х 2525 х 3405 | 4425 х 2525 х 3405 |
| Маса верстата, кг | 5800 | 9000 | 6200 |