Виробник плоскошліфувального верстата 3Д722 - Липецький верстатобудівний завод , заснований у 1929 році.
В 1956 ремонтно-тракторний завод був переорієнтований на випуск верстатів і перейменований на Липецький верстатобудівний завод.
Верстат плоскошліфувальний 3Д722 замінив у виробництві застарілу модель 3Б722 та був замінений на більш досконалу модель 3Л722 .
Плоскошліфувальний верстат моделі 3Д722 - верстат загального призначення з прямокутним столом та горизонтальним шпинделем, призначений для шліфування площин різних деталей периферією кола як в індивідуальному, так і у великосерійному виробництві. Станина має поздовжні напрямні, якими зворотно поступально рухається робочий стіл. По вертикальним напрямним стійки переміщається шліфувальна бабка зі шліфувальним кругом.
Деталі, що шліфуються, залежно від матеріалу, форми і розмірів можуть закріплюватися на електромагнітній плиті або безпосередньо на робочій поверхні столу.
Шліфувальне коло кріпиться на кінці шпинделя шліфувальної бабки. Оброблювану деталь встановлюють на столі верстата. У процесі роботи стіл отримує прямолінійний зворотно-поступальний рух, а шліфувальний круг - обертальний. Якщо ширина оброблюваної деталі більша за ширину кола, то шліфувальній бабці повідомляється періодична поперечна подача після кожного одинарного або подвійного ходу столу. Шпиндельній бабці з колом повідомляється вертикальна подача для зняття необхідного припуску.
Конструктивна особливість верстата 3Д722 - поперечна подача шліфувального круга забезпечується переміщенням стійки зі шліфувальною бабкою горизонтальними напрямними станини стоїки. Шліфувальна бабка переміщається лише у вертикальному напрямку та має постійний виліт щодо стійки.
Застосування в верстаті гвинтових пар кочення, системи цифрової індикації вертикальних переміщень шліфувальної бабки, високоточних підшипників у шпиндельному вузлі та ряду інших конструктивних рішень дозволило підвищити точність, довговічність і продуктивність верстата в порівнянні з аналогічними верстатами, що випускаються серійно.
У верстаті для зниження теплових деформацій застосовано об'ємно-дросельне регулювання швидкості столу, гідроагрегат оснащений системою стабілізації температури, збільшено ємність гідробака та бака охолодження.
З метою підвищення точності та чистоти обробки збільшено жорсткість основних вузлів верстата: станини, колонки, каретки, шліфувальної бабки, столу. Підвищення довговічності та збереження точності в конструкції забезпечується: застосуванням у шпиндельній бабці гідродинамічних підшипників, а в ланцюгу вертикальної подачі шліфувальної бабки – пари гвинт – гайка кочення; термообробкою направляючих колони, станини та каретки; централізованим мастилом направляючих бабки - каретки широкою стрічкою для захисту направляючих станини та штоків циліндра столу.
Передбачені в конструкції верстата включення та керування поперечною подачею, візуальний контроль, демагнітизація електромагнітної плити та наявність підвісного пульта забезпечують зручність обслуговування верстата, а можливість приєднання пиловловлювача покращує санітарно-гігієнічні умови роботи.
Верстат 3Д722 забезпечує вертикальну подачу шліфувального кола за одинарний або подвійний реверс шліфувальної бабки, що розширює технологічні можливості верстата; конструкція базових деталей забезпечує технологічність механічної обробки.
Тверда конструкція станини гарантує високоточне шліфування.
Конструкція складальних одиниць верстата, в т.ч шпиндельного вузла, дозволяє вибирати різні режими шліфування з поєднанням різних подач та швидкостей столу, забезпечує шліфування деталей із заданою точністю та шорсткістю.
Коригований рівень звукової потужності LpA не повинен перевищувати 99 дБа.
Клас точності верстата П
Клас чистоти обробки V 8
3711Б - 1000 х 200, виробник Оршанський верстатобудівний завод Червоний борець
3Б721 - 1000 х 320, виробник Оршанський верстатобудівний завод Червоний борець
ОШ-400 - 1100 х 400, виробник Оршанський верстатобудівний завод Червоний борець

Мал. 1. Способи шліфування периферією кола:
а - врізанням, б - глибинним методом, - з малою подачею на глибину і великою поперечною подачею, t - подача на глибину, s - поздовжня подача
Залежно від поверхні кола, що здійснює обробку, розрізняють шліфування периферією кола та торцем кола. Розглянемо основні методи шліфування периферією кола.
Шліфування врізанням застосовується при обробці деталей, ширина яких менша за висоту або коли площина, що шліфується, обмежена буртами. Шліфування провадиться без поперечної подачі. Подачу на глибину здійснюють при виході кола поза деталі з однієї або двох сторін під час реверсування столу (рис. 1, а). При цьому способі шліфування відбувається велике зношування кола, що вимагає частиних правок. Висока точність обробки при цьому не забезпечується.
Глибинне шліфування - процес, при якому за один хід стола за дуже малої швидкості поздовжньої подачі знімається повний припуск. При цьому шліфувальне коло подається відразу на всю глибину (рис. 1, б). При цьому способі можна застосовувати як попутне, так і зустрічне шліфування, знімання стружки відбувається лише в одному напрямку переміщення столу, реверс столу здійснюється при збільшеній швидкості. Так як основний тягар знімання припуску падає на абразивні зерна, розташовані біля торця кола, відбувається досить значне зношування його, тому рекомендується залишати припуск 0,01-0,02 мм і знімати його із застосуванням поперечної подачі після правки кола.
Шліфування з уривчастою поперечною подачею дозволяє якісно обробити навіть великі поверхні. Величина поперечної подачі залежить від висоти шліфувального кола і ніколи не має бути більше. У крайніх положеннях у поперечному напрямку коло має виступати за край деталі на половину його висоти. У поздовжньому напрямі має бути забезпечена можливість виходу кола межі обох кінців деталі на 50—60 мм. Подача на глибину здійснюється зазвичай разом із реверсуванням у поперечному напрямку. При цьому способі шліфування особливо при обробці великих поверхонь на останніх ходух слід вибирати дуже маленьку величину подачі на глибину, щоб зменшити неточність, що створюється навколо внаслідок його зносу (рис. 1, в).
Шліфування з безперервною поперечною подачею . Поперечна подача здійснюється безперервно, величина її за кожен хід столу не повинна перевищувати половини висоти кола. Порівняно з попереднім способом останній забезпечує можливість отримання більш високої точності обробки.
За всіх способів шліфування периферією кола дуга контакту кола з деталлю значно менше порівняно зі шліфуванням торцем кола. Наслідком цього є порівняно невеликі зусилля різання та незначне виділення тепла, тому периферією кола шліфують деталі, загартовані до високої твердості, що мають невисоку жорсткість, з високими вимогами до точності. Продуктивність обробки при шліфуванні периферією кола нижча порівняно зі шліфуванням торцем кола.

Габарит робочого простору шліфувального верстата 3д722

Приєднувальні та посадкові бази верстата 3д722

Фото плоскошліфувального верстата 3д722

Фото плоскошліфувального верстата 3д722

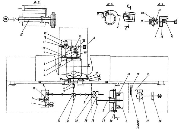
Розташування складових частинин плоскошліфувального верстата 3д722

Кінематична схема плоскошліфувального верстата 3д722
Схема кінематична плоскошліфувального верстата 3Д722. Дивитись у збільшеному масштабі
Головний рух у верстаті - обертання шліфувального кола; поздовжня подача - прямолінійний зворотно-поступальний рух столу із заготівлею. Поперечна та вертикальна подачі повідомляються шліфувальній бабці зі шліфувальним кругом.
Кінематика верстата забезпечує:

Електрична схема плоскошліфувального верстата 3д722
Схема електрична плоскошліфувального верстата 3Д722. Дивитись у збільшеному масштабі
| Найменування параметру | 3B722 | 3D722 | 3Л722В |
|---|---|---|---|
| Основні параметри | |||
| Клас точності згідно з ГОСТ 8-82 | П | П | В, А |
| Найбільші розміри оброблюваних виробів (довжина x ширина x висота), мм | 1000 х 360 х 400 | 1000 х 320 х 400 | 1250 х 320 х 400 |
| Найбільші розміри оброблюваних виробів на електромагнітній плиті (довжина х ширина х висота), мм | 900 х 320 х 280 | 1250 х 320 х 280 | |
| Найменші розміри оброблюваних виробів на електромагнітній плиті (довжина х ширина х висота), мм | 50 х 40 х 5 | 50 х 40 х 3 | |
| Відстань від осі шпинделя до дзеркала стола, мм | 190..630 | 210..625 | 210..625 |
| Найбільша маса виробів, що обробляються на столі, кг | 600 | 600 | |
| Найбільша маса виробів оброблюваних на плиті електромагнітної, кг | 300 | 400 | |
| Робочий стіл верстата | |||
| Розміри робочої поверхні столу (довжина x ширина), мм | 1000 x 320 | 1000 x 320 | 1000 x 320 |
| Розміри поверхні електромагнітної плити (довжина x ширина), мм | 900 x 320 | 900 x 320 | |
| Поздовжнє переміщення столу від гідравліки (найменше/найбільше, мм | 300..1050 | 300..1010 | |
| Швидкість зворотно-поступального руху столу (регулювання безступінчасте), м/хв. | 2..40 | 3..45 | 3..35 |
| Шліфувальна бабка | |||
| Розміри шліфувального кола (найменший та найбільший зовнішній діаметри), мм | 325...450 | ||
| Розміри шліфувального круга (внутрішній діаметр/висота), мм | 203/63 | ||
| Розміри шліфувального кола за ГОСТ 2424-75 | ПП450х80х203 | ПП450х80х203 | |
| Число оборотів шліфувального кола за хвилину | 1460 | 1460 | 1460 |
| Найбільший допустимий момент, що крутить, на шпинделі, кгс*м | 6,7 | ||
| Максимальна швидкість шліфування, м/с | 34,4 | ||
| Кінець шпинделя шліфувальної бабки за ГОСТ 2323-67, ГОСТ 2323-76 (конструкція/конусність/ найбільший діаметр) | 1/1:5/80 | 1/1:5/80 | |
| Найбільше поперечне переміщення шліфувальної бабки (стійки), мм | 400 | 410 | 430 |
| Ціна поділу лімба поперечного переміщення шліфувальної бабки, мм | 0,05 | ||
| Поперечне переміщення шліфувальної бабки на один оберт лімба, мм | 4,5 | ||
| Прискорене поперечне переміщення шліфувальної бабки, м/хв. | 1,2 | ||
| Межі швидкостей поперечної подачі шліфувальної бабки (безступінчасте регулювання), м/хв. | 0,05..3,0 | 0,5..3,0 | |
| Автоматична поперечна подача на кожен хід столу (безступінчасте регулювання), мм/хід | 1..30 | 2..48 | 1..60 |
| Найбільше вертикальне переміщення шліфувальної бабки, мм | 440 | 415 | 415 |
| Ціна поділу лімба вертикального переміщення шліфувальної бабки, мм | 0,005 | 0,004 | 0,002 |
| Вертикальне переміщення шліфувальної бабки на один оберт лімба, мм | 1,0 | 0,5 | 0,2 |
| Автоматичні вертикальні подачі шліфувальної бабки, мм | 0,005..0,1 | 0,004..0,1 | 0,002..0,128 |
| Швидкість прискореного вертикального переміщення, м/хв | 0,450 | 0,450 | 0,200 |
| Привід та електроустаткування верстата | |||
| Кількість електродвигунів на верстаті | 6 | 8 | 13 |
| Електродвигун шпинделя шліфувальної бабки (М1), кВт | 10 | 15 | 11 |
| Електродвигун насоса гідросистеми (М2) (гідростанція), кВт | 5,5 | 7,5 | 4,0 |
| Електродвигуни повітряного теплообмінника (М3, М11) (гідростанція), кВт | ні | 0,12 | 0,09 |
| Електродвигун насоса системи змащення (М4), кВт | 0,12 | 0,25 | 0,25 |
| Електродвигун приводу механізму редагування кола (М5), кВт | 0,09 | ||
| Електродвигун насоса системи охолодження (М6), кВт | 0,12 | 0,6 | 0,75 |
| Електродвигун магнітного сепаратора (М7), кВт | 0,12 | 0,12 | 0,12 |
| Електродвигун фільтру транспортера (М8), кВт | ні | 0,12 | 0,09 |
| Електродвигун регулювання дроселя швидкості руху столу (М9) (гідростанція), кВт | |||
| Електродвигун насоса охолодження олії (М10) гідростанція, кВт | 1,1 | ||
| Електродвигун вертикального прискореного переміщення шліфувальної бабки (М12), кВт | 1,1 | 0,75 | 0,6 |
| Електродвигун приводу поперечної подачі стійки (М13), кВт | 0,75 | ||
| Електродвигун вертикальної подачі шліфувальної бабки (М14), кВт | кроковий | ||
| Електродвигун насоса відкачування витоків, кВт | ні | 0,25 | ні |
| Загальна встановлена потужність усіх електродвигунів, кВт | 3685 | 18,25 | |
| рід струму мережі живлення | 50Гц, 380 В | 50Гц, 380 В | 50Гц, 380 В |
| Габарити та маса верстата | |||
| Габарит верстата (довжина x ширина x висота), мм | 3410 x 2020 x 2290 | 3510 х 2130 х 2360 | 4810 х 2660 х 2660 |
| Маса верстата, кг | 6950 | 8400 | 7000 |
Кожен начальник прагне збільшення числа підлеглих.
Аксіома Паркінсона