Виробники хонінгувального верстата 3К833 – Майкопський верстатобудівний завод ім. Фрунзе та Красноріченський верстатобудівний завод ім. М.В. Фрунзе .
Верстат є подальшим удосконаленням аналогічних хонінгувальних верстатів серії 3Г833.
Напівавтомат хонінгувальний вертикальний 3К833 призначений для хонінгування - остаточного оздоблення отворів у гільзах, блоках, шатунах двигунів внутрішнього згоряння та інших деталях.
Обробка отворів на верстаті проводиться переважно алмазними брусками.
Хонінгувальний напівавтомат 3К833 може бути використаний на авторемонтних та металообробних підприємствах.
Напівавтомат 3К833 призначений для остаточної обробки дзеркала циліндрів двигунів внутрішнього згоряння, пневмоциліндрів та гідроциліндрів, отворів шатунів, шестерень та інших деталей в автомобілебудуванні, тракторобудуванні, верстатобудуванні та інших галузях народного господарства.
Механізми верстата здійснюють за циклом одночасне зворотно-поступальний і обертальний рух інструменту - хона і радіальну подачу брусків, що забезпечує збільшення діаметра робочої частинини інструменту в процесі обробки.
Верстат 3К833 забезпечений відліковим пристроєм, що дозволяє по ходу голки розтиску забезпечувати непрямий контроль діаметра отвору, що обробляється.
На верстаті застосована електрогідравлічна система розтискання інструменту зі стежкою за потужністю на валу шпинделя (інструменту).
Робота механізму розтискання у ступінчастому режимі забезпечується регульованим дозатором. Цикл обробки може включати етап «виходжування» (припинення вертикальної подачі), який підвищує точність і чистоту обробки.
3 - шліфувальний верстат (номер групи за класифікацією ЕНІМС)
К – серія (покоління) верстата (Г, К)
8 – притиральні, полірувальні, довідкові, хонінгувальні, полірувальні верстати (номер підгрупи за класифікацією ЕНІМС)
33 - виконання верстата
Синоніми: верстат для хонінгування, верстат шліфувально-притиральний металорізальний, honing vertical semiautomatic device
Хонінгування - один із методів високоточної обробки отворів та валів.
Хонінгування - це обробна операція, при якій знімання металу з оброблюваної поверхні деталі здійснюється хонінгувальними брусками, де як різці виступають абразивні або алмазні зерна.
Хонінгування – це досить продуктивний процес. Швидкість знімання припуску при хонінгуванні може досягати 2000 см на годину, що можна порівняти з чистовим точенням і шліфуванням. При цьому хонінгування забезпечує мінімальну шорсткість поверхні та циліндричність отвору до часток мікрона.
У шпинделі хонінгувального верстата закріплюється ріжучий інструмент - хонінгувальна головка (хон) , оснащена абразивними дрібнозернистими брусками. Головний рух інструменту хонінгувального верстата - обертальний , створюється окремим електродвигуном або гідротурбіною, а рух подачі (прямолінійний, зворотно-поступальний) - зазвичай гідроприводом.
Крім того, є механізм радіальної подачі абразивних брусків в хонінгувальній головці, який забезпечує швидке підведення брусків до поверхні, що обробляється, а також автоматичну компенсацію їх зносу під час роботи.
Найбільш поширені напівавтоматичні хонінгувальні верстати для хонінгування наскрізних та глухих отворів.
Розрізняють хонінгувальні верстати за розташуванням шпинделя:
Розрізняють хонінгувальні верстати за кількістю шпинделів:
Розрізняють хонінгувальні верстати за видом отворів, що обробляються:
Розрізняють хонінгувальні верстати за ступенем автоматизації:

При хонінгуванні регулюються такі параметри:
Швидкість обертання шпинделя визначається відповідно до матеріалу і діаметра отворів, що обробляються, і обраної окружної швидкістю.
V 1 = (1000 * V о ) / π * d
де:
V 1 - швидкість обертання шпинделя
V о - окружна швидкість (60..70 м/хв для чавуну та 45..60 м/хв для сталі)
d - діаметр отвору, що обробляється
Інструмент при хонінгуванні надає на оброблювану поверхню незрівнянно менший питомий тиск, ніж при шліфуванні, і тому структура поверхневого шару схильна до менших змін.
Незначний питомий тиск дозволяє обробляти тонкостінні деталі з високою точністю.
При хонінгуванні в зоні різання температура незмірно менша, ніж при шліфуванні, що також має менший вплив на структуру поверхневого шару.
При хонінгуванні відбувається автоматичне виправлення відхилень отвору від правильної геометричної форми, що дозволяє отримати точніший отвір, ніж при шліфуванні.
За рахунок ширшої номенклатури хонінгувальних брусків порівняно зі шліфувальними колами є можливість точніше вирішити задачу досягнення технічних вимог.
При хонінгуванні можливе створення певного мікрорельєфу поверхні, а саме: необхідний кут зустрічі рисок, певне співвідношення опорних поверхонь і западин (плосковершинне хонінгування), розтин графітових зерен у чавуні та досягнення найменшої шорсткості поверхні. Все це недосяжно під час шліфування або розточування.
Є групи деталей, які підлягають тільки хонінгуванню, наприклад, циліндри штангових насосів, у яких співвідношення довжини та діаметра отворів 100 і більше. При обробці циліндрів у блоках автомобільних двигунів хонінгуванню також немає альтернативи, т.к. потрібно створення певного мікрорельєфу маслоутримуючої поверхні та розтин графітових зерен.

Габарит робочого простору верстата 3к833

Фото хонінгувального верстата 3к833

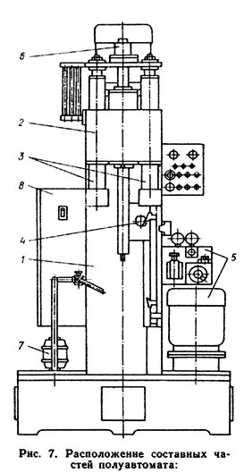
Розташування складових частинин верстата 3к833

Розташування органів керування верстатом 3к833

Кінематична схема верстата 3к833
Основа верстата складається з плити фундаментної та колони.
Плита фундаментна коробчастої форми, внутрішня порожнина якої є резервуарами для охолоджувальної рідини та робочої олії. На дзеркалі плити є поздовжні Т-подібні пази, що дозволяють закріплювати пристрої.
Колона - лита стійка коробчастої форми, на якій монтуються всі основні вузли напівавтомата, з правого боку є вікно, закрите кришкою 3, через яке відкривається доступ до трубопроводів та механізму керування.
Корпус приводу обертання — литої коробчастої форми, всередині якої монтуються три шліцеві вали з шестернями, гільза з рухомою піноллю, два гідроциліндри зворотно-поступального руху, система змащення.
Зміна чисел оборотів шпинделя забезпечується рухомим блоком шестерень, який утримується через завзятий підшипник вилкою, вилка в свою чергу фіксується на напрямній штанзі пружною кулькою.
Коробка швидкостей пов'язана з електродвигуном еластичною муфтою та має гальмування за допомогою електромагнітної муфти.
Шпіндель спроектований за принципом "рухлива піноля". Шпиндель-піноль отримує зворотно-поступальний рух двох гідроциліндрів 2, розташованих в одній площині з віссю шпинделя. Піноль знаходиться всередині гільзи 3, яка отримує обертальний рух від приводу обертання і передає на піноль через бронзову шпонку 4. Таким чином, шпиндель-піноль отримує зворотно-поступальний і обертальний рух, необхідне здійснення процесу хонінгування. Гільза 3 встановлена на підшипниках кочення.
Як нижню опору прийнятий дворядний роликовий підшипник 5 з регульованим радіальним зазором. Верхня опора складається з двох радіально-упорних підшипників 6, що сприймають осьове зусилля. Осьове зусилля, необхідне для хонінгування, від гідроциліндрів 2 передається на піноль 1 через сполучну плиту 7 і наполегливі підшипники 8. З плитою 7 за допомогою кронштейна 9 зв'язаний шток 10, за який чіпляється рейка механізму керування.
Привід зворотно-поступального руху складається з двох гідроциліндрів 2.
Штоки циліндрів кріпляться до плити 7, на якій закріплений шпиндель 1. При подачі робочої рідини у верхню або нижню порожнини циліндрів здійснюється хід штоків, а, отже, рух шпинделя вгору або вниз.
Механізм керування служить для регулювання ходу шпинделя при поворотно-поступальному русі, виведення шпинделя у вихідне положення та здійснення хонінгування короткими ходуми. Зубчаста рейка 1 (рис. 12) жорстко пов'язана з піноллю за допомогою штока 10 (рис. 11), кронштейна 9 і сполучної плити 7. На рейці 1 (рис. 12) в Т-подібному пазу закріплені кулачки 2 і керування 3, що впливають на важіль 4, повертаючи його. Важель 4 сполучається з валом 5, який за допомогою двошарнірної муфти пов'язаний з валом керування гідропанелі.
Вал 5 може бути в зачепленні з рухом рейки крім кулачків через зубчасте колесо 6 при включенні електромагнітної муфти 7. У цьому випадку напівавтомат працює короткими ходуми, довжина яких не регулюється. На рейці 1 закріплюється кулачок 8 СТОП, який впливає безконтактний вимикач 9, зупиняє шпиндель у вихідному положенні. На валу 5 закріплений пелюстка 10, що впливає безконтактний вимикач 11 включення розтиску брусків і відліку числа подвійних ходів.
З задньої сторони колони із застосуванням пристойної гідроапаратури, на підпанельних плитах встановлені гідропанель зворотно-поступального руху, чотири паророзподільники з електрокеруванням, редукційний клапан та фільтр тонкого очищення олії.
З правого боку колони встановлені: насосна установка, гідропульт із контрольно-регулюючою апаратурою. Гідропульт, винесений на правий бік напівавтомата, у поєднанні з електропультом забезпечує зручність керування напівавтоматом.
Механізм розтиску служить створення радіального переміщення брусків хонголовки і тиску них.
Механізм має робочий поршень, гідроциліндр та систему штовхачів, які у свою чергу пов'язані із системою штовхачів хонголовки. Вбудований низьковольтний контакт контролює стиск брусків хонголовки.

Хонінгувальна головка верстата 3к833
Хонінгувальна головка (хон) є циліндром, в якому вмонтовані хонінгувальні бруски, що переміщаються з точністю до 0,01 мм.
Бруски можуть бути як абразивними, і алмазними.
Стандартна хонінгувальна головка до хонінгувальних верстатів моделей 3Г833 і 3К833 застосовується для обробки внутрішніх циліндричних отворів шляхом суміщення обертального і зворотно-поступального руху головки із закріпленими на ній розсувними абразивними брусками з рясним зрошенням оброблюваної поверхні. Вона закріплена на спеціальному шарнірному пристрої шпинделя хонінгувального верстата і одночасно здійснює обертальний та зворотно-поступальний рух.
Дозволяє отримати отвори з відхиленням від циліндричності до 5 мкм та шорсткістю поверхні Ra = 0.63 ÷ 0.04.

Електрична схема хонінгувального верстата 3к833
Схема електрична хонінгувального верстата 3К833. Дивитись у збільшеному масштабі
| Найменування параметру | 3G833 | 3K833 |
|---|---|---|
| Основні параметри верстата | ||
| Клас точності згідно з ГОСТ 8-82 | Н | Н |
| Діаметр хонінгування найменший/ найбільший/ допустимий, мм | 30/ 125/ 165 | 30/ 125/ 165 |
| Довжина хонінгування, мм | 150..450 | 30..400 |
| Відстань від осі шпинделя до направляючих (виліт), мм | 300 | 300 |
| Відстань від торця шпинделя до поверхні плити, мм | 50..550 | 700..1200 |
| Розмір робочої поверхні столу, мм | 500 x 1000 | 500 x 1000 |
| Шпиндель верстата | ||
| Частота обертання шпинделя, об/хв | 155, 280, 400 | 160, 250, 400 |
| Хід шпинделя, мм | 500 | 500 |
| Конус шпинделя згідно з ГОСТ 25557-82 | Морзе 4 АТ6 | |
| Швидкість зворотно-поступального руху шпинделя, м/хв. | 8; 11,8; 18 | 3..18 б/с |
| Тиск у гідросистемі зворотно-поступального руху шпинделя, МПа | ні | 3,0..4,0 |
| Хід штовхача розтискання брусків, мм | 40 | |
| Тиск у гідросистемі розтиску брусків, МПа | 0,6..2,00 | |
| Найбільший крутний момент на шпинделі, кНм | 19,5 | |
| Найбільше осьове зусилля на шпинделі, кН | 4,5 | |
| Привід верстата | ||
| Кількість електродвигунів на верстаті | 3 | 3 |
| Електродвигун приводу головного руху - обертання шпинделя (ДШ)(М2), кВт | 3,0 | 4,0 |
| Електродвигун приводу зворотно-поступального руху (ДП), кВт | 1,1 | ні |
| Електродвигун приводу гідравліки (М1), кВт | ні | 4,0 |
| Електродвигун охолодження (ДО)(М3), кВт | 0,12 | 0,12 |
| Загальна потужність електродвигунів верстата, кВт | 4,22 | 8,12 |
| Стендовий калібр | ||
| Габарити верстата (довжина x ширина x висота), мм | 1205 х 1180 х 2670 | 1295 х 1145 х 2755 |
| Маса верстата, кг | 1200 | 1520 |