Виробник оздоблювально-розточувального верстата 2А78Н - Майкопський верстатобудівний завод ім. Фрунзе .
Майкопський верстатобудівний завод ім. Фрунзе - один із найбільших виробників металорізальних верстатів на Півдні Росії. Створено на базі заснованого у 1892 році чавунно-ливарного заводу Гурського.
Завод спеціалізується на випуску оздоблювально-розточувальних, хонінгувальних верстатів з широким діапазоном можливостей для ремонту та сервісного обслуговування двигунів внутрішнього згоряння (автомобільних, тракторних, суднових), стрічковопильних, верстатів високої точності та інших.
Оздоблювально-розточувальний верстат 2А78 випускався в сімдесятих роках минулого століття. Він замінив застарілий верстат моделі 278 і сам поступився місцем більш досконалому верстату 2Е78П , 2Е78ПН .
Відмінності оздоблювально-розточувального (алмазно-розточувального) алмазно-розточувального верстата 2А78 та 2А78Н:
Верстати оздоблювально-розточувальні вертикальні 2А78 призначені для ремонтної розточування блоків циліндрів та гільз автомобільних, тракторних та мотоциклетних двигунів, а також для свердління та розточування отворів в окремих деталях, розміри яких відповідають технічній характеристиці верстатів. На верстаті моделі 2А78 можна здійснювати тонке фрезерування універсальним шпинделем.
Технічні дані верстатів дозволяють робити тонку розточування в сталях, чавунах і кольорових металах, підрізування торця у отвору, що розточується, і безризиковий виведення різця.
Верстати 2А78 забезпечені комплектом шпинделів, один з яких встановлюється на шпиндельну бабку, залежно від діаметра отвору, що розточується. Універсальним шпинделем, крім операції розточування, може проводитися свердління, зенкерування та розгортання.
Оброблювані вироби центрують та закріплюють на нерухомому столі. Залежно від діаметра отвору, що розточується, в шпиндельній бабці встановлюють певний шпиндель з наявного комплекту. Універсальний шпиндель застосовується для виконання операцій свердління, зенкерування та розгортання отворів та постачається за окрему плату.
Комплект приладдя, пристроїв та інструментів, що поставляється зі верстатом, дозволяє розточувати блоки циліндрів та гільзи двигунів, передбачені за технічним завданням на виготовлення верстата.
На верстаті моделі 2А78 стіл може бути виконаний з пристроєм для відліку координат, що включає точні штрихові заходи довжини і відлікові приставні мікроскопи типу МО.
Розробник - Майкопський верстатобудівний завод ім. Фрунзе.
Синоніми: оздоблювально-розточувальний вертикальний верстат, fine borer, fine boring machine, finish boring machine, precision boring machine
Як інструмент на цих верстатах застосовуються алмазні та твердосплавні різці. Режим тонкого розточування: швидкість різання до 1000 м/хв, подача 0,01 – 0,1 мм/об та глибина різання 0,05 – 0,55 мм. Висока точність обробки отворів, відхилення діаметром 0,003 - 0,005 мм і шорсткість поверхні 8-9-го класу на алмазно-розточувальних верстатах забезпечуються завдяки застосуванню малих подач і високих швидкостей різання. На алмазно-розточувальних верстатах, крім чистової обробки отворів, виконується зовнішнє обточування, розточування та обточування конусів, підрізання торців і розточування канавок. Основними споживачами алмазно-розточувальних верстатів є заводи великосерійного та масового виробництва автомобільної, тракторної та авіаційної промисловості.
До деталей, для обробки яких застосовуються алмазно-розточувальні верстати, відносяться шатуни, втулки, вкладиші, гільзи, головки блоку і блоки циліндрів.
У оздоблювально-розточувальних верстатах шпиндель розташовується вертикально. Рухи, необхідні виконання технологічного циклу, повідомляються різним вузлам верстата. Головним рухом верстата є обертально-поступальний рух шпинделя щодо його осі.
Рух подачі повідомляється або інструменту, закріпленому в шпинделі, або заготівлі, встановленої на столі або пристрої, що встановлено на столі та. т.п.
Допоміжними рухами в цих верстатах є: настановні переміщення шпиндельної бабки у вертикальному напрямку, настановні переміщення столу за двома координатами, настановний рух у горизонтальній площині оператора, перемикання швидкостей та подач тощо.

Габарит робочого простору верстата 2а78н

Посадочні та приєднувальні бази верстата 2а78н

Фото оздоблювально-розточувального верстата 2а78н

Фото оздоблювально-розточувального верстата 2а78н

Розташування органів керування оздоблювально-розточувальним верстатом 2а78н

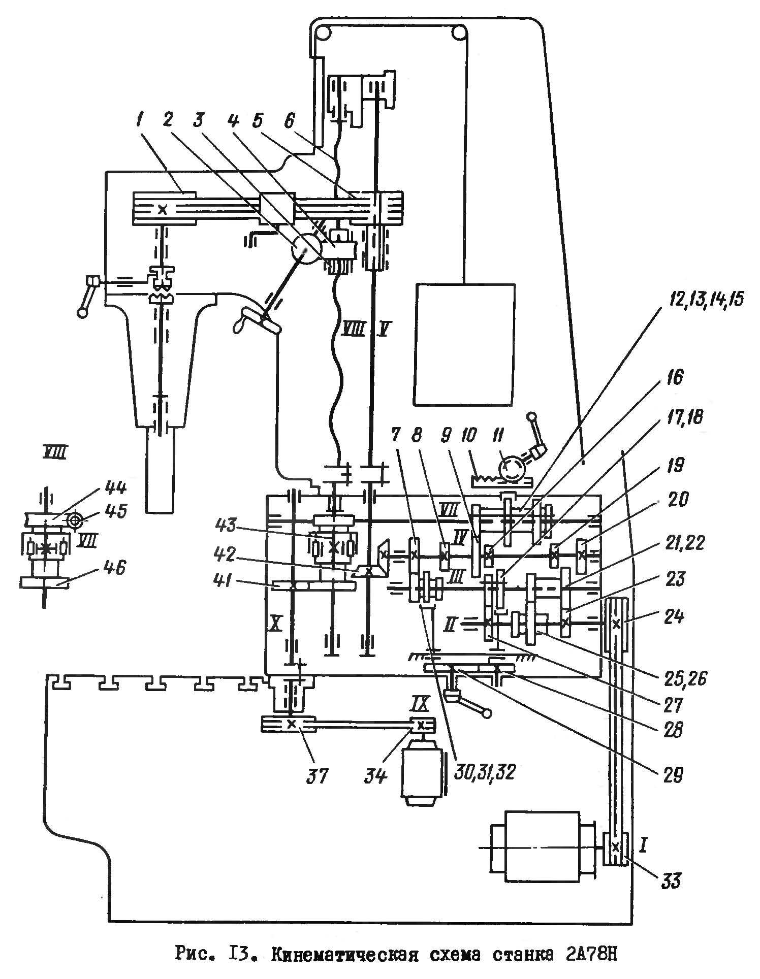
Кінематична схема оздоблювально-розточувального верстата 2а78н
Схема кінематична оздоблювально-розточувального 2А78Н. Дивитись у збільшеному масштабі
Запобіжна муфта механізму подачі шпиндельної бабки відрегульована на передачу моменту, що крутить, в 2,0 кгс.м, відповідно до допустимого зусилля подачі.
Запобіжна муфта механізму швидкого ходу столу відрегульована на передачу моменту, що крутить, в 1,0 кгс.м, відповідно до допустимого зусилля при швидкому ході столу.
При перевищенні допустимих зусиль у механізмі подачі шпиндельної бабки (головним чином, у разі неправильно вибраних режимів різання) і механізмі швидкого ходу столу запобіжні муфти пробуксовують з характерним тріском.
У цьому випадку слід негайно зупинити верстат і змінити режими різання, навантаження або усунути неполадки.
Кинематические ланцюги головного руху, быстрых ходов і руху подачі, післядовательность передачи обертання от електродвигателей до исполнительных органів ясны из схем.
Увімкнення быстрых перемещений шпиндельной бабки или стола пояснено в описании коробки швидкостей подач настоящего раздела.
Верстат 2А78 отличается от верстата 2А78Н наличием стола, перемещающегося в продольном і поперечном направлениях. У верстата 2А78Н нерухома плита, совмещенная з основанием.
Основной базовой деталью, на которой устанавливаются все остальные вузли верстата, является основание. Оно имеет сверху привалочную плоскость, к которой крепятся колонна і коробка швидкостей і подач верстата.
Основание верстата 2А78 имеет направляющие, по которым перемещается подвижный стол (узел 18). Основание верстата 2А78Н выполнено за одно целое со столом, имеющим Т-образные пазы.
Внутри основания располагаются електродвигатели: головного руху - фланцевый 5 з перемещающейся подмоторной плитой 8 і електродвигатель 4 - быстрых ходов шпиндельной бабки і стола, укрепленный на подмоторной плите 3.
На правой стенке основания в нише расположен вводный выключатель 7. Подвод електроенергии - через угольник I.
К левой стенке основания верстата 2А78 крепится линейка 9 для точного отсчета по ней поперечных перемещений стола. На передньої стенке основания верстата 2А78Н слева расположен пульт 10 керування верстатом.
Колонна крепится на основании. По її направляющим, призматической і плоской, в вертикальном направлении перемещается шпиндельна бабка. В верхней частини колонны на кронштейне 15 укреплены ролики 16, по которым движется ланцюг 13 противовеса 12, перемещающегося внутри колонны.
Противовес 12, уравновешивающий вес шпиндельной бабки со шпинделем, состоит из цельной чугунной отливки.
У передньої стенки колонны, между направляющими, расположены ходовой винт 8 шпиндельной бабки і шлицевый валик 9 приводу шпинделя, укрепленные в верхней частини колонны в приставных кронштейнах 10 і II.
В нижней частини колонны располагается установленная на основании коробка швидкостей і подач. Керування коробкой, состоящее из рукоятки переключения подач 4 і рукоятки переключения швидкостей 5, выведено на крышку 14 на правой стенке колонны. Рукоятка 7 переключения передачи от приводу быстрых ходов на шпиндельную бабку или стол выведена на левую стенку колонны.
Над крышкой 14 установлены два конечных выключателя 2, ограничивающих перемещение шпиндельной бабки вверх і вниз, і переключатель 3 швидкостей двигуна головного привода.
В задньої стенке колонны в нише расположен електрошкаф, закрываемый дверкой I. Через окна колонны, закрытые крышками 6, открывается доступ к гвинтам, крепящим коробку швидкостей і подач к основанию.•

Стол отделочно-расточного верстата 2а78н
Стол отделочно-расточного верстата 2А78н. Дивитись у збільшеному масштабі
Перемещение обрабатываемого вироби в двух взаимно перпендикулярных направлениях на станке 2А78 осуществляется при помощи стола, состоящего из двух частин: нижней - салазок, перемещающихся в поперечном направлении по направляющим основания, і верхней - собственно стола, перемещающегося в продольном направлении по направляющим салазок.
На передньої стенке салазок могут быть установлены два отсчетных микроскопа 5 і 6 з точностью нониуса 0,01 мм: один для отсчета координат при перемещении стола в продольном направлении, второй - в поперечном.
Линейка 7 для точного отсчета продольных перемещений стола расположена на передньої стенке стола, линейка 4 для точного отсчета поперечных перемещений стола - на левой стенке основания.
Установчі переміщення стола, продольные і поперечные, а также установка по координатам производятся вручную при помощи маховика 2. Для переміщення стола в продольном направлении нужно, подав маховик 2 от себя при помощи сжатия отжимной пружины 13, ввести в зацепление шестерни 14 і 15.
В нужном положении стол фиксируется рукоятками I і 3 при помощи ексцентриковых зажимов.
Установочное перемещение стола в продольном направлении можно осуществить механически от електродвигуна швидкого ходу. Для етого рукоятка переключения быстрых ходов поворачивается в положение "Стол". При етом вращение гайке 17 ходового гвинта 16 передається от редуктора (узел 53) через винтовую пару 11-12.
Изменение направления быстрых ходов стола осуществляется поочередный нажатием на кнопки приводу стола "Вправо" или "Влево", в результате чего происходит реверсирование електродвигуна быстрых ходов.
Для предотобертання поломок механізма приводу швидкого ходу стола вследствие перегрузок вал 8 редуктора і вал 10 стола соединены при помощи шариковой предохранительной муфты 9, рассчитанной на передачу максимального крутящего момента.

Шпиндельная бабка отделочно-расточного верстата 2а78н
Шпиндельная бабка отделочно-расточного верстата 2А78Н. Дивитись у збільшеному масштабі
Шпиндельная бабка перемещается в вертикальном направлении по направляющим колонны. В ней расположены механізмы приводу шпинделя, приводу шпиндельной бабки і ручных перемещений.
Сменные шпиндели устанавливаются посадочным пояском в корпусе шпиндельной бабки і крепятся шестью гайками 21.
Механізм приводу шпинделя представляет собой клиноременную передачу. Ведущий шкив 19 етой передачи укреплен на вращающейся в підшипниках шлицевой гильзе 20, которая при перемещении шпиндельной бабки скользит по шлицевому валику колонны, выходящему из коробки швидкостей і подач. Ведомый шкив 15 укреплен на валу 16, имеющем на шлицевом кінці кулачковую полумуфту 22, при помощи которой вращение сообщается шпинделю. Натяжение ремней осуществляется переміщенням гвинта 13 натяжного ролика 10. Кулачковая муфта - управляемая, її увімкнення осуществляется рукояткой 24, расположенной на левой стенке шпиндельной бабки, через валик 23 з ексцентриковым пальцем.
Відключення шпинделя муфтой от кінематичної ланцюги его приводу облегчает вращение шпинделя от руки при установці і центрировании по оси шпинделя обрабатываемых деталей.
Механізм ручных перемещений состоит из вращающейся в підшипниках гайки 25, выполненной заодно з червячным колесом 26, находящимся в зацеплении з червяком 28. Червяк сидит на одном валу з маховиком 31. При вращении маховика вращается гайка 25, осуществляя перемещение шпиндельной бабки.
При механической подаче, когда вращается ходовой винт, гайка 25 удерживается от проворота самотормозящейся червячной парой 26-28. Такое виконання механізма ручных перемещений позволяет вмешиваться в механическую подачу, благодаря чему сокращается время подвода резца на врезание.
Шпиндельная бабка поджимается к направляющим цельными прижимными планками 27 і 29, расположенными з обратной стороны направляючих. На планке 29 крепятся перемещаемые по высоте кулачки I і 3 для увімкнення перемещений шпиндельной бабки.
С правой стороны шпиндельной бабки укреплена линейка 2 для отсчета длины обрабатываемой поверхности. Маховик ручных перемещений 31 снабжен лимбом 30 для отсчета глубины врізання при подрезке торцов.
К планке 18 крепится ланцюг противовеса.
Ребра внутри корпуса, шпиндельной бабки, образуют ванну, используемую как масляный резервуар для лубрикатора 17.
Коробка швидкостей і подач (рис. 20, 21) Коробка швидкостей і подач установлена на основании внутри колонны і служит для передачи обертання от електродвигуна головного приводу к валику приводу шпинделя і ходовому винту шпиндельной бабки, а также для передачи обертання от електродвигуна быстрых ходов ходовому винту шпиндельной бабки или гайке гвинта продольных перемещений стола. Она обеспечивает шпинделю шесть чисел оборотів, что в сочетании з двухскоростным електродвигуном головного приводу составляет 12 различных швидкостей обертання шпинделя, і четыре величины рабочих подач.
Внутри її расположены: червячная передача; конические со спиральным зубом і цилиндрические прямозубые шестерни, обеспечивающие необходимые передаточные отношения; механізмы переключения швидкостей і подач; обгонная двухсторонняя муфта. Снизу к коробке крепятся: корпус ведомого шкива 19 приводу быстрых ходов і (на станке 2А78) конічний редуктор 20 приводу быстрых ходов стола, располагающиеся в основании.
Керування коробкой швидкостей і подач осуществляется тремя рукоятками: одна предназначена для переключения швидкостей обертання шпинделя; вторая -для переключения величин подач; третья (на станке 2А78) - для переключения передачи от приводу быстрых ходов на шпиндельную бабку или стол.
Механізм переключения швидкостей состоит из одной пары шестерен 24 і 27 з ексцентрично расположенными пальцами 25, на которые насажены камни 21, входящие в пазы переключающих вилок 22 і 26. При повороте шестерен вилки перемещаются по цилиндрической направляющей 28, передвигая блоки шестерен 12 і 13 на валу III.
Механізм переключения подач состоит из шестерни 5 і рейки-вилки 4. Рейка-вилка 4, перемещаясь по цилиндрической направляющей 17, переключает блок шестерен 15 ланцюги подач на валу VII.
Механізм переключения быстрых ходов в станке моделі 2А78 состоит из поворотного рычага 31 з пальцем 30, на который насажен камень 29, входящий в выточку перемещаемой шестерни 6.
В положениях, соответствующих включению определенных положений швидкостей і подач, вилки удерживаются шариковыми фиксаторами 16, 23 і 32.
Обгонная двусторонняя муфта на валу VIII позволяет осуществлять быстрые ходы, рабочую і ручную подачі шпиндельной бабки. При рабочей подаче наружная обойма 10 муфты, жестко связанная з червячным колесом II, получает вращение от червяка 18 і через ролики 9 ведет ступицу 8, связанную з ходовым винтом; при ручной подаче наружная обойма 10 муфты не вращается, так как її удерживает самотормозящаяся червячная пара 11-18. При быстром ходе средняя обойма 7 муфты через ролики 9 вращает внутреннюю обойму 8 і ходовой винт.
Ролики 9 муфты поджимаются пружинами 33 (Д81-1 0,6 x 5 x 25). Благодаря обгонной муфте возможно увімкнення швидкого ходу шпиндельной бабки без виключення її робочого ходу.
Для предотобертання поломок коробки швидкостей і подач вследствие перегрузки ходовой винт колонны соединен при помощи шариковой предохранительной муфты 2-3, рассчитанной на передачу максимального крутящего момента.
Для транспортировки коробки швидкостей і подач выполнено отверстие MI2 x 1,25, закрытое пробкой I.

Ескіз кінця універсального шпинделя верстата 2а78н
Універсальный шпиндель устанавливается на верстат для расточки отверстий диаметром от 27 до 200 мм небольших глубин при помощи борштанг или резцедержателя з точной подачей, а также для сверления или развертывания отверстий в окремих деталях.
Шпиндель собран на прецизионных підшипниках качения, причем передние радиально-упорные підшипники установлены з предварительным натягом.
Приемный конус шпинделя рассчитан на применение вспомогательного инструмента, либо нормального инструмента в сочетании з переходными втулками.
Закрепление инструмента і извлечение его из шпинделя не требует приложения зусилля, так как угол приемного конуса достаточно велик (10°).
Гайка 19 на кінці шпинделя имеет радиусный паз і проточку, в которые входит радиусными выступами на хвостовике спеціальний инструмент или переходная втулка, что дает возможность легко вставить і закрепить, а также извлечь инструмент, не отвинчивая гайку полностью. Кінець приемного конуса шпинделя также снабжен радиусным пазом, в который входит при закреплении в шпинделе инструмент радиусными выступами на хвостовике.
Такое пристрій крепления инструмента гарантирует от проворота его в конусе шпинделя і предохраняет шпиндель от повреждений.

Сменные шпиндели отделочно-расточного верстата 2а78н
Шпиндели отделочно-расточного 2А78Н. Дивитись у збільшеному масштабі

Сменные шпиндели отделочно-расточного верстата 2а78н
Узел состоит из трех сменных шпинделей з диаметрами резцовых головок 48, 78 і 120 мм.
Шпиндель устанавливается на шпиндельную бабку з учетом диаметра отверстия, которое предстоит растачивать. Шпиндель Ø 48 - для расточки отверстий диаметром от 50 до 82 мм; Ø 78 - от 82 до 125 мм; Ø 120 - от 125 до 200 мм.
Шпиндели собраны на прецизионных підшипниках качения, причем передние радиально-упорные підшипники установлены з предварительным натягом.
Проникновение пыли в підшипники предотвращается лабиринтовыми уплотнениями.
Резцовые головки 10 і 16 шпинделей Ø 78 і Ø 120 выполнены съемными. Снимать резцовые головки со шпинделей не рекомендуется.
На торцах шпинделей имеется отверстие для установки индикаторного пристроя, применяемого при центрировании обрабатываемой детали. На шпинделе Ø 48 индикаторное пристрій устанавливается при помощи переходника I.
Центрирование обрабатываемой детали можно производить также при помощи шариковых оправок 6, 12 і 18, вылет которых регулируется гвинтами 5, 11 і 17.
Вылет резцов 4, 7 і 13 регулируется при помощи винтов 3, 9 і 15 лимбов 2, 8 і 14, ввинчиваемых в торцы резцов. При помощи лимба возможна установка резца з точностью 0,02 мм.

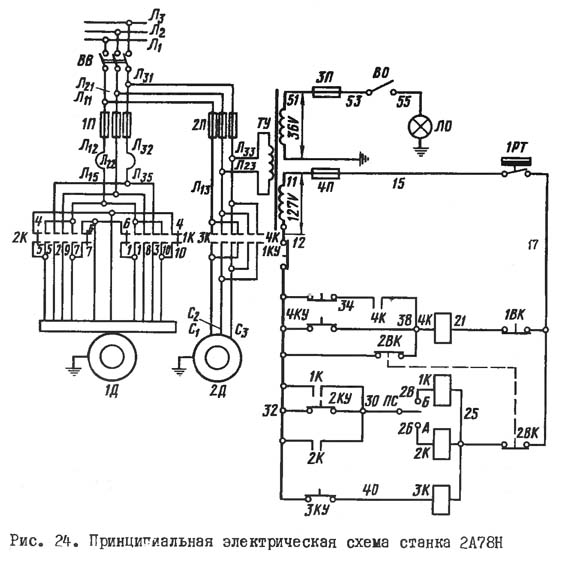
Електрична схема отделочно-расточного верстата 2а78н
Схема електрична отделочно-расточного 2А78Н. Дивитись у збільшеному масштабі
На верстатах установлены два трехфазных коротко-замкнутых асинхронных електродвигуна:
Верстати выпускаются з електрообладнанням на рабочее напряжение 380 В, 50 Гц в силовой ланцюги, 110 В - в ланцюги керування, 24 В - в ланцюги местного освещения, 8 В - в ланцюги освещения микроскопов.
| Наименование параметра | 2Е78 | 2А78 | 2А78Н |
|---|---|---|---|
| Основні параметри верстата по ГОСТ 9520-73 | |||
| Класс точності верстата по ГОСТ 8-82 | П | П | П |
| Диаметр растачиваемого отверстия наибольший/ наименьший, мм | 200/ 28 | 200/ 15 | 200/ 15 |
| Наибольший диаметр сверления в стали 45, мм | 15 | 15 | 15 |
| Розміри координатной расточки, мм | 800 х 150 | - | |
| Наибольшие розміри обрабатываемого вироби, мм | 750 х 500 х 450 | 750 х 500 х 450 | 750 х 500 х 450 |
| Наибольшая масса обрабатываемого вироби, кг | 200 | 200 | 200 |
| Наименьшее расстояние от торца шпинделя до стола, мм | 25 | 25..525 | 25..525 |
| Точность межцентровых координат продольных/ поперечных, мм | 0,03/ 0,025 | 0,032 | - |
| Расстояние от оси шпинделя до стойки (вылет шпинделя), мм | 320 | 280 | 280 |
| Шпиндельная бабка | |||
| Наибольшее вертикальное перемещение шпиндельной бабки, мм | 500 | 500 | 500 |
| Величина переміщення на один оборот маховика, мм | 0,75 | 0,75 | 0,75 |
| Частота обертання шпинделя, об/мин | 26..1200 | 26..1200 | 26..1200 |
| Количество швидкостей шпинделя | 12 | 12 | 12 |
| Пределы рабочих подач на один оборот шпинделя, мм | 0,025..0,200 | 0,050..0,200 | 0,050..0,200 |
| Количество подач | 4 | 4 | 4 |
| Скорость швидкого ходу, мм/мин | 2000 | 2000 | 2000 |
| Предохранение от перегрузки механізма подач (муфта) | имеется | имеется | имеется |
| Выключающие упоры | имеется | имеется | имеется |
| Автоматический возврат в исходное положение після окончания расточки | имеется | имеется | имеется |
| Рабочий стол | |||
| Рабочая поверхность стола, мм | 1000 х 500 | 1000 х 500 | 1250 х 500 |
| Наибольшее перемещение стола, мм | 800/ 200 | 800/ 150 | - |
| Скорость робочого ходу стола в продольном/ поперечном направлении, мм/мин | 100/ нет | - | - |
| Перемещение стола верстата на один оборот маховика в продольном/ поперечном направлении, мм | 4,2/ 2,9 | 4,68/ 3,0 | - |
| Величина ускоренного переміщення стола в продольном/ поперечном направлении, мм/мин | 2000/ нет | 2000/ нет | - |
| Способ отсчета координат при перемещении стола | микроскоп | микроскоп | - |
| Выключающие упоры механического швидкого ходу | имеется | имеется | - |
| Закрепление стола верстата моделі 2А78Н от перемещений | ручное | ручное | - |
| Привод | |||
| Количество електродвигателей на станке | 3 | 2 | 2 |
| Електродвигун приводу головного руху, кВт | 2,2 | 1,7 | 1,7 |
| Електродвигун приводу стола і ускоренного ходу шпиндельной бабки, кВт | 0,75 | 0,6 | 0,6 |
| Габарит верстата | |||
| Габарити верстата, включая ход стола (длина х ширина х высота), мм | 1750 х 1560 х 2125 | 2500 х 1500 х 2135 | 1250 х 1350 х 2055 |
| Масса верстата, кг | 2680 | 2300 | 2000 |