Відомості про виробника горизонтально-розточувального верстата 2н636, 2Н636гф1
Розробником і виробником горизонтально-розточувального верстата 2Н636гф1 є Коломенський завод важких верстатів КЗТС , заснований в 1914 році.
Верстати виробництва Коломенського заводу важких верстатів, КЗТЗ
2Н636гф1 Горизонтально-розточувальні верстати. Призначення, сфера застосування
Горизонтально-розточувальні верстати 2Н636ГФ1 призначені для комплексної механічної обробки корпусних деталей шляхом проведення наступних технологічних операцій:
- свердління, зенкерування, розточування, розгортання отворів, пов'язаних координатами; можливе оброблення співвісних отворів консольним інструментом з поворотом столу на 180 °;
- фрезерування площин, пазів та уступів; фрезерування площин та пазів при круговій подачі столу;
- нарізування різьблення однолезовим інструментом за допомогою висувного шпинделя
- проточування отворів великих діаметрів і канавок за допомогою знімної планшайби
Конструктивні особливості верстата 2Н636ГФ1
Універсальні горизонтальні верстати 2Н636ГФ1 випускаються з нерухомою передньою стойкою, задньою підтримуючою стойкою і вбудованим поворотним столом. Стіл переміщається в поздовжньому та поперечному напрямках.
При оснащенні верстатів задньою підтримуючою стойкою (постачається за особливим замовленням за окрему плату) можна розточувати точні отвори великої довжини двоопорними борштангами.
Верстати 2Н636ГФ1 оснащені розточувальним шпинделем діаметром Ø 125 мм і вбудованою планшайбою з радіальним супортом. Планшайба із встановленим на ній різцетримачем призначена для розточування та обточування циліндричних поверхонь великого діаметру, проточування канавок та обробки торців.
Висока жорсткість основних корпусних деталей верстатів, висока точність і жорсткість шпиндельної групи, використання опор шпинделя прецизійних дворядних роликових підшипників з регульованим зазором забезпечують безвібраційну обробку в широкому діапазоні робочих параметрів, ефективне використання верстатів як на чорнових режимах, так і при чистових операціях.
Автоматичний затиск на направляючих всіх робочих органів, що переміщаються, забезпечує їх точну фіксацію і додаткове підвищення жорсткості несучої системи верстата.
Привід подачі шпинделя, столу, шпиндельної бабки здійснюється незалежно кожного робочого органу від регульованих у широкому діапазоні електродвигунів постійного струму, що живляться від тиристорного перетворювача, завдяки чому забезпечується можливість безступінчастого регулювання величини подачі без зупинки процесу різання.
Підвісний пульт керування оснащений електроприводом для вертикальних переміщень і легко переміщається у зручне для керування верстатом місце.
Верстати 2Н636ГФ1 оснащені системою цифрової індикації (УЦІ) та програмованим командоконтролером (ПК).
Норми точності верстатів - "Н" згідно з ГОСТ 2110-85.
Горизонтально-розточувальні верстати 2Н636ГФ1 мають висувний шпиндель діаметром 125 мм та вбудовану планшайбу з радіальним супортом, що розширює технологічні можливості при обробці отворів великих діаметрів. Планшайба має механізм автоматичного перемикання.
Розточувальні верстати 2Н636ГФ1 оснащені системою попереднього набору та автоматичного відпрацювання координатних переміщень по чотирьох осях з цифровою індикацією дійсного положення чотирьох вузлів. Органи переднабору та індикації розташовані на підвісному пульті керування верстатом.
Ця система суттєво підвищує продуктивність верстата, знижує стомлюваність робітника та зменшує кількість помилок.
Система дає можливість працювати на верстаті в будь-якому з наступних режимів:
- індикація — ручне керування верстатом із цифровою індикацією поточних координат
- позиціонування - точний підхід до заданої координати на швидкій швидкості (без різання), завжди з одного боку, з автоматичним зупиненням
- фрезерування - точний підхід до заданої координати на робочій подачі з різанням з будь-якої сторони з автоматичним зупиненням
Стандартна комплектація верстата 2н636
- Комплект гайкових ключів та викруток
- Комплект оправок для напівчистового розточування, перехідні втулки
- Комплект приладдя (рукоятка, комірки для регулювання підшипників повзуна та шпинделя, шприц мастильний та ін.)
- Комплект деталей, що швидко зношуються, та комплектуючих виробів на час гарантійного терміну
Вузли, що постачаються за окрему плату
- Задня стійка (верстат поставляється з подовженою станиною) спільно з санчатами, люнетом та редуктором задньої стійки
- Пристосування для нарізування різьблення
- Пряма фрезерна головка
- Змінні втулки для люнету
- Комплект закладних частинин фундаменту
Варіанти виконання верстатів 2Н636
- 2н636 – базова модель горизонтально-розточувального верстата: висувний шпиндель Ø 125 мм, планшайба з радіальним супортом, стіл 1600 x 1800 мм
- 2н637 – базова модель горизонтально-розточувального верстата: висувний шпиндель Ø 160 мм, стіл 1600 x 1800 мм (без планшайби)
- 2н636ф1 – верстат із пристроєм цифрової індикації (УЦІ)
- 2н637ф1 - верстат з пристроєм цифрової індикації (УЦІ)
- 2н636гФ1 – верстат із задньою стойкою та пристроєм цифрової індикації (УЦІ)
- 2н637гФ1 – верстат із задньою стойкою та пристроєм цифрової індикації (УЦІ)
- 2н636Ф2 - верстат з числовим програмним керуванням (УЧПУ)
- 2н637Ф2 - верстат з числовим програмним керуванням (УЧПУ)
Основні характеристики горизонтального розточувального верстата 2н636гф1
Виробник: Коломенський завод важких верстатів, КЗТЗ.
Горизонтально-розточувальний верстат 2н636гф1 вироблявся з основними параметрами за ГОСТ 7058-84. Верстати горизонтально-розточувальні. Основні розміри.
- Діаметр висувного шпинделя - Ø 125 мм
- Найбільше горизонтальне (осьове) переміщення шпинделя (Z`) – 1000 мм
- Найбільше вертикальне переміщення шпиндельної бабки (Y) (настановне) - 1400 мм
- Робоча поверхня столу (ширина х довжина) - 1600 х 1800 мм
- Найбільший поздовжній хід столу (Z, W) – 1600 мм .
- Найбільший поперечний хід столу (X) – 1400 мм.
- Найбільша маса виробу, що обробляється - 8 т
- Частота обертання шпинделя - 8...1250 об/хв
- Електродвигун приводу шпинделя – 20 кВт
- Вага верстата повна - 34,6 т.
Основні характеристики пристрою цифрової індикації (УЦІ) розточувального верстата 2н636гф1
- Дискретність цифрової індикації – 0,01 мм
- Число одночасно індикуваних координат - 4
- Зміщення початку відліку (плаваючий нуль) – є
2н636гф1 Загальний вигляд горизонтально-розточувального верстата

Фото горизонтального розточувального верстата 2н636гф1
Фото горизонтального розточувального верстата 2н636гф1. Дивитись у збільшеному масштабі

Фото горизонтального розточувального верстата 2н636ф1
Фото горизонтального розточувального верстата 2н636гф1. Дивитись у збільшеному масштабі

Фото планшайби з радіальним супортом верстата 2н636гф1
Загальні відомості про електроустаткування верстата 2н636ф1

Пульт керування горизонтально-розточувальним верстатом 2н636гф1
Пульт керування горизонтально-розточувальним верстатом 2н636гф1. Дивитись у збільшеному масштабі
Живлення електроустаткування верстата передбачено від мережі трифазного змінного струму.
Живлення ланцюгів збудження електродвигунів подач та тахогенераторів здійснюється від тиристорного перетворювача.
Живлення ланцюгів керування змінного струму, світлової сигналізації та місцевого освітлення здійснюється від понижуючого трансформатора.
Живлення ланцюгів керування постійного струму здійснюється від понижувальних трансформаторів через випрямляючі блоки.
Станція керування розміщена у секції з 3-х шаф і розташована поблизу верстата.
Керування роботою механізмів та вибір режимів роботи верстата зосереджені на підвісному пульті керування.
С подвесного пульта керування можно осуществлять наступні операции (см. рис. 1)
- а) Включать рабочий режим обертання шпинделя і производить останов его посредством кнопок Кн1 "Вправо", Кн2 "Влево", Кн8 "Стоп".
- б) Управлять головним приводом в наладочном режиме посредством переключателя ПУ1.
- в) Управлять електродвигателей насоса змазки посредством кнопок Кн7 - Пуск; Кн6 - Стоп.
- г) Выбирать требуемый механізм подачі посредством переключателя ПУЗ.
- д) Выбирать требуемую величину подачі, а также изменять ей на ходу, не останавливая верстата, регулятором PC. Тестер должен показать напряжение около 3 вольт.
- е) управлять рабочей подачей приводов продольного переміщення стола, поперечного переміщення стола, обертання поворотного стола, переміщення шпинделя і шпиндельной бабки нажатием кнопок Кн10, КН11, КН12. Направление переміщення механізмов указано стрелками;
- ж) осуществлять замедленный і ускоренный подвод или отвод механізмов подачі посредством оператора установочных перемещений ВУП;
- з) включать или выключать механізмы автоматических зажимов переключателем ПУ2;
- и) останавливать все механізмы в аварийном случае посредством кнопки Кн5;
- к) вести визуальное наблюдение за наличием змазки головного приводу (лампы Л12 Л13) і направляючих (лампа Л14), за исключением выбранного механізма подач і направлением его переміщення (сигнальные лампы Л1..Л11), за работой електродвигуна механической головки зажиму инструмента (лампа Л19);
- л) включать і выключать местное освещение переключателем ПУ4;
- м) наблюдать за величиной нагрузки головного приводу по амперметру А;
- н) включать і выключать переміщення в автоматическом режиме кнопками Кн13, Кн14;
- о) выбирать режим роботи (позиционирование, фрезерование, индикация) переключателем ПУ5;
- п) осуществлять возврат механізма в исходное положение "Выезд в нуль" переключателем ПУ6;
- р) управлять електродвигуном механической головки посредством кнопок Кн17 "Зажим", Кн18 "Отжим". Кінець отработки фиксируется загоранием лампы Л18.
Керування електродвигуном приводу переміщення задньої стойки і люнета осуществляется посредством толчковых кнопок, встроенных в стенке задньої стойки.
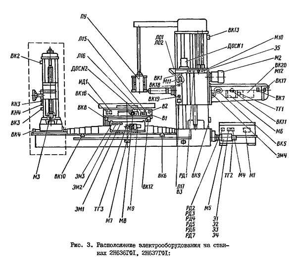
Розташування електроустаткування на станке показано на рис. 3.
Розташування електроустаткування на горизонтально-расточном станке 2н636гф1

Розташування електроустаткування на горизонтально-расточном станке 2н636гф1
Розташування електроустаткування на горизонтально-расточном станке 2н636гф1. Дивитись у збільшеному масштабі
- ПУ - пульт керування;
- М1 - електродвигатель приводу насоса змазки і гідропереключения;
- М2 - електродвигатель приводу обертання шпинделя;
- М3 - електродвигатель приводу перемещении задньої стойки і люнета;
- М4 - електродвигатель приводу насоса гідрозажимов;
- М5 - електродвигатель приводу шпиндельной бабки;
- М6 - електродвигатель приводу шпинделя;
- М7 - електродвигатель приводу стола;
- М8 - електродвигатель приводу насоса змазки направляючих поворотного стола;
- М9 - електродвигатель приводу насоса змазки направляючих нижних саней і станины;
- М10 - електродвигатель приводу насоса змазки направляючих стойки;
- М11 - електродвигатель перемещений пульта керування;
- М12 - електродвигатель зажимной електромеханической головки;
- РД1 - реле давления контроля змазки;
- РД2 - реле давления контроля зажиму нижних саней;
- РД3 - реле давления контроля зажиму верхних саней;
- РД4 - реле давления контроля зажиму шпиндельной бабки;
- РД5 - реле давления контроля отжима стола;
- РД6, РД7 - реле давления контроля в системе гідрозажимов;
- ВК2*, ВК3*- конечный выключатель ограничения переміщення люнета;
- ВК4* - конечный выключатель ограничения переміщення задньої стойки;
- ВК5 - конечный выключатель контроля ручного зажиму шпинделя;
- ВК6, ВК10 - конечный выключатель ограничения продольного переміщення стола;
- ВК7, ВК11 - конечный выключатель ограничения переміщення шпинделя;
- ВК8, BK12 - конечный выключатель ограничения поперечного переміщення стола;
- ВК9, BK13 - конечный выключатель ограничения перемещений шпиндельной бабки;
- BK16 - конечный выключатель контроля точного поворота стола;
- ВК17 - конечный выключатель блокировки головного приводу при открытой крышке гітари;
- ВК18, ВК19 - конечный выключатель ограничения перемещений пульта керування;
- ВК20 - конечный выключатель електромеханической головки "Приз";
- ДОС №I - датчик обратной связи шпиндельной бабки;
- ДОС №2 - датчик обратной связи стола;
- ИД1 - индуктивный датчик;
- КНЗ*, КН4* - кнопочная станція керування;
- Л01, Л02 - светильник местного освещения;
- Л15 - лампа освещения нониуса поворота стола;
- Л16 - лампа освещения нониуса поперечного переміщення стола;
- Л17 - лампа освещения нониуса переміщення шпиндельной байки
- * На верстатах без задньої головки ети позиции отсутствуют
Технічні характеристики горизонтально-расточных верстатів 2н636гф1
| Наименование параметра |
2А635 |
2Б635 |
2н636ф1 |
2а636ф1 |
| Основні параметри верстата |
|
|
|
|
| Диаметр выдвижного расточного шпинделя, мм |
125 |
160 |
125 |
125 |
| Точность установки координат, мм |
|
|
0,01 |
0,01 |
| Рабочая поверхность стола, мм |
1600 х 1250 |
1600 х 1250 |
1600 х 1800 |
1600 х 1800 |
| Наибольшая масса обрабатываемого вироби, кг |
4000 |
4000 |
8000 |
10000 |
| Наибольшее перемещение стола поперечное (по оси X), мм |
1400 |
1400 |
1400 |
2000 |
| Наибольшее перемещение стола продольное (по оси W), мм |
1600 |
1600 |
1600 |
1600 |
| Наибольшее вертикальное перемещение шпиндельной бабки (установочное) (по оси Y), мм |
1400 |
1400 |
1400 |
1600 |
| Наибольшее горизонтальное (осевое) перемещение шпинделя (по оси Z), мм |
1000 |
1000 |
1000 |
1000 |
| Высота оси шпинделя над столом(по оси Z), мм |
-25+1375 |
-50+1375 |
|
|
| Угол поворота стола (по оси B), град |
4 х 90° |
4 х 90° |
4 х 90° |
4 х 90° |
| Пределы рабочих подач по осям X,Y,Z,W, мм/мин |
|
|
2..2000 |
2..2000 |
| Наибольшее усилие подачі стола (вдоль і поперек), кгс (кН) |
25000 |
25000 |
(20) |
(20) |
| Скорость быстрых перемещений по осям X, Y, W, м/мин |
|
|
5 |
5 |
| Скорость быстрых перемещений шпинделя по оси Z, м/мин |
|
|
4 |
5 |
| Шпиндельная бабка. Выдвижной шпиндель |
|
|
|
|
| Частота обертання шпинделя, об/мин |
8..1250 |
3,2...1000 |
6,3..1250 |
6,3..1250 |
| Количество швидкостей шпинделя |
|
|
21 |
3 диап. |
| Кінець выдвижного шпинделя по ГОСТ 24644-81 |
|
|
|
7:24, 50АТ5 |
| Пределы рабочих подач шпинделя, мм/мин |
|
|
2..1120 |
2..2000 |
| Пределы рабочих подач шпиндельной бабки, мм/мин |
2..800 |
2..800 |
2..1120 |
2..2000 |
| Скорость быстрых перемещений шпиндельной бабки, м/мин |
|
|
2,7 |
5 |
| Скорость быстрых перемещений шпинделя, м/мин |
|
|
2,7 |
4 |
| Наибольший крутящий момент на шпинделе, кгм (кН*м) |
350 |
550 |
(3,5) |
(4,5) |
| Наибольшее усилие подачі (різання) шпинделя, кг (кН) |
2000 |
3000 |
(20) |
(20) |
| Наибольшее усилие подачі бабки, кг (кН) |
2500 |
2500 |
(20) |
(20) |
| Нарезаемая метрическая резьба, мм |
|
|
|
|
| Нарезаемая дюймовая резьба, число ниток на 1" |
|
|
|
|
| Наибольшее тангенциальное усилие різання, кН |
|
|
|
20 |
| Наибольшее тангенциальное усилие різання при растачивании без радиальной подачі, кН |
|
|
|
|
| Планшайба |
|
|
|
|
| Диаметр планшайби з радиальным суппортом, мм |
|
- |
800 |
800 |
| Количество швидкостей планшайби |
|
- |
12 |
2 диап. |
| Скорость обертання планшайби, об/мин |
5..315 |
- |
5..315 |
4..250 |
| Наибольшее перемещение радиального суппорта планшайби, мм |
300 |
- |
200 |
200 |
| Скорость быстрых перемещений радиального суппорта, мм/мин |
2..800 |
- |
|
|
| Пределы рабочих подач радиального суппорта, мм/мин |
2..800 |
- |
0,63…630 |
0,8…630 |
| Наибольший крутящий момент на планшайбе, кН*м |
|
- |
72 |
72 |
| Наибольшее усилие подачі радиального суппорта, кН |
|
- |
7 |
7 |
| Привод |
|
|
|
|
| Количество електродвигателей на станке |
|
|
|
10 |
| Електродвигун приводу головного руху Мощность, кВт (об/мин) |
14 (1450) |
14 (1450) |
20 |
22 |
| Електродвигун приводу поздовжньої подачі стола і шпинделя, кВт |
4,2 |
4,2 |
|
|
| Електродвигун приводу поперечної подачі і поворота стола, кВт |
4,2 |
4,2 |
|
|
| Суммарная мощность електродвигателей, кВт |
|
|
|
36,3 |
| Габарити і масса верстата |
|
|
|
|
| Габарити верстата, включая ход стола і салазок, мм |
7500 х 3500 х 3930 |
7500 х 3500 х 3930 |
6830 х 4110 х 4180 |
8700 x 5600 x 5100 |
| Масса верстата, кг |
26700 |
25800 |
34600 |
36850 |
Список литературы:
- Бернштейн-Коган В.С. Електроустаткування координатно-расточных і резьбошлифовальных верстатів, 1969
- Глухов Н.М. Работа на координатно-расточных верстатах, 1953
- Григорьев С.П., Григорьев В.С. Практика координатно-расточных і фрезерных работ, 1980
- Ипатов С.С. Координатно-расточные верстати в точном приборостроении, 1954
- Кашепава М.Я. Современные координатно-расточные верстати, 1961
- Кудряшов А.А. Верстати инструментального производства, 1968
- Смирнов В.К. Токарь-расточник. Учебник для технических училищ, 1982
- Тепинкичиев В.К. Металлорежущие верстати, 1973
- Зазерский Е.И., Гутнер Н.Г. Токарь-расточник, 1960
- Пономарев В.Ф. Справочник токаря-расточника,1969
- Смирнов В.К. Токарь-расточник. Учебник для технических училищ, 1982
- Богданов А.В. Расточное дело, 1960