Розробником та виробником токарно-карусельного верстата 1Л532 є Краснодарський верстатобудівний завод Сєдіна , заснований у 1911 році.
У 1915 році було випущено перший токарний верстат. У 1922 році підприємство отримало свою сучасну назву — на честь токаря Сєдіна Г. М.
У 1935 році був випущений перший токарно-карусельний верстат моделі 152, а до 1937 р. визначився пріоритетний профіль заводу - верстатобудування, і в першу чергу виробництво токарно-карусельних верстатів.
Токарно-карусельні верстати застосовують для обробки важких деталей великого діаметра та порівняно невеликої довжини. На цих верстатах можна виконувати майже всі токарні операції.
Горизонтальне розташування площини круглого столу (планшайби), на якому закріплюється заготовка, значно полегшує її встановлення та вивіряння. Крім того, шпиндель розвантажений від згинальних сил, що забезпечує більш високу точність обробки деталей. Токарно-карусельні верстати виготовляють два типи; одностоєчні та двостоєчні. Верстати з планшайбою діаметром до 1600 мм зазвичай одностоєчні, а верстати з планшайбами більшого діаметра - двостоєчні.
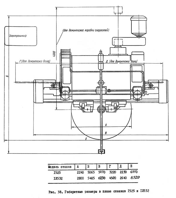
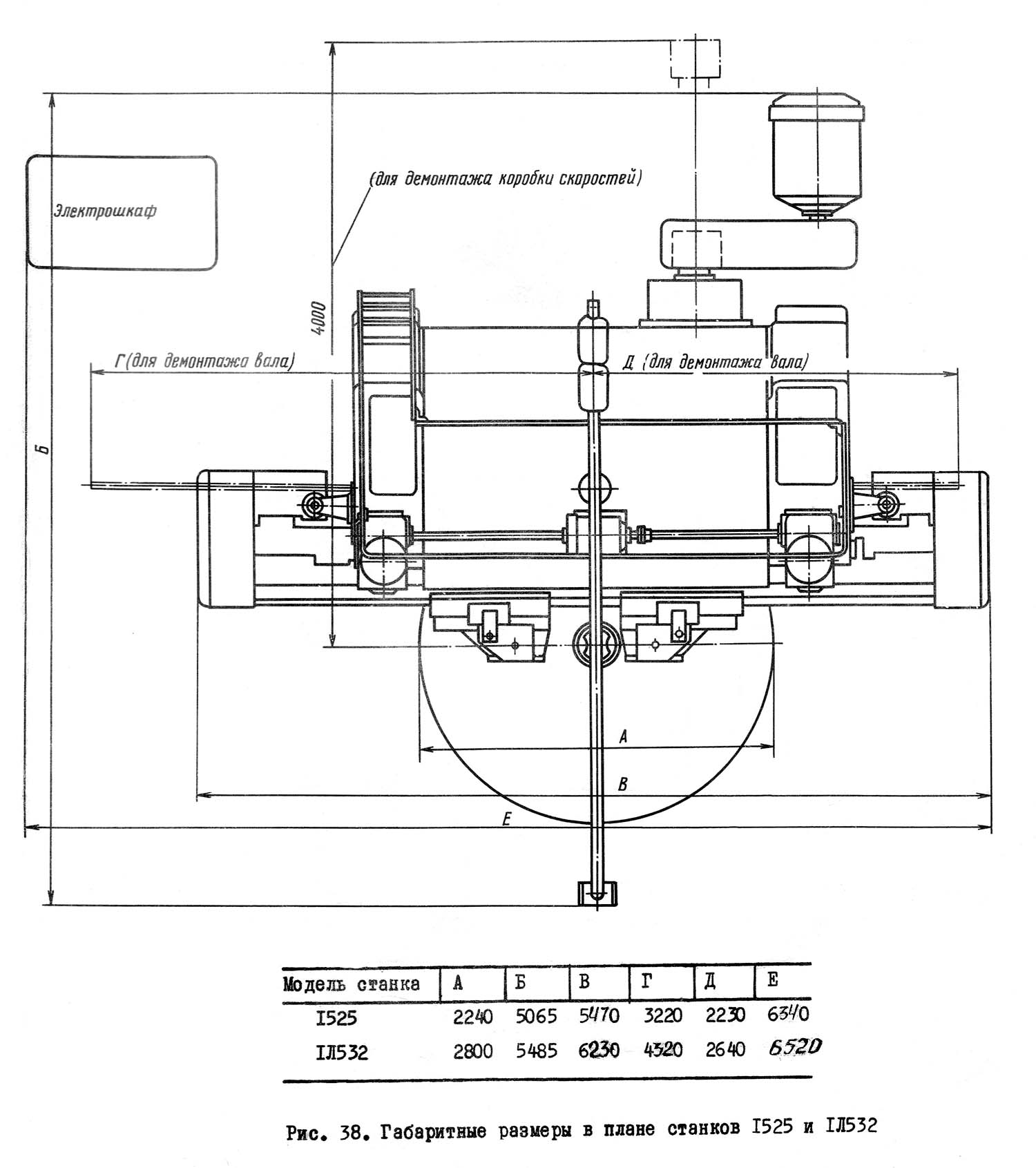
Краснодарський верстатобудівний завод ім. Сєдина випустив гаму двостоїчних карусельних верстатів 1520; 1Л525; 1525; 1Л532, що мають уніфіковані вузли і відрізняються в основному своїми габаритними розмірами, масою та розмірами оброблюваних деталей.
Токарно-карусельний двостоєчний верстат 1Л532 призначений для токарної обробки заготовок різних деталей із чорних та кольорових металів в умовах одиничного, дрібносерійного та серійного виробництва.
На токарно-карусельному верстаті 1Л532 можна проводити обточування та розточування циліндричних та конічних поверхонь, проточування торцевих поверхонь, прорізання кільцевих канавок, свердління, зенкерування та розгортання центральних отворів. Проточування торцевих поверхонь можна проводити з постійною швидкістю різання.
В основному виконанні верстат має два верхні поворотні супорти. Обертання планшайби – реверсивне.
Токарно-карусельний верстат 1Л532 має звичайну для двостоєчних токарно-карусельних верстатів компонування.
Базові деталі верстата мають досить високу жорсткість, що в поєднанні зі значною потужністю приводу головного руху забезпечує високопродуктивну обробку заготовок деталей на силових і швидкісних режимах різання.
Поперечка може переміщатися вгору-вниз напрямними стійками і фіксуватися в потрібному положенні в залежності від висоти оброблюваної заготовки.
Верхні супорти переміщаються горизонтальними напрямними поперечки, повзуни - по вертикалі в направляючих поворотних санчат. Повзун може бути встановлений під кутом осі обертання планшайби для обробки конічних поверхонь.
Робочі переміщення супортів здійснюються від редуктора приводу головного руху через 18-ступінчасті коробки подач, настановні переміщення від асинхронних електродвигунів, розташованих на коробках подач.
Розмір робочих подач, швидкість настановних переміщень і напрямів переміщень супортів змінюються з допомогою електромагнітних муфт.
Планшайба обертається від регульованого електродвигуна постійного струму через двоступінчастиний редуктор. Регулювання частоти обертання електродвигуна – безступінчасте за допомогою тиристорного перетворювача. Перемикання діапазонів частот обертання провадиться двома електромагнітними муфтами.
Планшайба спирається на плоскі кругові напрямні ковзання з гідродинамічного розвантаження.
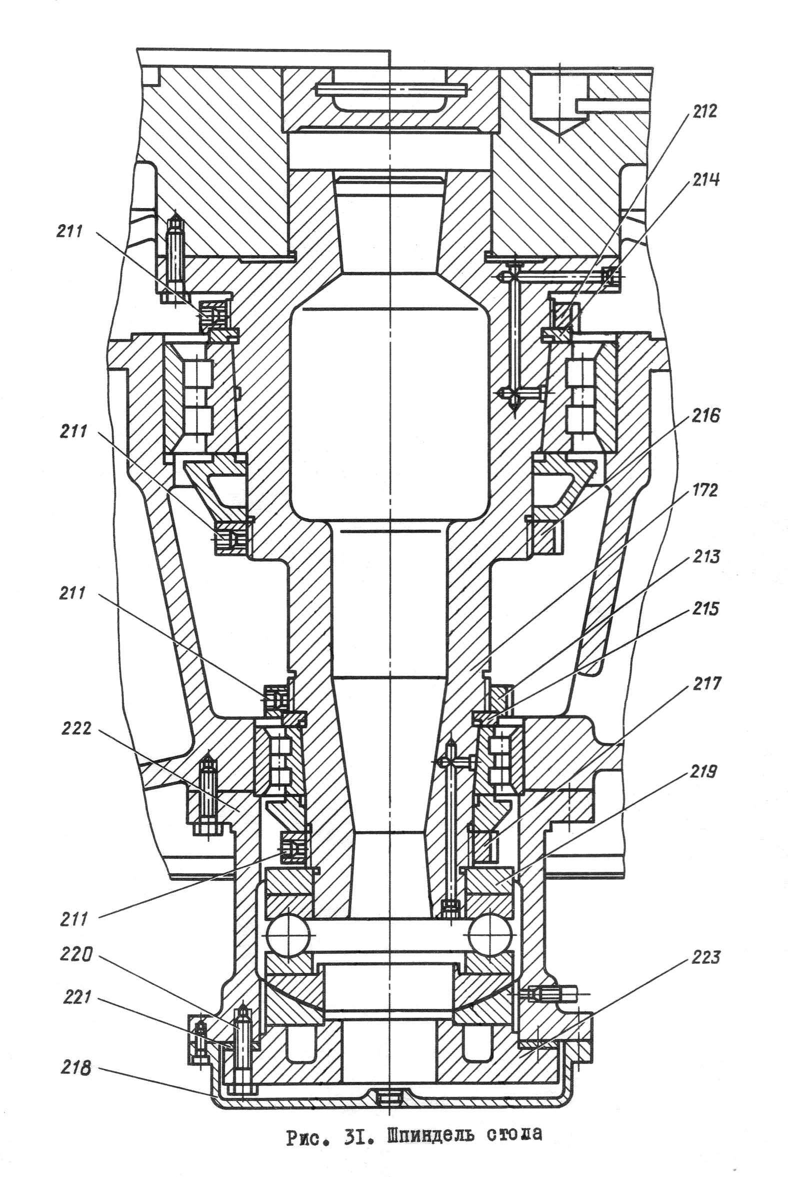
Шпиндель , жорстко з'єднаний з планшайбою, обертається на дворядних радіальних роликових підшипниках, внутрішні кільця яких мають посадочні отвори конічні, що забезпечують можливість регулювання зазору і створення натягу з метою досягнення необхідної точності обертання планшайби.
Органи керування верстатом (кнопки, перемикачі, спеціальні лампи) зосереджені переважно на підвісному пульті.
При застосуванні спеціальних пристроїв та пристроїв, що поставляються разом із верстатами за особливим замовленням за окрему плату, на ставках можна робити:
Крім цього, за особливим замовленням за окрему плату, може бути поставлений верстат з револьверним супортом, замість правого вертикального (неревольверного), з бічним супортом та рядом інших пристроїв.
На верстаті одночасно можуть бути встановлені всі пристрої. У зв'язку з тим, що встановлення пристосувань вимагає значних змін у доробках у верстаті, замовлення на виготовлення пристосувань до раніше поставлених верстатів не можуть бути виконані. Пристрої поставляються лише разом із верстатом.
Значна потужність електродвигуна головного приводу, висока жорсткість базових деталей і достатня міцність всіх елементів кінематичного ланцюга у поєднанні з широкими діапазонами регулювання чисел оборотів планшайби та величин подач дозволяє вести на верстатах високопродуктивну роботу при швидкісних режимах різання.
Модифікації верстата, що комплектуються регульованим приводом головного руху з електродвигуном постійного струму, мають умовне позначення 300.
Категорія якості – перша. Клас точності верстата - Н за ГОСТ 8-82. Норма точності та жорсткості - згідно з ГОСТ 44-72.
Шорсткість поверхні обробленого зразка R < 20 мкм.






Розташування органів керування на підвісному пульті верстата 1л532

Кінематична схема карусельного верстата 1Л532
Схема кінематична токарно-карусельного верстата 1Л532. Дивитись у збільшеному масштабі
Кінематична схема верстатів проста і не требует пояснений (рис. 5). На рис, б показаны графики к кінематичної схеме верстатів.
Кинематика окремих складових частин, керування рабочими і вспомогательными рухуми пояснены в описании складових частин верстатів.
Стійки служать сполучною ланкою, що забезпечує правильне взаємне розташування та переміщення складових частин верстата. Вони сприймають зусилля від сил різання та маси складових частин.
Стійки являють собою порожнисті виливки, посилені всередині ребрами жорсткості так, що при порівняно невеликій масі мають достатню міцність і жорсткість, У нижній частині стійки мають розвинені площини для прикріплення столу. Верх стійок є привалковою площиною для встановлення та кріплення розпірки з електродвигуном та двох черв'ячних редукторів, призначених для переміщення поперечини.
Стіл, стійки та розпірка скріплюються ггвинтами та утворюють замкнутий жорсткий портал, що забезпечує безвібраційну роботу верстата та отримання високої точності оброблюваних деталей. На лицьовій стороні стійок є напрямні, якими переміщається поперечка. Крім цього, на правій стійці передбачені напрямні для встановлення та переміщення бокового супорта.
Внизу до бокових сторін стійок із зовнішньої сторони кріпиться механізм передачі руху та подачу.

Коробка швидкостей токарно-карусельного верстата 1Л532
Коробка швидкостей токарно-карусельного верстата 1Л532. Дивитись у збільшеному масштабі
На рис. 7 показана развертка коробки швидкостей.
Коробка швидкостей служит для передачи обертання от електродвигуна к планшайбе, а также пуска, останова і изменения чисел оборотів планшайби, Вращение на входной вал коробки швидкостей передається ох електродвигуна головного приводу через клиноременную передачу. Коробка швидкостей сообщает планшайбе 18 ступеней чисел оборотів.
Керування коробкою швидкостей - дистанційне, з підвісного пульта.
Наявність у коробці швидкостей електромагнітних муфт дозволяє перемикати швидкості на ходу і тим самим забезпечувати підтримку ступінчасто-постійної швидкості різання при обробці торцевих поверхонь.
Коробка швидкостей складається із шести залів, змонтованих на підшипниках кочення в корпусі, що має для зручності складання площину роз'єму по осях 1V і V валів.
При високих числах оборотів пуск здійснюється східчасто у два, три чи чотири етапи. Кількість щаблів розгону зростає зі збільшенням числа оборотів планшайби.
Перемикання муфт при здійсненні ступінчастого розгону здійснюється автоматично (докладний опис див. у частині 2 керівництва "Електроустаткування верстатів").
Зміна чисел оборотів з 1 по 12 ступінь здійснюється включенням відповідних комбінацій електромагнітних муфт. Муфта 1Ем8 при цьому вимкнена і передавальне відношення планетарного механізму дорівнює 1/4 (муфти 1Ем9, 1Ем10 включені). При включенні 13-18 ступенів чисел оборотів планшайби муфти 1Ем9, 19м10 вимкнені, а муфта 1Ем8 включена і передавальне відношення планетарного механізму в цьому випадку дорівнює I (детальніше про включення муфт на різних щаблях чисел оборотів планшайби див. 2 керівництва "Електроустаткування верстатів").
Для включення поштовхового режиму роботи планшайби, що використовується при установці та вивірці деталі, необхідно на підвісному пульті поставити перемикач у положення "Товчковий пуск" планшайби і натиснути на кнопку "Пуск" планшайби.
У коробці швидкостей відсутні спеціальні гальмівні пристрої, і гальмування планшайби здійснюється одночасним включенням трьох електромагнітних муфт 1Ем8, 1Ем9, 1Ем10, розміщених на валу 1V і осі VII, що замикають дві різні кінематичні ланцюги, що утворюють "замок". Інші муфти коробки швидкостей при цьому вимкнені. Для досягнення плавності процесу гальмування зусилля, що розвивається муфтами, знижується включенням до ланцюга. живлення муфт додаткових опорів. Час гальмування планшайби залежить від кількості оборотів і маси деталі, що обробляється. Приблизний час зупинки обертання планшайби після початку гальмування становить від 2 до 10 секунд.
Для забезпечення одночасного зачеплення зубчастих коліс 15, 16, 17 планетарного механізму, зубчасте колесо 16 з'єднується з валом IV за допомогою зубчастої муфти, що дає можливість самовстановлюватися.
Наявність у коробці швидкостей косозубих зубчастих коліс забезпечує плавність роботи передач при значних окружних швидкостях. Всі зубчасті колеса коробки швидкостей знаходяться у постійному зачепленні.
При перемиканні швидкостей на ходу можливі поштовхи та уповільнення обертання планшайби, що не впливає на працездатність верстата та не є несправністю.
Мастило коробки швидкостей здійснюється від окремого шестеренного насоса, закріпленого на задній стінці столу. Олія підводиться по трубках до всіх робочих елементів. Для змащування та охолодження дисків електромагнітних муфт масло подається через отвори у валах та поливом.
Підведення напруги до електромагнітних муфт, що обертаються, здійснюється щітками, встановленими на спеціальних кронштейнах і притиснутими до контактних кільців електромагнітних муфт.
На рис. 8 зображено стіл верстата 1Л532. Принципових конструктивних відмінностей цього вузла в верстатах 1525 і 1Л532 немає. Деталі столів, здебільшого, уніфіковані, а оригінальні деталі відрізняються одна від одної лише розмірами.
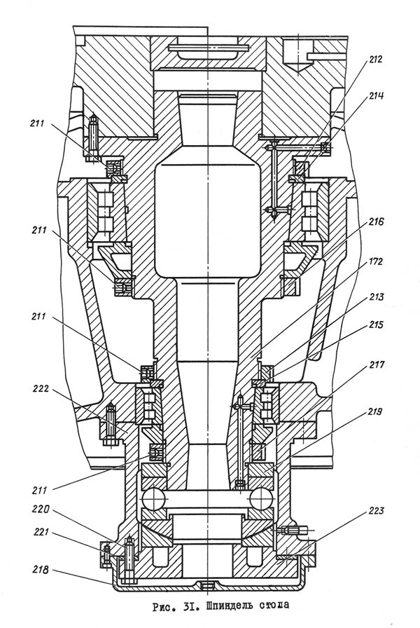
Стіл складається з корпусу 170, що має кругові напрямні, планшайби 171, шпинделя 172 і приводу планшайби.
Корпус столу є чавунним виливком з розвиненою системою ребер, що надають йому велику жорсткість. Для з'єднання зі стійками в корпусі столу передбачені розвинені площини привалки з отворами для кріплення.
У верхній частині корпусу столу є кільцева канавка, до якої входить кільцевий виступ планшайби, утворюючи лабіринт. Це перешкоджає розбризкуванню олії та захищає від попадання всередину столу стружки, чавунного пилу, емульсії та інших забруднюючих елементів.
Ззаду корпусу столу в резервуарі є спеціальні v-подібні припливи, в які укладається ролик-компенсатор 174, що виконує функції котка для полегшення монтажу та демонтажу коробки швидкостей.
Привід планшайби здійснюється від коробки швидкостей через пару конічних зубчастих коліс з круговим зубом 22 (див. рис. 7) і 23 (див. рис. 8), далі через циліндричну косозубу пару: шестерню 24 і вінцеве зубчасте колесо 25, жорстко пов'язане з планшайбою .
Наявність у приводі планшайби косозубих зубчастих передач та зубчастих передач із круговим зубом забезпечує плавність роботи при значній швидкохідності станків.
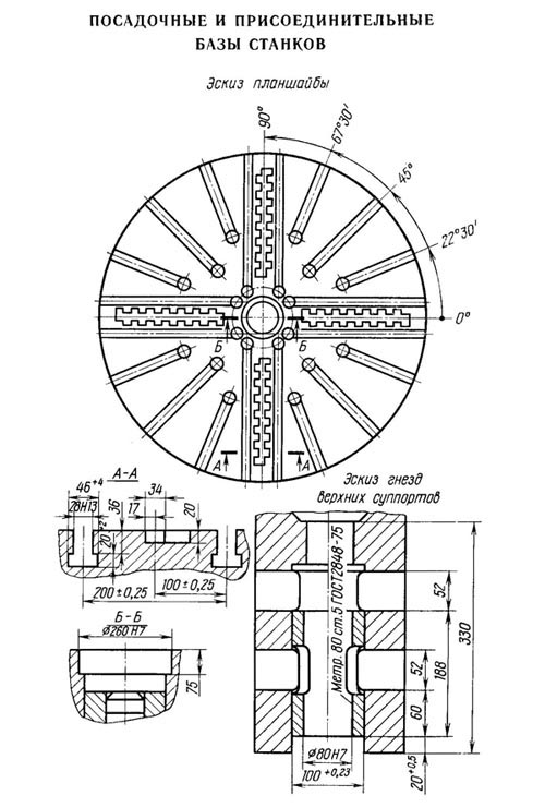
Планшайба є порожнистим диском з рядом внутрішніх радіальних ребер. На верхній площині планшайби є Т-подібні верстатні пази (рис. 9), які служать для закріплення затискних кулачків, різних пристосувань або безпосереднього закріплення деталей, що обробляються. Для точної установки по центру планшайби деталей або настановних пристосувань у планшайбі розточено центруючий отвір, що оберігається спеціальною заглушкою.
Верстат в основному виконанні поставляється з чотирма кулачками для кріплення деталей, що обробляються. Кожен кулачок має незалежне переміщення.
Для попереднього скидання незакріплених кулачків з планшайби при випадковому включенні її обертання, а також для надійного закріплення кулачків, що сприймають зусилля різання, в корпус кулачка вставляється планка з шипом, який входить у глухий паз план-шайби.
Для сприйняття вертикальних зусиль від маси оброблюваних заготовок і планшайби, а також від вертикальних складових сил різання, служать плоскі кільцеві напрямні з текстолітовими накладками 173 (див. рис. 8).
Шпиндель, жорстко пов'язаний з планшайбою, має як опори дворядні роликові підшипники з конічним посадковим отвором внутрішнього кільця. Ці підшипники мають такі якості, як висока точність; довговічність; жорсткість; малий коефіцієнт тертя; можливість регулювання радіального зазору, що дозволяє доводити його до дуже малих величин або навіть створювати натяг, що забезпечує необхідну точність та плавність обертання планшайби.
Правила регулювання підшибників дивись у підрозділі 2.4. "Регулювання", пункт 2.4.2.
У столі передбачена можливість проводити розвантаження направляючих. Правила регулювання розвантаження направляючих дивись у підрозділі 2.4. "Регулювання" пункту 2.4.3.

Коробка подач токарно-карусельного верстата 1Л532
Коробка подач токарно-карусельного верстата 1Л532. Дивитись у збільшеному масштабі
На рис. 11 показана розгортка коробки подач правого вертикального супорта. Ліва коробка подач аналогічна правій і відрізняється лише лівим виконанням корпусу, кронштейна та розташуванням муфт.
Корпус коробки подач є чавунним виливком коробчатої форми, що володіє достатньою жорсткістю. Усі вали коробки подач змонтовані на підшипниках кочення. Коробки подач повідомляють супортам робочі подачі - мм/об і настановні переміщення - мм/хв.
Привід коробок подач здійснюється з вертикальних валів ХIII і ХХХII, які отримують обертання від вінцевої пари столу і планшайби через механізм передачі руху на подачу (див. рис. 5).
Коробки подач повідомляють супортам 18 робочих подач і 18 швидкостей настановних переміщень. Це досягається за допомогою включення відповідних комбінацій електромагнітних муфт подач коробок (діаграму, включення електромагнітних муфт див. частина 2, керівництва "Електроустаткування верстатів").
Всі зубчасті колеса коробок подач знаходяться у постійному зачепленні. Муфта Эм7 служить включення робочих подач. При її включенні здійснюється кінематичний зв'язок між вертикальним валом механізму передачі руху на подачу та коробкою подач. При вимиканні цієї муфти можна включати настановні переміщення супорта ох окремого електродвигуна, прикріпленого до корпусу коробки подач.
Залежно від необхідного напрямку подачі: вправо, вліво, вгору, вниз - відповідно включається одна з чотирьох муфт напряму Ем1, Ем2, Ем5, Ем6, і один із вихідних валів (XXI або ХХІІ) отримує обертання у вибраному напрямку.
Гальмівні муфти Ем3, Ем4, що сидять на валах XXI і ХХII, служать для гасіння інерції супортів та усунення перебігів.
Застосування електромагнітних муфт забезпечує дистанційність керування: увімкнення та вимкнення робочих подач та настановних переміщень, а також вибір та перемикання подач на ходу з підвісного пульта керування.

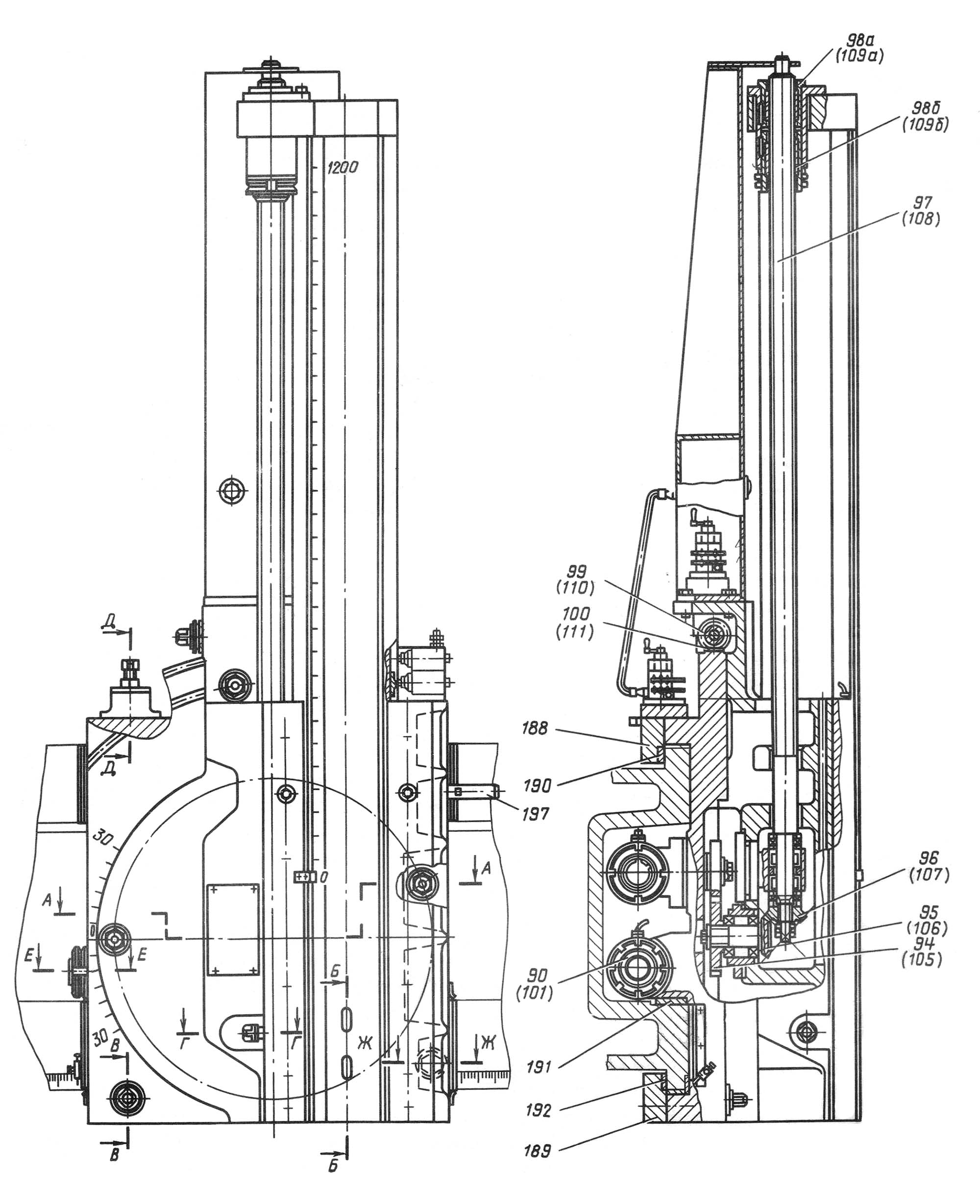
Поперечина токарно-карусельного верстата 1Л532
Поперечина токарно-карусельного верстата 1Л532. Дивитись у збільшеному масштабі

Механізм переміщення поперечини токарно-карусельного верстата 1Л532
Механізм переміщення поперечини токарно-карусельного верстата 1Л532. Дивитись у збільшеному масштабі
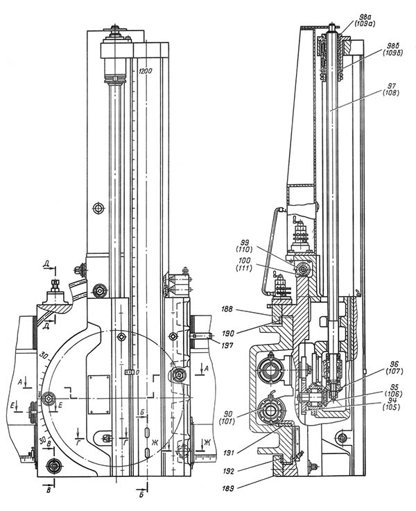
Поперечка (рис. 12) розміщується на направляючих стійках. Її корпус являє собою виливок, поперечний переріз якого має коробчасту форму з розвиненою системою ребер. Попереду корпус поперечки має горизонтальні прямокутні напрямні, якими переміщаються вертикальні супорти.
Між направляючими у ніші розміщуються ходові вали та ходові гвинти, які монтуються у жорсткому знімному кронштейні та коробках подач. Поперечка має вертикальне настановне переміщення по направляючих стійок, яке здійснюється механізмом переміщення поперечини, і обмежується кінцевими вимикачами.
Переміщення поперечки проводиться за допомогою двох гвинтів 86 39 і гайок 74 і 75.
Механізм переміщення поперечини (рис.13) розміщений на стійках і складається з двох черв'ячних редукторів, що приводяться в рух окремим реверсивним електродвигуном. Зубчаста муфта, що складається з напівмуфт 82 і 83, з'єднує вал електродвигуна з валом XXX і служить для встановлення поперечини паралельно робочої поверхні планшайби.
Поперечка може встановлюватись на направляючих стійок на різній висоті в межах свого ходу.
Для предотобертання падіння поперечки при випадковому зрізі витків основної гайки 75 (74) є сталева гайка-уловлювач 180 (див. рис. 12).
Затискач поперечки здійснюється електродвигуном, який через черв'ячний редуктор (черв'як 76 і черв'ячне колесо 77) приводить у обертання гвинти 78 і 80. При переміщенні гайок 79 і 81 повертається важелі 181 і 154 - відбуваються затискач поперечини. Зусилля зажину можна регулювати. Правила регулювання дивись у підрозділі 2.4. "Регулювання", пункт 2.4.5.
Механізм переміщення поперечини сблокирован з механізмом зажиму і освобождения при помощи конечных выключателей.
При натисканні кнопок переміщення поперечини "Вгору" або "Вниз" включається електродвигун затискача та звільнення поперечини. Починають переміщатися гайки 79 і 81 відбувається відведення затискних важелів 154. Гайки 79 і 81, дійшовши до кінцевих вимикачів, натискають на них; вимикається електродвигун затиску та звільнення поперечини та включається електродвигун її переміщення. Поперечка починає рухатися. Її переміщення триває доти, доки натиснута кнопка чи поки поперечина не натисне однією з кінцевих вимикачів, обмежують її переміщення. Після закінчення переміщення відбувається автоматичний затискач поперечки на направляючих стійках.
На поперечині є пристрій підтримки ступінчасто-постійної швидкості різання при обробці торцевих поверхонь. При переміщенні правого супорта до центру або центру планшайби, ролик колійного перемикача, закріпленого на супорті, натискається виступами рейки 182 і дає команду для збільшення або зменшення чисел оборотів планшайби. Цим самим забезпечується підтримка ступінчасто-постійної швидкості різання (дивись частину 2 керівництва "Електроустаткування верстатів").

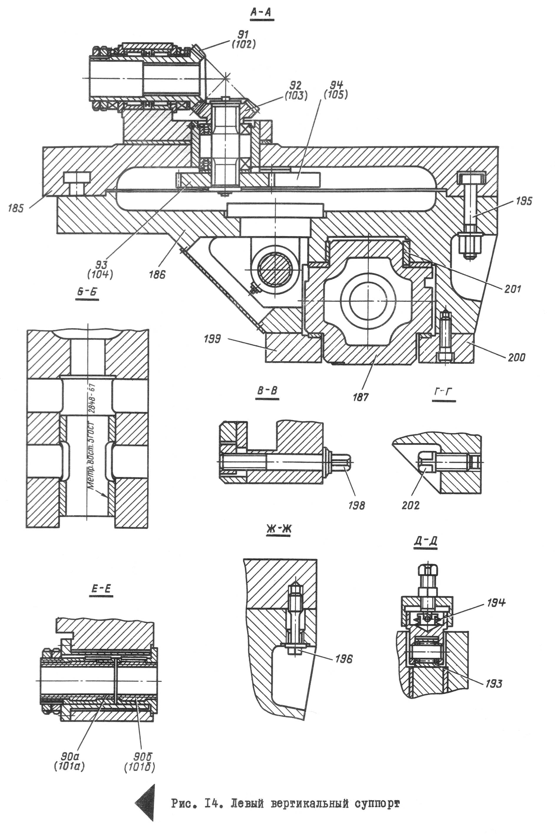
Лівий вертикальний суппорт токарно-карусельного верстата 1Л532
Лівий вертикальний супорт токарно-карусельного верстата 1Л532. Дивитись у збільшеному масштабі

Лівий вертикальний суппорт токарно-карусельного верстата 1Л532
Лівий вертикальний супорт токарно-карусельного верстата 1Л532. Дивитись у збільшеному масштабі
На рис. 14 зображено лівий вертикальний супорт. Правий суппорт го конструкції аналогічний лівому і відрізняється лише правим виконанням корпусних деталей.
Супорт складається з нижньої частини - поперечних санок 185, що переміщаються горизонтальними напрямними поперечини; верхньої поворотної частини - поворотних санок 186; повзуна 187, що переміщається у направляючих поворотних санчат, і механізму приводу руху супорта і повзуна.
Поперечні санки виконані у вигляді плити, посиленої ребрами твердості. З заднього боку санки мають плоскі напрямні, форма і розміри яких відповідають переднім напрямним поперечини.
Планки 188 і 189 і клини 190, 191 і 192, встановлені з задньої сторони поперечних санок, утримують їх на направляючих поперечини. За допомогою клинів здійснюється регулювання зазору між напрямними та планками, що виникає в процесі експлуатації верстата. Крім того, для вибору зазору між нижньою направляючою поперечкою та санчатами, а також зменшення зносу середньої напрямної та полегшення переміщення супорта, встановлені два розвантажувальні пристрої. Ролик 193, змонтований на голчастому підшипнику, котиться по верхній направляючій поперечині. Тарілчастими пружинами 194 суппорт підтягується вгору, розвантажуючи при цьому напрямну поперечки приблизно на 3/4 його маси. Правила регулювання розвантажувального пристрою викладені у підрозділі 2.4. "Регулювання", пункт 2.4.9.
На передній площині поперечних санок зроблені кругові Т-подібні пази, які входять болти 195 кріплення поворотних санок.
Зважаючи на те, що напрям обертання планшайби реверсується, а лівий суппорт як і правий, може працювати на "відрив", поворотні санки мають додаткове кріплення гвинтом 196.
Поворотні санки можуть бути повернені на 30° як в одну, так і в іншу сторону. Поворот здійснюється вручну за допомогою черв'яка 99 (110), закріпленого на поворотних санках, і зубчастого сектора 100 (111), зубці якого нарізані на периферії поперечних санок. Гвинт 196 при цьому повинен бути викручений.
Горизонтальні переміщення супорта по направляючих поперечинах здійснюються за допомогою ходового ггвинта 72 (73) (див. рис. 5) та гайки 90 (101) (див. рис. 14), жорстко пов'язаної з супортом. Ходовий гвинт отримує обертання від вихідного валу ХХХІІІ (ХХІ) коробки подач (див. рис. ІІ). Гайка 90 (101) (див. рис. 14) складається з двох половин, одна з яких 90б - нерухома щодо супорту, а інша - 90а - має можливість осьового переміщення, що дозволяє регулювати зазор у різьбовому з'єднанні у разі зношування гайки (докладніше см .підрозділ 2.4.
Горизонтальні переміщення супорта обмежені жорсткими упорами 184 (див. рис. 12) та кінцевими вимикачами, встановленими на поперечині. Для обмеження зближення супортів на лівому супорті встановлено жорсткий упор 197 (див. рис. 14). Для закріплення супорта на направляючих поперечини в положенні служить гвинт 198.
Повзун супорта переміщається по направляючих поворотних санчат. Його переміщення обмежується кінцевими вимикачами. Рух повзуну передається від коробки подач через ходовий вал поперечки XXXIV (ХХII) (ом. рис. 11) і далі через конічну пару 91 і 92 (102 і 103) (див. рис. 14), систему шестерень 93 і 94 (104 і 105); 95 і 96 (106 і 107) на ходовий гвинт 97 (108) і гайку 98 (109), жорстко пов'язану з повзуном. Конструкція гайки дозволяє регулювати проміжок у різьбовому з'єднанні (див. підрозділ 2.4. "Регулювання", пункт 2.4.7.).
Корпус повзуна відлитий із чавуну і має замкнутий переріз достатньої жорсткості. Повзун утримується на направляючих поворотних санчат планками 199 і 200 і клинами 201.
Для закріплення повзуна на направляючих поворотних санчат служить гвинт 202.
Кріплення оправок різального інструменту в гнізді повзуна здійснюється за допомогою клину.
Змащування вертикальних супортів здійснюється багатоточковими лубрикаторами (див. підрозділ 1.4. "Система змащення").
Крім механічного переміщення вертикальний суппорт та його повзун мають ручне переміщення. На рис. 15 показано механізм ручного вертикального переміщення повзуна лівого супорта. Лімб 204 можна повернути і встановити на нульовий поділ. Для цього необхідно відпустити гайку 205 і натиснути тягу 206, яка пов'язана штифтом 207 конусною втулкою 208. Переміщаючись, конусна втулка звільнить лімб 204, і він отримає можливість повертатися на ній. Після встановлення лімба гайку 205 необхідно знову затягнути.
Механізм ручного горизонтального переміщення суппорта аналогичен механізму ручного вертикального переміщення ползуна.
Керування головним приводом верстата производится о подвесного пульта керування (см.Рис.4).
Пуск і зупинка електродвигуна головного приводу і електродвигуна насоса змазки осуществляется одновременно кнопками "Пуск" і "Стоп" головного привода.
Вибір та встановлення необхідного числа оборотів планшайби здійснюється поворотом рукоятки перемикача чисел оборотів.
Пуск і зупинка планшайби здійснюється кнопками "Пуск" та "Стоп" планшайби.
Для встановлення та вивіряння виробу на верстаті передбачено поштовховий пуск планшайби. Щоб здійснити поштовховий пуск планшайби, треба перемикач 23 поставити в положення "Поштовховий пуск". У натиснутому стані кнопки "Пуск" планшайби 20 відбуватиметься її обертання на найменших числах оборотів незалежно від встановленої величини чисел оборотів при відпусканні кнопки - гальмування.
Обточування торцевих поверхонь зі ступінчасто-постійною швидкістю різання можливе лише правим вертикальним супортом. Увімкнення і відключення пристрою для підтримки ступінчасто - постійної швидкості різання можна проводити як при зупиненій, так і при планшайбі, що обертається, перемикачем ступінчасто-постійної швидкості різання 19.
Для здійснення робочих або настановних переміщень супортів двопозиційні перемикачі 8 та 16 встановлюються у положення, що відповідає робочим подачам або настановним переміщенням. Інші двопозиційні перемикачі 7 і 17 встановлюються в положення "Тормо включений" (для виключення можливості іншого руху супорта). Ці ж перемикачі встановлюються у положення "Гальмо відключено" лише у разі потреби додаткових ручних переміщень у процесі різання. Рукоятками хрестових перемикачів 10 і 14 встановлюється необхідний напрямок руху супорта, а натисканням центральної кнопки на ньому проводиться увімкнення робочої подачі.
Що ж до настановних переміщень, то вони, на відміну від робочих подач, продовжуються лише доти, доки натиснута центральна кнопка, і припиняються при її відпусканні.
Вимкнення робочої подачі проводиться встановленням рукоятки хрестового перемикача в нейтральне положення.
Вибір величини подачі здійснюється поворотом рукояток 9 і 15 повзункового перемикача.
Ручні переміщення супортів здійснюються маховиками (див. рис. 3). При ручних переміщеннях супортів двопозиційний перемикач 7 і 17 (див. рис. 4) відповідного супорта повинен бути встановлений у положення "Гальмо відключено".
Керування переміщенням поперечини здійснюється двома кнопками, розташованими на лівій стінці підвісного пульта керування. Одна кнопка відповідає переміщенню поперечини нагору, інша - вниз. Переміщення поперечини триває до тих пір, поки натиснута кнопка або поки поперечина не дійде до верхнього або нижнього крайнього положення. У цьому випадку електродвигун переміщення поперечини буде вимкнений одним із кінцевих вимикачів.
Поперечка після опускання автоматично піднімається на 20-30 мм, що сприяє усуненню люфтів у механізмі її переміщення.
Встановлення інструменту
Кріплення інструменту типу свердлів, розгорток, зенкерів виробляється у конічних отворах повзунів за допомогою затяжних клинів.
Кріплення різців проводиться в багаторізцевих оправках (рис. 27) з конічним хвостовиком, за допомогою якого вони закріплюються в повзунах.
У процесі експлуатації верстата виникає потреба у регулюванні його окремих складових частин та елементів з метою відновлення їх нормальної роботи.
З метою попередження передчасного зношування ременів необхідно стежити за тим, щоб вал електродвигуна головного приводу був паралельний осі шківа коробки швидкостей та канавки шківів збігалися (рис. 30).
Непаралельність осей обертання, що допускається, повинна бути не більше 1 мм на 100 мм довжини, а допуск на зміщення канавок шківів повинен бути не більше 2 мм на 1 м міжцентрової відстані і збільшуватися не більше ніж на 0,2 мм на кожні 100 мм міжцентрової відстані понад 1м.
При ослабленні ременів необхідно зняти верхню частину кожуха, відпустити гвинти 209 кріплення електродвигуна і натягнути ремені шляхом усунення електродвигуна ггвинтами 210.
Правильно натягнуті ремені не повинні мати помітного на око провисання. Після закінчення регулювання гвинти 209 знову затягують і верхню частину кожуха ставлять на місце.
Комплектація нових ременів з ременями, що були у вжитку, неприпустима!

Шпиндель стола токарно-карусельного верстата 1Л532
Шпиндель стола токарно-карусельного верстата 1Л532. Дивитись у збільшеному масштабі
Регулювання підшибників шпинделя столу (рис. 31) зводиться до зменшення радіального зазору за рахунок збільшення зовнішніх діаметрів внутрішніх кілець підшибників шляхом напресування їх на конічні шийки шпинделя 172. Порядок регулювання наступний:
Це регулювання може знадобитися внаслідок зносу направляючих або після їх перешабрування під час ремонту (див. рис.31). Порядок регулювання наступний:
У процесі експлуатації верстата необхідно періодично контролювати знос щіток електромагнітних муфт (рис.32).
Електромагнітні муфти та щітки стають доступними для огляду та регулювання після зняття відповідних кришок. Знос щіток контролюється запасом ходу, що залишився у зношеної щітки. Виготовляється це наступним чином: щіткотримач 224 викручується на один оборот, і якщо при цьому контакт переривається, зношену щітку 225 слід замінити на нову.
Для заміни дисків електромагнітних муфт необхідно демонтувати вузол, де вони встановлені. При заміні зношених дисків муфти повинні збиратися таким чином, щоб перший диск з боку котушки для гальмівних муфт був нерухомий, а для робочих обертався з котушкою синхронно.
Приступаючи до регулювання потрібно перевірити, чи загвинчені шпильки 153 до упору. Потім установкою кінцевих вимикачів провести налаштування затискних важелів 154 на величину відтискання, при цьому зазор між затискними важелями і притискними поверхнями проміжних планок повинен бути в межах 0,5..1 мм. Потім необхідно зупинити гайки 158 ггвинтами 183 з метою предотобертання самовідгвинчування.
Зусилля затискача поперечини регулюється за допомогою реле максимального струму, яке вимикає електродвигун затискача поперечини. На шкалі реле попередньо встановлюється струм 2,5 Ампера і проводиться випробування затискача та звільнення поперечки. Достатність зусилля затискача перевіряється наступним чином: поперечину затискають на направляючих і, обертаючи вручну вал електродвигуна (див. рис. і), викручують гвинти переміщення поперечини, попередньо вигвинтивши на 2-3 обороти завзяті гвинти 163. Якщо при цьому затискання напрямним, зусилля зажину достатньо. Якщо ж поперечка опускається донизу, то зусилля затиску недостатньо і потрібно збільшити силу струму; Збільшення сили струму понад 4 ампери не виробляти!

Гайка горизонтального переміщення суппорта токарно-карусельного верстата 1Л532
Гайка переміщення суппорта токарно-карусельного верстата 1Л532. Дивитись у збільшеному масштабі
У разі зношування гайок 90 (101) і появи люфта в різьбовій парі гвинт-гайка слід його усунути.
Для цього суппорт ставлять у положення, при якому 90 гайки (101) стають доступними через вікна в поперечині. Гайки 226 звільняють від запобіжної шайби 227 та їх поворотом на різьбовій частині гайок 90 (101) усувають зайвий зазор у різьбовій парі.
У процесі регулювання зазору, при переміщенні супорта вручну, необхідно контролювати легкість його руху.
Після закінчення регулювання натяжні гайки 226 закріплюють запобіжною шайбою 227 від самовідгвинчування.
Регулювання зазору в різьбовій парі гвинт-гайка вертикального переміщення повзунів здійснюється наступним чином: повзун ставлять у будь-яке положення, при якому є вільний доступ до гайок 98 (109). Потім гайки 229 звільняють від запобіжної шайби 230 та їх поворотом на різьбовій частині гайок 98 (109) усувають зайвий зазор у різьбовій парі.
У процесі регулювання зазору при переміщенні повзунів вручну необхідно контролювати легкість його руху.
Після закінчення регулювання натяжні гайки 229 закріплюють запобіжною шайбою 230 від самовідгвинчування.

Пристрій регулювання клиньєв токарно-карусельного верстата 1Л532
Пристрій регулювання клиньєв токарно-карусельного верстата 1Л532. Дивитись у збільшеному масштабі
При зносі направляючих верстата виникають зазори, що перевищують допустимі, що негативно позначається на точності верстата. Їх усунення здійснюється регулюванням клинів (рис. 36), для чого відпускається внутрішня гайка 232, а зовнішньою гайкою здійснюється переміщення клина так, щоб він щільно прилягав до поверхні ковзання та опорної поверхні. При цьому щуп 0,04 мм не повинен заходити між сполученими поверхнями, "Закушування" щупа з торців у направляючих допускається на глибину до 25 мм лише на окремих ділянках торців. Після закінчення регулювання гайки 232 затягуються.
Регулювання проводиться наступним чином (рис. 37): відпускається стопорна гайка 233 і обертанням ггвинта 234 регулюється стиснення тарілчастих пружин 194. Після закінчення регулювання стопорна гайка 233 затягується.
Необхідно пам'ятати, що надмірна, так і слабка затяжка тарілчастих пружин веде до погіршення умов роботи вертикального супорта.
У процесі експлуатації верстата необхідно 1 раз на місяць проводити профілактичне чищення кулачків кріплення заготовки.
Перш ніж приступити до розбирання верстата, потрібно розставити всі рухомі складові частини верстата в положення, зручні для наміченого демонтажу. Вступним автоматом відключити станок від електромережі. Злити масло|мастило| з демонтованих складових частин.
При розбиранні окремих механізмів верстата слід скористатися наявними у керівництві кресленнями.
Демонтаж складових частин верстата повинен проводитись у строго визначеній послідовності.
Перш ніж зняти коробки подач, потрібно від'єднати від них електропроводи та витягнути вертикальні вали механізму передачі руху на подачу (див. демонтаж механізму передачі руху на подачу). Зняти з лівої коробки подач покажчик потужності. Від'єднати від ходових валів та ходових гвинтів поперечини сполучні муфти вихідних валів коробок подач.

Настановне креслення токарно-карусельного верстата 1Л532
Настановне креслення токарно-карусельного верстата 1Л532. Дивитись у збільшеному масштабі
Електроустаткування верстатів состоит из електродвигателей, електрических органів керування, конечных выключателей для ограничения перемещений подвижных складових частин верстата в апаратури керування.
На верстатах встановлені шість трифазних асинхронних електродвигунів із короткозамкненим ротором; головного приводу IMI, приводу маслонасосу IM2, переміщення поперечини IM3, ого супорта 2М2 і 2МЗ, лівого супорту ЗМ2 та ЗІЗ.
На верстаті прийняті наступні величини напруги:
а) змінного струму, частотою 50Гц:
б) постійного струму:
На прохання замовника станок може бути виконаний і поставлений з електрообладнанням на необхідну напругу.
Вся електроаппаратура керування верстатом размещена в електрошкафу. Керування верстатом осуществляется з подвесного пульта керування.
Електроустаткування верстата выполняет наступні функции:
| Найменування параметру | 1525 рік | 1L532 |
|---|---|---|
| Основні параметри верстата | ||
| Найбільший діаметр виробу, що обробляється вертикальним та бічним супортами, мм. | 2500 | 3150 |
| Найбільша висота виробу, що обробляється, мм | 1600 | 1600 |
| Діаметр планшайби, мм | 2240 | 2800 |
| Найбільша маса виробу, що встановлюється, кг | ||
| при 1,25..40 оборотах планшайби за хвилину | - | 16000 |
| при 1,6..50 оборотах планшайби за хвилину | 16000 | - |
| при 50..63 оборотах планшайби за хвилину | - | 9000 |
| при 160 оборотах планшайби за хвилину | 1900 рік | |
| при 63..80 оборотах планшайби за хвилину | 8000 | - |
| Вертикальні супорти | ||
| Кількість вертикальних супортів | 2 | 2 |
| Найбільше горизонтальне переміщення, мм | 1390 | 1720 рік |
| Найбільше вертикальне переміщення, мм | 1200 | 1200 |
| Ціна поділу лімба горизонтального та вертикального переміщення, мм | 0,05 | 0,05 |
| Горизонтальне та вертикальне переміщення за один оберт лімба, мм | 2,5 | 2,5 |
| Найбільший кут повороту повзуна супорта, град | 30 | 30 |
| Ціна поділу лімбу попорота повзуна супорта, мін | 1 | 1 |
| Ціна поділу шкали повороту повзуна супорта, град | 1 | 1 |
| Найбільші розміри перерізу державки різця (ширина х висота), мм | 40 х 63 | 40 х 63 |
| Швидкість настановних переміщень, мм/хв. | 5..1800 | 5..1800 |
| Поперечина | ||
| Найбільше переміщення, мм | 1240 | 1240 |
| Швидкість переміщення, мм/хв | 360 | 360 |
| Вимикаючі упори | Є | Є |
| Блокування переміщення у процесі різання | Є | Є |
| Механіка верстата | ||
| Число швидкостей планшайби | 18 | 18 |
| Число оборотів планшайби за хвилину при прямому та зворотному обертанні, об/хв | 1,6..80 | 1,25..63 |
| Кількість подач супортів | 18 | 18 |
| Вертикальні та горизонтальні подачі супортів, мм/про | 0,04..16 | 0,04..16 |
| Найбільше можливе зусилля різання двома супортами, кгс | 6700 | 6700 |
| Швидкість настановних переміщень супортів, мм/хв. | 5..1800 | 5..1800 |
| Електроустаткування та привід верстата | ||
| Рід струму живильної електромережі | ~380 В, 50 Гц | ~380 В, 50 Гц |
| Кількість трифазних електродвигунів встановлених на верстаті | 6 | 6 |
| Кількість однофазних електродвигунів встановлених на верстаті | 5 | 5 |
| Електродвигун приводу головного руху 1М1, кВт | 40 | 55 |
| Електродвигун мастила (входить до комплекту насоса) 1М2, кВт | ||
| Електродвигун переміщення поперечки 1М3, кВт | 5,2 | 7,5 |
| Електродвигун затискача поперечки 1М4, кВт | 1,3 | 1,3 |
| Електродвигун настановних переміщень правого 2М1 та лівого 3М1 супортів, кВт | 3,0 | 3,0 |
| Електродвигун приводу системи змащення поперечки 1М5, Вт | 10 | 10 |
| Електродвигун приводу системи змащення правого супорта 2М2 та 2М3, Вт | 10 | 10 |
| Електродвигун приводу системи мастила лівого супорта 3М2 та 3М3, Вт | 10 | 10 |
| Габарит та маса верстата | ||
| Габарит верстата (довжина х ширина х висота), мм | 5065 х 5340 х 4910 | 5485 х 6120 х 4910 |
| Маса верстата, кг | 35500 | 43000 |