Відомості про виробника токарно-карусельного верстата 1Е512ПФ2І з УЦІ
Розробником та виробником токарно-карусельного верстата 1Е512ПФ2І є Краснодарський верстатобудівний завод Сєдіна , заснований у 1911 році.
У 1915 році було випущено перший токарний верстат. У 1922 році підприємство отримало свою сучасну назву — на честь токаря Сєдіна Г. М.
У 1935 році був випущений перший токарно-карусельний верстат моделі 152, а до 1937 р. визначився пріоритетний профіль заводу - верстатобудування, і в першу чергу виробництво токарно-карусельних верстатів.
Верстати токарно-карусельні виробництва Краснодарського верстатобудівного заводу, КСЗЗ
Верстат токарно-карусельний одностоєчний 1Е512ПФ2І підвищеної точності з УЦІ. Призначення та сфера застосування
Одностоєчні токарно-карусельні верстати моделей 1Е512ПФ2І та 1Е516ПФ2І є універсальними верстатами та призначені для обробки різноманітних виробів з чорних та кольорових металів в умовах дрібносерійного та серійного виробництва.
На верстаті 1Е512ПФ2І можна проводити циліндричне та конічне обточування та розточування, проточування площин, свердління, зенкерування та розгортання отворів, а також напівчистове та чистове обточування плоских торцевих поверхонь.
Принцип роботи та особливості конструкції верстата 1Е512ПФ2І
На токарно-карусельних верстатах 1Е512ПФ2І , 1Е516ПФ2І можливі всі види токарної обробки заготовок, що мають прямолінійні поверхні, а при встановленні електрокопіювального пристрою обробка заготовок, що мають криволінійні поверхні, з високою точністю та стабільністю розмірів.
На верстатах встановлюється один верхній супорт із п'ятипозиційною револьверною головкою. За бажанням замовника верстат додатково комплектується бічним супортом.
Висока продуктивність, точність, довговічність, надійність забезпечуються такими конструктивними особливостями верстатів:
- електронна система ручного керування з цифровим позиційним регулюванням, можливе встановлення ЧПУ;
- головний привід електродвигуна постійного струму;
- індивідуальний кожної осі привід подач постійного струму;
- кулькові ходові гвинти для обох подач;
- опори планшайби на гідростатичних направляючих з постійними дроселями, що сприймають радіальні та осьові навантаження;
- загартовані напрямні поперечки і повзуна, а контрнапрямні мають бронзові накладки чи опори кочення;
- захист направляючих поверхонь;
- невеликий допоміжний час за рахунок високої швидкості прискорених переміщень супорту до 6000 мм/хв та автоматичної зміни інструменту за допомогою револьверної головки;
- імпульсна система мастила робочих органів, автоматичний контроль наявності мастила, мінімальна витрата її.
- Конструктивне наповнення шпиндельного вузла з гідростатичними напрямними, що сприймають осьові та радіальні навантаження, забезпечують високу точність обертання планшайби (биття планшайби не більше 3 мкм), високу жорсткість і здатність, що демпфує.
- Електродвигун постійного струму на головному приводі забезпечує високу продуктивність різання за рахунок великої потужності та високої швидкості.
- Точність переміщення супорта та сприйняття великих навантажень забезпечується загартованими та шліфованими напрямними у поєднанні з опорами кочення з попереднім натягом.
Система керування верстатом на основі електронних елементів у поєднанні з режимом, що стежить, забезпечує можливість нарізання будь-якого кроку різьблення, обробку конічних поверхонь, роботи в режимі фіксованих переміщень, роботи від електронного маховика.
- UCI LUMO 11 або K525
- Датчик -Фотоелектричний імпульсний
- Число керованих координат, всього/одночасно - 2/1
Наявність пристрою цифрової індикації забезпечує автоматичне виконання розмірних переміщень супорту за заданою програмою.
Гарантується висока точність та стабільність фіксації револьверної головки.
Система Інструментів Інструментальна головка верхнього супорта з автоматичним поворотом та фіксацією у п'яти положеннях забезпечує технологічні можливості обробки різних деталей без втрат часу на зміну інструментів.
Приладдя, що постачається зі верстатом
- комплект кулачків для закріплення заготівлі;
- комплект оправок для закріплення різального інструменту;
- комплект ключів.
Пристосування, які постачаються на вимогу замовника за окрему плату
- супорт боковий з УЦІ;
- пристрій для обробки з охолодженням;
- пристрій для обробки фасонних поверхонь тіл обертання по копіру верхнім супортом (електрокопіювальний пристрій).
Габарит робочого простору токарно-карусельного верстата 1Е512ПФ2І з УЦІ

Габарит робочого простору токарно-карусельного верстата 1Е512ПФ2І з УЦІ
Габарит робочого простору токарно-карусельного верстата 1Е512ПФ2І з УЦІ. Дивитись у збільшеному масштабі
Посадочні та приєднувальні бази токарно-карусельного верстата 1Е512ПФ2І

Посадочні та приєднувальні бази верстата 1Е512ПФ2І
Посадочні та приєднувальні бази токарно-карусельного верстата 1Е512ПФ2І. Дивитись у збільшеному масштабі
Загальний вигляд токарно-карусельного верстата 1Е512ПФ2І

Фото токарно-карусельного верстата 1Е512ПФ2И
Фото токарно-карусельного верстата 1Е512ПФ2І. Дивитись у збільшеному масштабі

Фото токарно-карусельного верстата 1Е512ПФ2И
Фото токарно-карусельного верстата 1Е512ПФ2І. Дивитись у збільшеному масштабі

Фото токарно-карусельного верстата 1Е512ПФ2И
Фото токарно-карусельного верстата 1Е512ПФ2І. Дивитись у збільшеному масштабі
Схема розташування основних вузлів токарно-карусельного верстата 1Е512ПФ2І

Схема розташування основних вузлів токарно-карусельного верстата 1Е512ПФ2І
Схема розташування основних вузлів токарно-карусельного верстата 1Е512ПФ2І. Дивитись у збільшеному масштабі
Перелік основних частинин токарно-карусельного верстата 1Е512ПФ2І
- Станина 100
- Огорожа 35
- Редуктор приводу головного руху 213, 215 за спецзамовленням
- Установка головного приводу (підмоторна рама) 257
- Стіл 302
- Пристрій мастила редуктора приводу головного руху та гідророзтиску поперечки 343
- Редуктор горизонтальний 405
- Редуктор вертикальний 406
- Поперечина 500
- Teлескопічний захист направляючих поперечки 540
- Механізм підйому поперечки 570
- Супорт верхній револьверний 652
- Датчик горизонтальний верхнього супорта 830
- Датчик вертикальний верхнього супорта 831
- Датчик обертів планшайби 880
- Датчик обертів електродвигунів приводів подач 883
- Пульт керування 970
- Електрошафа 982 Електроустаткування верстата 960
Розташування органів керування токарно-карусельним верстатом 1Е512ПФ2І

Розташування органів керування токарно-карусельним верстатом 1Е512ПФ2І
Розташування органів керування токарно-карусельним верстатом 1Е512ПФ2І. Дивитись у збільшеному масштабі
Перемикачі та кнопки пульта керування токарно-карусельного верстата 1Е512ПФ2І
- 1. Перемикач вибору величин частот обертання планшайби та значень окружної (постійної) швидкості різання
- 2. Кнопка "Пуск" обертання планшайби
- 3. Кнопка "Стоп" обертання планшайби
- 4. Перемикач включення постійного та переривчастого обертання планшайби
- 5. Перемикач вибору напрямку обертання
- 6. Перемикач включення щаблів редуктора головного приводу
- 7. Сигнальна лампа завантаження електродвигуна головного приводу, що включається при досягненні завантаження на валу електродвигуна від 70 % і вище від номінальної величини
- 8. Сигнальна лампа перевантаження електродвигуна, що включається при досягненні завантаження на валу електродвигуна головного приводу понад 100...120 % від номінальної величини
- 9. Сигнальну лампу контролю тиску в гідростатиці столу постійно включено; якщо засмічився фільтр починає блимати.
- 10. Сигнальна лампа включення першого ступеня редуктора головного приводу (постійно горить)
- 11. Перемикач вибору виду обробки конічних поверхонь
- 12. Кнопка "Пуск" робочих переміщень супорта та повзуна при обробці конічних поверхонь
- 13. Декадний перемикач набору значень тангенса кута нахилу конічної поверхні, що утворює
- 14. Перемикач вибору режимів роботи на верстаті (ручний, від маховика, фіксованих переміщень та нарізування різьблень)
- 15. Кнопка "Пуск" переміщення супорта від центру
- 16. Кнопка "Пуск" переміщення повзуна вниз
- 17. Перемикач включення гальмівних муфт по горизонтальному та вертикальному напрямкам
- 18. Кнопка "Стоп" переміщення супорта та повзуна
- 19. Кнопка "Пуск" переміщення повзуна вгору
- 20. Кнопка "Пуск" переміщення супорта до центру
Сигнальні лампи вибору режимів роботи:
- 21. Електрокопіювання
- 22. Обробки конічної поверхні
- 23. Нарізання циліндричних різьблень
- 24. Роботи від УЦІУ в режимі переднабору, покадрового відпрацювання програми або автоматичної роботи
- 25. Работа от електронного маховика
- 26. Фіксовані переміщення робочих органів верстата
- 27. Готовність (справність) централізованого змащення верхнього супорта
- 28. Сигнальна лампа вказує на наявність несправностей у контурах зворотного зв'язку за положенням (датчиками, у приводах подач - електричних апаратах керування)
- 29. Перемикач масштабів робочих подач та вибору настановних швидкостей переміщення супорта та повзуна
- 30. Перемикач режимів роботи від УЦІ (переднабору, покадрового відпрацювання програми та автоматичного відпрацювання програми)
- 31. Сигнальна лампа включення режиму роботи від УЦІУ
- 32. Сигнальна лампа "Стоп" (технологічна зупинка) переміщення супорта або повзуна в автоматичному режимі від УЦІУ
- 34. Кнопка "Пуск" переміщень робочих органів верстата при роботі від УЦІУ в режимі переднабору, покадрового та автоматичного відпрацювання програми (з підсвічуванням)
- 35. Кнопка "Стоп" переміщень робочих органів верстата при роботі від УЦІУ в режимі переднабору, покадрового та автоматичного відпрацювання програми
- 36. Електронний маховик – лімб
- 37. Фиксатор електронного маховика
- 38. Декадний перемикач вибору величини робочих подач і кроку різьблення
- 39. Кнопка повороту револьверної головки
- 40. Сигнальна лампа "Револьверна головка затиснута"
- 41. Кнопка "Пуск" переміщення поперечки вгору
- 42. Сигнальна, лампа "Поперечка затиснута"
- 43. Сигнальна лампа "Готовності (справності) централізованої змазки поперечки"
- 44. Кнопка "Пуск" переміщення поперечки вниз
- 45. Декадний перемикач початкового радіусу, з якого починається робота планшайби в режимі окружної (постійної; швидкості різання)
- 46. Перемикач увімкнення та відключення освітлення
- 47. Кнопка включення електроживлення верстата
- 48. Кнопка "Загальний стоп"
- 49. Перемикач корекції частоти обертання планшайби
- 50. Перемикач увімкнення режимів обертання планшайби
- Режим частотних обертань (про/хв)
- Режим окружної (постійної) швидкості різання (м/хв)
- 51 Кнопка увімкнення режиму (постійної) окружної швидкості різання
- 52 Сигнальна лампа включення другого ступеня редуктора головного приводу
Примітка. Перемикачі кнопки і сигнальні лампи встановлюються тільки для станків з відповідними пристроями, що постачаються разом із станком за окрему плату
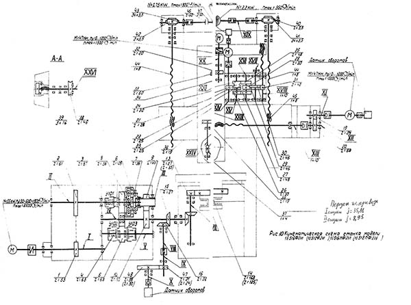
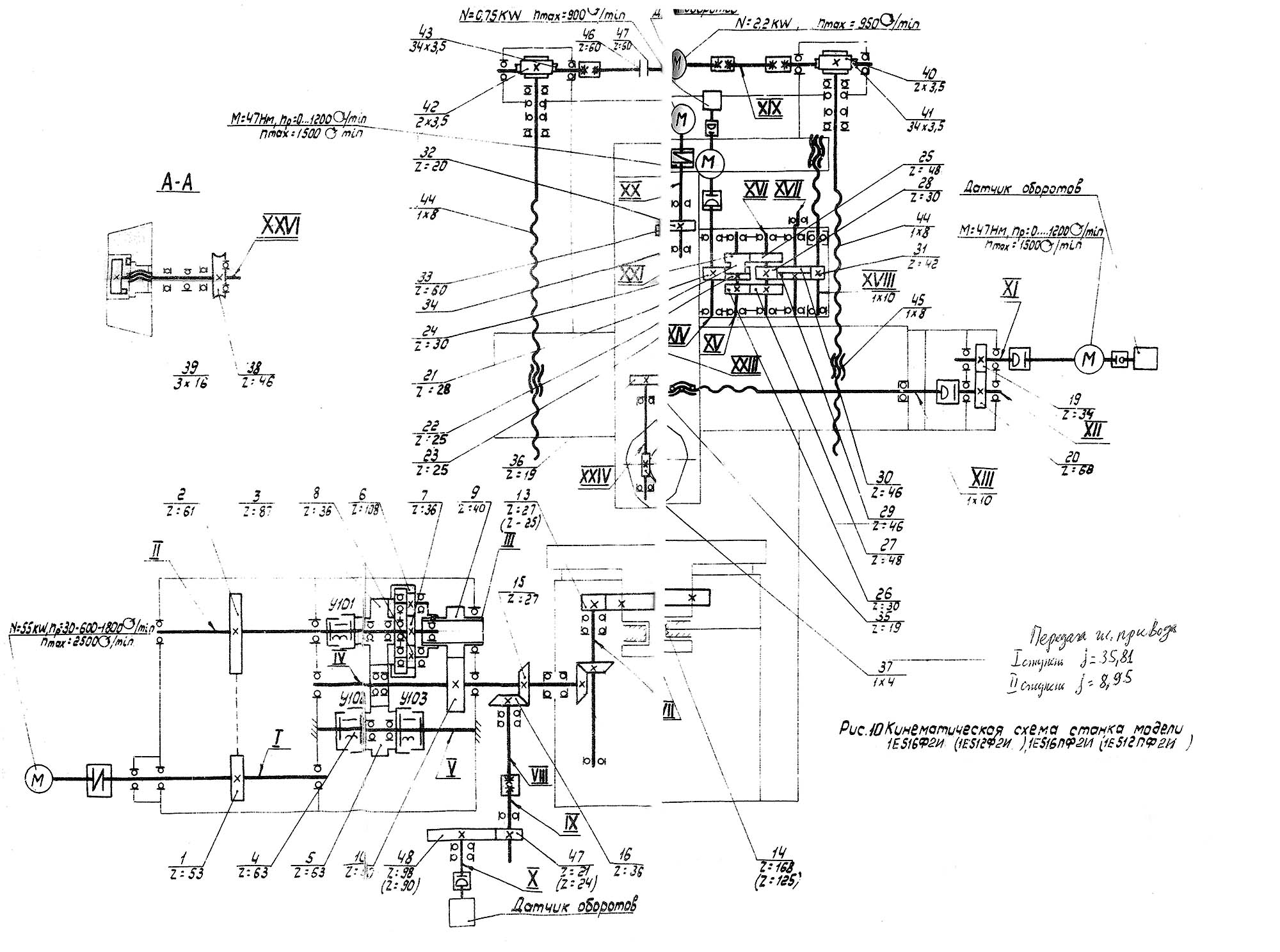
Схема кінематична токарно-карусельного верстата 1Е512ПФ2И

Кінематична схема токарно-карусельного верстата 1Е512ПФ2И
Схема кінематична токарно-карусельного верстата 1Е512ПФ2И. Дивитись у збільшеному масштабі

Редуктор головного приводу токарно-карусельного верстата 1Е512ПФ2И
Редуктор головного приводу токарно-карусельного верстата 1Е512ПФ2И. Дивитись у збільшеному масштабі

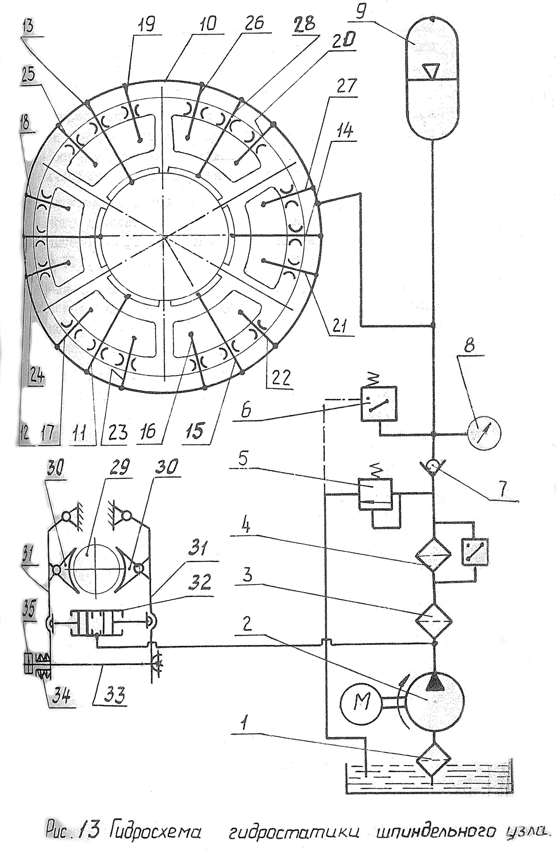
Гідросхема шпиндельного вузла токарно-карусельного верстата 1Е512ПФ2И
Гідросхема шпиндельного вузла токарно-карусельного верстата 1Е512ПФ2И. Дивитись у збільшеному масштабі

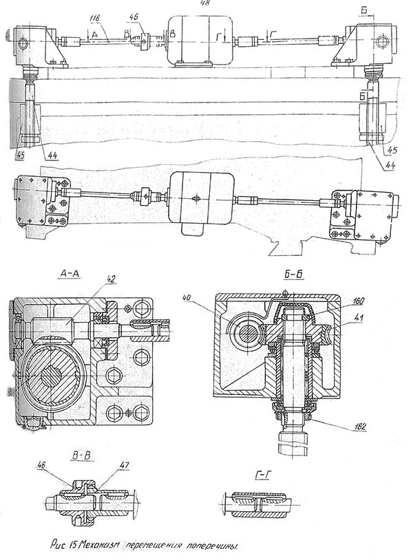
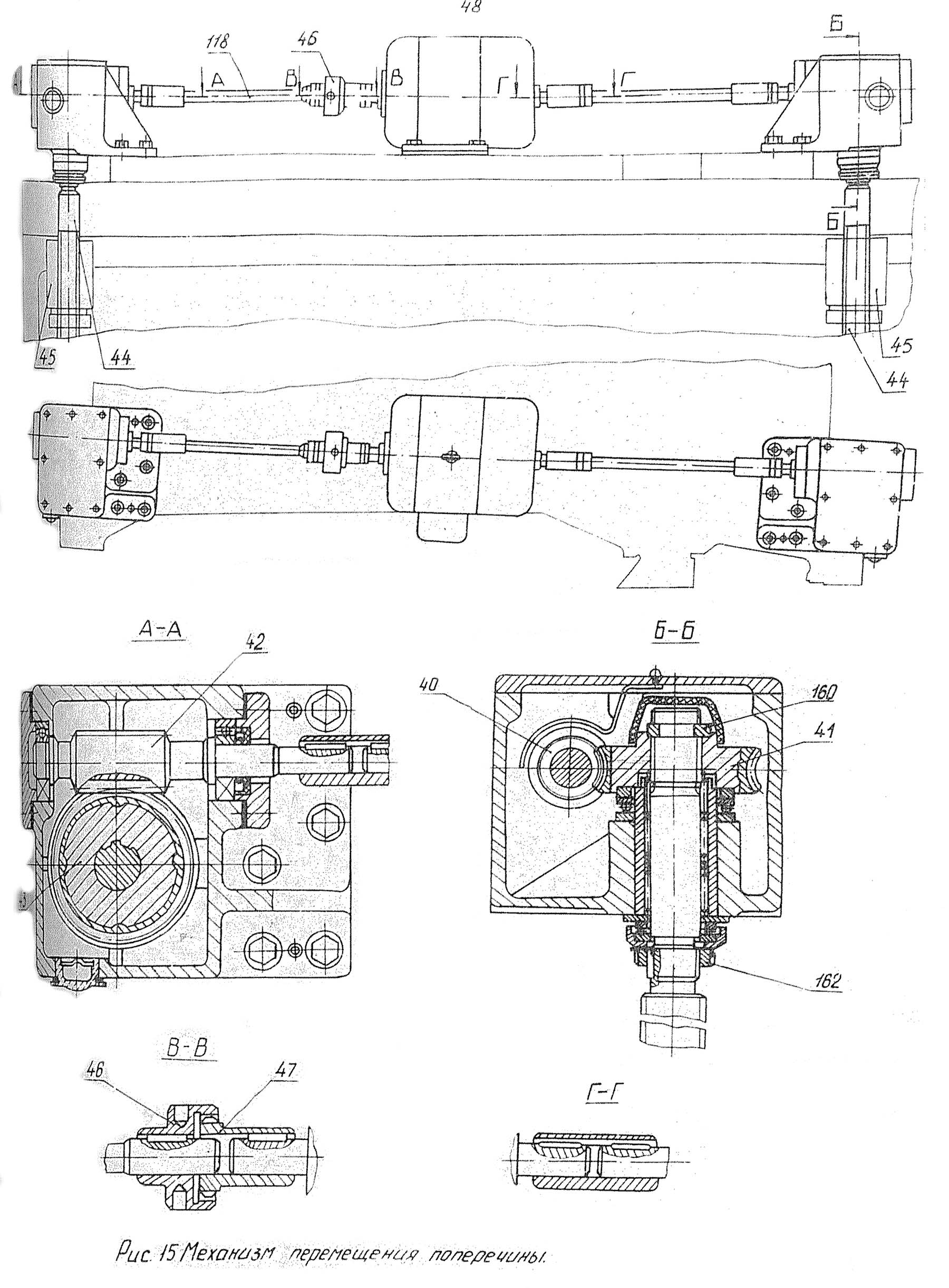
Механізм переміщення поперечини токарно-карусельного верстата 1Е512ПФ2И
Механізм переміщення поперечини токарно-карусельного верстата 1Е512ПФ2И. Дивитись у збільшеному масштабі
Технічні характеристики токарно-карусельного верстата 1Е512ПФ2И
| Найменування параметру |
1512Ф3 |
1516F3 |
1E512PF2I |
1E516PF2I |
| Основні параметри |
|
|
|
|
| Найбільший діаметр виробу, мм |
1250 |
1600 |
1250 |
1600 |
| Найбільша висота виробу, що обробляється, мм |
1000 |
1000 |
1000 |
1000 |
| Діаметр планшайби, мм |
1120 |
1400 |
1120 |
1400 |
| Діаметр центруючого отвору в планшайбі, мм |
150H7 |
260H7 |
150H7 |
260H7 |
| Найбільша маса виробу, що встановлюється, кг |
4000 |
6300 |
|
|
| при 5-80 оборотах планшайби за хвилину |
3200 |
6300 |
|
|
| при 100 оборотах планшайби за хвилину |
3000 |
|
|
|
| при 125 оборотах планшайби за хвилину |
2700 |
|
|
|
| при 160 оборотах планшайби за хвилину |
1900 рік |
|
|
|
| при 200 оборотах планшайби за хвилину |
1300 |
2400 |
|
|
| при 250 оборотах планшайби за хвилину |
1000 |
|
|
|
| Вертикальний супорт |
|
|
|
|
| Найбільше горизонтальне переміщення, мм |
775 |
950 |
810 |
950 |
| Найбільше вертикальне переміщення, мм |
700 |
700 |
700 |
700 |
| Найбільший кут повороту повзуна супорта, град |
45 |
45 |
|
|
| Ціна поділу лімба повороту повзуна супорта, хв |
1 |
1 |
|
|
| Ціна поділу шкали повороту повзуна супорта, град |
1 |
1 |
|
|
| Діаметр отворів револьверної головки супорта, мм |
70А |
70А |
70H7 |
70H7 |
| Найбільші розміри перерізу державки різця (ширина х висота), мм |
25 х 40 |
25 х 40 |
25 х 40 |
25 х 40 |
| Поперечина |
|
|
|
|
| Найбільше переміщення, мм |
660 |
660 |
660 |
660 |
| Швидкість переміщення, мм/хв |
400 |
400 |
450 |
450 |
| Механіка верстата |
|
|
|
|
| Число швидкостей планшайби |
18 |
18 |
Б/с |
Б/с |
| Число оборотів планшайби в минуту |
5..250 |
5..250 |
0,4..315 |
0,15..250 |
| Число подач супортів |
18 |
18 |
Б/с |
Б/с |
| Швидкість робочої подачі супорта, мм/про |
0,01..40 |
0,01..40 |
0,01..99,99 |
0,01..99,99 |
| Найбільше можливе зусилля різання супортом, кгс |
4500 |
4500 |
|
|
| Швидкість настановних переміщень вертикального супорта, мм/хв. |
3000 |
3000 |
6000 |
6000 |
| Найбільший допустимий момент, що крутить, на планшайбі, Н*м |
11000 |
11000 |
20000 |
25000 |
| Привід та електроустаткування верстата |
|
|
|
|
| Рід струму живильної електромережі |
Змінний трифазний |
Змінний трифазний |
Змінний трифазний |
Змінний трифазний |
| Електродвигун приводу головного руху, кВт |
30 |
30 |
|
|
| Електродвигун настановних переміщень супорта, кВт |
3 |
3 |
|
|
| Електродвигун переміщення поперечки, кВт |
2 |
2 |
|
|
| Електродвигун мастила, кВт |
1,5 |
1,5 |
|
|
| Електродвигун повороту та затиску револьверної головки, кВт |
0,8 |
0,8 |
|
|
| Сумарна потужність всіх електродвигунів на верстаті, кВт |
38 |
38 |
|
|
| Габарит та маса верстата |
|
|
|
|
| Габарит верстата (довжина х ширина х висота), мм |
2920 х 3610 х 5615 |
3170 х 3810 х 5615 |
|
|
| Маса верстата, кг |
15500 |
19000 |
15500 |
18000 |