metalinstryment.com
Довідник по металорізальних верстатів та пресовому обладнанні

ВФК-2 Верстат фрезерный з верхним расположением шпинделя
Схеми, опис, характеристики

ВФК-2 Верстат фрезерный з верхним расположением шпинделя







Відомості про виробника фрезерного деревообрабатывающего верстата ВФК-2

Производителем фрезерного верстата ВФК-2 является Днепропетровский станкостроительный завод ДСПО в настоящее время ООО "Станкостроитель".

В СССР Днепропетровский станкостроительный завод специализировался на верстатах фрезерной группы на протяжении всего своего существования. Однако в мае 1999 года ето крупнейшее на Украине производство верстатів было реструктуризировано, і в результате появилось шесть самостоятельных предприятий, одно из которых - ООО "Станкостроитель".





Верстати, выпускаемые Днепропетровскм станкостроительным заводом ДСПО


ВФК-2 Верстат фрезерный з верхним расположением шпинделя. Назначение, область применения

Верстат ВФК-2 - копировально-фрезерный деревообрабатывающий одношпиндельный з верхним расположением шпинделя предназначен для обробки деталей из различных пород древесины. На станке производится фрезерование верхних і боковых прямолинейных і криволинейных поверхностей, выборка пазов і гнезд различной конфигурации, сверление і зенкование отверстий.

На станке ВФК-2 фрезеруют боковые і верхние фигурные поверхности заготовок, пазы, гнезда, а также выполняют несложную резьбу по дереву.

При применении специальных пристосувань на станке можно нарезать короткие різьби (внутренние і наружные), вырезать пробки і выполнять разнообразные художественные роботи.

Верстат ВФК-2 може применяться при производстве мебели, изделий широкого потребления, радио- і телеприемников, вагоностроении і модельном производстве.

Принцип роботи і особливості конструкції верстата ВФК-2

Копировально-фрезерный верстат ВФК-2 состоит из станины з закрепленным на ней при помощи суппорта столом, поднимающимся і опускающимся посредством маховичка.

Над столом на суппорте закреплен електродвигатель, вал которого одновременно является шпинделем. Шпиндель перемещается над столом при помощи педали.

В верхней частини станины подвижно закреплена револьверна поворачивающаяся головка, корпус которой имеет форму косоусеченного цилиндра з упорными гвинтами.

На копировально-фрезерных верстатах ВФК-2 заготовки обрабатывают в специальных приспособлениях (шаблонах), накладывая на них одну или несколько деталей. Пристосуваннядают возможность надежно базировать детали по пласти і не менее чем по двум кромкам, а также быстро крепить і освобождать их.

На станке работает один рабочий. Для выполнения операции он нажимает на педаль, чтобы поднять шпиндель і установить на столе шаблон так, чтобы палец копира входил в прорезь шаблона. В етом положении палец фиксируют, в шаблон ставят заготовку і закрепляют ее. Затем включают електродвигатель і опускают педаль. Упорный винт суппорта шпинделя при етом упирается в базовый упор. Шаблон з заготовкой перемещают вручную по контуру прорези шаблона. На етих верстатах фрезеруют детали і вузли по внутреннему контуру.

Налаштування і експлуатация верстатів

При налаштуванні копировально-фрезерных верстатів сначала правильно устанавливают фрезы (величина заднего угла фрезы должна быть только положительной). На патроне нанесены риски, соответствующие величине заднего угла 30 і 50°. При^обработке древесины твердых пород режущую кромку фрезы устанавливают около риски, соответствующей углу 30°, мягких — величине заднего угла 50°.

Складні частини копировально-фрезерного деревообрабатывающего верстата ВФК-2

  1. Станина ВФК-2.10-000
  2. Стол ВФК-2.20-000
  3. Угольник ВФК-1.22-04
  4. Головка фрезерна ВФК-2.30-000
  5. Держатель пальца ВФК-2.40-000
  6. Ограждение з вытяжным патрубком ВФК-2.60-000
  7. Пневмопривод ВФК-2.70-000
  8. Пневмообладнання ВФК-2.71-000
  9. Електроустаткування ВФК-2.80-000
  10. Двухмашинный агрегат ВФК-1-81-01
  11. Комплект приладдя, инструмента і запчастин ВФК-2.92-000

Органы керування верстатом

  1. Маховичок переміщення стола
  2. Рукоятка фиксации суппорта стола
  3. Рукоятка керування копировальным пальцем
  4. Кнопка зажиму копіювального пальца
  5. Рукоятка поворота револьверної головки з упорами
  6. Винты упоров револьверної головки
  7. Кнопка крепления угольника к столу
  8. Кнопка крепления накладки к угольнику
  9. Винты регулировки прижимных планок
  10. Кнопки увімкнення і виключення головного привода
  11. Тумблер увімкнення местного освещения
  12. Педаль керування подъема і опускания головки фрезерной
  13. Лампа сигнальная
  14. Указатель подъема в опускания стола




Загальний вигляд фрезерного верстата ВФК-2

Загальний вигляд  фрезерного верстата ВФК-2

Фото фрезерного верстата ВФК-2


Загальний вигляд  фрезерного верстата ВФК-2

Фото фрезерного верстата ВФК-2


Загальний вигляд  фрезерного верстата ВФК-2

Фото фрезерного верстата ВФК-2



Опис конструкції копировально-фрезерного деревообрабатывающего верстата ВФК-2

Фрезерные верстати з верхним расположением шпинделя бывают копировальные з ручной подачей (ВФК-2) і з приводными съемными роликами для переміщення шаблона (ВФК 3). Для массового фрезерування криволинейных кромок брусковых деталей выпускают верстати карусельні одношпиндельные (Ф1К-2) і двухшпиндельные (Ф2К-3).

Фрезерный верстат з верхним расположением шпинделя ВФК-2 показан на рис. 100. На станине верстата размещен стол і шпиндельный супорт 6. К суппорту на поворотной головке прикреплен высокооборотный електрошпиндель, который вращается з частотой 18000 об/мин. Питание електрошпинделя осуществляется електрическим током підвищеної частоти (300 Гц) от преобразователя.

На кінці шпинделя находится отверстие, выполненное з конусом Морзе № 2а, для закрепления патрона з фрезой.

Подача на глубину обробки производится вертикальным переміщенням шпиндельного суппорта з помощью пневмоприводу педалью. Величина переміщення суппорта устанавливается винтом, взаимодействующим з упором 8. Для быстрой переналагодження на разную глубину паза применяют несколько винтов-ограничителей, которые ввернуты на заднюю высоту в поворотную головку.

Для поздовжньої обробки деталей используют стол і направляющую линейку. Стол регулируют по высоте маховичком. Для копировальных работ обрабатываемую заготовку укладывают в шаблон (на рисунке не показан), в нижней частини которого расположен копирный паз, соответствующий профилю обробки детали. Заготовку подают вручную путем переміщення шаблона по направляющему пальцу, которым управляют ручкой. В верстатах з механической подачей (ВФК-3) для переміщення шаблона используют приводные съемные ролики.

Наладка верстата

При наладке фрезерных копировальных верстатів следует:

Для фрезерно-копировальных работ используют кінцівые фрезы, составной инструмент из кінцівой і дисковий фрез, а также спиральные сверла. На фрезерных карусельных верстатах применяют насадные сборные фрезы. Типы фрезы выбирают в зависимости от вида обробки. Перед установкой на верстат проверяют качество подготовки фрез.

Концевые фрезы должны быть заточены по передньої грани (с внутренней стороны) з сохранением угловых параметров заточки. Угол заточки у кінцівой фрезы выбирают в зависимости от породы древесины і принимают равным 30° при обработке древесины дуба, бука, ясеня і 20° — при обработке древесины сосны, ели, липы. У заточенной фрезы отклонение углов різання от номинальных допускается не более ±1°. Торцовые поверхности фрезы должны мати поднутренние к центру на 1…20. Трещины, забоины і выкрашивания на поверхности фрезы не допускаются.

Для установки фрез на шпиндель используют патроны. Незатылованные фрезы крепят в специальных патронах, а затылованные фрезы і сверла — в цанговых патронах. Фрезы диаметром до 8 мм устанавливают в патроне з помощью переходной втулки. После сборки фрезы з патроном балансируют.

Крепление незатылованной фрезы в специальном патроне показано на рис. 101. Посадочное отверстие в патроне предназначено для фрезы. Хвостовик, выполненный з конусом Морзе № 2а, устанавливают в конусное отверстие шпинделя. В корпусе патрона расположены по окружности шесть резьбовых отверстий, в которые ввернуты балансировочные винты.

Ось хвостовика смещена относительно оси посадочного отверстия в патроне на ексцентриситет. Это позволяет при вращении шпинделя получать в заготовке пазы, ширина В которых больше диаметра d режущей частини фрезы.


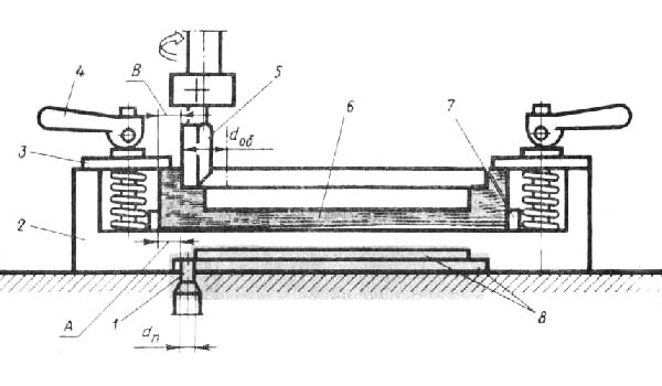
Фрезерный верстат з верхним расположением шпинделя ВФК-2

Рис. 1. Фрезерный верстат з верхним расположением шпинделя ВФК-2


  1. станина
  2. маховичок
  3. стол
  4. направляющая линейка
  5. палец
  6. суппорт
  7. електрошпиндель
  8. упор
  9. упорный винт
  10. поворотная головка
  11. фреза
  12. ручка
  13. педаль

На корпусе патрона имеются риски з обозначениями 0; 30 і 50°. Лезвие фрезы должно находиться между отметками 30 і 50°, что соответствует оптимальному заднему углу різання. Если лезвие фрезы находится на нулевой отметке, то задний угол різання будет равен нулю. Фрезерование при такой установці невозможно из-за сильного трения і нагревания фрезы. Диаметр фрезы і ексцентриситет патрона выбирают в зависимости от заданной ширины паза (диаметр фрезерування).

Балансировку производят путем завинчивания или вывинчивания балансировочных винтов из соответствующего резьбового отверстия патрона. Остаточный дисбаланс допускается не более 2,1 г*мм.

Перед установкой патрона или оправки в шпиндель верстата необходимо навернуть на него диференціальную гайку так, чтобы верхний конец патрона выступал над гайкой на 10 мм. После етого гайку навинчивают на шпиндель, следя за тем, чтобы вместе з гайкой вращался патрон или оправка. После соприкосновения конуса з отверстием шпинделя гайку необходимо довернуть ключом.

Прямолинейные кромки і пазы обрабатывают з помощью направляющей линейки, которую устанавливают на столе верстата на заданном расстоянии от оси шпинделя і крепят гвинтами, а направляющий палец утапливают. Подачу осуществляют вручную против обертання фрезы.


Крепление незатылованной фрезы в специальном патроне

Рис. 2. Крепление незатылованной фрезы в специальном патроне


  1. фреза
  2. корпус патрона
  3. балансировочный винт
  4. хвостовик
  5. винт крепления фрезы

Схема обробки детали в шаблоне на фрезерном станке з верхним расположением шпинделя

Рис. 3. Схема обробки детали в шаблоне на фрезерном станке ВФК 2


  1. направляющий палец
  2. плита
  3. прихват
  4. ручка з ексцентриком
  5. фреза
  6. деталь
  7. упор
  8. копирные кромки

При переходе на другую форму контура детали достаточно поворотом рукоятки поднять направляющий палец так, чтобы он касался второй копирной кромки.

Кроме того, изменить ширину і длину выбираемого паза можно, заменив направляющий палец. Для уменьшения размера обробки следует установить палец увеличенного диаметра, а для увеличения размера — малого диаметра.

Стол устанавливают по высоте поворотом маховичка в зависимости от высоты заготовки з шаблоном. При верхнем положении суппорта расстояние от торца фрезы до поверхности заготовки должно быть 15…20 мм. После налаштування положение стола фиксируют стопорным пристрійм.

Налаштування ограничителей ходу суппорта показана на рис. 4. Винт-ограничитель регулируют по высоте на величину А так, чтобы при его касании з упором обеспечивалась требуемая глубина паза. Положение торцовой режущей кромки фрезы контролируют мерительным инструментом или измеряют глубину фрезерування в пробной детали. После регулировки ограничитель закрепляют гайкой.

При многоступенчатой обработке одновременно регулируют несколько ограничителей, причем каждый из них настраивают на глубину фрезерування, соответствующую данной ступени. При дальнейшей переналагодженні подбирают требуемый ограничитель путем поворота головки рукояткой, что значительно сокращает время простоя верстата.


Налаштування ограничителей ходу суппорта фрезерного верстата

Рис. 4. Налаштування ограничителей ходу суппорта фрезерного верстата


Рис. 4. Налаштування ограничителей ходу суппорта фрезерного верстата:

  1. гайка
  2. шкала
  3. упор
  4. винт-ограничитель
  5. гайка
  6. рукоятка
  7. ограждение

Если нужно фрезеровать в деталях пазы, стенки которых наклонены к рабочей поверхности стола, шпиндельную головку поворачивают на требуемый угол. Величину поворота отсчитывают по шкале. Затягивая гайки, фиксируют шпиндельную головку.

Установив защитное ограждение, присоединяют вытяжной колпак к ексгаустерной сети і включают систему отсоса стружек.

При обработке наружных контуров деталей к защитному устройству прикрепляют дополнительное ограждение, которое необходимо отрегулировать в зависимости от формы заготовки.

После налаштування верстат включают і проверяют его работу на холостом ходу. При нормальном вращении шпинделя выполняют пробное фрезерование.

Режим обробки на фрезерном станке выбирают в зависимости от диаметра инструмента і породы древесины.

Однако усилие подачі не должно превышать 60 Н.

Работа на станке

В зависимости от вида копировальных работ используют специальные приспособления і шаблоны. При обработке прямолинейных пазов, гнезд заготовку укладывают на стол верстата і базируют по направляющей линейке. При ручной подаче должно обеспечиваться встречное фрезерование. Глубина фрезерування должна быть не более диаметра фрезы. Глубокие пазы лучше выбирать післядовательно за несколько переходов. Это предотвратит поломку кінцівой фрезы і повысит качество обробки.

При контурной обработке заготовку укладывают в шаблон, точно базируя її по упорам, і надежно закрепляют зажимами. Необходимо следить за тем, чтобы между опорными поверхностями шаблона і заготовки не попадали стружки.

Затем шаблон устанавливают на стол, базируя его копирной кромкой по направляющему пальцу і нажимают педаль подачі суппорта з фрезой. После заглубления фрезы подают шаблон з деталью на фрезу. Подача должна быть равномерной з непрерывным поджимом шаблона к направляющему пальцу. После выборки очередного паза переключают револьверную головку или поворачивают рукоятку копиркою пальца для изменения глубины фрезерування.

Готовые детали открепляют і складывают в штабель. Если в процессе фрезерування шпиндель чрезмерно вибрирует, а на обработанных поверхностях детали появляются мшистость, ворсистость і заколы, инструмент следует заменить і отбалансировать.

При недопустимом отклонении формы детали проверяют величину износа копирной кромки шаблона і направляющего пальца і устраняют неисправность.





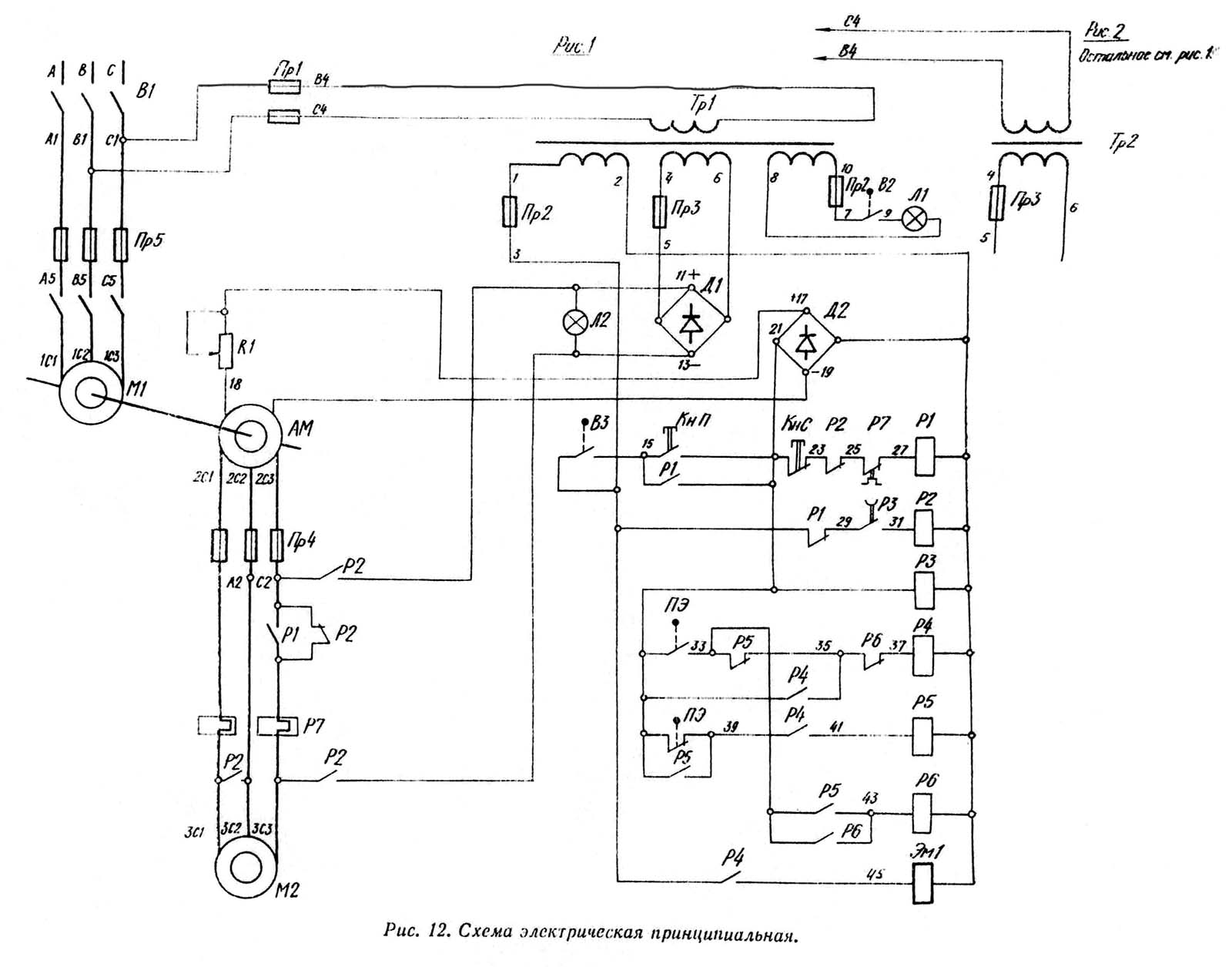
Електроустаткування копировально-фрезерного верстата ВФК-2

Електросхема на верстат фрезерный ВФК-2

Електросхема на верстат фрезерный ВФК-2

Електросхема на верстат фрезерный ВФК-2. Дивитись у збільшеному масштабі



Основная особенность електроустаткування верстата ВФК-2 - двухмашинный агрегат ВФК-1-81-01, который является приводом шпинделя.

Двухмашинный агрегат состоит:

В таблице 6 указан перечень к схеме. Вводным выключателем В1 подается напряжение сети. Наличие напряжения сигнализирует лампа JI2.

Пуск електродвигуна M1 осуществляется нажатием кнопки КнП (15—21), которая замыкает ланцюг катушки магнитного пускателя Р1, переводя его на самопитание. Одновременно з пуском електродвигуна M1 получает питание катушка реле часу Р3 (21—2).

Опускание шпинделя производится нажатием педали ПЭ (21—33; 21—39); при повторном нажатии педали ПЭ фрезерна головка возвращается в верхнее положение. Остановка електродвигуна осуществляется при нажатии кнопки КнС (21—23), а также при снятии защиты. Захист освобождает выключатель ВЗ (3—15), возвращая его в исходное положение, тем самым разрывая ланцюг живлення катушки магнитного пускателя Р1, которая размыкает свои контакты в ланцюги електродвигуна М2. При отключении електродвигуна от сети, включается пускатель Р2 (31—2) і начинается процесс динамического торможения.

По истечении выдержки реле часу Р3 (29—31) магнитный пускатель Р2 выключается, і торможение прекращается. Срабатывание реле Р7 (25-27) — равносильно нажатию на кнопку «Стоп».


Пневмосистема верстата

Пневмосхема на верстат фрезерный ВФК-2

Пневмосхема на верстат фрезерный ВФК-2

Пневмосхема на верстат фрезерный ВФК-2. Дивитись у збільшеному масштабі



Пневмосистема верстата обеспечивает перемещение фрезерной головки і її блокировку.

Пневмообладнання смонтировано в нише верстата і включает в себя:

  1. фильтр-влагоотделитель
  2. регулятор давления
  3. манометр
  4. маслораспылитель
  5. воздухораспределитель
  6. два дросселя
  7. кран конусный натяжной
  8. пневмоцилиндр
  9. пневмоприжим

Из пневмосетн сжатый воздух поступает в фильтр-влагоотделитель, где очищается от твердых частиниц величиной более 0,05 мм, от частиниц воды і компрессорного масла. Далее воздух поступает в регулятор давления 2. Регулятором давления 2 давление в пневмосистему регулируется до нужной величины. Контроль давления осуществляется манометром 3.

Из регулятора давления воздух попадает в масло-распылитель 4, проходя через который насыщается частиницами масла.

Через воздухораспределитель 5 і дроссели 6(1) или 6(2) воздух поступает в поршневую полость пневмоцилиндра 8. Скорость переміщення штока пневмоцилиндра 8 регулируется: при рабочем ходе дросселем 6(2) з обратным клапаном; при обратном ходе — 6(1). Обдув инструмента происходит при рабочем ходе (опускание фрезерной головки). Воздух на пневмоприжим і в штоковую полость цилиндра подается постоянно.

При нажатии педали происходит переключение воздухораспределителя 5; сжатый воздух из поршневой полости цилиндра 8 попадает в атмосферу — фрезерна головка перемещается в верхнее положение. При повторном нажатии педали происходит переключение воздухораспределителя 5 (магнит включается); воздух поступает в поршневую полость пневмоцилиндра 8 — фрезерна головка опускается вниз. При отключении напряжения питающей електросети магнит воздухораспределителя 5 отключается — головка перемещается в крайнее верхнее положение. При падении давления в пневмосистеме верстата происходит фиксирование головки фрезерной за счет пружины пневмоприжима і системы рычагов.





Технічні характеристики фрезерного верстата ВФК-2

Наименование параметра ВФК-1 ВФК-2
Основні параметри верстата
Номинальные розміри робочого стола, мм 700 х 760 800 х 1180
Ширина обрабатываемого паза или диаметр сверления, мм 2..35 2..35
Вылет шпинделя (расстояние от оси шпинделя до станины), мм 600 710
Наибольший просвет между шпинделем і столом, мм 460 300
Расстояние поверхности стола до пола, мм 800..1000 800..1000
Вертикальное перемещение стола, мм 200 200
Наибольшее вертикальное относительное перемещение шпинделя, мм 130 ручное 130 пневмат
Номинальная частота обертання шпинделя при номинальной мощности електродвигуна, об/мин 18 000 18 000
Наибольший диаметр режущего инструмента - фрезы, мм 2..36 2..36
Електроустаткування верстата
Род тока питающей сети 380В 50Гц 380В 50Гц
Количество електродвигателей на станке, шт 1 1
Тип електрошпинделя ЭВ 18/1,5 М
Електродвигун шпинделя - номинальная мощность, кВт (об/мин) 1,5
Тип генератора 12 ГИС 2
Мощность генератора, кВт 3
Габарит і масса верстата
Габарит верстата (длна х ширина х высота), мм 1170 х 1240 х 1670 1180 х 1450 х 1600
Масса верстата, кг 750 870

    Список литературы:


  1. Амалицкий В.В. Деревообрабатывающие верстати і инструменты, 2002
  2. Афанасьев А.Ф. Резьба по дереву, Техника, Инструменты, Изделия, 2014
  3. Бобиков П.Д. Мебель своими руками, 2004
  4. Борисов И.Б. Обработка дерева, 1999
  5. Джексон А., Дей Д. Библия работ по дереву, 2015
  6. Золотая книга работ по дереву для владельца загородного участка, 2015
  7. Ильяев М.Д. Резьба по дереву, Уроки мастера, 2015
  8. Комаров Г.А. Четырехсторонние продольно-фрезерные верстати для обробки древесины, 1983
  9. Кондратьев Ю.Н., Питухин А.В... Технология изделий из древесины, Конструирование изделий і расчет материалов, 2014
  10. Коротков В. И. Деревообрабатывающие верстати, 2007
  11. Лявданская О.А., Любчич В.А., Бастаева Г.Т. Основы деревообробки, 2011
  12. Любченко В.И. Рейсмусовые верстати для обробки древесины, 1983
  13. Манжос Ф.М. Дереворежущие верстати, 1974
  14. Расев А.И., Косарин А.А. Гідротермическая обработка і консервирование древесины, учебное пособие, 2010
  15. Рыженко В.И. Полная енциклопедия художественных работ по дереву, 2010
  16. Рыкунин С.Н., Кандалина Л.Н. Технология деревообробки, 2005
  17. Симонов М.Н., Торговников Г.И. Окорочные верстати, 1990
  18. Соловьев А.А., Коротков В.И. Наладка деревообрабатывающего оборудования, 1987
  19. Суханов В.Г. Круглопильные верстати для распиловки древесины, 1984
  20. Фокин С.В., Шпортько О.Н. Деревообработка, Технологии і обладнання, 2017
  21. Хилтон Билл Работы по дереву, Полное руководство по изготовлению стильной мебели для дома, 2017