metalinstryment.com
Довідник по металорізальних верстатів та пресовому обладнанні

УДГ-250 (УДГ-Д-250) Універсальная делительная головка
Схеми, опис, характеристики

Універсальная делительная головка







Відомості про виробника делительных головок УДГ-250 (УДГ-Д-250)

Разработчиком і изготовителем делительных головок УДГ-250 (УДГ-Д-250) до 1990 года было Ленинградское оптико-механическое объединение ЛОМО.

В настоящее время производство і реализацию универсальных делительных головок УДГ-160 (УДГ-Д-160), УДГ-200 (УДГ-Д-200), УДГ-250 (УДГ-Д-250), УДГ-320 (УДГ-Д-320) осуществляет Производственная компания "Делга", которая была основана в 1990 году на базе - ОАО "ЛОМО".





Продукция, выпускаемая Ленинградским оптико-механическим объединением ЛОМО


УДГ-250 (УДГ-Д-250) головка делительная универсальная. Назначение, область применения

Ділильна головка УДГ-250 (УДГ-Д-250) дает возможность производить различные фрезерные, зубофрезерные, расточные, сверлильные, разметочные і другие роботи, связанные з поворотом детали на заданный угол.

Обработку деталей з помощью делительной головки УДГ-250 можно производить в центрах, в патроне или на шпиндельной оправке.

С помощью универсальной делительной головки УДГ-250 можно производить наступні операции:


Делительные головки. Загальні відомості

Делительные головки - ето пристрій для широкоуниверсальных і консольно-фрезерных верстатів, которое значительно расширяют их технологические возможности. Их используют при изготовлении различных инструментов (фрез, разверток, зенкеров, метчиков), нормализованных деталей машин (головки болтов, грани гаек, корончатые гайки), при фрезеровании зубчатых колес, звездочек, прорезании пазов і шлицев на торцах (зубчасті муфты) і других деталей.

Делительные головки служат для закрепления і деления обрабатываемых деталей на равные частини при фрезеровании квадратов, шестигранников, нарізання зубчатых колес, звездочек і других подобных работ і для поворота обрабатываемых деталей на заданный угол. Універсальные делительные головки служат также і для сообщения обертання обрабатываемой детали при нарезании винтовых канавок на универсальных фрезерных верстатах.

В зависимости от конструкції головки окружность заготовки може быть разделена на равные или неравные частини. При нарезании винтовых канавок заготовке сообщаются одновременно непрерывное вращательное і поступательное руху, как, например, при обработке стружечных канавок у сверл, фрез, метчиков, разверток і зенкеров.

Делительные головки служат:

Делительные головки бывают:

Обычно делительные головки изготовляют одношпиндельными. Иногда применяют многошпиндельные (двух- і трехшпиндельные) для одновременной обробки соответственно двух или трех заготовок, Безлимбовые делительные головки позволяют производить процесс деления посредством сменных зубчатых колес. При етом рукоятку делительной головки поворачивают на один или несколько полных оборотів. Однако конструкция і кінематична схема безлимбовых делительных головок значительно сложнее чем лимбовых.


Універсальные делительные головки УДГ-Д

Ранее нашей промышленностью выпускались универсальные делительные головки УДГ Н-100, УДГ Н-135 і УДГ Н-160 з высотой центров H = 100, H = 135 і H = 160 мм.

По стандарту ГОСТ 8615-69 за основной размер делительных головок принят наибольший диаметр обрабатываемой заготовки D. По стандарту принят ряд из шести типорозмірів головок D = 160; 200; 250; 320; 400 і 500 мм. Наименование моделей УДГ-Д-160, УДГ-Д-200, УДГ-Д-250, УДГ-Д-400, УДГ-Д-500.

Передаточное отношение червячной пары етих головок 1 : 40 (N=40), т. е. шпиндель головки поворачивается на полный оборот за 40 оборотів рукоятки.

Диапазон деления окружности заготовки до 400 частин, включая простые числа.

Універсальные делительные головки позволяют производить деления обрабатываемых деталей тремя методами: непосредственным, простым і диференціальным і используются для комплектации фрезерных верстатів отечественного і зарубежного производства.

Каждому размеру верстата (по ширине стола) должен соответствовать определенный типоразмер делительной головки. Так, к консольно-фрезерным верстатам № 2 (с шириной стола 320 мм) рекомендуется делительная головка з наибольшим диаметром обрабатываемой заготовки D = 250 мм, а к фрезерным верстатам № 3 (с шириной стола 400 мм) - делительная головка УДГ-Д-320 і т. д.

Обозначение делительных головок підвищеної (П) точності:

Обозначение делительных головок нормальной (Н) точності:


УДГ-250 Загальний вигляд делительной головки

Загальний вигляд  универсальной делительной головки УДГ-250

Загальний вигляд делительной головки УДГ-250


УДГ-Д-250 (УДГ-Д-250А) Комплект приладдя делительной головки, предназначенный для диференціального деления і фрезерування спиральных канавок.

Загальний вигляд  универсальной делительной головки УДГ-250

Комплект приладдя делительной головки УДГ-250


УДГ-Д-250 (УДГ-Д-250А) Список приладдя делительной головки

  1. Люнет 1 шт
  2. Гітара для диференціального деления 1 шт
  3. Гітара для нарізання спирали 1 шт
  4. Оправка для диференціального деления 1 шт
  5. Колеса зубчасті:
    1. z=25; m=1,5 2 шт
    2. z=30; m=1,5 1 шт
    3. z=35; m=1,5 1 шт
    4. z=40; m=1,5 1 шт
    5. z=50; m=1,5 1 шт
    6. z=55; m=1,5 1 шт
    7. z=60; m=1,5 1 шт
    8. z=70; m=1,5 1 шт
    9. z=80; m=1,5 1 шт
    10. z=90; m=1,5 1 шт
    11. z=100; m=1,5 1 шт
  6. Паспорт приладдя универсальной делительной головки 1 шт




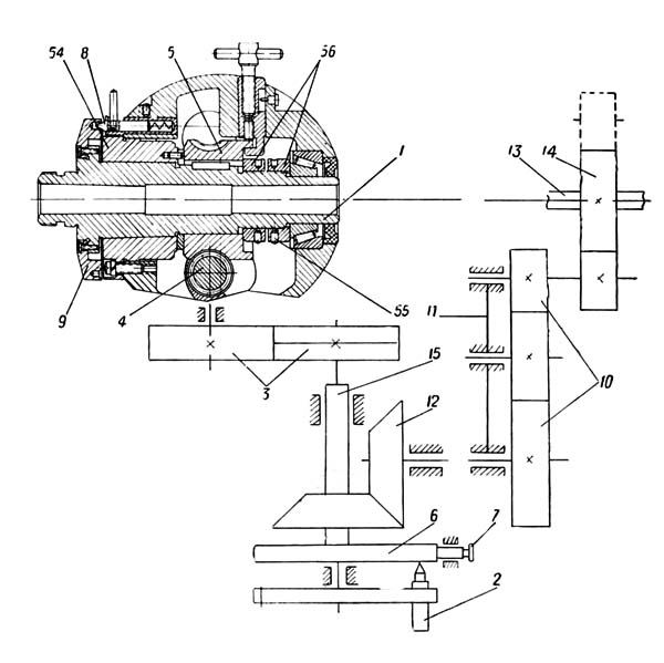
УДГ-250 Конструкція универсальной делительной головки

Конструкція универсальной делительной головки УДГ-250

Конструкція универсальной делительной головки УДГ 250


Конструкція универсальной делительной головки УДГ-250

Конструкція универсальной делительной головки УДГ 250


УДГ-250 Конструкція делительной головки

Ділильна головка УДГ-250 имеет чугунное основа 16 со стяжными дугами 17, на котором установлен корпус 18. Ослабив гайки 19 (рис. 3), можно поворачивать корпус на определенный угол. Отсчет угла поворота производится по шкале і нониусу 20 (см. рис. 2).

На опорной плоскости основания делительной головки имеются две точно пригнанных параллельно шпинделю шпонки, которые служат для установки головки в пазу стола фрезерного верстата. В корпусе расположен шпиндель со сквозным отверстием. Концы шпинделя расточены на конус Морзе. На одном кінці устанавливается центр 21, на другом — оправка 13 (см. рис. 1) для диференціального деления. Передний конец шпинделя имеет резьбу і центрирующий поясок 22 (см. рис. 2) для установки і крепления фланца з самоцентрирующим патроном или поводка. На буртике шпинделя установлен лимб 9 непосредственного деления, имеющий двадцать четыре отверстия.

На шпинделе, в средней его частини, сидит червячное колесо з круговой выточкой на торце, в которую входит конец зажиму 23, смонтированного в корпусе 18. Червячное колесо получает вращение от червяка, расположенного в ексцентрической втулке. Червяк може быть введен в зацепление или выведен из него поворотом ексцентрической втулки з помощью рукоятки 24 (см. рис. 3) з сектором 25.

Делительный диск посажен на вал, смонтированный в підшипниках ковзання в крышке 26 (см. рис. 2). Крышка фиксируется на корпусе 18 центрирующей расточкой і крепится нерухомо к основанию.

На валу делительного диска установлены коническая і цилиндрическая шестерни, а также приводная планка, имеющая рукоятку з фиксатором, перемещающуюся по требуемому ряду отверстий на делительном диске. К делительному диску з помощью пружины прижат раздвижной сектор 27, состоящий из линеек 28 і зажимного гвинта 29, з помощью которого линейки устанавливаются под требуемым углом. Пружинная шайба предотвращает самопроизвольный поворот сектора.

Вал 30 механического приводу от верстата смонтирован в підшипниках ковзання і расположен во втулке 31 з фланцем. Втулка крепится к крышке 26. На кінці вала расположена коническая шестерня, которая находится в постоянном зацеплении з конической шестерней, сидящей на валу делительного диска. Делительный диск фиксируется в требуемом положении стопором 7.

Задня бабка

Задня бабка служит для поддержания второго кінця обрабатываемой детали при установці її в центрах или патроне делительной головки. Центр бабки можно перемещать в горизонтальном і вертикальном направлениях. В основании 32 расположен корпус 33, который штифтом соединен з рейкой. Вращением головки зубчатого вала корпус можно поднимать, опускать і поворачивать относительно оси штифта. В требуемом положении задня бабка крепится на столе верстата з помощью болтов і гаек.

Перемещение пиноли 34 з полуцентром 35 осуществляется вращением маховичка 36, укрепленного на винте.

На опорной плоскости основания имеются две направляющие шпонки, выверенные относительно оси пиноли; шпонки обеспечивают совпадение центров делительной головки і задньої бабки при установці их на стол верстата.

Люнет

Люнет является дополнительной опорой при обработке длинных і тонких деталей. В его корпусе 37 расположен винт, перемещающийся з помощью гайки 38. Винт имеет призматическую головку 39, з помощью стопорного гвинта 40 головку можно закреплять на требуемой высоте.





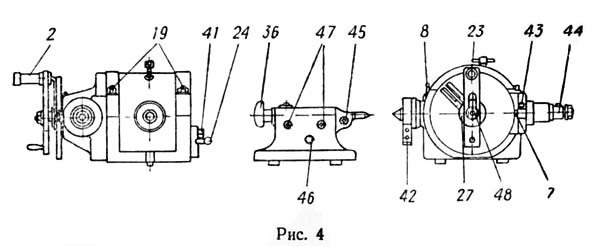
УДГ-250 Розташування органів керування делительной головки

Розташування органів керування токарно-гвинторізного верстата УДГ-250

Розташування органів керування делительной головкой УДГ 250


Список органів керування делительной головки УДГ-250


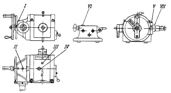
УДГ-250 Точки змазки универсальной делительной головки

Точки змазки универсальной делительной головки УДГ-250

Точки змазки универсальной делительной головки УДГ 250






УДГ-250 Кінематична схема универсальной делительной головки

Кінематична схема универсальной делительной головки УДГ-250

Кінематична схема универсальной делительной головки УДГ-250


При простом делении вращение шпинделю 1 передається от рукоятки 2 з фиксатором через пару цилиндрических шестерен 3, червяк 4 і червячное колесо 5, расположенное в средней частини шпинделя. При етом делительный диск 6 должен быть закреплен з помощью стопора 7, а фиксатор 8 лимба 9 непосредственного деления выключен.

При диференціальном делении угол поворота шпинделя определяется величиной поворота рукоятки з фиксатором относительно делительного диска і величиной поворота самого диска, который получает вращение от шпинделя через сменные шестерни 10 гітари 11 і пару конических шестерен 12. Для передачи обертання от шпинделя сменным шестерням гітари применяется оправка 13, на цилиндрической шейке которой устанавливается сменная шестерня 14. При етом делительный диск должен быть освобожден от стопора, а фиксатор лимба непосредственного деления выключен.

При нарезании спирали шпиндель получает вращение от ходового гвинта фрезерного верстата через сменные шестерни гітари, пару конических шестерен 12, промежуточный вал 15, цилиндрические шестерни 3, червяк 4 і червячное колесо 5. Делительный диск при етом должен быть освобожден от стопора, а фиксатор лимба непосредственного деления выключен.


Порядок роботи

Непосредственное деление

Непосредственное деление применяется при делении окружности на 2, 3, 4, б, 8, 12 і 24 частини в тех случаях, когда не требуется большой точності.

При непосредственном делении необходимо:

Поворот шпинделя осуществляется от руки вращением обрабатываемой детали или патрона. Отсчет угла поворота производится по градусной шкале, нанесенной на лимбе непосредственного деления, і по штриху на передньої втулке шпинделя.

Закрепить шпиндель в требуемом положении з помощью зажиму 23 (см. рис. 2).

При делении на частини или грани расчет производить по формуле

N = 360°/a(1)

где n — число частин или граней; а

a — угол поворота шпинделя.

Простое деление

Простое деление окружности на равные і неравные частини производится при нерухомому делительном диске з помощью рукоятки з фиксатором. Величина поворота рукоятки отсчитывается по отверстиям на делительном диске і фиксируется стержнем фиксатора.

Диференціальное деление

Деление окружности на число частин свыше 42, не кратное числу отверстий на делительном диске, можно производить диференціальным методом, сущность которого заключается в том, что угол поворота шпинделя определяется величиной поворота рукоятки з фиксатором относительно делительного диска і величиной поворота диска, получающего вращение от шпинделя через сменные шестерни гітари.

Гітара устанавливается на цилиндрический хвостовик, на котором она може быть повернута і закреплена в требуемом положении. Для установки сменных шестерен гітара укомплектована передвижными пальцами і переходными втулками. Для передачи обертання сменным шестерням в задний конус шпинделя вставляется оправка, на цилиндрическую шейку которой устанавливается сменная шестерня.

До начала роботи следует поворотом рукоятки проверить плавность обертання всех установленных шестерен.

При выполнении диференціального деления стопор делительного диска должен быть выключен.

Порядок налаштування при диференціальном делении такой же, как і при простом делении.

Диференціальное деление возможно только при горизонтальном положении шпинделя.

Фрезерование спиральных канавок

Фрезерование спиральных канавок производится при продольном перемещении стола фрезерного верстата і одновременном вращении детали, закрепленной в делительной головке, относительно своей оси. Для согласованного обертання детали з продольным переміщенням стола устанавливается гітара з набором сменных шестерен, которые передают вращение от ходового гвинта верстата шпинделю делительной головки.




Технічні характеристики головки УДГ-250

Наименование параметра УДГ-160 УДГ-200 УДГ-250 УДГ-320
Основні параметри
Класс точності по ГОСТ 8-82 П П П П
Высота центров, мм 85 105 130 165
Наибольший диаметр обрабатываемой детали, мм 160 200 250 320
Расстояние от основания делительной головки до торца шпинделя в его вертикальном положении: не более, мм 180 235 280 350
Угол поворота шпинделя в вертикальной плоскости вниз от линии центров: не менее, град 5 5 5 5
Угол поворота шпинделя в вертикальной плоскости вверх от линии центров: не менее, град 95 95 95 95
Диаметр такарного патрона, мм 100 125 160 160
Конус шпинделя Морзе №2 Морзе №3 Морзе №4 Морзе №5
Резьба робочого кінця шпинделя М33 М39 М52 М60
Диаметр отверстия шпинделя, мм 14,9 20,2 26,5 38,2
Передаточное отношение червячной пары 1 : 40 1 : 40 1 : 40 1 : 40
Диапазон деления, включая простые числа 2..400 2..400 2..400 2..400
Диаметр отверстий сменных колес, мм 20х19 20х19 20х19 32х19
Число отверстий делительного диска 16,19,23
30,33,39
49
16,17,19
21,23,29
30,31
16,17,19
21,23,29
30,31
16,17,19
21,23,29
30,31
Число отверстий делительного диска на другой стороне 17,21,29
31,37,41
54
33,37,39
41,43,47
49,54
33,37,39
41,43,47
49,54
33,37,39
41,43,47
49,54
Цена деления лимба непосредственного деления, град 15 15 15 15
Модуль сменных шестерен 1,5 1,5 1,5 2,5
Ширина направляючих шпонок, мм 12 14 18 18
Габарити і масса делительной головки
Габаритные розміри основания головки, мм 212 х 156 260 х 180 260 х 180 290 х 234
Масса делительной головки, кг 35,5 50 53,5 101

    Список литературы

  1. Головки делительные универсальные УДГ Н-100, УДГ Н-135, УДГ Н-160 Инструкция к пользованию, 1970
  2. Універсальные делительные головки УДГ Д-160, УДГ Д-200, УДГ Д-250, УДГ Д-320, УДГ Д-400 Техническое опис і инструкция по експлуатации, 1983
  3. Головка делительная универсальная УДГ-Д-160А Паспорт, (ТУ2-024-4475-75)

  4. Теплицкий Б.М. Мазо Г.И. Делительные механізмы, 1974








Заказать

Чтобы обрести знание, каждый день что-нибудь добавляй; чтобы обрести мудрость, каждый день от чего-нибудь избавляйся.

Японская мудрость