3цй2ц
Разработчиком і изготовителем делительных головок УДГ-135 (УДГ Н-135) до 1990 года было Ленинградское оптико-механическое объединение ЛОМО.
В настоящее время производство і реализацию универсальных делительных головок УДГ-160 (УДГ-Д-160), УДГ-200 (УДГ-Д-200), УДГ-250 (УДГ-Д-250), УДГ-320 (УДГ-Д-320) осуществляет Производственная компания "Делга", которая была основана в 1990 году на базе - ОАО "ЛОМО".
Універсальная делительная головка УДГ-135 (УДГ Н-135) лимбовая, з ручным приводом предназначается для различных фрезерных, зубофрезерных, расточных, сверлильных, разметочных і других работ, связанных з поворотом детали на заданную величину.
Делительные головки УДГ-135 позволяют делить окружность на любое число частин до 400 і на некоторые числа свыше 400.
Обработку деталей з помощью делительной головки можно производить в центрах, патроне или на шпиндельной оправке.

Фото универсальной делительной головки УДГ 135
Фото универсальной делительной головки УДГ 135. Дивитись у збільшеному масштабі

Фото универсальной делительной головки УДГ 135
Фото универсальной делительной головки УДГ 135. Дивитись у збільшеному масштабі

Фото универсальной делительной головки УДГ 135
Фото универсальной делительной головки УДГ 135. Дивитись у збільшеному масштабі

Фото универсальной делительной головки УДГ 160
Фото универсальной делительной головки УДГ 160. Дивитись у збільшеному масштабі

Фото универсальной делительной головки УДГ 160
Фото универсальной делительной головки УДГ 160. Дивитись у збільшеному масштабі

Кінематична схема универсальной делительной головки УДГ 135
Кінематична схема универсальной делительной головки УДГ 135. Дивитись у збільшеному масштабі

Кінематична схема универсальной делительной головки УДГ 135
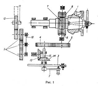
При простом делении вращение шпинделю 1 передається от рукоятки-фиксатора 2 делительного диска 3 через цилиндрические шестерни 4, 5, вал 6, червяк 7 і червячную шестерню 8, сидящую на шпинделе.
При диференціальном делении угол поворота шпинделя определяется величиной поворота рукоятки-фиксатора относительно делительного диска і величиной поворота самого диска, который получает вращение от шпинделя через сменные шестерни 9 гітари 10. Для передачи обертання от шпинделя сменным шестерням гітари применяется оправка 11, на цилиндрической шейке которой устанавливается сменная шестерня 12.
При нарезании спирали шпиндель получает вращение от ходового гвинта фрезерного верстата через сменные шестерни гітари, пару конических шестерен 13, на котором установлен корпус 20. Корпус лежит на цапфах і може поворачиваться в вертикальной плоскости; максимальный угол поворота корпуса вниз 5° вверх 95°. Отсчет углов поворота производится по шкале 21 і нониусу 22. В требуемом положении корпус закрепляется стяжными полудугами 23 (рис. 3) при помощи гаек 24.
Шпиндель делительной головки — полый; переднее отверстие его, расточенное на конус Морзе, служит для установки центра или шпиндельной оправки, в заднее коническое отверстие вставляется оправка для диференціального деления. Передний конец шпинделя имеет резьбу для крепления планшайби з самоцентрирующим патроном. На шпинделе з помощью шпонки закреплены червячная шестерня і тормозное кольцо.
В требуемом положении шпиндель закрепляется зажимом, состоящим из гвинта, рукоятки 25, пальца і латунного вкладыша. При повороте рукоятки по часовий стрелке палец і вкладыш перемещаются і нажимают тормозное кольцо, которого плотно надето на шпиндель.
В результате шпиндель застопоривается. При вращении рукоятки против часовий стрелки зажим ослабляется і шпиндель можно свободно повернуть.
В зацеплении з червячной шестерней находится однозаходный червяк. Червячный валик помещен в ванночку, расположенную о нижней частини корпуса делительной головки і вращается в двух підшипниках. К передньої стенке ванночки гвинтами прикреплена колодка з плунжером, в который входит конец ексцентричного валика з рукояткой 26. При повороте валика на 180° ванночка з червяком опускается і червяк выключается из зацепления з червячной шестерней. Поворот ексцентричного валика ограничивается шайбой і фиксируется шариком з пружиной. Перемещения червячного валика в продольном направлении ограничены торцами цапфы 27 (рис. 2). в которые упираются з одной стороны торец валика, з другой — гайка, закрепленная на валике винтом.
В фланцевой коробке, прикрепленной гвинтами к корпусу делительной головки, расположены валик, пара цилиндрических і пара конических шестерен, посредством которых вращение передається валику червяка. На втулке одной из конических шестерен установлен делительный диск 3 з шестнадцатью рядами отверстий. На кінці валика укреплена рукоятка-фиксатор 2. Для швидкого отсчета требуемого количества отверстии на диске имеется раздвижной сектор 28. От самопроизвольного поворота делительный диск удерживается стопором на кронштейне 29.
Для определения угла поворота шпинделя служит лимб непосредственного деления 30 з нониусом 31. Лимб укреплен на переднем кінці шпинделя і проградуирован на 360°. Нониус укреплен на кронштейне 32.
Для правильной установки делительной головки на столе фрезерного верстата в нижней частини її основания имеется паз, в котором гвинтами крепятся два направляючих сухаря. Выступающими частинами сухари входят в паз стола, тем самым обеспечивается параллельность оси шпинделя оси стола. Ділильна головка крепится двумя Т-образными болтами з гайками.
Конструкція делительной головки УДГ Н-100 отличается от конструкції делительных головок УДГ Н-135 і УДГ Н-160 следующим: основа цельное: корпус смонтирован на шейках боковых крышек, стянутых болтами; шпиндель стопорится введением клина в распорные кольца; червяк включается ексцентриковой втулкой, делительный диск з промежуточным валом наклонен к опорной плоскости основания Задня бабка служит для крепления обрабатываемой детали. Центр бабки можно перемещать в горизонтальном і вертикальном направлениях.
В основании 33 расположен корпус 34, который штифтом соединен з рейкой. Вращая головку зубчатого валика, можно перемещать корпус вверх і поворачивать относительно оси штифта. В требуемом положении задня бабка крепится на столе верстата з помощью болтов і гаек.
Пиноль 35 перемещается вращением маховичка 36 і зажимается гайкой 37.
На опорной плоскости основания имеются два направляючих сухаря, выверенных относительно оси пиноли. Сухари обеспечивают совпадение центров делительной головки і задньої бабки при их установці на стол верстата.
Люнет служит дополнительной опорой при обработке длинных і тонких деталей. Он состоит из корпуса 38, в котором расположен винт, перемещающийся з помощью гайки 39. Винт имеет призматическую головку 40. з помощью стопорного гвинта 41 її можно закреплять на требуемой высоте.
Задня стойка для делительной головки УДГ Н-135 поставляется по особому заказу і применяется при фрезеровании конических разверток і деталей з конусной поверхностью. Корпус з пинолью можно перемещать в вертикальной і горизонтальной плоскостях. Пиноль в корпусе перемещается по оси з помощью маховичка 42 (рис. 4) і закрепляется винтом 43. Перемещение корпуса з пинолью по стойке производится з помощью маховичка 44, угол поворота корпуса определяется по лимбу, в нужном положении корпус закрепляется гайкой 45.

Загальний вигляд универсальной делительной головки УДГ 135

Установка универсальной делительной головки УДГ 135
При распаковке делительной головки нужно соблюдать осторожность.
После распаковки нужно бензином удалить антикоррозийную смазку, осмотреть і проверить вузли схеми керування, смазать все трущиеся частини (согласно табл. 1 для делительных головок УДГ Н-135 і Н-160 і табл. 2 для делительной головки УДГ Н-100) маслом индустриальное «20» (ГОСТ 1707—51) і в дальнейшем смазывать их ежедневно.
Сменные шестерни і пальцы гітар смазывают при налаштуванні на диференціальное деление или при фрезеровании спиральных канавок. При развороте корпуса делительной головки, т. е. при установці шпинделя под углом, условия змазки червячной пары ухудшаются, поетому в процессе роботи її нужно смазывать чаще.
Для установки делительной головки на верстат необходимо:
1. Очистить от грязи стол верстата і опорные плоскости делительной головки і задньої бабаки.
2. Закрепить делительную головку в среднем пазу стола з правой стороны.
3. С помощью индикатора или рейсмуса проверить по горизонтальной і вертикальной образующим оправки параллельность шпинделя делительной головки столу верстата.
4. Закрепить заднюю бабку в положении, соответствующем длине обрабатываемой детали.
5. Выровнять центр задньої бабки по центру делительной головки.
6. Установить фрезу по оси делительной головки і задньої бабки.
7. Установить рукоятку-фиксатор на требуемую окружность делительного диска.
8. Установить сектор на требуемое количество отверстий (промежутков).
9. Освободить зажим шпинделя.
10. Смазать делительную головку і заднюю бабку маслом.
11. При работе з трехкулачковым патроном привернуть его к планшайбе тремя прилагаемыми к нему гвинтами.

Схема керування универсальной делительной головки УДГ 135
Для роботи з универсальной делительной головкой необходимо прежде всего усвоить схему керування (рис. 4. 5). объяснение которой дано в табл. 3.
Зазор, образовавшийся вследствие износа червячной пары, може явиться источником погрешности при работе з делительной головкой. Поетому важно своевременно производить регулировку зацепления червячной
При образовании зазору в осевом направлении необходимо поворотом рукоятки 26 (рис. 6) выключить червяк из зацепления з червячной шестерней, ослабить стопорный винт 54 і подтянуть гайку до полного устранения зазору, затем вновь закрепить гайку стопорным винтом і включить червяк в зацепление з шестерней.
Проверка регулировки производится небольшим поворотом шпинделя в обе стороны. При етом не должны наблюдаться осевые переміщення червяки.
При образовании зазору в зацеплении червячной пары необходимо снять крышку 55, освободить винты 56, затянуть стопори 57 до устранения зазору, затем затянуть винты і поставить крышку на место.

Розташування основних вузлів универсальной делительной головки УДГ 135

Регулювання зацепления универсальной делительной головки УДГ 135
Для устранения зазору в зацеплении червячной пары необходимо отвинтить гайку 58 (рис. 7), освободить гайку 59 со стопором, поворотом ексцентричной втулки з помощью рукоятки 60 устранить зазор, зафиксировать положение втулки гайкой 59 со стопором і закрепить гайку 58.
Далее, вращая рукоятку-фиксатор 2 (рис. 2), следует убедится в плавности обертання червяка і червячной шестерни.
Для устранения зазору, который може образоваться в осевом направлении, нужно освободить гайку 48 (рис. 5), снять рукоятку-фиксатор 2 (рис. 2), колпачок і подтянуть две гайки.
Непосредственное деление применяется при делении окружности в градусном выражении, а также на часто употребляемое число частин, например 3, 4, 6 і т.д.
При делении окружности етим способом необходимо в первую очередь поворотом рукоятки 26 (рис. 3) на 180° выключить червяк из зацепления з червячной шестерней.
Поворот шпинделя осуществляется вращением от руки лимба непосредственного деления ИЛИ патрона После каждой установки на требуемый угол шпиндель необходимо закрепить поворотом рукоятки 25.
При делении на частини расчет производят по формуле:
n = 360°/α
где: n — число частин;
α — угол поворота шпинделя.
Простое деление окружности на равные і неравные частини производится з помощью рукоятки-фиксатора. Величина поворота рукоятки отсчитывается по отверстиям на делительном диске і фиксируется стержнем фиксатора.
Передаточное отношение червячной пары составляет 1:40; отсюда следует, что за один оборот рукоятки-фиксатора шпиндель вместе з обрабатываемой деталью повернется на 1/40 оборота. Следовательно, число оборотів рукоятки-фиксатора
n = 40/z
где z число, на которое требуется разделить обрабатываемую деталь.
Требуется отфрезеровать 4 канавки. Определить число поворотов рукоятки-фиксатора.
n = 40/z = 40/4 =10
Число 10 показывает, что після фрезерування каждой канавки рукоятку-фиксатор нужно повернуть на 10 полных оборотів.
Если при вычислении число оборотів рукоятки-фиксатopa получится дробным, то его необходимо преобразовать таким образом, чтобы знаменатель дроби был равен числу отверстий одной из окружностей на делительном диске.
Требуется нарезать шестерню з числом зубьев 18. определить число оборотів рукоятки-фиксатора.
n = 40/z = 40/18 = 2·(2/9) = 2·(12/54)
Число 2 · (12/54) показывает, что після нарізання каждого зуба рукоятку-фиксатор нужно повернуть на два полных оборота і 12 отверстий на окружности з числом отверстий 54.
Для установки рукоятки-фиксатора на требуемую окружность делительного диска нужно отвернуть гайку 48 (рис. 5), передвинуть рукоятку-фиксатор і вновь закрепить гайку.
Требуется отфрезеровать головку болта, имеющую 6 граней. Определить число оборотів рукоятки-фиксатора.
n = 40/6 = 6·(2/3)
Число 6 · (2/3) показывает, что рукоятку-фиксатор нужно повернуть на 6 полных і (2/3) оборота. Для того чтобы повернуть рукоятку на (2/3) оборота, необходимо подобрать такую окружность на делительном диске, число отверстий которой было бы кратно 3, например, 21, 30, 54. Если взять окружность з 30 отверстиями, то умножая числитель і знаменатель на 10. получим:
n = 40/6 = 6·(2/3)·10/10 = 6·(20/30)
Следовательно, після фрезерування каждой грани болта рукоятку-фиксатор нужно повернуть на 6 полных оборота і 20 отверстий из окружности з числом отверстий 30.
Для удобства отсчетов на делительном диске имеется раздвижной сектор 28 (рис. 2). Установку сектора производят після того, как окружность определена к найдено число отверстий, на которое следует переставить рукоятку-фиксатор.
Сектор состоит из раздвижных линеек 61 (рис. 8), зажимного гвинта 62 для крепления линеек под требуемым углом і пружины 63, удерживающей сектор от произвольного поворота.
Отсчитывая отверстия между линейками, следует помнить, что их число должно быть на единицу больше числа, полученного при подсчете.
Сектор необходимо поворачивать сразу же після перестановки рукоятки-фиксатора з тем, чтобы он всегда находился в положении для следующего деления.
Подведя рукоятку-фиксатор к требуемому отверстию, следует снять фиксатор з предохранителя і легким постукиванием по рукоятке довести его до отверстия, в которое он войдет под действием пружины.
Если рукоятка-фиксатор переведена дальше требуемого отверстия, її отводят назад на четверть или полоборота і вновь доводят до соответствующего отверстия Рукоятку-фиксатор следует вращать всегда в одном направлении.
Число оборотів рукоятки-фиксатора для деления на любое число частин от 2 до 51 приведено в табл. 4, для деления на число частин от 51 до 400 - в табл. 5.

Кінематична схема универсальной делительной головки УДГ 135
Кінематична схема универсальной делительной головки УДГ 135. Дивитись у збільшеному масштабі
Из табл. 13 видно, что делительные диски не позволяют производить деление на все необходимые числа. В основном ето относится к простым числам, которые нельзя разложить на множители, например 51, 61, 67, 73 і др., отсутствующие на делительных дисках. В етом случае способы прямого, простого і комбинированного деления дают только приближенное решение, что не всегда приемлемо для практического использования. Для деления на числа 51, 61, 67, 73 і т. д. применяют способ диференціального деления.
Из кінематичної схеми налаштування диференціального деления (рис. 55) видно, что передача руху к шпинделю происходит, как і при простом делении, т. е. от рукоятки 4 через цилиндрические шестерни z2, z1 червяк zГ, червячное колесо zк к шпинделю 1. Затем от шпинделя вироби через набор сменных шестерен zA, zB, zC, zD, установленных на штыри 5, і конические шестерни z3, z4 поворот сообщается делительному диску 3, причем стопор 2, тормозящий делительный диск, должен быть освобожден. Таким образом, величина поворота шпинделя будет являться результатом углов поворота приводной рукоятки относительно диска і самого делительного диска, по которому производится фиксация (индексация) рукоятки. При етом могут быть два случая:
Если обозначить через:
то при совпадении направлений обертання рукоятки і диска пш = nр + nд, а при несовпадении направлений обертання nш = nр — nд.
В общем виде расчетная формула може быть представлена так:
nш = nр ± nд (16)
Так как требуемое число делений z нельзя получить на имеющихся дисках, принимается для расчета произвольное (фиктивное) число делений z`ф, близкое к требуемому.
Число оборотів шпинделя в общем случае определяется так же, как і при простом делении, nш = N/z, или, если N = 40, п = 40/z.
Число оборотів рукоятки соответствует налаштуванні на число делений zф; nр = 40/zф. Следовательно, величина поворота делительного диска, являющегося как бы дополнительным поворотом, определяется из формулы
± nд = 40/zф - 40/z = 40/zzф·(zф - z)
Для дополнительного поворота делительного диска при повороте шпинделя на 1/z часть, т. е. на одно деление, производится налаштування гітари сменных шестерен. Передача обертання делительному диску (рис. 54) може быть представлена так:
± nд = 1/z·(zA·zC)/(zB·zD)·z3/z4
или
± nд = 1/z·i·(25/25)·i/z,
где i = (zA·zC) / (zB·zD) - передаточное отношение сменных шестерен гітари.
Решая ето рівняння относительно i, получим расчетную формулу налаштування при диференціальном делении для универсальной делительной головки з характеристикой N = 40
Из формулы видно, что если взятое фиктивное число zф больше искомого z, то передаточное отношение i имеет положительное значение. В етом случае направление дополнительного поворота делительного диска совпадает з направлением обертання рукоятки. Если zф> z, то направления обертання рукоятки і делительного диска не совпадают. Эти условия должны особенно учитываться при налаштуванні гітари сменных шестерен.
40/zzф·(zф - z) = i/z
или
i = 40/zф·(zф - z)

Конструкція делительной головки УДГ н-135
Конструкція делительной головки УДГ н-135. Дивитись у збільшеному масштабі

Конструкція делительной головки УДГ н-100
Конструкція делительной головки УДГ н-100. Дивитись у збільшеному масштабі
Конструкции универсальных делительных головок УДГ Н-135 і УДГ Н-160 аналогичны. Корпус 19 (рис. 18), представляющий собой чугунную отливку, усиленную внутри ребрами жесткости, лежит в расточках основания 33 на цапфах і може быть повернут относительно горизонтальной оси вниз і вверх. При помощи гаек 10 корпус крепится дугами 18, 20 в нужном положении в основании 33. Отсчет производится по градуировке на корпусе і нониусе, укрепленном на стягивающей дуге 20.
Стальной каленый шпиндель 8 установлен в коническом отверстии корпуса і закрывается задньої втулкой 9 з помощью упорного шарикового підшипника 7, воспринимающего осевое давление. Шпиндель полый і заканчивается з обеих сторон конусными отверстиями. Наружный конец шпинделя имеет резьбу для навинчивания самоцентрирующего патрона. Передний конус предназначен для установки центра, задний — для крепления оправки при диференціальном делении. На переднем кінці шпинделя нерухомо укреплен лимб 1 непосредственного деления з градуировкой на 360° через каждый градус.
Поворот лимба отсчитывается по нониусу 2, закрепленному на кронштейне 3. На шпиндель насажены і крепятся з помощью шпонок червячное колесо 5 і тормозной диск 6.
Установка червячного колеса шпинделя производится компенсационными кольцами 4, 13, 15. В зацеплении з червячным колесом 5 находится однозаходный червяк, выполненный за одно целое з валиком 32. Червяк помещается в ванночке 34, являющейся одновременно резервуаром для змазки червяка і его опорой. Другой опорой служит качающаяся цапфа 48, закрепленная в корпусе 31.
Осевое перемещение валика червяка ограничено торцами цапфы 48, в которые упираются з одной стороны торец валика 32, а з другой — гайка 49. Чтобы вывести червяк из зацепления з червячным колесом, применено специальное пристрій, действие его заключается в следующем. К ванночке 34 гвинтами 40 прикреплена колодочка 41, в которой находится цилиндрический плунжер 42. В плунжер входит конец ексцентрикового пальца 36. При повороте рукоятки 39 на 180° ванночка опускается і червяк выводится из зацепления з червячным колесом. Поворот ексцентрикового пальца 36 ограничивается штифтом 38, упирающимся в выступ специальной шайбой 37. При обратном повороте ексцентрикового пальца на 180° положение включенного червяка фиксируется подпружиненным шариком 35, который входит в паз шайбы 37.
В процессе роботи возникает необходимость стопорения шпинделя для исключения возможных вибраций. Стопорение шпинделя в нужном положении производится зажимом, состоящим из гвинта рукоятки 44, пальца 45, латунного вкладыша 46, расположенного во втулке 47. При повороте гвинта рукоятки 44 по часовий стрелке палец 45 і вкладыш 46, перемещаясь, зажмут тормозное кольцо 6, которое плотно надето на шпиндель. В результате етого шпиндель застопорится. При вращении гвинта рукоятки против часовий стрелки тормозное кольцо освобождается і шпиндель може быть свободно повернут.
К корпусу делительной бабки гвинтами прикреплена коробка шестерен 31. В ней смонтированы на валике 28 цилиндрическая шестерня 21, которая находится в зацеплении з цилиндрической шестерней 30, насаженной на валик червяка, і коническая шестерня 23, находящаяся в зацеплении з шестерней 22 приводного валика. На наружной ступице конической шестерни 30 закреплен делительный диск 24 з отверстиями, расположенными кінцінтрическими кругами з двух сторон диска. На кінці валика 28 закреплена рукоятка 29 з фиксатором 26, который можно передвигать по пазу рукоятки 29 і закреплять гайкой 27 в нужном положении в соответствующем ряду отверстий делительного диска.
На ступице той же конической шестерни имеются раздвижные линейки 25, позволяющие быстро устанавливать необходимое число отверстий на делительном диске в процессе делений. Для передачи обертання шпинделю от фрезерного верстата (необходимого при фрезеровании спирали или при выполнении диференціального деления) имеется дополнительное пристрій в виде кронштейна, закрепленного болтами в основании. В расточке кронштейна проходит валик, на одном кінці которого крепится коническая шестерня, находящаяся в приводной коробке, а на другом — сменная шестерня из прилагаемого набора.
На правом кінці кронштейна имеется цилиндрическая заточка, на которую надевается і крепится гітара. Кронштейн имеет прилив, в нем перемещается зубчатый стопор для стопорения делительного диска при простом делении. Для правильной установки делительной бабки на столе фрезерного верстата в нижней частини основания имеется паз, в котором гвинтами крепятся две направляющие шпонки 12 і 16. Своими выступающими частинами шпонки входят в паз стола верстата, что обеспечивает установку делительной оси шпинделя делительной головки параллельно оси фрезерного верстата. Для крепления делительной бабки служат Т-образные станочные болты 11 і 17.
Наличие зазору в делительной червячной паре вследствие износа зубьев може быть источником погрешностей при работе з делительной головкой. Чтобы уменьшить влияние износа, производится регулировка зацепления червячной пары следующим образом. При появлении осьового зазору в зацеплении червяка необходимо поворотом рукоятки 36 (рис. 18) вывести червяк из зацепления з червячным колесом, подтянуть гайку 49 до полного выбора люфта, затем вновь законтрить гайку стопорным винтом і включить червяк в зацепление. Проверка регулировки производится при небольшом повороте шпинделя в обе стороны, при етом не должно быть осевых перемещений червяка. В случае появления радиального зазору в зацеплении червячной пары необходимо повернуть корпус бабки в основании на 180° так, чтобы червяк оказался наверху, затем снять крышку 14 і освободить винты 40, крепящие колодку 41. После етого надо ввернуть стопори 43 до установления зазору і затянуть винты 40 так, чтобы зацепление не было тугим. Вращением рукоятки проверяется плавность зацепления червяка і червячной шестерни. Следует отметить, что первоначальная точность делительной головки не може быть достигнута регулировкой зацеплений і в случае износа червячной передачи ету точность можно восстановить только путем изготовления точного колеса і червяка.
В отличие от рассмотренной конструкції делительных головок УДГ-Н-135 і УДГ-Н-160 головка УДГ-Н-100 (рис. 19) имеет более короткую кинематическую ланцюг, так как приводная рукоятка непосредственно надета на вал червяка, что должно способствовать получению большой точності деления.
Ділильна бабка состоит из нерухомого основания 7, в котором помещены корпус 5 і полый шпиндель 13. Корпус 5 со шпинделем і двумя боковыми фланцами 4 і 6 поворачивается вокруг горизонтальной оси на 90° вверх і на 10° вниз. Отсчет производится по градуировке, нанесенной на поверхности корпуса, і нониусу 22, прикрепленному к нерухомою дуге. Крепление корпуса в требуемом положении производится затягиванием фланцев двумя гайками з помощью стяжных болтов.
Для отсчета непосредственного деления служит нониус 15, укрепленный на кронштейне 16, і градуированный на 360 делений лимб 14, расположенный на шпинделе 13. На шпиндель насажены червячное колесо 18, компенсационные кольца 17, 20 і упорный подшипник 19. Осевые нагрузки шпинделя воспринимаются задньої втулкой 21 через упорный подшипник. На переднем кінці шпинделя имеется резьба для крепления планшайби з трехкулачковым патроном.
Шпиндель имеет переднее і заднее конусные отверстия, заднее отверстие предназначено для установки оправки диференціального деления.
Узел стопорения шпинделя (сечение А—А) выполнен иначе, чем на УДГ-Н-135 і Н-160. При вращении гвинта рукоятки 28 плунжер 29 разжимает стопорные кольца 27, 30, при етом одно из них прижимается к торцу корпуса, другое — к червячному колесу, і таким образом происходит стопорение шпинделя. В отверстии переднего фланца под углом установлена ексцентриковая втулка 9 з валиком червяка 8. В осевом направлении червяк прижат к торцу втулки 9 гайками 11. При непосредственном делении червяк выводится из зацепления з червячным колесом поворотом ексцентриковой втулки на 90°. На кінці валика червяка укреплена рукоятка 12 з пружинным фиксатором 1. Рукоятка имеет паз, что позволяет передвигать її вместе з фиксатором при налаштуванні деления на любой ряд отверстий делительного диска 2. Делительный диск крепится на конической шестерне 3. Стопорение диска осуществляется стопором 26, помещенным на кронштейне 10. Пристрій отсчетных линеек такое же, как на УДГ-Н-135 і Н-160.
Коническая шестерня 3, к которой крепится делительный диск, находится в зацеплении з конической шестерней 23 вала 24 приводу руху верстата или передачи обертання при диференціальном делении. Вал конической шестерни з кронштейном 25 крепится к основанию делительной головки тремя гвинтами.
При образовании у червяка зазору в осевом направлении его необходимо ликвидировать; для етого следует освободить гайку, снять сначала рукоятку з фиксатором 1, а затем колпачок і подтянуть обе гайки 11 (рис. 19).
Для устранения в зацеплении червячной пары радиального зазору (сечение Б—Б), который появляется при длительной експлуатации головки, необходимо отвинтить гайку 31, освободить гайку со стопором 32, рукояткой 33 повернуть ексцентриковую втулку до ликвидации зазору, зафиксировать положение стопором і гайкой 32 і закрепить гайку 31.
| Наименование параметра | УДГ Н-100 | УДГ Н-135 | УДГ Н-160 |
|---|---|---|---|
| Основні параметри | |||
| Высота центров, мм | 100 | 135 | 160 |
| Наибольший диаметр обрабатываемой детали, мм | 200 | 270 | 320 |
| Угол поворота шпинделя в вертикальной плоскости вверх от линии центров: не менее, град | 95° | 95° | 95° |
| Угол поворота шпинделя в вертикальной плоскости вниз от линии центров: не менее, град | 5° | 5° | 5° |
| Резьба робочого кінця шпинделя, мм | М39 х 4 | М45 х 4,5 | М64 х 4 |
| Конус шпинделя | Морзе №3 | Морзе №4 | Морзе №5 |
| Диаметр отверстия шпинделя, мм | 20 | 26,5 | 38,2 |
| Диаметр такарного патрона, мм | |||
| Передаточное отношение червячной пары | 1 : 40 | 1 : 40 | 1 : 40 |
| Ширина направляючих шпонок (сухарей), мм | 14 | 14 или 18 | 18 |
| Непосредственное деление (с помощью лобового диска на шпинделе) | |||
| Количество дисков на шпинделе | 1 | 1 | 1 |
| Цена деления лимба непосредственного деления, град | 10° | 10° | 10° |
| Простое деление | |||
| Количество делительных дисков | 1 двусторонний | 1 двусторонний | 1 двусторонний |
| Число отверстий делительного диска | 16,17,19,21 23,29,30,31 |
16,17,19,21 23,29,30,31 |
16,17,19,21 23,29,30,31 |
| Число отверстий делительного диска на другой стороне | 33,37,39,41 43,47,49,54 |
33,37,39,41 43,47,49,54 |
33,37,39,41 43,47,49,54 |
| Диференціальное деление | |||
| Диапазон деления, включая простые числа | 2..400 | 2..400 | 2..400 |
| Модуль сменных шестерен | 1,5 | 2 | 2 |
| Количество сменных шестерен | 12 | 12 | 12 |
| Число зубъев колес | 25;30;35;40;50;55 60;70;80;90;100 |
25;30;35;40;50;55 60;70;80;90;100 |
25;30;35;40;50;55 60;70;80;90;100 |
| Задня бабка | |||
| Конус пиноли задньої бабки, мм | Морзе № 2 | Морзе № 2 | Морзе № 3 |
| Длина ходу пиноли задньої бабки, мм | 25 | 35 | 35 |
| Высота подъема пиноли задньої бабки, мм | |||
| Габарити і масса делительной головки | |||
| Габаритные розміри основания головки, мм | 140 х 210 | 206 х 210 | 206 х 295 |
| Расстояние от основания головки до торца шпинделя при его вертикальном положении, мм | 214 | 285 | 308 |
| Масса делительной головки, кг | 32 | 40 | 40 |
Заказать
Чтобы обрести знание, каждый день что-нибудь добавляй; чтобы обрести мудрость, каждый день от чего-нибудь избавляйся.
Японская мудрость