Виробники токарно-гвинторізного верстата моделі ТВШ-3 – Технікум м. Енгельс, Виправні трудові установи для неповнолітніх (ТКН), Верхньотуринський машинобудівний завод.
ТВШ-3 (ТВ-3) перші шкільні токарно-гвинторізні верстати, що випускалися у 60-х роках минулого століття. За основу конструкції верстата, мабуть, було взято верстат німецького виробництва. У 70-х роках модель ТВШ-3 замінив більш досконалий токарно-гвинторізний верстат - ТВ-4 .
Токарно-гвинторізний верстат ТВШ-3 є навчальним універсальним токарно-гвинторізним верстатом і призначається для всіляких токарних робіт у майстернях шкіл для політехнічного навчання та холодної обробки металів різанням.
Токарний верстат ТВШ-3 дозволяє проводити такі види токарних робіт:

Фото токарно-гвинторізного верстата твш-3

Фото токарно-гвинторізного верстата твш-3

Фото токарно-гвинторізного верстата твш-3

Розташування органів керування токарно-гвинторізним верстатом твш-3

Кінематична схема токарно-гвинторізного верстата твш-3
Схема кінематична токарно-гвинторізного верстата ТВШ-3. Дивитись у збільшеному масштабі
Кінематична схема. Переміщення різця здійснюється через систему шестерень вручну або механічно-самоходом.
Верстат рухається електродвигуном трифазного струму потужністю 0,6 кВт з числом оборотів 1440 об/хв.
Натяг ременів передачі здійснюється спеціальним пристрійм, що дозволяє переміщувати електродвигун за допомогою спеціальних болтів.
Пуск і зупинка верстата виробляє кнопковим перемикачем.
Токарно-гвинторізний верстат складається з наступних основних вузлів: передня тумба, задня тумба, станина, передня бабка, коробка подач, передаточний механізм (гітара), фартух, супорт, задня бабка, захисний кожух, корито, електроустаткування, захисний екран.
Станина служить підтримки, закріплення і взаємного з'єднання всіх вузлів верстата.
Станина верстата коробчастої форми із вікнами. Має дві призматичні напрямні.
Передня напрямна служить для пересування каретки, задня для переміщення задньої бабки.
На передній стороні станини встановлений ходовий гвинт та рейка
Станина установлена на две тумбы.

Передня бабка токарно-гвинторізного верстата твш-3
Передня бабка служить для підтримки оброблюваної деталі та повідомлення їй обертального руху. У верстаті типу ТВШ-3 передня бабка є коробкою швидкостей.
Від індивідуального електродвигуна через клинопасову-передачу обертання повідомляється шківу, що сидить на валу коробки швидкостей.
Усередині коробки рух передається через вал 2 і шестерню 3, що сидить на валу нерухомо; на вал 4, на якому розміщені три нерухомі шестерні 5, 23 і 6. Остання бере участь тільки в роботі трензеля. На валу 7 знаходяться блок шестерень 8, 9 10 і блок шестерень 11 і 12, які переміщуються на валу по шпонці за допомогою рукояток А і Б (рис. 1). Потрійний блок шестерень 8, 9 і 10 має можливість перебувати в постійному зачепленні з однією з шестерень блоку 5 і тим самим передавати рух валу. Через блок шестерень // і 12 рух передається нерухомому блоку шестерень 13, що знаходиться безпосередньо на шпинделі верстата 14. Шпиндель передає обертання оброблюваної деталі за допомогою трикулачкового патрона або планшайби з повідцем, які навертаються на його різьбову частину. При обробці деталей у центрах у шпиндель вставляється центр.
Крім цього, у коробці швидкостей змонтовано пристрій, що дозволяє змінювати напрямок обертання ходового ггвинта та ходового валика, тобто змінювати напрямок переміщення супорта. Це здійснюється переміщенням шестерні 15 у ліве або праве крайнє положення рукояткою 4 (рис. 1).
При крайньому лівому положенні рукоятки шестерня 15 отримає пряме обертання безпосередньо від блоку шестерень 16, розташованого на шпинделі. При правому крайньому положенні рукоятки шестерня 15 отримає зворотне обертання за рахунок зачеплення з паразитної шестернею 16, яка у свою чергу отримує обертання від другого ступеня блоку шестерень 16.
Обертання валу 17 передається шестірні 18, яка знаходиться в постійному зачепленні з шестернями передавального механізму і далі з механізмом коробки подач.
При середньому нейтральному положенні рукоятки і шестерні 15 обертання від шпинделя не передаватматися до коробки подач, тобто ні ходовий гвинт, ні ходовий валик не обертатимуться.
Вся система шестерень і валів розміщується в пустотілій коробці, відлитій із чавуну, зверху коробка закривається кришкою, яка кріпиться до неї чотирма ггвинтами. Шпиндель обертається у двох радіально-упорних підшипниках 19 та 20. Вали спираються на бронзові підшипники ковзання. Для регулювання натягу шпинделя на задню частину його нагвинчені дві круглі гайки 21.
Фіксація блоків шестерень у потрібному положенні здійснюється жорсткою установкою перемикаючих рукояток у гніздах на коробці. Для зручності роботи на передній стінці коробки розміщена таблиця із зазначенням чисел оборотів за хвилину залежно від положення рукояток і покажчик переміщення супорта.
На задній стінці коробки є пробка для зливу олії 22. Коробка швидкостей кріпиться на станині верстата чотирма болтами.
Механізм коробки швидкостей дозволяє отримати шість швидкостей обертання шпинделя і праве і ліве переміщення супорта, а отже - нарізати праві та ліві різьблення.

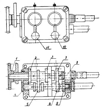
Передавальний механізм (гітара) токарно-гвинторізного верстата твш-3
Передавальний механізм служить передачі обертання від шпинделя коробки швидкостей до коробки подач. Змінюючи шестірні передавального механізму, можна змінювати величину подачі супорта на один оборот шпинделя, а також крок різьб, що нарізаються.
Механізм складається з кронштейна 1 із закріпленими на валику 2 шестернею 3 (число зубів 72) та шестернею 4 (число зубців 42). Шестерня 4 зачіпляється з шестернею 5 (кількість зубів 70), закріпленої на валику коробки подач, а шестерня 3 - з шестернею 18 коробки швидкостей.
Передавальний механізм характеризується передатним ставленням; для верстата типу ТВШ-3 воно складає
i = 24/60 * 40/64 = 1/4 або i = 24/72 * 42/70 = 1/5
Для цього верстата це передатне ставлення завжди, оскільки змінні шестерні до верстата не додаються. Для безпеки роботи передавальний механізм закривається кожухом із листового заліза.
Залежно від дати випуску та виробника верстата конструкція передавального механізму може змінюватись.

Коробка подач токарного верстата твш-3. Рання версія
Коробка подач (рис. 5) отримує рух від коробки швидкостей через шестерні передавального механізму. Механізм коробки подач дає можливість отримати метричне різьблення з кроком 0,6; 0,8 і 1,0 мм і поздовжню подачу Супорта в межах 0,04; 0,05; 0,06 на один оборот шпинделя.
Валік 3 отримує обертання від шестерень передавального механізму. На цьому валику жорстко посаджені три шестерні 4, 5 і 6 з числом зубів відповідно 24, 32 і 40. Валик 1 має довгу шпонкову канавку, в якій ковзає шпонка 12 спільно з шестернею 13 (кількість зубів 32), розташованої в важелі . несе валик 11, на якому вільно обертається шестерня 15, що знаходиться постійно в зачепленні з шестернею 13. За допомогою важеля 2 шестерню 13 разом з шестернею 15 можна переміщати вздовж валика і вводити в зачеплення по черзі з шестернями 4, 5. важіль утримується штифтом 16, що входить в одне з отворів кришки коробки подач 14. На валику 1 закріплена жорстко по відношенню до валика шестерня 18, яка постійно знаходиться в зачепленні з блочною шестернею" 7, посадженою на валику 10. Ця шестерня допомогою важеля 8 вправо і вліво. При лівому положенні шестерня 7 входить в зачеплення з шестернею 17, яка посаджена на ходовий валик. При переміщенні важеля ліворуч шестерня 7, переміщаючись праворуч, виходить із зачеплення з шестернею 11 і своїми торцевими виступами входить у зачеплення з храповою муфтою 9. Таким чином, при лівому положенні важеля обертання передається ходовому гвинту. Механізм коробки подач розміщений у корпусі, в якому є отвори для заливки олії. Отвори закриваються пробками. Коробка подач закривається з лицьового боку кришкою 14 і кріпиться на станині чотирма ггвинтами.

Коробка подач токарного верстата твш-3. Пізня версія

Суппорт токарно-гвинторізного верстата твш-3
Супорт (рис. 6) призначений для переміщення та закріплення різця, який повинен перебувати в різних положеннях, що визначаються формою та розмірами виробу, що обробляється.
Супорт має чотири каретки: нижня каретка переміщається в поздовжньому напрямку напрямними станинами як від механічного приводу, так і від руки. Переміщення здійснюється за рахунок фартуха, прикріпленого до нижньої каретки. Каретка 2 пересувається напрямним нижньої каретки і служить для поперечного переміщень різця від руки. Каретка, що несе на собі чотиригранну різцеву головку, має лише поздовжнє переміщення по направляючих середньої поворотної частини супорта, яка може повертатися на 90 ° в ту чи іншу сторону.
Поперечне переміщення каретки 2 по направляючих нижньої каретки 1 здійснюється гвинтом 13 і гайкою 12. Гвинт 13 приводиться в обертання від руки рукояткою 16. Так як гвинт 13 встановлений в опорах на нижній каретці, а гайка 12 закріплена на каретці 2, то при переміщатматися і захоплюватиме за собою каретку 2.
Зверху каретка має 2 поглиблення; куди входить виступ поворотної частини супорта 5. Для закріплення поворотної частини є 2 болти, головки яких входять у круговий паз каретки 2.
Верхню каретку 4 супорта можна переміщати по направляючих вручну, користуючись рукояткою 11, яка обертає гвинт 10 і гайку 9.
Напрямні та стикаються з ними поверхні кареток від тривалої роботи зношуються на стільки, що між ними може з'явитися неприпустимо великий зазор.
В результаті цього різець вібруватиме і знизиться точність роботи верстата. Для усунення вібрації в супорті передбачені регульовані планки 14 і 15, які можуть бути підтиснуті ггвинтами. Різцетримач закріплюється болтом 8 і затягується рукояткою 7. При відвертанні рукоятки різцетримач віджимається вгору від верхньої каретки пружиною 6. Різцетримач дозволяє закріплювати в ньому одночасно до чотирьох різців. Різці кріпляться болтами 5.

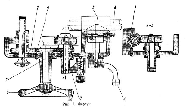
Фартук токарно-гвинторізного верстата твш-3
За допомогою фартуха (рис. 7) можна здійснити поздовжню подачу супорта, механічну або ручну, ходовим валиком та поздовжню подачу, механічну, ходовим гвинтом.
Ручна подача ходовим валиком здійснюється обертанням маховика 1, насадженого на вал 2, на якому знаходиться шестерня 4, що зачіпається з шестернею 3, що сидить на кінці валика рейкової шестерні. Остання входить у зачеплення із зубчастою рейкою, жорстко прикріпленою до станини. Механічна подача здійснюється черв'яком 7, що сидить на шпонці, що ковзає, на ходовому валику. Черв'як приводить у рух черв'ячну шестерню, і далі через систему шестерень рух передається на рейкову шестерню. Для включення механічної подачі необхідно повернути рукоятку 9 за годинниковою стрілкою. При цьому включається в роботу фрикціон, змонтований у черв'ячній шестірні. Механічна подача ходовим гвинтом здійснюється поворотом рукоятки 8, що з'єднує роз'ємну гайку 5 з ходовим гвинтом 6. Рекомендується рейкову шестерню при роботі з ходовим гвинтом виводити з зачеплення з рейкою рухом рукоятки «на себе». При механічній і ручній подачі ходовим валиком рейкову шестерню обов'язково вводять у зачеплення із зубчастою рейкою рухом рукоятки «від себе».

Задня бабка токарно-гвинторізного верстата твш-3
Задня бабка (рис. 8) служить підтримки другого кінця оброблюваної деталі. Корпус 7 розташований на підставі 2, що переміщається направляючими станини верстата.
У корпусі поздовжньо переміщається піноль 8. Один кінець пінолі має конічний отвір (конус Морзе № 2), в який залежно від роботи можна вставляти в центр хвостову частину патрона для затиску свердлів та інший інструмент. Переміщення пінолі проводиться маховиком 11, що обертає гвинт 13. Для зручності обертання на маховику закріплена рукоятка 12. Щоб піноль при обертанні маховика не поверталася, вона має шпоночну канавку, в яку входить гвинт-шпонка 10. Рукоятка 10. Осі шпинделя та задньої бабки повинні збігатися; для установки пінолі по осі шпинделя служить гвинт 3 і гайка 4. За допомогою них можна зміщувати корпус щодо основи в поперечному напрямку по призмі основи для проточування довгих конусів. Для обточування в центрах деталей різної довжини основу переміщують разом з корпусом задньої бабки вздовж станини верстата і закріплюють у потрібному положенні болтом 5 гайкою 6 і плавкою 1.
Нарізання шестерні на твш-3
| Найменування параметру | ТВ-4 | ТВШ-3 | |
|---|---|---|---|
| Основні параметри верстата | |||
| Класс точності | Н | ||
| Найбільший діаметр заготовки над станиною, мм | 200 | 200 | |
| Найбільший діаметр заготовки над супортом, мм | 125 | ||
| Висота центрів над плоскими напрямними станини, мм | 108 | 100 | |
| Найбільша довжина заготовки у центрах (РМЦ), мм | 350 | 350 | |
| Найбільша довжина обточування, мм | 300 | 350 | |
| Найбільша висота тримача різця, мм | 10 х 12 | ||
| Висота від опорної поверхні різця до лінії центрів, мм | 12 | 14 | |
| Найбільша відстань від осі центрів до кромки різцетримача, мм | 78 | 90 | |
| Шпиндель | |||
| Діаметр наскрізного отвору в шпинделі, мм | 16 | 15 | |
| Найбільший діаметр прутка, мм | 15 | 14 | |
| Конус Морзе шпинделя | №2 | №2 | |
| Число ступенів частот прямого обертання шпинделя | 6 | 6 | |
| Частота прямого обертання шпинделя, об/хв | 120, 160, 230, 375, 500, 710 | ||
| Гальмування шпинделя | немає | немає | |
| Блокування рукояток | немає | немає | |
| Реверсування | немає | ||
| Супорт. Подання | |||
| Найбільше поздовжнє переміщення супорта, мм | 300 | 350 | |
| Переміщення супорта поздовжнє на один поділ лімба, мм | 0,5 | немає | |
| Найбільше поперечне переміщення супорта, мм | 100 | ||
| Переміщення супорта поперечне на один поділ лімба, мм | 0,025 | ||
| Найбільше переміщення різцевих санчат, мм | 50 | ||
| Переміщення різцевих санок на один поділ лімба, мм | 0,025 | 0,025 | |
| Кут повороту різцевих санчат, град | ±45° | ±45° | |
| Число ступенів поздовжніх подач супорта | 3 | 3 | |
| Межі поздовжніх робочих подач супорту, мм/про | 0,08; 0,1; 0,12 | 0,04; 0,05; 0,06 | |
| Межі робочих поперечних подач супорта, мм/про | немає | немає | |
| Кількість нарізних різьблень метричних | 3 | 3 | |
| Межі кроків різьб метричних, що нарізаються, мм | 0,8; 1,0; 1,25 | 0,6; 0,8; 1,0 | |
| Межі кроків різьблення дюймових | немає | немає | |
| Межі кроків різьблення модульних | немає | немає | |
| Межі кроків різьблення питних | немає | немає | |
| Задня бабка | |||
| Конус Морзе задньої бабки | №2 | №2 | |
| Найбільше переміщення пінолі, мм | 65 | 65 | |
| Найбільше поперечне усунення бабки, мм | ±5 | ±7 | |
| Наявність лімбу або лінійки переміщення | 0,025 | немає | |
| Електроустаткування | |||
| Електродвигун головного приводу, кВт | 1,0 | 0,6 | |
| Габарити та маса верстата | |||
| Габарити верстата (довжина ширина висота), мм | 1440 х 470 х 1020 | 1100 х 400 х 1150 | |
| Маса верстата, кг | 280 | 180 |