Виробником верстата ТВ-7 був Ростовський завод малогабаритного верстатного обладнання МАГСО , заснований у 1956 році.
Завод МАГСО входить до Фінансово-промислової групи КомТех , яка на ринку верстатного обладнання існує вже кілька років і має пріоритет з випуску малогабаритних металорізальних верстатів токарних, фрезерних, вібраційних, заточувальних, свердлильних, якими комплектуються школи, профтехучилища, коледжі, інститути, ремонтно організації всіх регіонів Росії.
Токарний верстат ТВ-7 замінив у серійному виробництві застарілу модель ТВ-6 і був замінений на більш досконалу модель ТВ-7М .
Верстат ТВ-7 (часто званий "школяр") є навчальним універсальним токарно-гвинторізним верстатом і призначається для всіляких токарних робіт у майстернях шкіл для політехнічного навчання та холодної обробки металів різанням.
Навчальний верстат моделі ТВ-7 дозволяє ефективно освоювати як теоретичні, і практичні навички токарного справи. Верстат користується величезною популярністю у домашніх майстернях.
Токарно-гвинторізний верстат ТВ-7 дозволяє проводити такі види токарних робіт:
Цей верстат прийшов на зміну моделі ТВ-6, яка була піддана незначній модернізації. Основна відмінність даних шкільних верстатів у тому, що вони по-різному влаштовані коробки швидкостей і шпиндельні бабки.
Знижувальна коробка швидкостей токарного верстата ТВ-7 має два режими роботи. Частота обертання шпинделя регулюється за допомогою, а також за допомогою ручного перекидання приводного ременя на необхідну позицію. У конструкції ТВ-7 не передбачено важелів для перемикання швидкостей, які були присутні в більш ранніх моделях.
Основні відмінності параметрів верстата ТВ-7 від верстата моделі ТВ-6 у наступному:
Шпиндель токарно-гвинторізного верстата ТВ-7 встановлений на чотирьох підшипниках: два радіально-упорних у задній опорі та радіальний роликовий дворядний у передній.
На задньому кінці шпинделя закріплений чотириступінчастиний шків.
Передній кінець шпинделя - різьбовий М45 х 4,5 під проміжний фланець ГОСТ 3889 виконання 1 та стандартний патрон Ø125 мм.
Шпиндель токарного верстата ТВ-7 отримує 8 швидкостей обертання: від двошвидкісної понижувальної коробки швидкостей та чотириступінчастого шківа. Тому в передній бабці верстата ТВ-7 відсутня коробка швидкостей, швидкості шпинделя перемикаються перекидкою приводного ременя і за допомогою двошвидкісної коробки знижувальної в лівій тумбі верстата.
Виробник - Завод "Навчальне обладнання №1" м. Ростов на Дону.

Фото токарно-гвинторізного верстата ТВ-7

Фото супорту токарно-гвинторізного верстата ТВ-7

Фото гітари токарно-гвинторізного верстата ТВ-7

Фото фартука токарно-гвинторізного верстата ТВ-7

Фото редуктора токарно-гвинторізного верстата ТВ-7

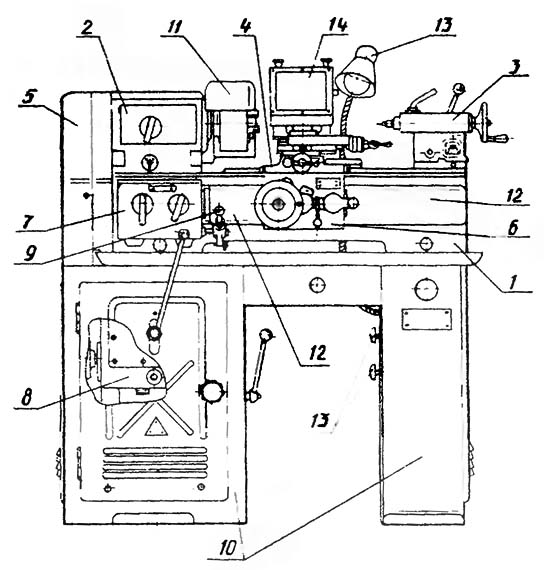
Розташування складових частинин токарного верстата ТВ-7

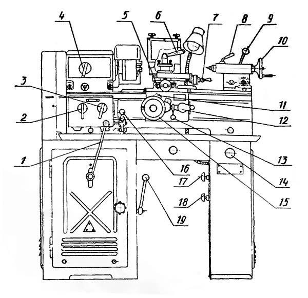
Розташування органів керування токарно-гвинторізним верстатом ТВ-7

Механіка токарно-гвинторізного верстата ТВ-7
Пуск та зупинка електродвигуна верстата виконуються рукояткою 16 (див. рис. 3).
При включенні рукоятки 16 вгору обертання двигуна «Вперед», при включенні вниз обертання двигуна «Назад». У середньому положенні ручки двигун вимкнено.
Залежно від характеру робіт, що виконуються на верстаті, рукоятки і важелі керування (див. рис. 3) повинні знаходитися в певних положеннях.
I. Положення рукояток та важелів при роботі з нарізування різьблень (механічна подача ходовим гвинтом):
ІІ. Положення рукояток і важелів під час роботи з ходовим валом (механічна подача):
ІІІ. Положення рукояток і важелів при ручній поздовжній подачі:
IV. Положення рукояток керування для отримання необхідних режимів різання згідно з рис. 15
Станіна є базовим вузлом, на якому, за винятком приводу, монтуються всі інші вузли та механізми верстата.
Станина - лита, чавунна, коробчастої форми з вікнами. Має дві призматичні та дві плоскі напрямні.
Передня призматична і задня плоска направляючі служать для переміщення супорта, а задня призматична і передня плоска направляючі служать для переміщення задньої бабки.
Станина установлена на две тумбы верстата.

Кінематична схема токарно-гвинторізного верстата ТВ-7
Схема кінематична токарно-гвинторізного верстата ТВ-7. Дивитись у збільшеному масштабі

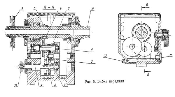
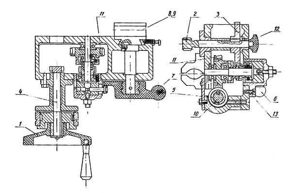
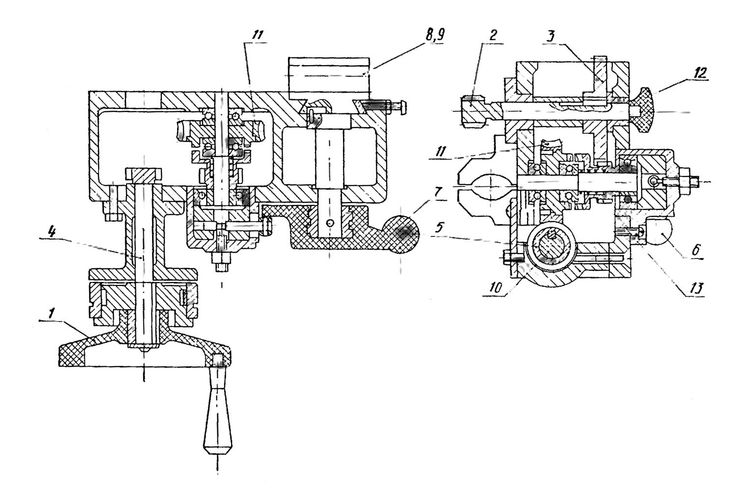
Передня бабка токарно-гвинторізного верстата ТВ-7
Передня бабка токарно-гвинторізного верстата ТВ-7. Дивитись у збільшеному масштабі
Передня бабка служить для закріплення або підтримки оброблюваної деталі та повідомлення обертального руху.
Передня бабка кріпиться у лівій частині станини.
Рух з коробки знижувальною, клинопасової передачею через шків передається безпосередньо на шпиндель передньої бабки.
Шпиндель має 8 ступенів швидкостей 60, 90, 130, 190, 350, 500, 730, 1000 об/хв.
В передньої і задньої опорах шпинделя установлены по два радиально-упорных підшипника.
Шпиндель передає обертання оброблюваної деталі за допомогою трикулачкового патрона або планшайби з повідцем, які накручуються на його різьбову частину. При обробці деталей у центрах, у шпиндель вставляється центр.
Рух подач супорта запозичується від шпинделя. Вал 9 отримує обертання через шестерні 3-4-6-8. З валу 9 рух передається змінній шестірні гітарі - 10.
У передній бабці змонтовано пристрій, що дозволяє змінювати напрямок переміщення супорта - реверсувати подачу. Реверсування здійснюється переміщенням шестерні 8 в ліве та праве крайні положення рукояткою 4 (рис. 3). При крайньому лівому положенні шестерня 8 отримає пряме обертання безпосередньо від блоку шестерень 6, розташованого на валу 5. При правому крайньому положенні шестерня 8 отримає зворотне обертання через паразитну шестерню 7, яка знаходиться в постійному зачепленні з другим ступенем блоку шестерень 6.
На лицьовій стороні корпусу передньої бабки розташований масловказівник 11. На звороті є пробка 12 для зливу масла

Опори шпинделя токарно-гвинторізного верстата ТВ-7
Опори шпинделя верстата токарно-гвинторізного верстата ТВ-7. Дивитись у збільшеному масштабі
Шпиндель верстата ТВ-7 змонтований на трьох підшипниках:
1. Усунення осьового зазору підшипника передньої опори шпинделя здійснюється гайкою 1 та контрагайкою 2 (рис. 16).
При появі в процесі роботи верстата вібрацій шпинделя необхідно перевірити затягування гайок 1 і 2. Якщо затяжкою гайок вібрація шпинделя не усувається, це говорить про те, що підшипник передньої опори шпинделя зносився і станок вимагає ремонту.
Зазор у підшипнику передньої опори шпинделя усувається шліфуванням торців компенсаційного кільця 3.
2. Усунення радиального і осьового зазору підшибників задньої опори шпинделя осуществляется подтягиванием гайки 1 і контрагайки 2 (рис. 17).
Якщо підтягуванням гайок усунути зайвий проміжок не вдається, необхідно розібрати шпиндельний вузол і підшліфувати торці компенсаційного кільця 3.
Для змащення верстата слід застосовувати олію індустріальну І-20А, ГОСТ 20799-75 і солідол Ж, ГОСТ 1033-79.
Шестерні та підшипники передньої бабки змащуються розбризкуванням олії з масляної ванни. Олія заливається при знятій верхній кришці.
Підшипник 3182110 - це дворядний роликовий радіальний підшипник, з короткими циліндричними роликами, з безбортовим зовнішнім кільцем (внаслідок чого комплект тіл кочення на сепараторі здатний переміщатися і створювати «плаваючу» опору), з конічним отвором отвором (1:1 внесення мастильного матеріалу. Основне місце експлуатації таких підшибників – верстати різного застосування, вузли де діють високі радіальні навантаження та швидкості. Цей типорозмір, як і більшість роликопідшибників цієї серії, виробляється в даний час тільки високоточним.
Підшипник завжди випускався на московському заводі ГПЗ-1, зараз його виробництво переводять у Волзький, на філію Заводу Авіаційних Підшипників при 15 ГПЗ (всі заводи об'єднані під егідою Європейської Підшипникової Корпорації). Виготовляється дві модифікації – 4-3182110К та 2-3182110К. Літера К означає наявність кільцевої проточки і трьох отворів для внесення мастила. Вироблені у минулому підшипники часто мають додаткове позначення Л (латунний сепаратор). Купувати підшипники з гарантією якості слід у офіційних представників ЄПК, які є у багатьох регіонах країни. Орієнтовна вартість нових заводських виробів — близько 3400 рублів, але рідкісний представник тримає їх у складі. Оперативно з наявності в основному можна купити тільки підшипники із зберігання, неліквіди, що були у вживанні у фірмах відповідного профілю.
Імпортні підшипники цього типорозміру мають позначення NN3010K (наявність літери К у номері є обов'язковою, оскільки вона вказує на конічну посадку). У Росію поставляється продукція різної цінової категорії: найдорожчі та найнадійніші — FAG, SKF, KOYO, IBC, дешевше — NACHI та NSK. Ще більш дешевий варіант — продукція східноєвропейських виробників — ZKL і FLT, яка найчастіше реалізується неліквідної якості, яка іноді навіть уживала. Орієнтовна ціна найякісніших і найдорожчих підшибників цього типу становить близько 270 — 280 євродоларів.

Схема підшипника 3182110 (NN3010K) токарного верстата ТВ-7
Підшипник 46208 - це кульковий радіально-упорний однорядний підшипник. Тип навантаження, що сприймається, — комбінована радіально-осьова. Підшипник нероз'ємний. Кут контакту становить 26 ° (у серії 36000 цей кут становить 12 °.
Для двосторонньої фіксації валу виробу встановлюються парами (оскільки підшипники однорядні та осьове навантаження здатні нести лише в один бік).
У нашій країні виробляються у Саратові на колишньому 3 ГПЗ (маркування SPZ). Випускаються такі модифікації: 4-46208Е5, 5-46208Е5, 6-46208Е5, 6-46208Л. Окрім саратовського заводу їх випускає самарський СПЗ-4 (тільки шостим класом точності), чия продукція дещо поступається першому за якістю, але значно дешевшою.
Імпортні підшипники цього типу мають маркування 7208A. Сепаратор із латуні в номері відображається наявністю літери М, з поліаміду – літери D.

Схема підшипника 46208 (7208A) токарного верстата ТВ-7

Коробка знижуюча токарно-гвинторізного верстата ТВ-7
Коробка знижуюча токарно-гвинторізного верстата ТВ-7. Дивитись у збільшеному масштабі
Коробка знижуюча (рис. 6) служит для расширения диапазона чисел оборотів шпинделя передньої бабки (см. табл. 5).
Коробка установлена в передньої тумбе верстата, на общей з електродвигуном салазке.
Рух від електродвигуна на вхідний вал 2 коробки понижувальної передається клинопасової передачею через шків 1. Переставляючи ремінь по черзі в один із струмків шківа 1 і шківа, розташованого на валу електродвигуна, можна отримати 4 різні швидкості обертання валу 2 (див. табл. 5).
Ослаблення ременя проводиться поворотом рукоятки 19 (рис. 3) на себе. Після перестановки ремінь натягується поворотом рукоятки 19 у напрямку (вгору він).
Вал 7 отримує обертання через (перебір) шестерні 3-4-5-6, або безпосередньо з'єднується з валом 2 через кулачкову муфту, виконану на торцях шестерень 3 і 6. Для цього необхідно поворотом рукоятки 1 (рис. 3) перемістити шестерню 3 крайнє ліве становище (включити муфту). Одночасно виходять із зачеплення шестерні 3-4 і 5-6.
Таким чином, на вихідному валу 7 понижувальної коробки можна отримати 8 різних швидкостей. З валу 7 клинопасової передачею через шків 8 рух передасться на шпиндель передньої бабки.
На передній стороні корпусу понижуючої коробки є маслопоказник 9, на підставі — пробка 19 для зливу масла, Пробка для заливу масла розташована на кришці 11.

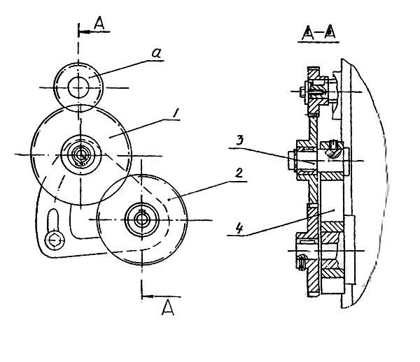
Гітара токарно-гвинторізного верстата ТВ-7
Гітара (передавальні механізми) (рис. 7) служить для передачі обертання від шпинделя передньої бабки до коробки подач.
У верстаті ТВ-7 частина шестерень гітари – шестрені 3, 4, 6, 8 (див. рис. 5) та механізм реверсу подачі, робота якого описана у пункті 1.5.6., розташовані у корпусі передньої бабки. Таке розташування дозволило знизити шум, створюваний передавальним механізмом під час роботи, та покращити його змащення.
Передатне відношення шестерень 3-4-6-8 складає:
i = 48/60 * 30/48 = ½
Таким чином змінна шестерня гітарі а (див. рис. 7) по відношенню до шпинделя має вдвічі менше оборотів.
Застосування змінних шестерень a (Z = 32; Z = 48; Z = 64) дозволяє розширити діапазон нарізних різьблень і величин подач супорту.
Зі змінної шестерні, рух через паразитну шестерню 1 передається шестерні 2, розташованої на вхідному валу коробки подач. Шестерня 1 встановлена на пальці 3, запресованому в кронштейні 4

Коробка подач токарного верстата ТВ-7
Коробка подач токарно-гвинторізного верстата ТВ-7. Дивитись у збільшеному масштабі
Рух от шпинделя передньої бабки верстата через передавальний механізм (гітару) передається валу 1 коробки подач (рис. 8).
При повороті рукоятки 2 (рис. 3), яка має три фіксовані положення, блок-шестерня 6 переміщається по шліцях вала 5 і її вінці по черзі входять у зачеплення з шестернями 2, 3, 4, що нерухомо сидять на валу 1 (рис. 8) .
Це дає можливість разом зі змінними шестернями гітарі отримати метричне різьблення з кроком 0,8; 1,0; 1,25; 1,5; 2,0; 2,5 мм і поздовжню механічну подачу супорта 0,10; 0,12; 0,15; 0,16; 0,18; 0,20; 0,24; 0,32 мм/про.
Включення ходового ггвинта чи ходового валика здійснюється попоротою рукоятки 3 (рис. 3).
У положенні, вказаному на рис. 8 здійснюється обертання ходового ггвинта.
При переміщенні шестерні 9 вправо, вона вийде із зачеплення з шестернею 10 і увійде в зачеплення з муфтою 11, яка передає обертання на вал 7.
Таким чином, у конструкції коробки подач виключається можливість одночасного обертання ходового ггвинта та ходового валика.
Зміна напрямку обертання ходового ггвинта та ходового валика здійснюється поворотом рукоятки 4 (рис. 3).
Для змащення механізму коробки подач у верхній частині є лоток для заливки масла.
Олія на шестірні і поверхні, що труться, поливається ґнотами.
Під час роботи верстата в лотку коробки подач постійно має бути невелика кількість масла.
Для зливу олії в нижній частині коробки подач є зливна пробка 13.
При нарізанні різьблення ходовий гвинт не повинен мати осьового переміщення.
Усунення осьового люфта проводиться підтягуванням двох круглих гайок 12.

Фартук токарно-гвинторізного верстата ТВ-7
Фартук токарно-гвинторізного верстата ТВ-7. Дивитись у збільшеному масштабі
За допомогою фартуха (рис. 9) можна проводити механічну поздовжню подачу супорта від ходового валика та від ходового ггвинта, а також ручну поздовжню подачу.
Ручна подача здійснюється обертанням маховика 1, насадженого на вал-шестерню 4, що входить у зачеплення з шестернею 3, що сидить на валику рейкової шестерні 2.
Остання входить у зачеплення із зубчастою рейкою, жорстко прикріпленою до станини. Механічна подача від ходового валика 10 здійснюється хробаком 5, пов'язаним з валиком ковзною шпонкою. Черв'як приводить у обертання черв'ячну шестерню 11 і далі через кулачкову муфту і шестерні 13, 3 обертання передасться на рейкову шестерню. Для включення механічної подачі треба ручку 6 повернути на себе, при цьому включається кулачкова муфта.
Механічна подача від ходового ггвинта здійснюється поворотом донизу рукоятки 7, що з'єднує гайку роз'ємну 8-9 з ходовим гвинтом.
Рейкову шестерню 2 при нарізанні різьблення треба обов'язково виводити з зачеплення з рейкою рухом рукоятки 12 на себе.
При механічній подачі від ходового валика і при ручній подачі супорта за допомогою маховичка 1 рейкову шестерню обов'язково вводять в зачеплення з зубчастою рейкою рухом рукоятки 12 від себе.
У конструкції фартуха передбачено блокування, яке не дозволяє одночасно включати механічну подачу від ходового валика та маточну гайку.

Суппорт верстата токарно-гвинторізного верстата ТВ-7
Суппорт верстата токарно-гвинторізного верстата ТВ-7. Дивитись у збільшеному масштабі
Супорт (рис. 10) призначений для закріплення та переміщення різця, він має чотири санки.
Салазка 1 переміщається в поздовжньому напрямку напрямними станини.
Салазка 2 переміщається поперечним напрямним санки 1 і служить для поперечного переміщення різця.
Салазка 4, що несе чотирипозиційну різцеву головку, має лише поздовжнє переміщення по направляючих санки 3, яка має можливість повертатися на 40° від середнього положення в ту чи іншу сторону.
Поперечне переміщення санки 2 по направляючих нижньої санки 1 проводиться гвинтом 6 і гайкою 5.
Гвинт 6 приводиться у обертання від руки рукояткою 12.
Зверху санка 2 має поглиблення, куди входить виступ новоротної частини верхнього супорта; для закріплення поворотної частини є 2 болти, головки яких входять у Т-подібний паз санки 2.
Верхню санку 4 супорта можна переміщати по направляючих вручну, рукояткою 7, яка обертає гвинт 8. Напрямні станини, санок і клинів від тривалої роботи зношуються настільки, що між ними може з'явитися зазор.
В результаті різець вібруватиме, і знизиться точність роботи верстата. Для усунення вібрації потрібно відрегулювати притискні планки 10 санки 1 ггвинтами 11.
Регулювання клинів проводиться ггвинтами, розташованими в торцях санки 2 і санки 4 супорта.
Різцетримач закріплюється на санці 4 болтом 13 і рукояткою 14. При відвертанні рукоятки різцетримач віджимається вгору від верхньої санки.
Для фіксації положення різцетримача на санку 4 є опорний штифт.
У різцетримачі можна закріплювати одночасно до чотирьох різців. Різці кріпляться болтами 15.

Задня бабка токарно-гвинторізного верстата ТВ-7
Задня бабка (рис. 11) служить підтримки другого кінця оброблюваної деталі. Корпус 1 розташований на підставі 2, що переміщається направляючими станини верстата.
У корпусі поздовжньо переміщається піноль 3.
Піноль має конічний отвір (конус Морзе 2), в який вставляється наполегливий центр або інший інструмент; свердла, розгортки, свердлильний патрон і т. д. Переміщення пінолі проводиться маховичком 4, що обертає гвинт 5.
Для зручності обертання на маховику закріплено ручку 6.
Щоб піноль при обертанні маховичка не поверталася, вона має шпоночну канавку, в яку входить гвинт-шпонка 7. Рукоятка 8 служить для затискання пінолі в корпусі бабки. Осі шпинделя та пінолі задньої бабки повинні збігатися.

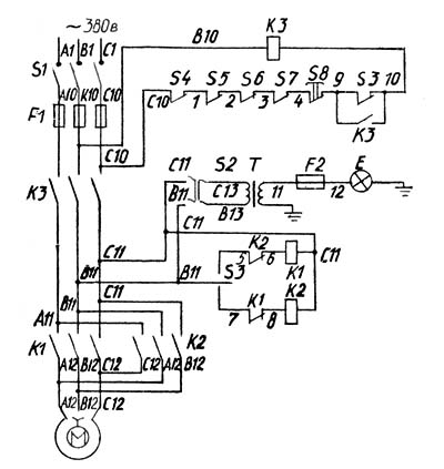
Електрична схема токарно-гвинторізного верстата ТВ7
До електроустаткування верстата відносяться:
Щит з електроаппаратурой установлен в задньої тумбе верстата.
Електродвигун розташований у передній тумбі.
Перемикач кулачковий універсальний кріпиться на станині з зворотного боку верстата.
Для продовження терміну служби клинопасових передач і повнішого використання електродвигуна за потужністю необхідно стежити за натягом ременів і своєчасно підтягувати їх.
Для натягу ременя 1 (див. рис. 18) клинопасової передачі від двигуна до понижувальної коробки, необхідно відпустити контрагайку 2 і обертанням гайки 3 вліво перемістити підмоторну плиту вздовж ггвинта 4, створивши необхідний натяг (10 кг на одну гілку в спокої). Після цього закінчити гайку 2.
Для натягу ременя 5 клинременной передачі від коробки понижувальної до передньої бабці необхідно послабити болти 6, що кріплять санку з коробкою знижує до передньої тумби, за допомогою ггвинта 7 опустити санку, створивши необхідний натяг (10 кг на одну гілка ременя в спокої). Після цього 6 болти затягнути.
Перемикання коробки понижувальної, реверсу подач передньої бабки, а також рукояток коробки подач необхідно проводити при вимкненому двигуні після зупинки верстата. Якщо необхідна пара шестерень або зубчаста муфта не включилися, необхідно, взявшись рукою за патрон або шків передньої бабки, провернути шпиндель і ввести шестерні або муфту в зачеплення.
При перемиканні передач у період неповної зупинки шпинделя відбуваються різкі удари зубчастих муфт і шестерень, внаслідок чого вони швидко зношуються і стають непридатними.
Перед тим як повернути патрон на шпиндель, потрібно ретельно прочистити різьблення на шпинделі і в патроні.
Забруднення різьблення викликає заїдання патрона на шпинделі і може вивести шпиндель із ладу.
Необхідно ретельно стежити за станом сальників супорта, так як з часом у них накопичується дрібна стружка, яка може викликати задираки на направляючих станини. Сальники необхідно промивати гасом.
За направляючими станини потрібно дуже ретельний догляд. У жодному разі не слід допускати, щоб під час руху супорта на направляючих залишався брудний слід. Шар масла на направляючих станини під час руху супорта має бути завжди чистим.
З появою брудного сліду потрібно негайно ретельно промити гасом напрямні.
Брудний слід утворюється дрібними частинками металу, які потрапляють між поверхнями супорта і станини, що труться, і при русі супорта утворюють подряпини на направляючих.
Особливу увагу потрібно звертати на те, щоб не перевантажувати станок. У перевантаженого верстата під час роботи спостерігається підвищений шум, відбувається пробуксовування ременя, перегрівання підшибників шпинделя та перегрівання двигуна.
Піноль при проточці деталей у центрах слід висувати на невелику величину; це збереже її від передчасного зносу, забезпечить міцніше кріплення деталі.
| Найменування параметру | ТВ-4 | ТВ-6 | ТВ-7 |
|---|---|---|---|
| Основні параметри верстата | |||
| Класс точності | Н | Н | Н |
| Найбільший діаметр заготовки над станиною, мм | 200 | 200 | 220 |
| Найбільший діаметр заготовки над супортом, мм | 125 | 80 | 100 |
| Висота центрів над плоскими напрямними станини, мм | 108 | 108 | 120 |
| Найбільша довжина заготовки у центрах (РМЦ), мм | 350 | 350 | 330 |
| Найбільша довжина заготовки в патроні, мм | 310 | ||
| Діаметр заготовки, що встановлюється в патроні, мм. | 5..110 | ||
| Найбільша довжина обточування, мм | 300 | 300 | 300 |
| Найбільша висота тримача різця, мм | 10 х 12 | 12 х 12 | 16 х 16 |
| Висота від опорної поверхні різця до лінії центрів, мм | 12 | 12 | |
| Найбільша відстань від осі центрів до кромки різцетримача, мм | 78 | 78 | |
| Передня бабка. Шпіндель | |||
| Різьбовий кінець шпинделя, мм | М36 х 4,5 | М36 х 4,5 | М45 х 4,5 |
| Діаметр стандартного патрона, мм | 100 | 100 | 125 |
| Діаметр наскрізного отвору в шпинделі, мм | 16 | 18 | |
| Найбільший діаметр прутка, мм | 15 | 12 | |
| Конус Морзе шпинделя | №2 | №3 | №3 |
| Число ступенів частот прямого обертання шпинделя | 6 | 6 | 8 |
| Частота прямого обертання шпинделя, об/хв | 120, 160, 230, 375, 500, 710 | 130, 170, 235, 385, 510, 700 | 60,90, 130, 190, 350, 500, 730, 1000 |
| Гальмування шпинделя | ні | ні | ні |
| Блокування рукояток | ні | ні | ні |
| Супорт. Подання | |||
| Найбільше поздовжнє переміщення супорта, мм | 300 | 300 | 260 |
| Переміщення супорта поздовжнє на один поділ лімба, мм | 0,5 | 0,25 | 0,25 |
| Найбільше поперечне переміщення супорта, мм | 100 | 100 | |
| Переміщення супорта поперечне на один поділ лімба, мм | 0,025 | 0,025 | 0,025 |
| Найбільше переміщення різцевих санчат, мм | 50 | 85 | 85 |
| Переміщення різцевих санок на один поділ лімба, мм | 0,025 | 0,025 | 0,025 |
| Кут повороту різцевих санчат, град | ±45° | ±45° | ±40° |
| Число ступенів поздовжніх подач супорта | 3 | 3 | 6 |
| Межі поздовжніх робочих подач супорту, мм/про | 0,08; 0,1; 0,12 | 0,08; 0,1; 0,12 | 0,1; 0,12; 0,16; 0,20; 0,24; 0,32 |
| Межі робочих поперечних подач супорта, мм/про | ні | ні | ні |
| Кількість нарізних різьблень метричних | 3 | 3 | 6 |
| Межі кроків різьб метричних, що нарізаються, мм | 0,8; 1,0; 1,25 | 0,8; 1,0; 1,25 | 0,8; 1,0; 1,25; 1,5; 2,0; 2,5 |
| Межі кроків різьблення дюймових | ні | ні | ні |
| Межі кроків різьблення модульних | ні | ні | ні |
| Межі кроків різьблення питних | ні | ні | ні |
| Задня бабка | |||
| Конус Морзе задньої бабки | №2 | №2 | №2 |
| Найбільше переміщення пінолі, мм | 65 | 65 | 65 |
| Електроустаткування | |||
| Електродвигун головного приводу, кВт | 1,0 | 1,1 | 1,1 |
| Габарити та маса верстата | |||
| Габарити верстата (довжина ширина висота), мм | 1440 х 470 х 1020 | 1100 х 470 х 110 | 1050 х 535 х 1200 |
| Маса верстата, кг | 280 | 300 | 400 |