Фрезерний горизонтальний настільний верстат моделі НГФ-110ш3 випускається підприємством Ростовський завод малогабаритного верстатного обладнання МАГСО, КомТех-Плюс , заснований у 1956 році.
Завод МАГСО входить до Фінансово-промислової групи КомТех , яка на ринку верстатного обладнання існує вже кілька років і має пріоритет з випуску малогабаритних металорізальних верстатів токарних, фрезерних, вібраційних, заточувальних, свердлильних, якими комплектуються школи, профтехучилища, коледжі, інститути, ремонтно організації всіх регіонів Росії.
Горизонтально-фрезерний навчальний верстат НГФ-110ш3 випускався з 1972 по 1979 рік за ТУ-79 РРФСР 355-72 та був замінений у виробництві більш досконалим верстатом НГФ-110Ш4, що випускається за ТУ-79 РРФСР 441
Горизонтальний консольно-фрезерний верстат НГФ-110ш3 настільного типу призначений для виконання фрезерних операцій з обробки горизонтальних площин, пазів та інших поверхонь. Установка вертикально-фрезерної головки (ВФГ) дозволяє додатково проводити обробку вертикальних площин, а також площин під певним кутом. Обробка площин проводиться дисковими, торцевими, кінцевими, кутовими та фасонними фрезами.
Фрезерний верстат моделі НГФ-110ш3 є спеціальним шкільним обладнанням та призначений для виробничого навчання у середній школі для обладнання шкільних навчальних майстерень.
НГФ-110ш1, НГФ-110ш2 виробник: Завод №5 ім. Дзержинського , місто Щелково Московської області, селище імені Свердлова.
НГФ-110ш2 виробник: Сапожківський механічний завод № 7 , місто Сапожок Рязанської області.
НГФ-110ш3 0,6 кВт, розмір столу 100 х 400 мм виробник: Ростовський завод МАГСО , заснований у 1956 році.
НГФ-110ш4 0,75 кВт, розмір столу 100 х 400 мм виробник: Ростовський завод МАГСО , заснований у 1956 році.

Габарити робочого простору фрезерного верстата НГФ-110ш3
Габарити робочого простору фрезерного верстата НГФ-110Ш3. Дивитись у збільшеному масштабі
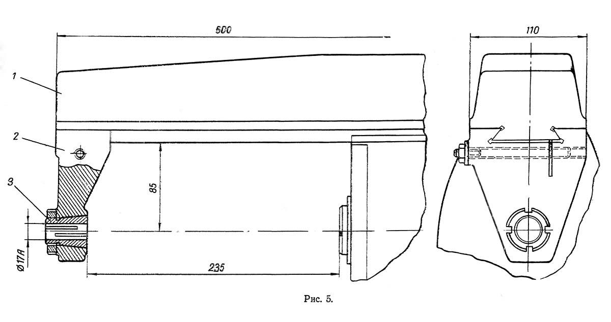
Ескіз хобота із сережкою горизонтально-фрезерного верстата НГФ-110ш3
Стійка у верхній частинині має напрямні типу «ластівчин хвіст», в яких встановлений хобот 1. Хобот можна переміщати напрямними вручну. Затискач хобота на направляючих здійснюється клином, який при загортанні ггвинта затягується та закріплює хобот на стійці.
У передньому кінці хобота встановлена сережка 2. Сережка на хоботі стягується гайкою 5. Перестановка сережки з одного верстата на інший у зв'язку з індивідуальним припасуванням не допускається.
Бронзовий підшипник-втулка сережки 4 має зовнішню конічну поверхню і два поздовжніх розрізи, за рахунок яких гайкою 3 регулюється зазор в підшипнику.
Перед початком роботи необхідно змастити маслом І-30А внутрішню порожнину сережки втулки.
Регулювання зазору визначається по нагріванню втулки сережки (при обкатуванні протягом однієї години при максимальній частоті обертання шпинделя нагрівання втулки не повинно перевищувати 50-60 ° С, при достатньому мастилі).
Оправлення призначене для кріплення циліндричних дискових та інших фрез.
Фрези кріпляться на оправці за допомогою настановних кілець та гайки.
Для забезпечення жорсткості різального інструменту вільний кінець оправлення встановлюється в опору сережки. Сережки закріплюються на хоботі.

Посадочні та приєднувальні бази верстата НГФ-110ш3

Фото настільного фрезерного верстата НГФ-110ш3

Фото настільного фрезерного верстата НГФ-110ш3

Фото настільного фрезерного верстата НГФ-110ш3

Фото настільного фрезерного верстата НГФ-110ш3

Розташування органів керування верстатом НГФ-110ш3

Кінематична схема фрезерного верстата НГФ-110ш3
Кінематична схема фрезерного верстата НГФ-110ш3. Дивитись у збільшеному масштабі
Вращение от електродвигуна I передається клиноременной передачей валу II коробки швидкостей (рис. 7). Далее з вала II. на вал III і затем на шпиндель IV вращение передається через шестерни 4, 5, 6, нерухомо закрепленные на валу II, подвижные тройной і двойной блоки шестерен, сидящие на валу III і шестерни 12, 13 нерухомо закрепленные/на шпинделе IV.
Подвижные блоки шестерен позволяют получить шесть различных частот обертання шпинделя (см. график частот обертання шпинделя).
Стойка является базовым узлом, на котором монтируются все остальные вузли і механізмы верстата.
Жесткость конструкції стойки достигается за счет развитого основания і трапецеидального сечения стойки по высоте.
Стойка разделена на два отсека. В верхнем отсеке монтируется коробка швидкостей, в нижнем — електродвигатель.
Трехваловая шестискоростная коробка швидкостей смонтирована в верхней частини корпуса стойки і обеспечивает регулювання частоти обертання шпинделя от 100 до 1000 об/мин. Подбор необходимой частоти обертання осуществляется з помощью рычагов переключения, расположенных з левой стороны верстата.
Для осмотра коробки швидкостей необходимо снять боковую крышку.
Шпиндель ставка представляет собой двухопорный полый вал.
Передня шейка шпинделя опирается на два радиально-упорных підшипника 8 (рис. 2), а задня — на радиальный подшипник 9. Для устранения осьового зазору передних підшибників на шпинделе установлены две гайки 10. Между підшипниками установлены распорные кольца 11 і 12. При износе підшибників зазор в них устраняется шлифовкой торцов внутреннего распорного кольца 12. Компенсационное кольцо 13 служит для устранения осьового люфта шпинделя.

Фото коробки швидкостей фрезерного верстата НГФ-110ш3

Схема коробки швидкостей фрезерного верстата НГФ-110ш3
Схема коробки швидкостей фрезерного верстата НГФ-110ш4. Дивитись у збільшеному масштабі

График оборотів шпинделя фрезерного верстата НГФ-110ш3

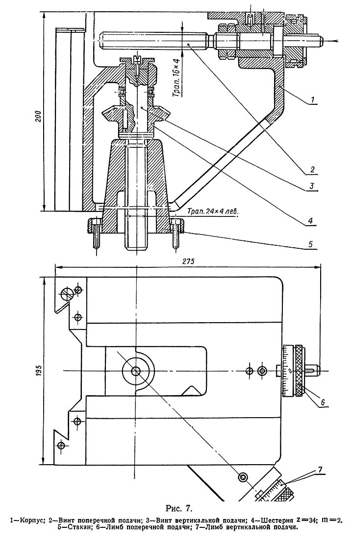
Стол і консоль фрезерного верстата НГФ-110ш4

Консоль фрезерного верстата НГФ-110ш4
Консоль фрезерного верстата НГФ-110ш4. Дивитись у збільшеному масштабі
Консоль является базовым узлом механізма подач. На направляючих консоли установлен стол з салазками. Поперечная подача стола осуществляется от гвинта поперечної подачі 2. Вертикальная подача консоли по направляющим стойки осуществляется от гвинта вертикальной подачі 3.

Стол фрезерного верстата НГФ-110ш4
Стол фрезерного верстата НГФ-110ш4. Дивитись у збільшеному масштабі
Рабочий стол верстата является післядним елементом в ланцюги подач і имеет возможность перемешаться в трех направлениях: по направляющим салазок — в продольном, вместе з салазками по направляющим консоли — в поперечном і вместе з консолью по направляющим стойки— в вертикальном.
На станке установлен екран защитный для защиты работающего от отлетающей стружки в зоне різання.
Смазка зубчатых колес і підшибників коробки швидкостей осуществляется разбрызгиванием.
Масло И-30А заливается в масляный резервуар до уровня, контролируемого маслоуказателем.
Масло менять первый раз через 15 дней роботи, затем через каждые 3 месяца.

Електрична схема фрезерного верстата НГФ-110ш3
К електрооборудованию относятся: трехфазный короткозамкнутый асинхронный електродвигатель, установленный в нижнем отсеке стойки, і установленные в изолированных нишах плиты верстата, магнитный пускатель, клеммные колодки, выключатели, кнопочний пост керування.
| Наименование параметра | НГФ-110ш3 | НГФ-110ш4 |
|---|---|---|
| Основні параметри верстата | ||
| Основні розміри ГОСТ, ТУ | ТУ-79 РСФСР 355-72 | ТУ 79 РСФСР 441-79 |
| Класс точності по ГОСТ 8-82 | Н | Н |
| Розміри рабочей поверхности стола (длина х ширина), мм | 100 х 400 | 100 х 400 |
| Расстояние от оси горизонтального шпинделя до стола, мм | 30..200 | 30..200 |
| Расстояние от оси горизонтального шпинделя до хобота, мм | 85 | 85 |
| Расстояние от торца шпинделя до підшипника подвески (серьги), мм | 235 | 235 |
| Наибольший диаметр фрезы, устанавливаемой на станке, мм | 110 | 110 |
| Рабочий стол | ||
| Наибольшее перемещение стола продольное, мм | 250 | 250 |
| Наибольшее перемещение стола поперечное, мм | 85 | 85 |
| Наибольшее перемещение стола вертикальное, мм | 170 | 170 |
| Число Т-образных пазов | 1 | 1 |
| Перемещение стола на одно деление лимба продольное (на один оборот), мм | 0,05 (4) | 0,05 (4) |
| Перемещение стола на одно деление лимба поперечное (на один оборот), мм | 0,05 (4) | 0,05 (4) |
| Перемещение стола на одно деление лимба вертикальное (на один оборот), мм | 0,025 (2) | 0,025 (2) |
| Быстрый ход стола продольный/ поперечний/ вертикальний, мм/мин | нет | нет |
| Число ступеней рабочих подач стола | нет | нет |
| Пределы рабочих механических подач стола. Продольных, поперечных, вертикальних, мм/мин | нет | нет |
| Угол поворота стола (в крайнем переднем положении), град | нет | нет |
| Шпиндель | ||
| Частота обертання горизонтального шпинделя, об/мин | 100, 160, 250 ,490, 630, 1000 | 125, 200, 310, 500, 800, 1250 |
| Количество швидкостей горизонтального шпинделя | 6 | 6 |
| Внутренний конус горизонтального шпинделя | Морзе 3 | Морзе 3 |
| Привід і електрообладнання | ||
| Количество електродвигателей на станке | 1 | 1 |
| Електродвигун приводу головного руху, кВт (об/хв) | 0,6 (1410..1440) |
0,55..0,75 (1390..1480) |
| Габарити та маса верстата | ||
| Габарити верстата (довжина x ширина x висота), мм | 685 х 640 х 790 | 685 х 640 х 925 |
| Маса верстата, кг | 200 | 340 |