metalinstryment.com
Довідник по металорізальних верстатах та пресовому обладнанні

На головну сторінку 🏠

ТчПА-7 Верстат заточувальний для круглих, рамних та стрічкових пилок
Схеми, опис, характеристики

ТчПА Верстат заточувальний для круглих, рамних та стрічкових пилок







Відомості про виробника заточувального верстата ТчПА-7

Виробником заточувального верстата для дереворізального інструменту ТчПА-7 є Кіровський верстатобудівний завод





Верстати, що випускаються Кіровським верстатобудівним заводом, КСЗ


ТчПА-7 Верстат заточувальний універсальний для круглих, рамних та стрічкових пилок. Призначення, сфера застосування

Праобразом заточувального верстата ТчПА-3, ТчПА-5 та ТчПА-7 є німецький верстат верстата Vollmer Cana E .

Заточувальний верстат ТчПА-7 застосовуються на підприємствах лісопильної та деревообробної промисловості для заточування пилок та ножів.

Верстат ТчПА-7 призначений для заточування:

Вид кліматичного виконання - УХЛ4 і Т згідно з ГОСТ 15150-69.


У базовий комплект поставки входить пристрій для заточування круглих пилок ТчПА-7.55.000 .

За додаткову оплату на верстат ТчПА-7 можна встановити:


Схема заточування пив на верстатах-напівавтоматах

Схема заточування зуб'їв пилок

Схема заточування зуб'їв пил на верстатах-напівавтоматах.


Заточування зубів пилок абразивним колом полягає в зішліфуванні з граней зубів шару металу, товщина якого достатня для відновлення їх гостроти та правильної форми. Так як за один прохід абразивне коло зішліфовує шар завтовшки 0,02...0,05 мм, пили заточують за 4...5 проходів, а сильно затуплені - за 6...7 проходів кола. Правильне заточування зубів пилок повинно задовольняти наступним вимогам:

  1. Всі зубці після заточування повинні мати однаковий профіль, тобто однаковий крок, висоту, кути та інші параметри.
  2. Вершини всіх зубів повинні бути розташовані на одній прямій (для рамних та стрічкових пилок) або кола (для круглих пилок).
  3. Дно западини між зубами повинне мати плавне закруглення; наявність гострих кутів - причина утворення тріщин у полотні та облома зубів.
  4. Зуби пив не повинні мати заворотів, засинання кінчиків та інших дефектів.
  5. Заточені зубці не повинні мати блиску на куточках, утворених перетином кромок. Блиск свідчить про те, що при заточуванні із зуба зішліфовано недостатній шар металу.

Залежно від місця зішліфування із зуба металу розрізняють такі способи заточування: по передній грані, по задній грані, по передній і задній грані. Заточування по передній грані допускає максимальну кількість переточень пилок, але потребує більше часу. Заточування тільки по задній грані, навпаки, неекономічне щодо витрати пилок. Тому сталеві пили заточують по обох гранях. У зубцях із ламаною задньою гранню нижню частинину спинки зуба не шліфують.

Схема заточування пилок на верстатах-напівавтоматах показана на рис. 50 а, б.

Пилозаточні верстати класифікують за призначенням, спеціалізацією, ступенем механізації та автоматизації, конструктивними ознаками.

За призначенням розрізняють верстати для заточування рамних, круглих та стрічкових пилок. Їм надано такі позначення (у порядку перерахування): ТчПР, ТчПК (або ТчПД), ТчЛ. Крім того, існують верстати ТчПТ для заточування дискових пилок з пластинками з твердого сплаву.

Приклад: моделі верстатів, що випускаються Кіровським верстатобудівним заводом

Заточувальні верстати моделей ТчПР-5, ТчПК-12, ТчПА-8 виконані на базі основної моделі ТчПА-7 з максимальною уніфікацією.

За спеціалізацією верстати поділяються на універсальні та спеціалізовані.

Універсальні верстати, наприклад ТчПА-7, розраховані на заточування пилок різних видів, спеціалізовані — на заточування пилок одного виду.

Подальша, більш вузька спеціалізація заснована на розмірних характеристиках пил, що заточуються.





ТчПА Загальний вигляд заточувального верстата

Фото заточувального верстата ТчПА

Фото заточувального верстата ТчПА-7

Фото заточувального верстата ТчПА-7. Дивитись у збільшеному масштабі



Фото заточувального верстата ТчПА

Фото заточувального верстата ТчПА-7


Фото заточувального верстата ТчПА

Фото заточувального верстата ТчПА-7


Розташування складових частинин заточувального верстата ТчПА

Розташування складових частинин заточувального верстата ТчПА

Розташування складових частинин заточувального верстата ТчПА-7

  1. Станина - ТчПА—7.10.000
  2. Стіл - ТчПА-7.15.000 (ТчПР-5.15.000)
  3. Механізм притиску пили - ТчПА-7.16.000
  4. Головка - ТчПА-7.20.000 (ТчПР-5.20.000)
  5. Головка шліфувальна - ТчПА-7.30.000 (ТчПР-5.30 000)
  6. Екран - ТчПА-7.35.000
  7. Механізм подачі пили - ТчПА-7.40.000
  8. Редуктор - ТчПА-7.50.000 (ТчПР-5.50.000)
  9. Пристрій для заточування круглих пилок - ТчПА-7.55.000
  10. Електроустаткування - ТчПА-7.80.000
  11. Пристрій для встановлення пилок вертикальних лісопильних рам - ТчПА-8.70.000
  12. Каретка - ТчПА-5.70.01
  13. Пристрій для встановлення пил тарних лісопильних рам - ТчПА-5.75.01
  14. Пристрій для встановлення стрічкових пилок - ТчПА-5.60.01
  15. Пристрій для заточування плоских ножів - ТчПНб.70.01

Розташування органів керування рейсмусовим верстатом ТчПА

Розташування органів керування рейсмусовим верстатом ТчПА

Розташування органів керування рейсмусовим верстатом ТчПА-7

Розташування органів керування рейсмусовим верстатом ТчПА-7. Дивитись у збільшеному масштабі



  1. Вступний вимикач
  2. Маховичок підйому та опускання столу
  3. Кнопка «Пуск»
  4. Кнопка "Стоп"
  5. Рукоятка підйому та опускання шліфувального круга
  6. Кнопки подачі шліфувального кола на глибину різання
  7. Кнопка регулювання вертикального ходу шліфувальної головки
  8. Рукоятка перемикання кулачків подачі пилки
  9. Рукоятка перемикання швидкостей редуктора
  10. Рукоятка притиску пили
  11. Кнопка встановлення товщини пилки
  1. Ручка для стопоріння відведеного положення собаки, що подає.
  2. Кнопка регулювання місця ходу собаки, що подає
  3. Маховичок регулювання кроку пили
  4. Гвинт стопоріння головки
  5. Гвинт повороту головки

Загальне компанування заточувального верстата ТчПА (див. рис. 2)

На станині 1 встановлена ​​головка 4( до якої кріпиться шліфувальна головка 5 з приводом шліфувального круга. На передній стінці станини змонтовані механізм подачі пили 7 і стіл 2. На столі 2, залежно від моделі верстата, встановлюється пристрій для заточування круглих пилок 9 або пристрій для заточування стрічкових пилок 11, або пристрій для заточування плоских ножів 14, або каретка 12 для заточування рамних пилок, на яку встановлюється пристрій для заточування тарних пилок 13. На задній стінці станини закріплений редуктор 8.

Електроустаткування верстата 10 розташоване всередині станини в ніші, яка закрита герметичною дверкою.

Привід редуктора та вентилятора здійснюється від окремого електродвигуна.

Профіль зуба, що заточується, визначається, перш за все профілем включеного в роботу кулачка. Крім того, на профіль заточуваного зуба впливає хід шліфувальної головки, хід собачки, що подає, і радіус заокруглення шліфувального кола.

Регулювання робочого ходу шліфувальної головки і собаки, що подає, безступінчасте.

Для приводу собачки, що подає, застосовуються п'ять кулачків:

  1. кулачок I (ТчПА-7.20.052) призначений для заточування круглих пилок I типу 1 виконання за ГОСТ 980-80
  2. кулачок II (ТчПА-6.20.087) предназначен для заточки круглых пил 1 типа 2 исполнения по ГОСТ 980-80, ленточных широких пил 2 і 3 типа по ГОСТ 6532—77
  3. кулачок III (ТчПА-6.20.088) предназначен для заточки круглых пил 2 типа 1 і 2 исполнения по ГОСТ 980—80
  4. кулачок IV (ТчПА-7.20.055) предназначен для заточки пил вертикальних лесопильных рам по ГОСТ 5524-75 і пил для тарных лесопильных рам по ГОСТ 10482—74
  5. кулачок V (ТчПА-7.20.056) предназначен для заточки пит вертикальних лесопильных рам по ГОСТ 5524-75 з увеличенным углом заострения до 52° против 47° по ГОСТ з уменьшенным задним углом до 23° против 28° по ГОСТ. Данный профиль применяется при зимней распиловке древесины.

Для заточных верстатів предусмотрены наступні кулачки:

Для освещения зоны затачиваемого зуба имеется кронштейн з осветительной лампой.

Верстат обеспечивает напівавтоматический цикл роботи. Налаштування верстата, установка і снятие пилы производятся вручную.





Схема кінематична заточного верстата ТчПА

Схема кінематична заточувального верстата ТчПА

Кинематическая cхема заточного верстата ТчПА-7

Схема кінематична заточного верстата ТчПА-7. Дивитись у збільшеному масштабі

Главное движение. Вращение шлифовального круга

Вращение от електродвигуна 14 передається з помощью клиноременной передачи 13, включающей в себя шкивы 9 і 12, на шпиндель 11, на котором закреплен шлифовальный круг 7.

Вертикальное возвратно-поступательное рух шлифовальной головки

Вращение от електродвигуна 43 передається з помощью клиноременной передачи 41, включающей в себя двухступенчатый шкив 40 і 42, на вал XVII вентилятора. С вала XVII вращение передається з помощью второй клиноременной передачи 39 і шкива 36 на вал XIV трехступінчастого трехскоростного редуктора. С вала XIV через валы XV і XIII на вал XII вращение передається з помощью шестерен 38, 37, 35, 34, 31, 32, 33, 29 і 30. С вала XII редуктора вращение передається на распределительный вал XVI. Вертикальное возвратно-поступательное рух шлифовальной головки происходит от кулачка 5, закрепленного на распределительном валу XVI через рычаг б з роликом, колодку 10 з регулируемым роликом, штангой IV і направляющей III. Штанга IV воздействует на винт-шестерню VI, которая установлена в корпусе 16 механізма подачі. Корпус 16 прикреплен к ползуну 15, к которому, в свою очередь, прикреплена шлифовальная головка 8.

За один оборот распределительного вала XVI происходит опускание і подъем шлифовальной головки 8.

Подача пилы на один зуб

Подача пилы на один зуб осуществляется от того или другого кулачка блока 3, установленного на распределительном валу XVI і переключаемого з помощью вилки 4 і вилки 25 рукояткой 23. Вилка 4 свободно передвигается на оси XI. Один из кулачков блока 3 воздействует на рычаг 48 з роликом. Рычаг нажимает на ролик гвинта XIX, смонтированного в корпусе 45. Корпус 45 поворачивается вместе з валом XVIII, на кінці которого закреплен рычаг 44. На етом же кінці вала XVIII установлен шарнирно рычаг 46, соединенный шарнирно з колодкой собачки 2. Колодка собачки поддерживается рычагом 47.

За один оборот распределительного вала XVI собачка 2 подает пилу на один зуб.

ВНИМАНИЕ! При переключении кулачков подачі необходимо шаговый винт XIX перевести в горизонтальное положение.

Поворот шлифовальной головки при косой заточке (кроме верстата мод. ТчПР-5)

При косой заточке пил полумуфта 22 закрепляется на промежуточном валу X винтом 24. Кривошипный палец 18 из «нулевого положения» ставится в необходимое положение в кривошипе і закрепляется. Таким образом устанавливается необходимый угол поворота шлифовального круга при косой заточке пил (от 0 до 45°).

При прямой заточке кривошипный палец 18 устанавливается в «нулевое положение», а винт 24 вывертывается из полумуфты 22, ввертывается в кронштейн 11, фиксируя шлифовальную головку.

Поворот шлифовальной головки при косой заточке происходит от кулачка 27, закрепленного на распределительном валу XVI, через зубчатый сектор 26 з роликом через зубчатое колесо 21, зацепляющееся торцовыми зубьями з полумуфтой 22, закрепленной винтом 24 на промежуточном валу X. На етом же валу закреплена коническая шестерня 20, зацепляющаяся з шестерней 19, закрепленной на нижнем кінці кривошипного вала IX. С кривошипного пальца 18 рух передається з помощью тяги VIII з качающейся вилкой 17 на тягу VII, которая соединена з шлифовальной головкой 8.

За один оборот распределительного вала XVI происходит поворот шлифовальной головки в одну сторону, за второй оборот распределительного вала происходит поворот шлифовальной головки в другую сторону.

Подача шлифовального круга на глубину різання

Подача шлифовального круга на глубину різання производится поворотом вал-шестерни V. При повороте вал-шестерни V поворачивается винт-шестерня VI, которая ввертывается в корпус 16, тем самым изменяется положение корпуса 16, а, стало быть, і шлифовальной головки 8 относительно распределительного вала (зуба пилы или ножа).

Продольная подача ножа

Продольная подача ножа осуществляется маховичком 52 з помощью шестерни 51 і рейки 50, прикрепленной знизу к столу, на котором установлен супорт з ножом.


Установка на станке пил і ножей

Установка круглых пил производится з помощью приспособления, которое закрепляется в том или в другом Т-образном пазу стола 1.

Установка рамных і тарных пил производится з помощью приспособления, закрепляемого в том или другом Т-образном пазу стола 1.

Установка ленточных пил производится з помощью приспособления, закрепляемого также в том или другом Т-образном пазу стола 1.

Установка плоских ножей производится з помощью приспособления, которое закрепляется в верхних Т-образных пазах стола 1.

Винт-вал 1, вращаясь, передвигает стол ! з той или другой пилкою (либо ножами) кверху или книзу.


Отсос пыли из зоны заточки

Отсос пыли из зоны заточки производится з помощью вентилятора, вращение которого происходит от електродвигуна 43.


Схема змазки заточного верстата ТчПА

Схема мастила заточувального верстата ТчПА

Схема змазки заточного верстата ТчПА-7. Рис. 8

Перед пуском верстата все смазочные точки і резервуары должны быть заполнены смазкой согласно табл. 8.1.

Все подвижные поверхности, о смазке которых нет специальных указаний, смазывают солидолом «Л» ГОСТ 4366—76.

Во время експлуатации верстата необходимо периодически сливать отработанное масло из маслосборника (поз. 16, рис.8).


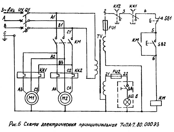
Електроустаткування верстата заточного одностороннего ТчПА

Схема електрична принципова ТчПА

Схема електрична принципова заточного верстата ТчПА-7

Краткая характеристика електродвигателей

На станке установлены два асинхронных короткозамкнутых двигуна:

  1. М1 - електродвигатель приводу шлифовального круга 0,75 кВт, 300 об/мин (синхр.)
  2. М2 - електродвигатель приводу редуктора 0,55 кВт, 3000 об/мин (синхр)

Відомості о системе живлення верстата ТчПА-7

Верстат подключается к трехфазной сети переменного тока, напряжение і чистота которого должны соответствовать напряжению і частоте установленного на станке електроустаткування.

і местного освещения 24 В переменного тока питаются от понижающего трансформатора. Питающие провода подводятся к вводному блоку зажимов, расположенному на панелі в нише і состоящему из трех фазных і одной заземляющей клемм.

Сечение питающих проводов должно быть не более 6 мм².

Первоначальный пуск і робота електросхеми

При первоначальном пуске верстата необходимо прежде всего проверить надежность заземления і исправность монтажа електроустаткування внешним осмотром.

При помощи вводного автоматичного выключателя QF верстат подключается к питающей сети. Кнопками SB1 і SB2 проверяется четкость срабатывания схеми і правильность направления обертання електродвигателей.





Порядок роботи на заточном станке ТчПА-7


Таблиця налаштування заточувального верстата ТчПА

Таблиця налаштування заточного верстата ТчПА-7. Рис. 11

Налаштування верстата (рис. 3,4)

До установки пил і ножей на верстат необходимо:

  1. Установить шлифовальную головку на угол косой заточки (только при косой заточке), для чего через окно в головке, закрытое откидывающейся крышкой, ввернуть в отверстие полумуфты 22 спеціальний винт 24 (рис.4) так, чтобы конусный конец его вошел в отверстие вала X, затем открепить винт 18, повернуть шлифовальную головку вручную за її кожух на необходимый угол косой заточки по шкале, закрепить винт 18;
  2. При прямой заточке, а также при заточке ножей винт 18 (рис. 4.) открепить, повернуть шлифовальную головку вручную за її кожух до «нулевого положениям по шкале, винт 18 закрепить, затем спеціальний винт 24 вывернуть из полумуфты 22 і ввернуть в отверстие кронштейна 11 шлифовальной головки так, что бы конусный конец его вошел в отверстие корпуса шлифовальной головки 8;
    ВНИМАНИЕ! Одновременная установка специальных винтов в отверстие полумуфты 22 (рис.4) і кронштейна 11 недопустима, т. к. ето вызывает, поломку верстата.
  3. Установить необходимое число двойных ходов шлифовальной головки рукояткой 12; (Рис.3)
  4. Маховичком 23 установить шаг пилы. Подналаштування шага пилы произвести при заточке; (Рис.3)
  5. Кнопкой 10 установить ход шлифовальной головки. Подналаштування ходу шлифовальной головки произвести при заточке; (Рис.3)
  6. Рукояткой 11 установить соответствующий кулачок для получения необходимого профиля зуба затачиваемой пилы (перевод рукоятки должен производиться при поднятом винте з маховичком 23 механізма подачі); (Рис.3)
  7. Открепив винт 25, установить по шкале необходимый передний, угол заточки пилы винтом 26, після чего винт 25 закрепить; (Рис.3)
  8. Кнопкой 14 установить толщину пилы; (Рис.3)
  9. Кнопкой 8 і рукояткой 6 поднять шлифовальную головку в крайнее верхнее положение. (Рис.3)

Установка на верстат круглой пилы для заточки (рис. 3)

Схема налаштування пристрій для круглих пилок на заточувальному верстаті ТчПА

Схема налаштування приспособления для круглых пил на заточном станке ТчПА-7. Рис. 12, 13

  1. Установить пристрій для круглых пил на столе (поз. 9, рис. 2). Установка приспособления производится согласно рис. 12 і 13;
  2. Зажать пилу кнопкой на втулке между шайбами;
  3. Рукояткой 13 произвести отжим рычага, затем отвести рычаг прижима пилы;
  4. Установить пилу на ось приспособления передньої гранью зубьев в сторону подающей собачки механізма подачі пилы;
  5. Маховичком 3 поднять пилу так, чтобы впадина зубьев її оказалась на 2...3 мм выше прижимных планок. При заточке пилы, если есть необходимость, поднять или опустить пилу маховиком 3;
  6. Подвести рычаг прижима к пиле і рукояткой 13 произвести зажим полотна пилы.

Установка на верстат рамной і тарной пилы для заточки

  1. Установить каретку (пристрій для установки рамных пил) на столе (поз. 12 рис.2);
  2. Рукояткой 13 произвести отжим рычага, затем отвести рычаг прижима пилы;
  3. Установить пилу на два опорных кронштейна передньої гранью зубьев в сторону подающей собачки механізма подачі пилы і закрепить;
  4. Тарная пила устанавливается в специальное пристрій, которое так же, как і рамная пила, устанавливается на два опорных кронштейна;
  5. Маховичком 3 поднять пилу так, чтобы впадина зубьев її оказалась на 2...3 мм выше прижимных планок. При заточке пилы, если есть необходимость, поднять или опустить пилу маховиком 3;
  6. Подвести рычаг прижима к пиле і рукояткой 13 произвести зажим полотна пилы.

Установка на верстат ленточной пилы для заточки

  1. Установить подставки для поддержания пилы по обе стороны верстата, направляющий кронштейн установить на стол, а поддерживающий кронштейн закрепить на боковой стенке станины;
  2. Установить пилу на подставки і в паз направляющего кронштейна, а также в паз ролика поддерживающего кронштейна передньої гранью зубьев в сторону подающей собачки механізма подачі пилы;
  3. Для получения прямолинейной впадины зуба необходимо ввернуть і отрегулировать отсекатель 1 (рис. 14);
  4. Маховичком 3 поднять пилу так, чтобы впадина зубьев її оказалась на 2...3 мм выше прижимных планок. При заточке пилы, если есть необходимость, поднять или опустить пилу маховиком 3;
  5. Подвести рычаг прижима к пиле і рукояткой 13 произвести зажим полотна пилы.

Заточка круглых, рамных, тарных і ленточных пил (рис.3)

Для заточки пил необходимо:

  1. Включить вводной выключатель 1;
  2. Включить електродвигатель приводу шлифовального круга і електродвигатель редуктора нажатием кнопки 4 «Пуск»;
    Если затачиваемая грань зуба пилы і плоскость шлифовального круга не совпадают (только при косой заточке пил), необходимо вывести собачку из зацепления з пилкою, пропустив один зуб пилы;
  3. Рукояткой 6 плавно опустить шлифовальную головку;
    Если шлифовальный круг попадает на зуб пилы, необходимо кнопкой 22 изменить положение подающей собачки так, чтобы он опускался во впадину зубьев;
  4. Кнопкой 22 і кнопкой 8 произвести касание пилы шлифовальным кругом;
  5. Кнопкой 10 і маховичком 23 добиться получения оптимального профиля зубьев пилы:
  6. При заточке ленточной пилы необходимо также отрегулировать отсекатель 1 (рис. 14) для получения требуемого профиля впадины зубьев;
  7. Кнопкой 22 произвести подачу шлифовального круга на глубину різання по передньої грани, кнопкой 8 — по задньої грани;
    Заточка пил і подача на глубину різання по передньої грани будут происходить автоматически. Подачу на глубину різання по задньої грани необходимо производить за каждый проход (оборот) пилы;
  8. После заточки післяднего зуба, рамной і тарной пилы необходимо поднять шлифовальную головку рукояткой 6, отвести собачку из зацепления з пилкою ручкой 21;
  9. Возвратить пилу в исходное положение, подвести собачку в зацепление з пилкою ручкой 21 і плавно опустить шлифовальную головку рукояткой 6.

Установка плоских ножей (рис.3)

До установки плоских ножей необходимо:

  1. кнопкой 8 поднять шлифовальную головку в крайнее верхнее положение;
  2. рукояткой 13 произвести отжим рычага, затем отвести рычаг прижима пилы;
  3. открепить два гвинта крепления корпуса з опорной планкой і снять его со верстата;
  4. снять со верстата рычаг механізма подачі вместе з собачкой;
  5. маховичком 3 опустить стол в крайнее нижнее положение;
  6. включить вводной выключатель 1;
  7. включить електродвигатель приводу шлифовального круга і електродвигатель редуктора нажатием кнопки 4 «Пуск»;
  8. рукоятку 12 поставить в нейтральное положение таким образом, чтобы шлифовальный круг был в крайнем нижнем положении, нажать кнопку 5 «Стоп»;
  9. установить пристрій для плоских ножей на столе (рис. 2.) і закрепить;
  10. открепить винты, установить супорт на необходимый угол заточки по шкале і снова закрепить винты.

Установка ножа производится на суппорт, выравнивается режущая кромка ножа относительно суппорта і закрепляется болтами з помощью прижимных планок.

Заточка плоских ножей (рис. 3)

Для заточки ножей необходимо:

  1. Установить на шпинделе шлифовальный круг толщиной 20 мм для заточки ножей;
  2. Включить електродвигатель шлифовального круга нажатием кнопки 4 «Пуск»;
  3. Поднять маховичком 3 (при необходимости) стол з пристрійм і ножом кверху;
  4. Кнопкой 8 произвести касание затачиваемого ножа шлифовальным кругом;
  5. Вращая маховичок 52 (рис.4) в ту или другую сторону, произвести заточку ножа. Подачу шлифовального круга на глубину різання производить кнопкой (Рис.3).

После заточки необходимо поднять шлифовальную головку рукояткой 6 і выключить верстат нажатием кнопки 5 «Стоп».

Рекомендуемые режими роботи при заточке пил

Рекомендуемые режими роботи при заточке пил приведены в табл. 10.1.

При заточке ножей зернистость шлифовального круга рекомендуется 25, связка — К, подача шлифовального круга на глубину різання за один двойной ход — 0,03—0,06 мм.

* Число двойных ходов шлифовальной головки устанавливается в соответствии з углом поворота шлифовального круга при косой заточке в следующем соотношении:

** При заточке пил з шагом менее 10 мм угол косой заточки должен быть не более 30°.

Зернистость, твердость і связка шлифовального круга могут быть применены і другие в зависимости от требований к качеству подготовки инструмента, например: связка керамическая, вулканитовая.

Для обеспечения повышенных требований к шероховатости заточенных граней рекомендуется использовать при доводке мелкозернистый шлифовальный круг з малыми подачами різання на малых ходух шлифовальной головки.





ТчПА-7 Верстат заточный для круглых, рамных і ленточных пил. Відеоролик





Технічні характеристики заточного верстата ТчПА-7

Наименование параметра ТчПА-7
Основні параметри
Диаметр круглых пил, мм 125..1250
Ширина рамных пил, мм 80..220
Длина рамных пил, мм 1050..1950
Ширина тарных пил, мм 50..80
Длина тарных пил, мм 600..685
Ширина ленточных пил, мм 50..260
Длина ленточных пил, мм 6000..9000
Наибольшая толщина пил, мм 6
Шаг зубьев пил, мм 6,5..82
Наибольший передний положительный угол зубьев пил, град 35
Наибольший передний отрицательный угол зубьев пил, град 25
Наибольший угол поворота шлифовальной головки при косой заточке, град 45
Наибольшая длина ножей, мм 640
Ширина ножей, мм 20..125
Толщина ножей, мм 3..10
Угол поворота стола, град 30..75
Електроустаткування верстата
Род тока питающей сети 380В 50Гц
Количество електродвигателей на станке, шт 2
Електродвигун приводу шлифовального круга, кВт 0,75
Електродвигун приводу редуктора, кВт 0,55
Габарит і масса верстата
Габарит верстата (длина х ширина х высота), мм 850 х 1100 х 1850
Масса верстата, кг 600

    Список литературы:

  1. Верстати для заточки круглых, рамных, ленточных пил і плоскихножей ТчПА-7, ТчПР-5, ТчПК-12, ТчПА-8. Руководство по експлуатации, 1973

  2. Дибнер Л.Г., Цофин Э.Е. Заточные автоматы і напівавтоматы, 1978
  3. Демьяновский К.И., Дунаев В.Д. Заточка дереворежущего инструмента, 1965
  4. Кудряшов А.А. Верстати инструментального производства, 1968
  5. Лисовой А.И. Пристрій, наладка і експлуатация металлорежущих верстатів, 1971
  6. Меницкий И.Д. Універсально-заточные верстати, 1968
  7. Палей М. М. Технология производства металлорежущих инструментов, 1982
  8. Рожков Д.С. Конструкция, налаштування і експлуатация оборудования для заточки дереворежущего инструмента, 1978











Оригінальний текст
Оцініть цей переклад
Ваш відгук допоможе покращити Google Перекладач