Виробник токарного верстата моделі СА562 – Сасівський верстатобудівний завод, Саста , заснований у 1971 році.
Верстат токарно-гвинторізний універсальний підвищеної точності СА562 призначений для виконання найрізноманітніших токарних робіт, а також для нарізування метричної, дюймової та різьб.
Токарний верстат СА562 призначений для обробки довгих деталей типу труби або дроту. При великій довжині у центрах використовуються рухомі чи нерухомі люнети.
Токарно-гвинторізний верстат СА562 є вдосконаленою версією добре відомого верстата 16К20 ( 16К25 ) та копією верстата моделі ГС526У (Гомель ГЗСУ) .
Основні відмінності верстата моделі СА562 від 16К20
Верстати СА562 можуть бути оснащені пристроєм цифрової індикації (УЦІ) з системою поздовжнього та поперечного відліку переміщень супорта, що полегшує відлік переміщень ріжучого інструменту та забезпечує стабільну точність розмірів виробів, що обробляються.
Оснащення верстатів пристроєм цифрової індикації дозволяє значно підвищити продуктивність праці, покращує психофізіологічні умови праці робітника, усуває суб'єктивні фактори, елементи випадковості при відліку переміщень ріжучого інструменту, збільшує швидкість сприйняття та переробки цифрової інформації, зменшує психологічні навантаження та загальну стомлюваність робітника.
Верстати СА562 можуть застосовуватись у різних галузях промисловості на всіляких операціях для обробки різних матеріалів. У зв'язку з цим обслуговування верстатів слід проводити з урахуванням специфіки їхньої експлуатації.
Остаточну обробку точних деталей рекомендується проводити на попередньо розігрітому верстаті.
Клас точності верстатів за ГОСТ 8-82 під час перевірки на відповідність ГОСТ 18097-88 - П.
У частинині впливу кліматичних факторів довкілля верстати виготовляються у виконанні УХЛ для категорії розміщення 4 за ГОСТ 15150-69.
Рід струму мережі живлення змінний трифазний.
Частота струму 50 Гц, напруга 380 Ст.
Клас точності верстата П згідно з ГОСТ 8-82.

Ескіз супорту токарно-гвинторізного верстата СА562

Фото токарно-гвинторізного верстата са562

Розташування складових частинин токарно-гвинторізного верстата са562

Розташування складових частинин токарно-гвинторізного верстата са562

Розташування органів керування токарно-гвинторізним верстатом са562

Кінематична схема токарно-гвинторізного верстата са562
Схема кінематична токарно-гвинторізного верстата СА562. Скачать в увеличенном масштабе
Пределы частот обертання шпинделя от 16 до 2000 об/мин для верстата моделі СА562 і от 16 до 1600 об/мин – для СА564. Количество швидкостей шпинделя составляет двадцать две прямого і двенадцать обратного обертання. В шпиндельном узле применяются специальные конические роликовые підшипники, обеспечивающие высокую точность і жесткость шпинделя. Для змазки підшибників используется циркуляционная система змазки, обеспечивающая работоспособность шпиндельного вузла при напряженных режимах (значительные числа оборотів, высокие нагрузки).

Шпиндельная бабка токарного верстата СА562
Шпиндельная бабка токарного верстата СА562. Скачать в увеличенном масштабе

Шпиндельная бабка токарного верстата СА562
Шпиндельная бабка токарного верстата СА562. Скачать в увеличенном масштабе
Имеет механізм автоматичною подачі верхних салазок. Величина подачі резцовых салазок равна 1/4 величины поздовжньої подачі суппорта, то есть минимальная величина подачі равна 0,0125 мм/об. Таким образом, можно осуществлять тонкое точение, а также обрабатывать детали из закаленной стали і труднообрабатываемых материалов.

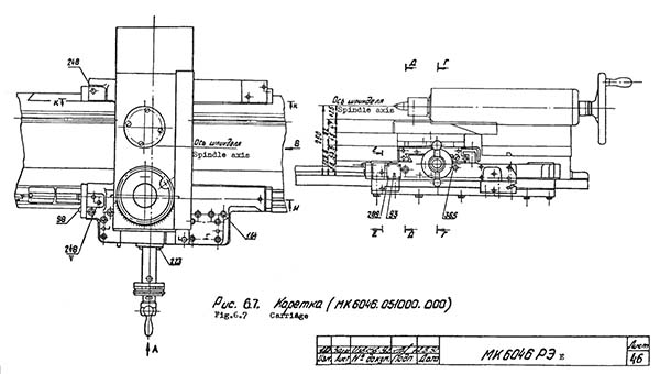
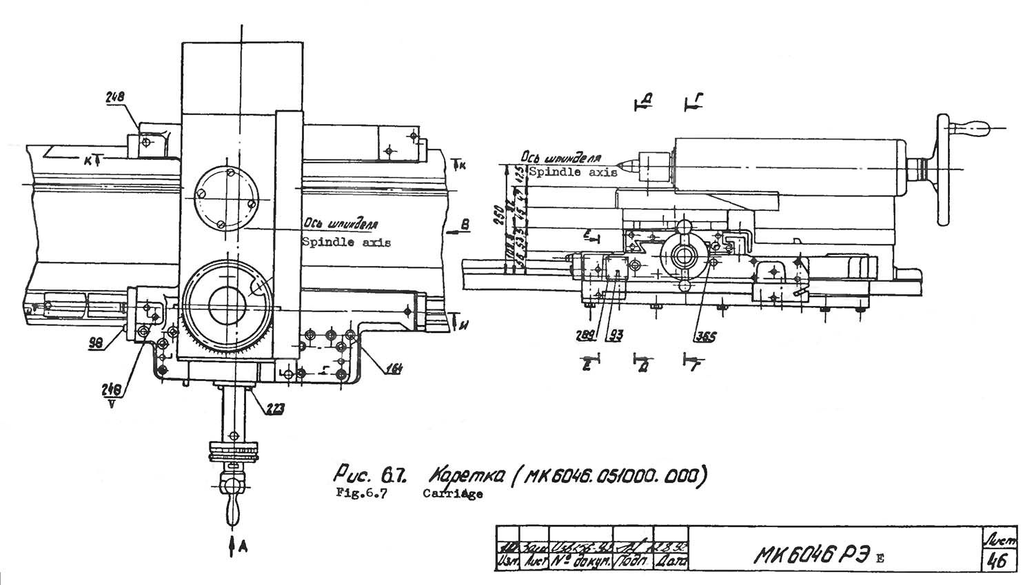
Каретка суппорта токарного верстата СА562
Каретка суппорта токарного верстата СА562. Скачать в увеличенном масштабе

Каретка суппорта токарного верстата СА562
Каретка суппорта токарного верстата СА562. Скачать в увеличенном масштабе

Каретка суппорта токарного верстата СА562
Каретка суппорта токарного верстата СА562. Скачать в увеличенном масштабе

Каретка суппорта токарного верстата СА562
Каретка суппорта токарного верстата СА562. Скачать в увеличенном масштабе

Суппорт токарно-гвинторізного верстата СА562
Суппорт токарно-гвинторізного верстата СА562. Скачать в увеличенном масштабе
Конструкція коробки подач унифицирована (077.0000.000) і позволяет получить широкий диапазон подач (0,05..2,8 мм/об), а также обеспечить нарезание метрической, дюймовой, модульной і питчевой резьб, при етом різьби 11 і 19 ниток на дюйм можно нарезать без замены сменных зубчатых колес. Для нарізання різьб підвищеної точності в коробке подач предусмотрено положение, при котором ходовой винт включается напрямую, минуя механізм коробки подча.

Коробка подач токарно-гвинторізного верстата СА562

Коробка подач токарно-гвинторізного верстата СА562
Коробка подач токарно-гвинторізного верстата СА562. Скачать в увеличенном масштабе

Коробка подач токарно-гвинторізного верстата СА562
Коробка подач токарно-гвинторізного верстата СА562. Скачать в увеличенном масштабе
Конструкція Фартука верстата унифицирован (16Б20П.061 или 067.0000.000 - з встроенным двигателем швидкого ходу). Фартук предназначен для преобразования вращательного руху ходового гвинта і ходового вала в продольное перемещение каретки і поперечное перемещение суппорта, а также для ручного керування етими переміщеннями в процессе роботи токарно-гвинторізного верстата (увімкнення і вимкнення рабочих і ускоренных перемещений каретки і суппорта, реверсирование перемещений і т.д.). Фартук позволяет осуществлять работу по упору з автоматическим отключением подачі.
Имеет блокирующие пристроя, препятствующие одновременному включению поздовжньої і поперечної подачі суппорта і маточной гайки. Для предохранения механізма фартука от перегрузок имеется предохранительный механізм з двумя післядовательно установленными кулачковыми муфтами. Это позволяет вести обработку деталей по упорам при продольном і поперечном точении. Максимальное тяговое усилие – 1000 кГ.

Фартук токарно-гвинторізного верстата СА562
Фартук токарно-гвинторізного верстата СА562. Скачать в увеличенном масштабе

Фартук токарно-гвинторізного верстата СА562
Фартук токарно-гвинторізного верстата СА562. Скачать в увеличенном масштабе
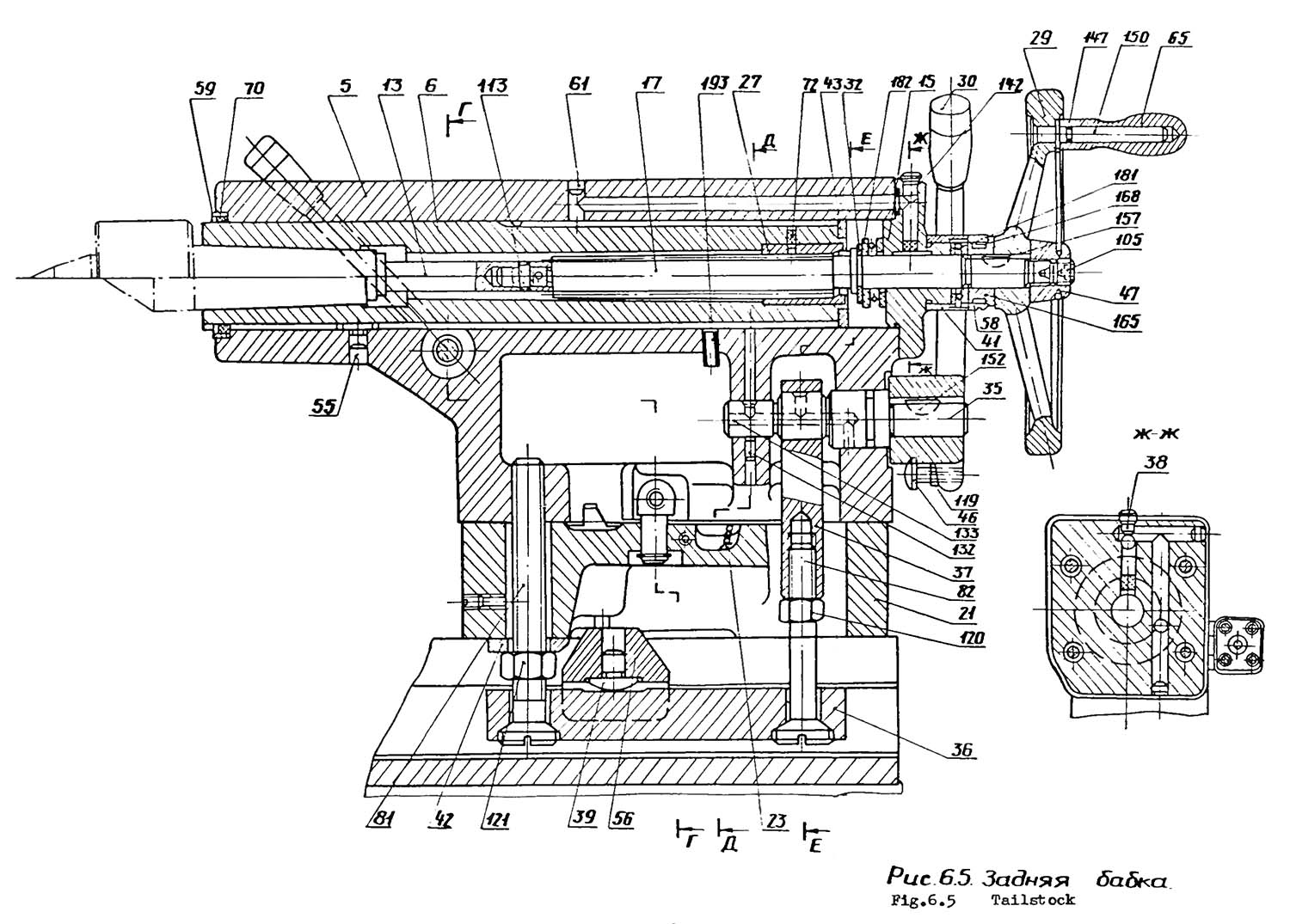
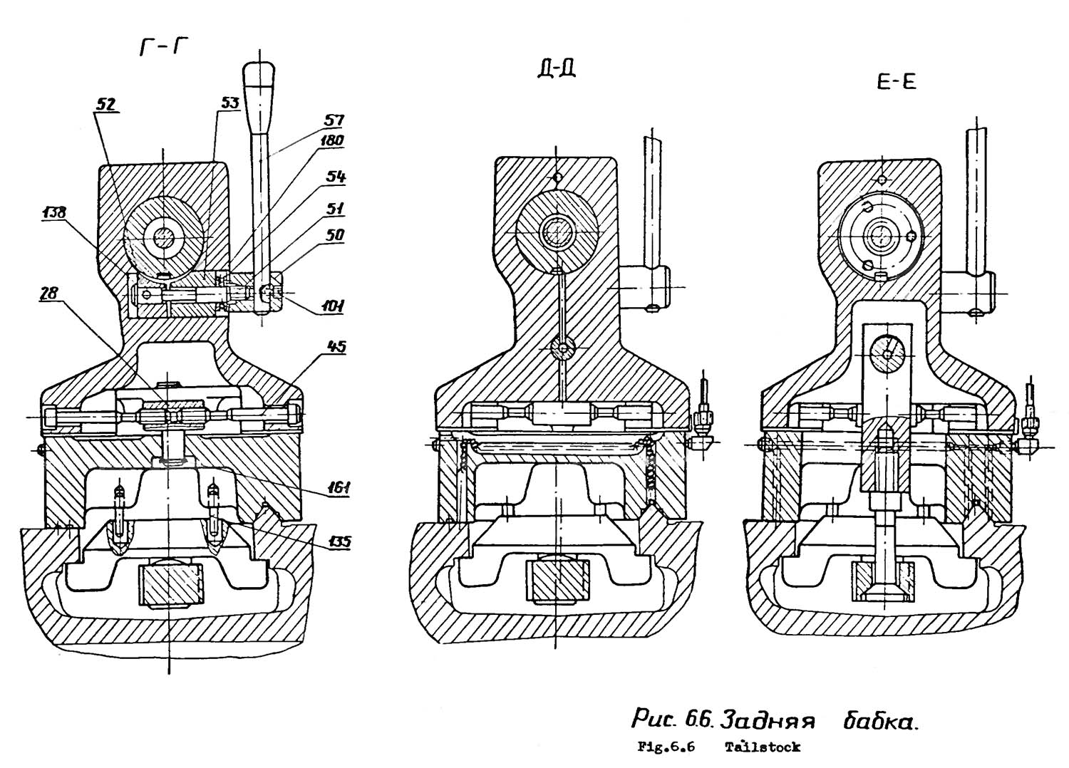
Относительно направляющей плиты (мостика) корпус бабки може перемещаться в поперечном направлении ±15 мм з помощью гвинта, что используется при точении длинных пологих конусов на деталях, закрепленных в центрах. Задня бабка имеет пневматическое пристрій, облегчающее перемещение її по направляющим станины і предотвращающее износ направляючих.

Задня бабка токарного верстата СА562
Задня бабка токарного верстата СА562. Скачать в увеличенном масштабе

Задня бабка токарного верстата СА562
Задня бабка токарного верстата СА562. Скачать в увеличенном масштабе
| Наименование параметра | 16К20 | МК6046 | СА562 | СА564 |
|---|---|---|---|---|
| Основні параметри верстата | ||||
| Наибольший диаметр заготовки обрабатываемой над станиной, мм | 400 | 500 | 500 | 500 |
| Наибольший диаметр заготовки обрабатываемой над суппортом, мм | 220 | 275 | 290 | 290 |
| Наибольший диаметр заготовки обрабатываемой над выемкой (Г), мм | 630 | 700 | 700 | 700 |
| Наибольшая длина устанавливаемой детали (РМЦ), мм | 710 1000 1400 2000 | 1000, 1500, 2000 | 1000, 1500, 2000 | 1000, 1500, 2000 |
| Наибольшая масса обрабатываемого вироби в центрах, кг | 1300 | 900, 1300, 1800 | 900, 1300, 1800 | |
| Наибольшая масса обрабатываемого вироби в патроне, кг | 300 | 300 | ||
| Наибольший диаметр сверла для серления в стали, мм | 25 | |||
| Шпиндель | ||||
| Кінець шпинделя | К6 ГОСТ 12593 | К6 ГОСТ 12593 | К6 ГОСТ 12593 | |
| Диаметр шпиндельного фланца, мм | 170 | 170 | 290 | |
| Центр в шпинделе з конусом | Морзе 6 | Морзе 6 | Метрический 100 | |
| Диаметр отверстия в шпинделе, мм | 52 | 55 | 55 | 95 |
| Частота обертання шпинделя, об/мин | 12,5..1600 | 16..2000 | 16..2000 | 16..1600 |
| Количество прямых і обратных швидкостей шпинделя | 22 | 22 | 22 | 22 |
| Наибольший крутящий момент на шпинделе, кНм | 1 | 1 | 1 | |
| Суппорт. Подачи | ||||
| Наибольшее перемещение продольного суппорта, мм | 935 | 935 | ||
| Наибольшее перемещение поперечного суппорта, мм | 300 | 300 | ||
| Цена деления лимба поперечного суппорта, мм | 0,05 | 0,05 | ||
| Наибольшее перемещение резцовых салазок, мм | 150 | 150 | 150 | 150 |
| Диапазон продольных подач, мм/об | 0,05..2,8 | 0,05..2,8 | 0,05..2,8 | 0,05..2,8 |
| Диапазон поперечных подач, мм/об | 0,025..1,4 | 0,025..1,4 | 0,025..1,4 | 0,025..1,4 |
| Количество продольных/ поперечных подач | 22/ 24 | 24/ 24 | ||
| Скорость быстрых перемещений продольных/ поперечных, м/мин | 3,8/ 1,9 | 3,8/ 1,9 | 3,8/ 1,9 | 3,8/ 1,9 |
| Пределы шагов метрических резьб, мм | 0,5..112 | 0,5..112 | 0,5..112 | 0,5..112 |
| Пределы шагов модульных резьб, модуль | 0,5..112 | 0,5..112 | 0,5..112 | 0,5..112 |
| Пределы шагов дюймовых резьб, ниток/дюйм | 56..0,5 | 56..0,5 | 56..0,5 | 56..0,5 |
| Пределы шагов питчевых резьб, питч диаметральный | 56..0,5 | 56..0,5 | 56..0,5 | 56..0,5 |
| Задня бабка | ||||
| Наибольшее перемещение пиноли задньої бабки, мм | 150 | 150 | 150 | |
| Центр пиноли задньої бабки | Морзе 5 | Морзе 5 | ||
| Цена деления либа переміщення пиноли задньої бабки, мм | 0,1 | 0,1 | ||
| Електроустаткування | ||||
| Електродвигун головного привода, кВт | 11 | 11 | 7,5 | 11 |
| Електродвигун ускоренных перемещений, кВт | ||||
| Електродвигун СОЖ, кВт | ||||
| Суммарная мощность установленных на станке електродвигателей, кВт | 12,5 | |||
| Габарити і масса верстата | ||||
| Габарити верстата (длина ширина высота), мм | 2795 1190 1500 | 2800 1265 1485 | 2800, 3380, 3880 х 1265 х 1485 | 2800, 3380, 3880 х 1295 х 1575 |
| Маса верстата, кг | 3005 | 3100 | 3000, 3500, 4000 | 3100, 3600, 4100 |
Замовити
Хто володіє інформацією – той володіє світом.
Натан Ротшильд