metalinstryment.com
Довідник по металорізальних верстатів та пресовому обладнанні

НГ-6,3 Ножницы гильотинные кривошипные з наклонным ножом для листового металла
Схеми, опис, характеристики

НГ-6,3 Ножницы кривошипные листовые (гильотинные) з наклонным ножом для обробки листового металла



Прессы механические, прессы гідравлические, верстати поперечно-строгальные

Відомості про виробника гильотинных ножниц НГ-6,3

Изготовителем і разработчиком ножниц НГ-6,3 является Армавирский механический завод АрМеЗ, основанный в 1928 году.

Основной вигляд деятельности завода - производство гильотинных ножниц, в 1983 году завод выпустил первую модель ножниц, которые применяются для резки листового проката, а так же рубки прутка і уголка.

На сегодняшний день выпускается восемь модификаций гильотинных ножниц: НГ16; НГ16-01; НГ13; НГ13-01; НГ6,3; НГ6,3-01; НГ6,3/2,5; НГ6,3/3; НГ4/2,5, а так же сопутствующее обладнання: рольганги і тележка накопительная.

В настоящее время производит, также, ПАО «Кувандыкский завод КПО «Долина» Оренбургская обл., г. Кувандык





Верстати, выпускаемые Армавирским механическим заводом АрМеЗ


НГ-6,3 Ножницы кривошипные листовые гильотинные з наклонным ножом. Назначение і область применения

Ножницы гильотинные механические з наклонным ножом для листового металла НГ-6,3 предназначены для поздовжньої і поперечної резки листовой і профильной стали обыкновенного качества і углеродистой качественной конструкционной з временным сопротивлением σв ≤ 500 МПа (50 кгс/мм²). толщиной до 6,3 мм і шириной до 2 м.

Ножницы НГ-6,3 применяются, в основном, в заготовительных і ремонтных цехах машиностроительных предприятий.

Машина для резки листового і профильного материала НГ-6,3 выполнена з нижним приводом і з прямым ходом верхнего ножа.

Ножницы оснащены лазерным индикатором линии реза, интегрированным пультом керування.

Станина ножниц НГ-6,3 представляет собой сварную конструкцию, состоящую из двух стоек, связанных между собой швеллерами.

На стойки опирается стол, к которому гвинтами крепятся нижние ножи. Горизонтальным переміщенням стола регулируется зазор между верхними і нижними ножами. К столу крепятся передний і боковой упоры.

Привід ножниц. Вращение от електродвигуна через клиноременную передачу, муфту, цилиндрический редуктор передається на ексцентриковый вал і далее через кривошипно-шатунный механізм — ножевой балке.

Ножевая балка — сварной конструкції Г-образной формы, усиленная ребрами. На ножевой балке крепятся верхние ножи.

Уравновешиватели служат для компенсации массы ножевой балки, а также для снижения динамических нагрузок при работе ножниц.

Для мерной резки полос ножницы снабжены задним упором, который установлен з тыльной стороны ножевой балки. Установка заднего упора производится з помощью винтового механізма, приводимого от маховичка вручную.

Лист при резке прижимается прижимной балкой, работающей согласованно з ножевой балкой. Необходимые зусилля прижима обеспечивают пружины, которые размещаются в стаканах прижимной балки.

Електросхема обеспечивает работу ножниц на одиночных і автоматических ходух.

Керування ножниц НГ-6,3 кнопкове і от педали.

Ножницы имеют климатическое виконання УХЛ4 по ГОСТ 15150-69 і предназначена для експлуатации в помещениях з температурой воздуха от плюс 1° С до плюс 35° С, относительной влажности не более 80% при температуре плюс 25° С.


Исполнения гильотинных ножниц НГ6,3:


Гильотинные ножницы. Загальні відомості

Синонимы: ножницы гильотинные, ножницы листовые, ножницы механические, ножницы кривошипные, ножницы гідравлические, shears for sheet metal working, guillotine shears, crank shears.

Гильотинные ножницы - ножницы з наклонным ножом предназначены для прямолинейной поздовжньої і поперечної резки листового металла. На гильотинных ножницах може производиться резка листов, как по разметке, так і без нее - по заднему или боковому упорам.

В зависимости от типа приводу верхнего ножа гильотинные ножницы бывают:

Гідравлические гильотинные ножницы є наиболее мощными, длина реза у них достигает 8 і более метров, толщина разрезаемого материала - до 60 миллиметров.

Гильотинные ножницы з механическим приводом во многом схожи з гідравлическими ножницами, основным отличием является система привода: оба руху лезвия (и вверх і вниз) обеспечиваются кривошипным механізмом.

Ножницы з механическим приводом не обладают високою мощностью і применяются для резки материалов максимальной толщиной 3 - 8мм. Однако скорость реза у етого класса гильотин достаточно высока – до 56 резов в минуту (для сравнения, у гідравлических ножниц количество резов варьируется от 3 до 18 в минуту).

Гильотинные ножницы различают, также, по конструкції приводу верхнего ножа:

У гильотинных ножниц з прямым ходом верхнее лезвие закреплено на раме, которая за счет кривошипа или 2-х гідроцилиндров перемещается вниз по прямым направляющим, расположенным на внутренней поверхности боковых стенок машины.

У гильотинных ножниц з поворотной балкой перемещение верхнего ножа происходит за счет обертання балки вокруг центров, находящихся на боковых стенках в задньої частини верстата. Поскольку система приводу поворотной балки находится внутри корпуса машины - ножницы з поворотной балкой более компактные.

При относительно низкой стоимости ножниц з поворотной балкой, компактности і простоте их исполнения, у них все же имеется определенный недостаток: угол резки не изменяется, оставаясь равным установленному производителем, вне зависимости, режутся ли толстые или тонкие листы.





Загальний вигляд гильотинных ножниц НГ-6,3

НГ-6,3 Складні частини гильотинных ножниц

Фото гильотинных ножниц НГ-6,3


НГ-6,3 Складні частини гильотинных ножниц

Фото гильотинных ножниц НГ-6,3


НГ-6,3 Складні частини гильотинных ножниц

Фото гильотинных ножниц НГ-6,3


Розташування складових частин гильотинных ножниц НГ-6,3

НГ-6,3 Складні частини гильотинных ножниц

Розташування складових частин гильотинных ножниц НГ-6,3


Специфікація складових частин гильотинных ножниц НГ-6,3

  1. Станина НГ6,3-01.00.000
  2. Привід НГ6,3-02.00.000
  3. Балка ножевая НГ6,3-03.00.000
  4. Прижим НГ6,3-04.00.000
  5. Электромагнитное керування НГ6,3-05.00.000
  6. Упор задний НГ6,3-06.00.000
  7. Електроустаткування НГ6,3-07.00.000
  8. Кожухи НГ6,3-08.00.000
  9. Тормоз НГ6,3-09.00.000-03
  10. Решетка защитная НГ6,3-10.00.000




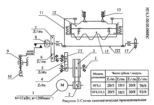
Кінематична схема ножниц НГ-6,3

НГ-6,3 кінематична схема ножниц гильотинных

Кінематична схема гильотинных ножниц НГ-6,3


Принцип роботи гильотинных ножниц НГ-6,3

Ножницы состоят из станины, ножевой і прижимной балок, привода, валов приводных, муфты увімкнення, заднего упора, уравновешивателя, тормозов, ограждения, системы електроустаткування і змазки, решетки защитной.

От електродвигуна 1 через шкив 2, насаженный на валу електродвигуна, посредством клиноременной передачи вращение передається маховику 3, который насажен на вал-шестерню 1.

От вала-шестерни 1 через шестерни 5 і 6 вращение передається на зубчатое колесо 7, внутри которого смонтирована муфта муфта увімкнення з поворотными шпонками 8.

Муфта увімкнення передает вращение ексцентриковому валу III.

Увімкнення і вимкнення муфты 8 происходит з помощью електромагнита 10, системы рычагов і пружин 9, расположенных на крышке муфты.

Эксцентриковый вал III через шатуны 11 передает возвратно-поступательное рух ножевой балке 12.

При движении ножевой балки 12 вниз прижимная балка 15 прижимает отрезаемый лист к столу. Рух прижима связано з переміщенням ножевой балки.

Для остановки ножевой балки 12 в крайнем верхнем положении служит ленточный тормоз 17, расположенный на правом кінці вала III.

Для снижения динамических нагрузок і компенсации зазоров в направляючих ножевой балки предусмотрен уравновешиватель 13.

НГ-6,3 Электромагнитное керування ножницами НГ-6,3

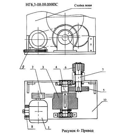
Привід гильотинных ножниц НГ-6,3


НГ-6,3 Электромагнитное керування ножницами НГ-6,3

Мехнизм реза гильотинных ножниц НГ-6,3


НГ-6,3 Электромагнитное керування ножницами НГ-6,3

Прижим гильотинных ножниц НГ-6,3


НГ-6,3 Электромагнитное керування ножницами НГ-6,3

Муфта увімкнення ножниц НГ-6,3


НГ-6,3 Электромагнитное керування ножницами НГ-6,3

Электромагнитное керування муфтой ножниц НГ-6,3


НГ-6,3 Электромагнитное керування ножницами НГ-6,3

Пульт керування увімкнення ножниц НГ-6,3


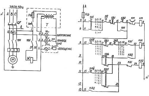
Схема електрична принципова гильотинных ножниц НГ-6,3

Схема електрична принципова гильотинных ножниц НГ-6,3

Електрична схема гильотинных ножниц НГ-6,3


Ножи гильотинных ножниц НГ-6,3; НГ-13; НГ-16

Технічні требования для комплекта ножей по ГОСТ 25306-82. Розміри ножей:


Неправильная експлуатация гильотинных ножниц НГ-6,3

Наиболее часто втречающиеся причины выхода из строя гильотинных ножниц вследствие несоблюдения требований к их експлуатации:




НГ-6,3 Ножницы кривошипные листовые гильотинные з наклонным ножом для обробки листового металла. Відеоролик.




Технічні характеристики гильотинных ножниц НГ-6,3

Наименование параметра НГ-6,3 НГ-6,3 х 2500 НГ-6,3 х 3000 НГ-13 НГ-16
Основні параметри ножниц
Наибольшая толщина разрезаемого листа при σ BP ≤ 500 МПа, мм 6,3 6,3 6,3 13,0 16,0
Наибольшая длина разрезаемых листов в мм, мм 2000 2500 3000 2000 2000
Число холостых ходов ножа в минуту не менее 50 40 40 34
Угол наклона подвижного ножа в градусах 1°30' 1°30' 2°10' 2°50'
Ход ножа, мм 92 92
Длина отрезаемого листа по заднему упору, мм 500 500 500 500 500
Наибольшие розміри разрезаемого уголка, мм 56 х 56 х 5 63 х 63 х 6 63 х 63 х 6 63 х 63 х 6 63 х 63 х 6
Наибольший диаметр разрезаемого прутка, мм 30 30 30 30 30
Расстояние от верхней кромки нижнего ножа до пола, мм 830 910 800 770
Число режущих кромок ножа 4 4 4 4 4
Усилие прижима листа, кН 18 29 29 29 29
Режимов роботи 2 2 2 2 2
Тип муфты-тормоза Электромагн Электромагн Электромагн Электромагн Электромагн
Расстояние между стойками в свету, мм
Максимальное усилие реза, кН
Тип тормоза Ленточн Ленточн Ленточн
Размер ножа, мм 20 х 50 х 502 25 х 60 х 332 25 х 60 х 332 25 х 60 х 670 25 х 60 х 670
Електроустаткування і привід ножниц
Електродвигун привода, кВт 11 11 15 18,5 22
Габарит і масса ножниц
Габарит ножниц (длнна х ширина х высота), мм 3050 х 1200 х 1565 3630 х 1280 х 1455 4180 х 1325 х 1500 3100 х 2000 х 2250 3145 х 1920 х 2225
Масса ножниц, кг 3550 4950 6050 5600 6900

    Список литературы:

  1. Банкетов А.Н., Бочаров Ю.А., Добринский Н.С. і др. Кузнечно-прессовое обладнання, 1970
  2. Бочаров Ю.А., Прокофьев В, Н. Гідропривід кузнечно-прессовых машин, 1969
  3. Белов А.Ф., Розанов Б. В., Линц В. П. Объемная штамповка на гідравлических прессах, 1971
  4. Живов Л.И. Кузнечно-штамповочное обладнання, 2006
  5. Кузьминцев В.Н. Ковка на молотах і прессах, 1979
  6. Розанов Б.В. Гідравлические прессы, 1959
  7. Титов Ю.А. Обладнання кузнечно-прессовых цехов, 2001
  8. Щеглов В.Ф. Кузнечно-прессовые машины, 1989
  9. Берлет Разработка чертежей поковок, 2001
  10. Рудман Л.И. Справочник по оборудованию для листовой штамповки, 1989
  11. Романовский В.П. Справочник по холодной штамповке, 1965
  12. Охрименко Я.М. Технология кузнечно-штамповочного производства, 1966
  13. Кузьминцев В.Н. Ковка на молотах і прессах, 1979
  14. Мещерин В.Т. Листовая штамповка. Атлас схем, 1975