metalinstryment.com
Довідник по металорізальних верстатів та пресовому обладнанні

КВ2132 Пресс однокривошипный простого дії открытый
схеми, опис, характеристики

Фото пресса однокривошипного простого дії открытого ненаклоняемого КВ2132



Прессы механические, прессы гідравлические, верстати поперечно-строгальные

Відомості про виробника однокривошипного пресса КВ2132

Производитель однокривошипного пресса КВ2132 - Ивано-Франковский завод механических прессов Прессмаш, ИФЗМП" г. Ивано-Франковск.

Завод механических прессов создан в 1974 году, Первый пресс был изготовлен в 1978 году з 1979 по 1990 год предприятие входило в состав ПО "Карпатпрессмаш" в качестве головного производственного подразделения, з 1991 по 1998 год было арендным, з 1998 года – открытое акционерное общество.

В настоящее время пресс КВ2132 производит ПАО «Кувандыкский завод КПО «Долина» Оренбургская обл., г. Кувандык






Верстати, выпускаемые Ивано-Франковским заводом механических прессов


КВ2132 Пресс однокривошипный простого дії двостоєчний открытый. Назначение, область применения

Однокривошипный пресс КВ2132 открытый ненаклоняемый простого дії номинальным усилием 1600 кН (160 тс), предназначен для вырубки, обрезки, гибки, неглубокой вытяжки, пробивки і других штамповочных операций. Може встраиваться в автоматические линии, комплексы, оборудования, предназначенные для механизации і автоматизации производственных процессов. Применяется в заготовительных цехах предприятий автомобильной, тракторной, приборостроительной, радиоелектронной і других отраслей з крупносерийным і массовым характером производства.

Принцип роботи і особливості конструкції пресса КВ2132

Пресс універсальний КВ2132 з цельносварной станиной из листового проката, підвищеної жесткости, что позволяет получать детали повышенного качества. Внутренние напряжения в сварных швах стабилизированы термической обработкой. Стол станины имеет увеличенные розміри окна для проваливания изготовленных деталей.

Привід пресса КВ2132 двухступенчатый (клиноременная і зубчатая передачи) з расположением валов перпендикулярно фронту пресса. Зубчасті колеса помещены в специальном отсеке станины. Привід представляет собой совокупность передач (клиноременной і зубчатой), при помощи которых крутящий момент от електродвигуна через приемный вал передається на главный вал і далее преобразуется в возвратно-поступательное рух ползуна. Рабочие вузли машины приводятся в действие от електродвигуна через клиноременную передачу.

Муфта пневматическая фрикционная многодискова, жестко сблокированная з тормозом. Большой диаметр регулировки ходу ползуна і межштампового расстояния обеспечивает широкую универсальность пресса. Муфта і тормоз з фрикционными дисками з металлокерамическим покрытием, работающими в масляной ванне, имеют высокую долговечность. Исключено выделение вредных веществ в окружающую среду. Керування муфтой і тормозом кривошипных прессов КД2132 (160 тонн) - електропневматическое, через сдвоенный распределитель, двуручное от кнопок, расположенных на стационарном или переносном пульті, а также от педали. Ползун имеет восемь удлиненных направляючих поверхностей і увеличенные в плане розміри, позволяющие устанавливать крупногабаритные штампы. Два пневматических цилиндра уравновешивают вес ползуна со штампом.

Режими роботи однокривошипного открытого пресса КВ2132:

Керування прессом КВ2132 кнопкове і педальное.

Смазка пресса КВ2132 жидкая циркуляционная комбинированная

Пресс оснащен следующим обладнанням:

Пресс КВ2132 соответствует условиям безопасности роботи обслуживающего персонала, имеет соответствующие блокировки, удобен в експлуатации.

Разработчик — Производственное объединение «Карпатпрессмаш», г. Ивано-Франковск.


Однокривошипный пресс простого дії. Загальні відомості

Прессы кривошипные простого дії

Кінематична схема кривошипного пресса:

  1. ползун
  2. тормоз
  3. маховик
  4. клиноремённая передача
  5. електродвигатель
  6. передавальний вал
  7. зубчатая передача
  8. муфта
  9. кривошипный вал
  10. шатун
  11. плита для крепления матрицы штампа

Кривошипный пресс - машина з кривошипно-шатунным механізмом, предназначенная для штамповки различных деталей.

Рабочей частью (инструментом) пресса является штамп, неподвижную часть которого крепят к столу, подвижную — к ползуну пресса. Ползун перемещается кривошипно-шатунным механізмом. За один оборот кривошипа шатун совершает полный ход, во время которого при движении ползуна вперёд происходит штамповка.

Усилие пресса создаётся за счёт крутящего момента, передаваемого кривошипному валу електроприводом. Привід состоит из електродвигуна, маховика, муфты увімкнення, тормоза і понижающей зубчатой передачи, от которой вращение передаётся кривошипному валу. Електродвигун вращает маховик, за счёт силы инерции которого на кривошипном валу возникает крутящий момент. Пресс може работать в режиме одиночных ходов, т. е. з вимкненням муфты після каждого полного ходу, или в автоматическом режиме, когда муфта включена постоянно.

Важнейшие характеристики пресса, в определяющие его технологические возможности:

Кривошипные прессы различных конструкций используют для объёмной і листовой штамповки.

По конструкції прессы имеют три основних исполнения:

Прессы наклоняемые позволяют использовать наклон станины для съема штампуемых изделий или удаления отходов под их собственным весом.

Прессы ненаклоняемые з передвижным столом предназначены для выполнения операций штамповки на деталях з широким диапазоном размеров по высоте, а при замене стола рогом обрабатывать вироби з замкнутым контуром.

Конструкція наклоняемых і ненаклоняемых прессов з нерухомим столом передбачає возможность установки механізмов автоматичною подачі металла і пневматических подушек, а также встраивать их в автоматизированные поточные линии.


Обозначение кривошипных прессов

Значения первых двух цифр в обозначениях кривошипных прессов:

За двумя первыми цифрами следуют еще две цифры, обозначающие номинальное усилие пресса, а затем буква, которая показывает его модификацию в группе прессов данного вида.


Значения основного параметра (номинальное усилие пресса) в обозначениях прессов:

Таблиця 1. Обозначение основного параметра пресса

Обозн. пресса Усилие пресса, кН Обозн. пресса Усилие пресса, кН Обозн. пресса Усилие пресса, кН Обозн. пресса Усилие пресса, кН
14 25 кН 20 100 кН 30 1000 кН 40 10000 кН
15 31,5 кН 21 125 кН 31 1250 кН 41 12500 кН
16 40 кН 22 160 кН 32 1600 кН 42 16000 кН
18 63 кН 23 200 кН 33 2000 кН 43 20000 кН
24 250 кН 34 2500 кН 44 25000 кН
25 315 кН 35 3150 кН 45 31500 кН
26 400 кН 36 4000 кН 46 40000 кН
28 630 кН 38 6300 кН 48 63000 кН

Пример обозначения механических прессов:





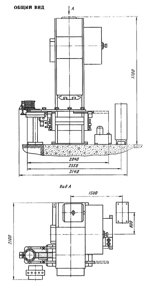
КВ2132 общий вигляд однокривошипного пресса з грейферной подачей штучных заготовок ПГ-9

КВ2132 Загальний вигляд  кривошипного открытого ненаклоняемого пресса з грейферной подачей

Загальний вигляд однокривошипного пресса кв2132


КВ2132 изображение однокривошипного пресса

КВ2132 Изображение кривошипного открытого ненаклоняемого пресса

Фото однокривошипного пресса кв2132


КВ2132 Изображение кривошипного открытого ненаклоняемого пресса

Фото однокривошипного пресса кв2132


КВ2132 Изображение кривошипного открытого ненаклоняемого пресса

Фото однокривошипного пресса кв2132


КВ2132 Изображение кривошипного открытого ненаклоняемого пресса

Фото однокривошипного пресса кв2132

Фото однокривошипного пресса КВ2132. Дивитись у збільшеному масштабі



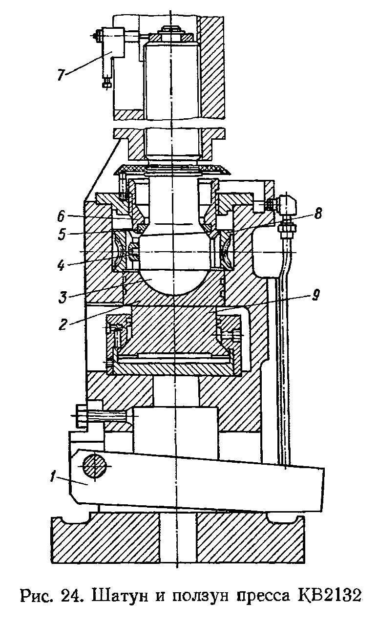
КВ2132 шатун і ползун однокривошипного пресса

Шатун і ползун однокривошипного пресса кв2132 открытого ненаклоняемого

Шатун і ползун однокривошипного пресса кв2132

Шатун і ползун открытого кривошипного пресса КВ2132 усилием 1600 кН, оснащенного механізмом регулювання штамповой высоты з индивидуальным приводом, приведены на рис. 24. От електродвигуна через двойную червячную передачу вращение передається червячному колесу 8 і от него через сухарь 4 — винту шатуна 3. На шатуне установлены два конечных выключателя, срабатывающие от перемещающейся з винтом шатуна планки 7 і ограничивающие нижний і верхний пределы регулювання. Шаровое соединение регулируют вращением гайки 6, в результате чего достигается необходимый зазор между головкой гвинта шатуна 3, подпятником 2 і вкладышем 5. Подпятник опирается либо на гідропредохранитель 9, либо на установленный вместо гідропредохранителя стакан со срезной шайбой. В нижней частини расположена планка выталкивающего пристроя 1.


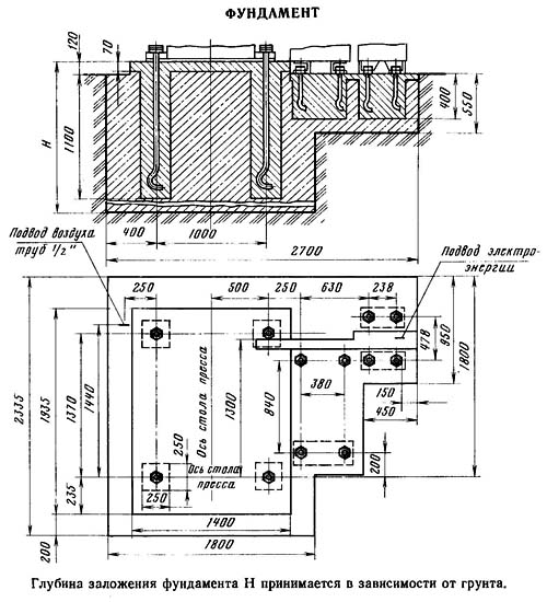
КВ2132 фундамент однокривошипного пресса

Фундамент однокривошипного пресса кв2132 открытого ненаклоняемого

Фундамент однокривошипного пресса кв2132




КВ2132 Пресс кривошипный простого дії двостоєчний открытый. Відеоролик.




Технічні характеристики пресса КВ2132

Наименование параметра К2132 КВ2132 КД2132 КГ2132
Основні параметри
Номинальное усилие пресса, кН (т) 1600 (160) 1600 (160) 1600 (160) 1600 (160)
Наибольший ход ползуна (штока), мм 25..160 25..160 25..160 25..160
Путь номинального зусилля до нижней мертвой точки (НМТ), мм 8 5
Частота ходов ползуна непрерывных, 1/мин 50 71 71 71
Частота ходов ползуна одиночных от кнопки, 1/мин 28 28
Розміри стола, мм 1000 х 670 1000 х 670 1000 х 670 1000 х 670
Розміри отверстия в столе, мм 480 х 320 480 х 320 480 х 320
Диаметр отверстия в столе, мм 420 420 420
Наибольшее расстояние между столом і ползуном в его нижнем положении - закрытая высота пресса, мм 480 480 480 480
Расстояние от оси штока до станины (вылет), мм 360 360 360
Величина регулировки расстояния между столом і ползуном, мм 120 120 120 120
Расстояние между стойками станины в свету, мм 480 480 480
Толщина подштамповой плиты, мм 120 120 120 110
Блок керування бесконтактный, мм БУБ-2
Максимальный ход выталкивателя в ползуне, мм
Высота стола над уровнем пола, мм
Тип муфты тормоза ПневмоФрикц
ЖесткоСблок
Електроустаткування
Количество електродвигателей 4
Електродвигун головного приводу (М1), кВт (об/мин) 15 (700) 19 16
Електродвигун приводу насоса змазки (М2), кВт
Електродвигун приводу регулировки штампового простору (М3), кВт
Електродвигун приводу регулировки ходу ползуна (М4), кВт
Габарити і масса пресса
Габарити пресса (длина ширина высота), мм 2340 х 2100 х 3650 2340 х 2100 х 3700 2340 х 2100 х 3700 2100 х 2340 х 3700
Масса пресса, кг 14135 14000 14000 12300

    Список литературы:

  1. Банкетов А.Н., Бочаров Ю.А., Добринский Н.С. і др. Кузнечно-прессовое обладнання, 1970
  2. Бочаров Ю.А., Прокофьев В, Н. Гідропривід кузнечно-прессовых машин, 1969
  3. Белов А.Ф., Розанов Б. В., Линц В. П. Объемная штамповка на гідравлических прессах, 1971
  4. Живов Л.И. Кузнечно-штамповочное обладнання, 2006
  5. Кузьминцев В.Н. Ковка на молотах і прессах, 1979
  6. Розанов Б.В. Гідравлические прессы, 1959
  7. Титов Ю.А. Обладнання кузнечно-прессовых цехов, 2001
  8. Щеглов В.Ф. Кузнечно-прессовые машины, 1989
  9. Берлет Разработка чертежей поковок, 2001
  10. Рудман Л.И. Справочник по оборудованию для листовой штамповки, 1989
  11. Романовский В.П. Справочник по холодной штамповке, 1965
  12. Охрименко Я.М. Технология кузнечно-штамповочного производства, 1966
  13. Кузьминцев В.Н. Ковка на молотах і прессах, 1979
  14. Мещерин В.Т. Листовая штамповка. Атлас схем, 1975