metalinstryment.com
Довідник по металорізальних верстатів та пресовому обладнанні

КД2134 Пресс однокривошипный простого дії открытый
схеми, опис, характеристики

Фото пресса однокривошипного простого дії открытого ненаклоняемого КД2134



Прессы механические, прессы гідравлические, верстати поперечно-строгальные

Відомості про виробника однокривошипного пресса КД2134

Производителем пресса КД2134 являются:




Верстати, выпускаемые ООО СО Прессмаш


КД2134 Пресс однокривошипный простого дії открытый ненаклоняемый. Назначение, область применения

Механический быстроходный пресс КД2134 усилием 2500 кН (250 тс) предназначен для выполнения вырубки, гибки, неглубокой вытяжки, пробивки і других различных операций холодной штамповки.

Принцип роботи і особливості конструкції пресса КД2134

Однокривошипный пресс КД2134 работает в режимах: ручной проворот, регулировка, толчок, одиночные ходу, непрерывные ходу.

Електросхема передбачає два способа керування: з пульта керування і от педали.

Захист рабочей зоны – приводная подвижная защитная решетка.

Предохранение от перегрузки - самовосстанавливающийся гідро- предохранитель или срезная шайба.


Однокривошипный пресс простого дії. Загальні відомості

Прессы кривошипные простого дії

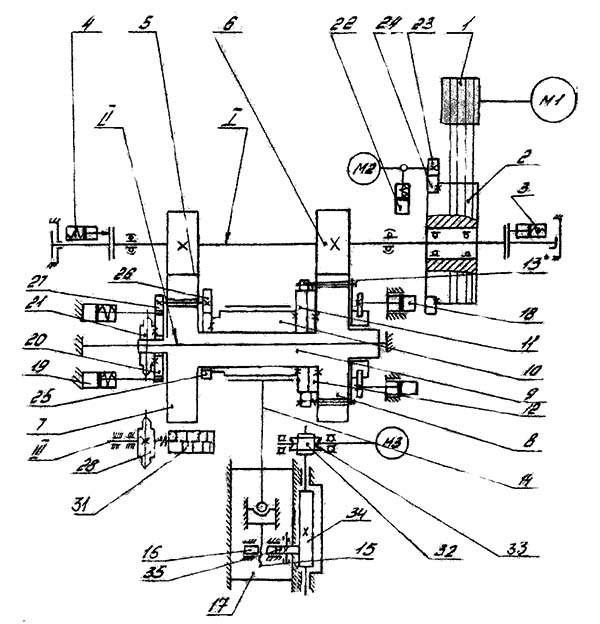
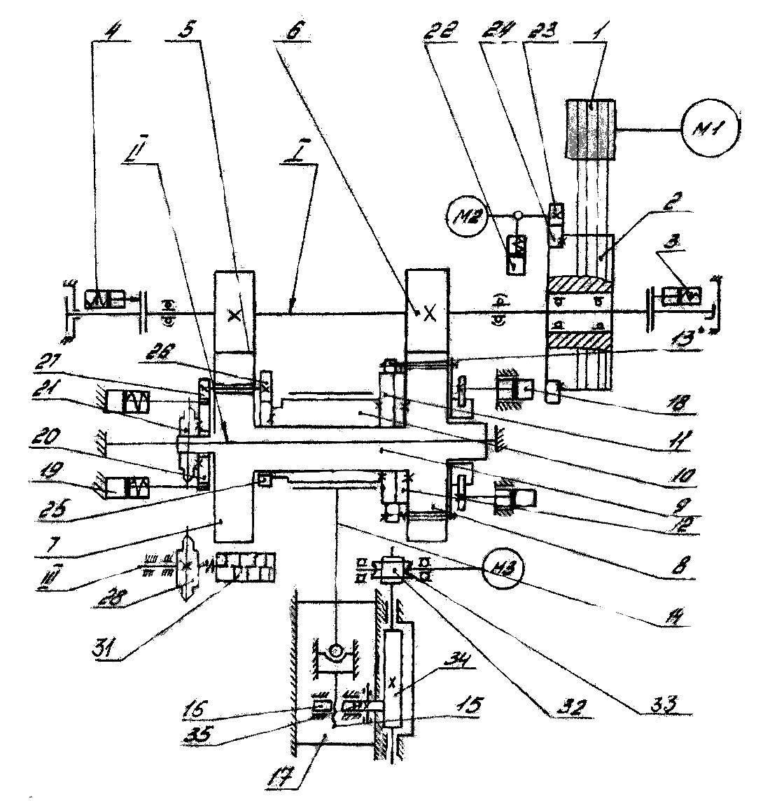
Кінематична схема кривошипного пресса:

  1. ползун
  2. тормоз
  3. маховик
  4. клиноремённая передача
  5. електродвигатель
  6. передавальний вал
  7. зубчатая передача
  8. муфта
  9. кривошипный вал
  10. шатун
  11. плита для крепления матрицы штампа

Кривошипный пресс - машина з кривошипно-шатунным механізмом, предназначенная для штамповки различных деталей.

Рабочей частью (инструментом) пресса является штамп, неподвижную часть которого крепят к столу, подвижную — к ползуну пресса. Ползун перемещается кривошипно-шатунным механізмом. За один оборот кривошипа шатун совершает полный ход, во время которого при движении ползуна вперёд происходит штамповка.

Усилие пресса создаётся за счёт крутящего момента, передаваемого кривошипному валу електроприводом. Привід состоит из електродвигуна, маховика, муфты увімкнення, тормоза і понижающей зубчатой передачи, от которой вращение передаётся кривошипному валу. Електродвигун вращает маховик, за счёт силы инерции которого на кривошипном валу возникает крутящий момент. Пресс може работать в режиме одиночных ходов, т. е. з вимкненням муфты після каждого полного ходу, или в автоматическом режиме, когда муфта включена постоянно.

Важнейшие характеристики пресса, в определяющие его технологические возможности:

Кривошипные прессы различных конструкций используют для объёмной і листовой штамповки.

По конструкції прессы имеют три основних исполнения:

Прессы наклоняемые позволяют использовать наклон станины для съема штампуемых изделий или удаления отходов под их собственным весом.

Прессы ненаклоняемые з передвижным столом предназначены для выполнения операций штамповки на деталях з широким диапазоном размеров по высоте, а при замене стола рогом обрабатывать вироби з замкнутым контуром.

Конструкція наклоняемых і ненаклоняемых прессов з нерухомим столом передбачає возможность установки механізмов автоматичною подачі металла і пневматических подушек, а также встраивать их в автоматизированные поточные линии.


Обозначение кривошипных прессов

Значения первых двух цифр в обозначениях кривошипных прессов:

За двумя первыми цифрами следуют еще две цифры, обозначающие номинальное усилие пресса, а затем буква, которая показывает его модификацию в группе прессов данного вида.


Значения основного параметра (номинальное усилие пресса) в обозначениях прессов:

Таблиця 1. Обозначение основного параметра пресса

Обозн. пресса Усилие пресса, кН Обозн. пресса Усилие пресса, кН Обозн. пресса Усилие пресса, кН Обозн. пресса Усилие пресса, кН
14 25 кН 20 100 кН 30 1000 кН 40 10000 кН
15 31,5 кН 21 125 кН 31 1250 кН 41 12500 кН
16 40 кН 22 160 кН 32 1600 кН 42 16000 кН
18 63 кН 23 200 кН 33 2000 кН 43 20000 кН
24 250 кН 34 2500 кН 44 25000 кН
25 315 кН 35 3150 кН 45 31500 кН
26 400 кН 36 4000 кН 46 40000 кН
28 630 кН 38 6300 кН 48 63000 кН

Пример обозначения механических прессов:





КД2134 изображение однокривошипного пресса

КД2134 Изображение кривошипного открытого ненаклоняемого пресса

Фото однокривошипного пресса кд2134

Фото однокривошипного открытого ненаклоняемого пресса КД2134. Дивитись у збільшеному масштабі



КД2134 Изображение кривошипного открытого ненаклоняемого пресса

Фото однокривошипного пресса кд2134


КД2134 Изображение кривошипного открытого ненаклоняемого пресса

Фото однокривошипного пресса кд2134


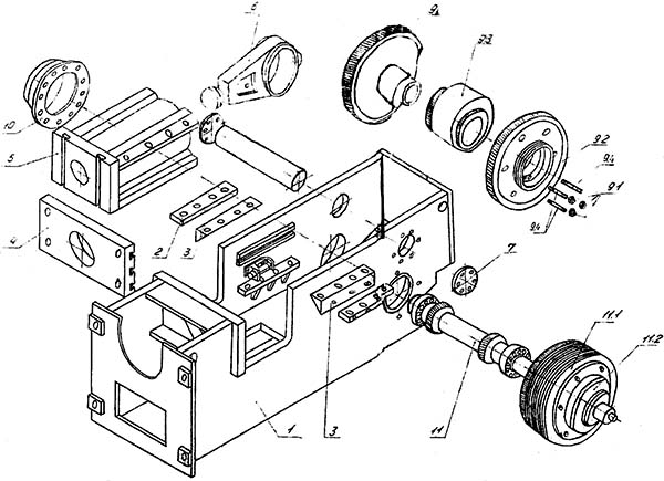
Розташування основних вузлів однокривошипного пресса КД2134

Розташування основних вузлів однокривошипного пресса КД2134 открытого ненаклоняемого пресса

Розташування основних вузлів однокривошипного пресса кд2134

1. Розташування основних вузлів однокривошипного пресса КД2134. Дивитись у збільшеному масштабі

2. Розташування основних вузлів однокривошипного пресса КД2134. Дивитись у збільшеному масштабі







Схема кінематична однокривошипного пресса КД2134

Кінематична схема однокривошипного пресса КД2134 открытого ненаклоняемого пресса

Кінематична схема однокривошипного пресса кд2134

1. Кінематична схема однокривошипного пресса КД2134. Дивитись у збільшеному масштабі

2. Кінематична схема однокривошипного пресса КД2134. Дивитись у збільшеному масштабі



Список елементів кінематичної схеми

Работа пресса і его складових частин

Крутящий момент електродвигуна М1 через шкив 1 передається на маховик 2 і далее при включенной муфте 3 і выключенном тормозе 4 – на приемный вал 1, на котором закреплены шестерни 5 і 6.

Шестерни 5 і 6 передают крутящий момент на зубчасті колеса 7 і 8, свободно вращающиеся на оси II. Колеса 7 і 8 жестко соединены о ексцентриком 9, на котором насажена ексцентриковая втулка 10, связанная з ексцентриком 9 посредством шестерен 11, 12 і обоймы 13. Шестерня 11 жестко соединена з ексцентриковой втулкой 10, а шестерня 12 – з колесом 8.

На ексцентриковую втулку 10 падет шатун 14, который в свою очередь через винт 15, гайку-шестерню 16 связан з ползуном 17.

Муфта 3 і тормоз 4 предназначены для периодического соединения постоянно вращающегося маховика 2 з ползуном 17, воспринимающим технологическое усилие.

Изменение величины ходу ползуна осуществляется за счет взаимного разворота ексцентрика 9 і ексцентриковой втулки 10 при включенной муфте 3 і выключенном тормозе 4. При етом пневмоциліндри 18 расцепляют обойму 13 і шестерню 11, пневмоцилиндр 19 затормаживает центральную шестерню 20 і связанную з ней звездочку 21, пневмоцилиндр 22 вводит в зацепление шестерню 23 і венец 24, жестко установленный на маховик 2. Далее мотор-редуктор М2 через шестерню 23, зубчатый венец 24, маховик 2, муфту 3, шестерни 5 і 6, вала 1 передает крутящий момент колесам 7 і 8 і ексцентрику 9. При вращении колес 7 і 8 ексцентриковая втулка 10 получает равное і противоположное направленное рух от жестко соединенного з ней зубчатого колеса.

По окончании регулировки величины ходу ползуна пневмоциліндри 18. 19, 22 возвращаются в исходное положение, при етом шестерня 11 сцепляется з обоймой 13, шестерня 20 растормаживается, шестерня 23 отводится от венца 24.

Звездочки 21, 28 через цепную передачу передают вращение валу командоаппарата.

ВНИМАНИЕ! При регулировке величины ходу ползуна суммарный вектор ексцентриситетов ексцентрика і ексцентриковой втулки изменяется по вертикальной оси пресса, привід командоаппарата 31 заторможен, поетому переналадка командоаппарата не требуется.

Изменение величины штампового простору осуществляется електродвигуном М3 через червячную передачу 32, 33, удлиненную шестерню 34, шестерню 35, гайку-шестерню 16. Последняя, вращаясь по винту 15. изменяет положение ползуна 17 относительно стола станины пресса.


Опис основних вузлів пресса КД2134

Станина

Станина 1 (рис. 10) пресса С-образная, цельносварная, стальная. Для направления руху ползуна станина 1 имеет две плоские неподвижные направляющие 5 і 6, установленные на штифтах 14 і закрепленные гвинтами 11, і две призматические направляющие 2 і 3. Призматическими направляющими осуществляется регулировка зазору между направляющими станины і ползуном при помощи нажимных болтов 10 і отжимных шпилек 13, установленных в планках 8. Последние закреплены в пазах станины гвинтами 9.

На рабочей плоскости стола гвинтами 12 і сухарями 7 закреплены подшамповая плита з Т-образными пазами для крепления инструмента.

Для установки средств механизации на станине предусмотрены привалочные поверхности і места крепления.

На бугельном колесе 3, установлены сателлиты 12 і 13, сцепленные з шестерней 9 і центральным колесом 14, имеющим отверстие для стопорения. С центральным колесом 14 сцеплена звездочка 15, приводящая во вращение распределительный вал.




Вал главный

Вал главный приводится во вращение приемным валом і вместе з шатуном 16 преобразует вращательное рух приводу в возвратно-поступательное рух ползуна з установленной величиной ходу.

Вал приемный однокривошипного пресса КД2134 открытого ненаклоняемого пресса

Вал приемный однокривошипного пресса кд2134

Вал приемный однокривошипного пресса КД2134. Дивитись у збільшеному масштабі



Вал распределительный

Вал распределительный 1 установлен на підшипниках 2 в стакане 3, закрепленном в станине пресса, і приводится во вращение посредством ланцюги 4 і звездочки 5 от вала головного. Натяжение ланцюги 4 осуществляется поворотом стакана 3.

Справа к валу подсоединяется командоаппарат, а слева насажен поводок 6 средств механизации.

На станине закреплен лимб 7 з делениями в градусах, а на валу установлена стрелка 8 положения кривошипного вала.

Ползун (рис. 15)

Ползун 1 (рис. 15) является исполнительным органом пресса. К нему крепится верхняя часть штампов, для чего в нижней частини ползуна предусмотрены Т-образные пазы, центрирующее отверстие і отверстие под выталкиватели.

В ползун вмонтирована гідроопора (см. рис. 15а) или срезная шайба 13 (см. рис. 15б). На ползуне установлены елементы керування гідроопорой. В отверстии ползуна 1, размещена опора 2 з подпятником 3 силовым винтом 4, свинченным з гайкой-шестерней 5, которая постоянно сцеплена з промежуточной шестерней 6. Опора 2 фиксируется от поворота шпонкой 7, скользящей в процессе регулировки вдоль паза ползуна 1. На подпятник 3 устанавливается шатун 9 і крепится гайкой 10, которая після регулировки зазору в паре шатун-ползун стопорится винтом. К направляющим ползуна 1 прикреплены бронзовые накладки 11 і 12. зазор «F» между торцом гайки-шестерни 5 і торцом клапана гідроопори (или торцом срезной шайбы) устанавливается в пределах 0,05…0,1 мм) за счет подгонки компенсатора 16.

ВНИМАНИЕ!

  1. Зазор «F» устанавливать при отсутствии давления в пневмосистеме уравновешивателей після нескольких движений ползуна при ходе післяднего к В.М.Т. (Верхня Мертвая Точка).
  2. Во избежание стуков, зазор в паре шатун-ползун регулировать, обеспечив сопряжение, отвечающее посадке Н8/h7.

Установка уравновешивателей

Установка уравновешивателей (рис. 16). Уравновешиватели 1 служат для уравновешивания подвижных масс, выбора зазоров в системе ползун-шатун-вал главный, предотобертання падения ползуна при обрыве шатуна.

Уравновешиватели 1 крепятся на станине кронштейнами 2.

Штоки уравновешивателей – через тягу 3 штанги 4 связаны з ползуном пресса.

Механізм регулировки штампового простору

Механізм регулировки штампового простору (рис. 17). В направляючих станины пресса закреплены корпус 1, на котором установлены червячный редуктор 2, сцеплений з удлиненной шестерней 3 і приводимый во вращение електродвигуном 4. Шестерня 3 постоянно сцеплена з промежуточной шестерней 6 ползуна (см.рис.15).

Регулювання зацепления і крепление корпуса 1 осуществляется компенсационной планкой 5 і болтами 6.

Микропривод

Микропривід (рис. 18) предназначен для медленного проворота головного приводу пресса при регулировке величины ода ползуна і наладках штампов. На плите 1, установленной на оси 2, закреплен мотор-редуктор 3 з ведущей шестерней 4. Пневмоцилиндр 5 связан з плитой 1 осью 6 і служит для ввода или вывода шестерни 4 из зацепления з зубчатым венцом маховика. Регулювання зубчатого зацепления осуществляется винтом 7.

Установка выталкивателей

Установка выталкивателей (рис. 19). В ползуне пресса на опоре 1 установлены раздвижные штанги 2, упирающиеся в кронштейны 3, закрепленные на станине.

На нижней частини штанги 2 предусмотрены места под ключ для осуществления регулировки длины штанги 2. Резьба штанги имеет механізм выборки зазору, состоящий из контргайки 4 і гаки 5. К опоре 1 прикреплены штыри 6, контактирующие со съемниками штампов. При експлуатации пресса стопорное кольцо поз. 7 снять.

Установка гідропредохранителя

Установка гідропредохранителя (рис. 20) монтируется на ползун пресса і состоит из гідроопори 1, связанной з гідропанелью нагнетательным трубопроводом 2 і сливным трубопроводом – з баком 4.

Гідропанель состоит из насоса гідропневматического 5, панелі 6 з перепускным вентилем 7, реле давления 8, крана-демпфера 9, манометра 10 і сливных 11, связанных з баком 4.

В баке 4 установлен клапан запорный 12, фильтр 13, заливной фильтр 14.

Работу установки гідропредохранителя (см. раздел 7).




Установка срезной шайбы

Вместо самоустанавливающегося гідропредохранителя от перегрузки прессы могут комплектоваться разрушающимся предохранителем срезной шайбой.

Срезная шайба 13 (рис. 15б) устанавливается под торец гайки шестерни 5 (см. рис. 15 б) в стакане 14, сцентрированного на ползуне при помощи корпуса 15 через компенсационное кольцо 16.

В стакане 14 имеются отверстия со штифтами 19, 20. конечный выключатель 17 прикреплен к стакану 14 через кронштейн 18. Стакан 14 удерживается от проворота двумя рукоятками, предназначенными также для съема стакана.

При разрушении шайбы 13 штифт 19, воздействуя на штифт 20, передвигает післядний влево до замыкания конечных выключателя 17, который сигнализирует о срабатывании предохранителя.

Креслення срезной шайбы (см. рис. 39).

ВНИМАНИЕ:

При изготовлении срезных шайб взамен разрушившихся необходимо строго соблюдать технические требования чертежа по материалу, термообработке, точності изготовления, чистоте поверхностей.

Ограничитель регулировки ходу ползуна

При регулировки ходу ползуна в полость трубы 1 подается воздух (см. рис. 24), который прижимает наконечник 2 к верху шатуна.

При достижении крайних значений регулировки срабатывают конечные выключатели 3,4, отключающие механізм регулировки.

Командоаппарат

Командоаппарат (рис. 25) представляет собой пристрій для подачі сигналов исполнительным механізмом пресса в наладочном і рабочих режимах.

Керування прессом передбачає:

К кронштейну 1 вала распределительного, прикреплен корпус 2 командоаппарата, в підшипниках 3 которого размещен вал 4.

На валу 4 через дистанционные втулки 5 установлены кулачки 6, 7, 8, 9, 10, 11, 12, 13, фиксация которых осуществляется посредством гайки 14. В корпусе 2 установлены бесконтактные выключатели 15, в щели которых входят соответствующие кулачки.

Назначение, ориентировку кулачков относительно вертикальной оси пресса (см. табл. рис. 22).

Для регулировки положения кулачков необходимо ослабить гайку 14, установить кулачки в нужное положение і снова затянуть гайку.

Привід вала 4 осуществляется соединением з валом распределительным.





Гідро- і пневмосистемы, система змазки

Гідросистема (для некоторых моделей)

Гідросистема пресса предназначена для роботи гідропредохранителя.

Принципиальную схему гідропредохранителя, перечень оборудования см. рис. 23.

Гідросистема работает следующим образом: гідропневматический насос 8 поднимает давление в полости гідроопори 1 до заданной величины, которая обеспечивается налаштуванням регулятора давления воздуха, установленного в пневмоблоке подготовки воздуха. При достижении давления гідропневматический насос 8 автоматически останавливается за счет равенства сил, создаваемых давлением воздуха, действующего на его пневмопоршень, і жидкости, действующей на его плунжер. При понижении давления в гідросистеме в результате утечек или при срабатывании гідроопори 1 гідропневматический насос автоматически повышает давление масла до заданной величины, т.к. сжатый воздух постоянно давит на поршень насоса.

Зависимость первоначального давления в гідросистеме от зусилля на ползуне см. рис. 2.

При перегрузке пресса, когда усилие, передаваемое на хвостовик клапана, превышает создаваемое давлением масла в гідросистеме, произойдет дополнительное сжатие масла в полости гідроопори і клапан оторвется от седла опори. Масло перельется в подклапанную полость і в бак 6 через запорный клапан 2 по сливному трубопроводу. Одновременно реле давления 3 сигнализирует об аварийном состоянии гідросистемы. Манометр 5, подключенный к магистрали через кран-демпфер 4, предназначен для периодического контроля давления масла. Перепускной вентиль 9 предназначен для сброса давления в системе.

При первоначальном пуске гідросистемы необходимо: залить масло в бак 6 до указателя верхнего уровня масла, закрыть перепускной вентиль 9, открыть кран-демпфер 4, подать воздух к гідропневматическому насосу. Регулятором давления воздуха установить необходимое давление в системе, отрегулировать реле давления 3, перекрыть кран-демпфер 4.

При работе на прессе з гідропредохранителем гідропневматический насос должен периодически включаться в работу, производя несколько циклов. При етом давление в системе должно оставаться неизмененным.

По окончании роботи необходимо перекрыть подвод воздуха к гідропневматическому насосу. Сбрасывать давление в гідросистеме не рекомендуется.

Перед началом роботи необходимо установить начальное давление воздуха в блоке подготовки воздуха, открыть кран-демпфер, поднять давление в гідросистеме, закрыть кран-демпфер.

ВНИМАНИЕ! Во избежание выхода из строй манометра кран-демпфер должен быть постоянно закрыт.

При отсутствии давления в системе при длительной работе насоса необходимо проверить состояние перепускного вентиля; клапана запорного, герметичность нагнетательных трубопроводов, работоспособность плунжера насоса, уровень масла в баке.

В аварийных случаях необходимо открыть перепускной вентиль, перекрыть подвод воздуха к насосу. Запрещается сбрасывать давление краном-демпфером.

Категорически запрещается производить роботи по обслуговування гідросистемы при наличии в ней давления.

Для нормальноай роботи гідросистемы рекомендуется масло гідравлическое «ВНИИНП-403», кінематична вязкость 35 с. ст при температуре окружающей среды от +5 до +50оС. Номинальная тонкость очистки масла 40 мкм.

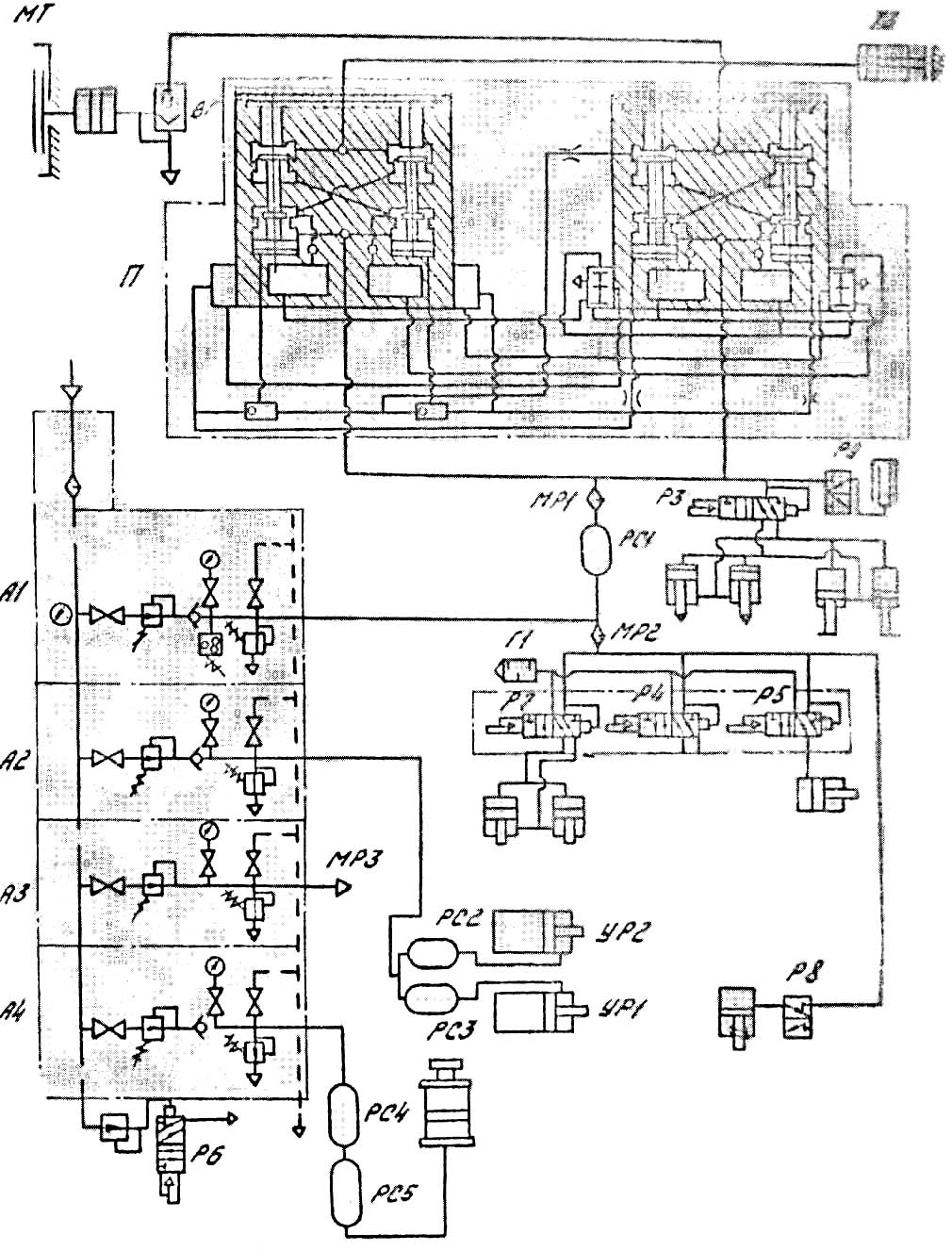
Пневмосистема

Схема пневматическая принципова однокривошипного пресса КД2134 открытого ненаклоняемого пресса

Схема пневматическая принципова пресса кд2134

Схема пневматическая принципова однокривошипного пресса КД2134. Дивитись у збільшеному масштабі



Пневмосистема пресса предназначена для роботи муфты, тормоза, тормоза маховика, уравновешивателей, пневмоподушки, гідропневматического насоса, пневмоцилиндров керування валом головним, выталкивателей, (микроприводу і пневмосдувателя для некоторых моделей)

Принципиальную пневматическую схему, перечень оборудования см. рис. 24 і табл. 10.

Пневмосистема работает следующим образом: воздух от цеховой магистрали подается в пневмопанель подготовки воздуха, состоящую из нескольких боков, влагоотделителя і реле давления. Назначение блоков: А1 – блок керування; А2 – блок уравновешивателей; А4 – блок пневмоподушки; А3 – блок гідропневматического насоса.

От пневмоблока А1 воздух поступает в ресивер РС1 і через маслораспылитель МР2 к пневмораспределителям Р4, Р5, Р7 которые управляют цилиндрами тормоза маховика, выталкивателя, решетки защитной, а также через пневмораспределитель Р8 к пневмоцилиндру микропривода.

Из ресивера РС1 через маслораспылитель МР1 панель керування П-ПУ25/10 воздух поступает вмуфту МТ і тормоз Т3 і через пневмораспределитель Р3 – к пневмоцилиндрам фиксатора і стопорной обоймы. Из пневмоблока А2 воздух поступает в ресиверы РС1 і РС2 і далее к уравновешивателям УР1, УР2.

При движении ползуна пресса вниз воздух из уравновешивателя выгоняется в ресивер, при движении ползуна вверх воздух поступает в циліндри уравновешивателей.

От пневмоблока А3 через маслораспылитель МР3 воздух поступает к гідропневматическому насосу.

От пневмоблока А4 через ресивер РС4 воздух поступает в пневмоподушку.

Каждый пневмоблок имеет регулятор, которым устанавливается необходимое давление в исполнительном органе пневмосистемы.

Настройку давления воздуха в уравновешивателях производится так, чтобы усилие уравновешивателей превышало массы движущихся частин і инструмента на 20-30%.

График налаштування уравновешивателей в зависимости от массы штампа подвешиваемого к ползуну см. рис. 25.

По окончании роботи на прессе необходимо перекрыть подвод воздуха из магистрали, слить конденсат из пневмоблоков і ресиверов.

Система змазки

Смазка пресса осуществляется тремя способами:

Карта змазки, точки і способ змазки, применяемые материалы даны на рис. 26.

Схема автоматичною циркуляционной змазки дана на рис. 27. Вказівки по установці, подготовке к работе, обслуговування станції, однолинейных питателей, возможные неисправности і способы их устранения см. паспорта на С-ЦС; питатели однолинейные типа М.

Точки змазки шприцеванием, периодичность змазки, марка, расход смазочного материала см. таблицу 12.

Точки змазки заливкой, периодичность змазки, марка, расход смазочного материла см. таблицу 13.

Реле давления станції змазки отрегулировать на величины Рmin = 2,0 МПа; Рmax = 4,0 МПа.

Номинальное давление в системе установить регулятором давления станції змазки, равно 2,5 + 3,5 МПа.

Расход змазки по точкам отрегулировать клапаны через пробку 3, находящуюся на раздаточной колодке 1, рис. 28.

Маслораспылители пневмосистемы отрегулировать так, чтобы скорость каплепадения была на одиночных ходух не менее одной капли за 5-10 включений муфты.





Особливості разборки і сборки при ремонтi однокривошипного пресса кд2134

Схема разборки однокривошипного пресса КД2134 открытого ненаклоняемого пресса

Схема разборки однокривошипного пресса кд2134

Схема разборки однокривошипного пресса КД2134. Дивитись у збільшеному масштабі



Перед разборкой пресса необходимо:

Разборку пресса производить в следующей післядовательности (рис. 30):

Сборку пресса производить в обратной післядовательности.

ВНИМАНИЕ! Для правильной роботи механізма регулировки величины ходу ползуна, необходимо при сборке вала головного совместить диаметральные плоскости максимальных ексцентриситетов бугеля і ексцентриковой втулки з плоскостью центральной шестерни планетарного механізма, проходящей через ось стопорных отверстий.

При ремонтi направляючих і рабочих плоскостей, влияющих на точность пресса, необходимо соблюдать наступні требования:

После каждого ремонта пресса необходимо проверять его нормы точності, производить регулировку направляючих.

При ремонтi окремих вузлів пресса следует руководствоваться приведенными в настоящем руководстве по експлуатации описаннями і иллюстрациями.




КД2134 Пресс кривошипный простого дії открытый. Відеоролик.




Технічні характеристики пресса КД2134

Наименование параметра КД2132 КД2134
Основні параметри
Номинальное усилие пресса, кН (тс) 1600 (160) 2500 (250)
Наибольший ход ползуна (штока), мм 25..160 25..200
Частота ходов ползуна непрерывных, 1/мин 71 61
Частота ходов ползуна одиночных от кнопки, 1/мин 28 25
Розміри стола (слева направо х спереди назад), мм 1000 х 670 1120 х 750
Розміри отверстия в столе, мм 360 х 530
Диаметр отверстия в столе, мм 480
Наибольшее расстояние между столом і ползуном в его нижнем положении - закрытая высота пресса, мм 480 560
Расстояние от оси штока до станины (вылет), мм 360 400
Величина ходу ползуна до его крайнего нижнего положения, на котором пресс развивает номинальное усилие при наибольшем ходе: при непрерывных ходух /при одиночных ходух, мм 4/ 8
Величина регулировки расстояния между столом і ползуном, мм 120 140
Расстояние между стойками станины в свету, мм 480 560
Толщина подштамповой плиты, мм 125
Розміри нижней поверхности ползуна, мм
Розміри отверстия в ползуне: диаметр / глубина, мм 75Н8/ 100
Вертикальная жесткость, кН/мм 820
Угловая жесткость, кН/рад 2 × 106
Тип муфты тормоза
Електроустаткування
Количество електродвигателей 4
Електродвигун головного привода, кВт (об/мин) 33,5 (1000)
Електродвигун приводу насоса змазки, кВт
Електродвигун приводу регулировки штампового простору, кВт
Електродвигун приводу регулировки ходу ползуна, кВт
Габарити і масса пресса
Габарити пресса (длина ширина высота), мм 2500 х 2700 х 4300
Масса пресса, кг 14000 22050

    Список литературы:

  1. Банкетов А.Н., Бочаров Ю.А., Добринский Н.С. і др. Кузнечно-прессовое обладнання, 1970
  2. Бочаров Ю.А., Прокофьев В, Н. Гідропривід кузнечно-прессовых машин, 1969
  3. Белов А.Ф., Розанов Б. В., Линц В. П. Объемная штамповка на гідравлических прессах, 1971
  4. Живов Л.И. Кузнечно-штамповочное обладнання, 2006
  5. Кузьминцев В.Н. Ковка на молотах і прессах, 1979
  6. Розанов Б.В. Гідравлические прессы, 1959
  7. Титов Ю.А. Обладнання кузнечно-прессовых цехов, 2001
  8. Щеглов В.Ф. Кузнечно-прессовые машины, 1989
  9. Берлет Разработка чертежей поковок, 2001
  10. Рудман Л.И. Справочник по оборудованию для листовой штамповки, 1989
  11. Романовский В.П. Справочник по холодной штамповке, 1965
  12. Охрименко Я.М. Технология кузнечно-штамповочного производства, 1966
  13. Кузьминцев В.Н. Ковка на молотах і прессах, 1979
  14. Мещерин В.Т. Листовая штамповка. Атлас схем, 1975