Постачальником настільного токарного верстата BD-920w є JPW Tools AG Швейцарія. Адреса сайту: www.jettools.com
За маркою JET стоїть підприємство з великим досвідом у галузі виробництва дерево- та металообробних верстатів. Вже починаючи з 1950 року, JET розробляє, виробляє та продає верстати у США, де є лідером ринку.
Важливою подією в житті компанії стало злиття з великим промисловим кінцірном Walter Meier AG (Швейцарія), що відбувся 1988 року. Для Jet'а це був крок у напрямку Європи, для "Вальтер Майєр" - перший досвід роботи в верстатній сфері за межами рідної Швейцарії, де компанія займалася цим напрямком з 1937 року. Згодом були також придбані марки: Powermatic (США) – виробник висококласних деревообробних верстатів та Wilton (США), під якою представлені лещата та ручні інструменти.
Декілька років тому JET був куплений швейцарською фірмою WMH Tool Group AG, яка в свою чергу є дочірнім підприємством акціонерного товариства Walter Meier Holding AG , що знаходиться в Цюріху. Ця промислова група, яка налічує понад 1800 співробітників, робить оборот у 560 мільйонів доларів США (2003 рік). Крім JET, WMH Group виробляє та продає такі інструментальні бренди як WILTON, POWERMATIC, Columbian, Performax, відомі в основному на ринку США. Оборот лише цих брендів у США становив 2003 року 230 мільйонів доларів.
Токарно-гвинторізний верстат BD-920w є верстатом класу «хобі», і призначений для індивідуального (побутового) застосування, тобто за своїми конструктивними особливостями та технічними характеристиками верстат не призначений для використання на виробництві.
Токарний верстат металу BD-920w призначений для обробки заготовок з металу, деревини, всіх видів пластмаси методом точення.
Верстат BD-920w є настільним універсальним токарно-гвинторізним верстатом і призначається для всіляких токарних робіт:
Традиційне наочне компонування верстата у поєднанні з відпрацьованою кінематичною схемою дозволяє впевнено забезпечити токарну обробку з класом точності «Н» протягом тривалого терміну експлуатації.
У порівнянні з пропонованими на ринку малогабаритними верстатами - він простий в експлуатації, надійний та довговічний.
Токарний верстат BD-920w працює від однофазної мережі змінного струму напругою 220 В частотою 50 Гц.
Верстат BD-920w може експлуатуватися за таких умов:
Особливості конструкції токарного верстата по металу BD-920w:

Фото токарно-гвинторізного верстата BD-920w. Дивитись у збільшеному масштабі

Фото токарно-гвинторізного верстата BD-920w. Дивитись у збільшеному масштабі

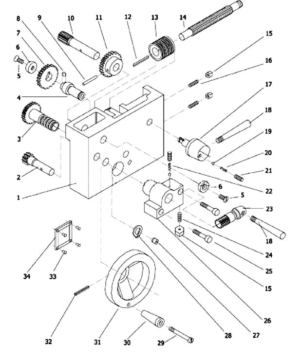
Фото токарно-гвинторізного верстата BD-920w. Дивитись у збільшеному масштабі





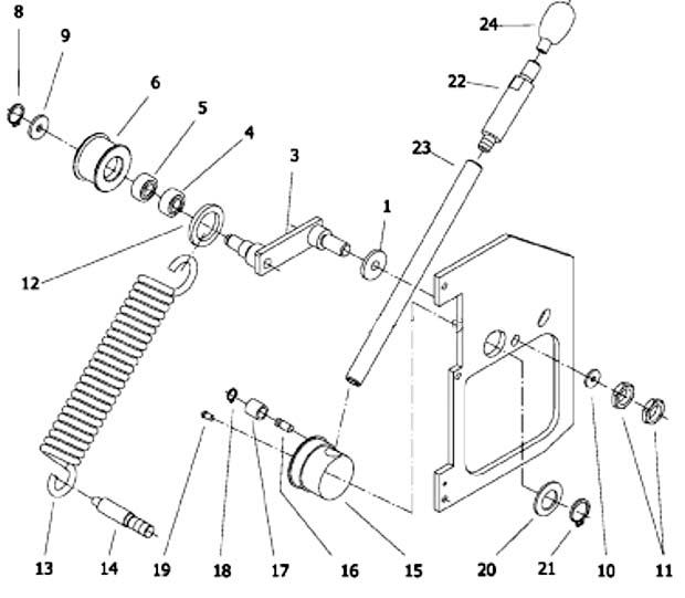
Фото фартуха токарно-гвинторізного верстата BD-920w. Дивитись у збільшеному масштабі



Вибір числа обертів обертання шпинделя. Необхідна кількість обертів шпинделя залежить від типу обробки, діаметра обробки, матеріалу заготовки та інструменту.
Рекомендації щодо вибору числа обертів дійсні для діаметра обробки 10 мм та використання інструменту з Р6М5 (швидкорізальна сталь).














| Найменування параметру | BD-920w | |
|---|---|---|
| Основні параметри верстата | ||
| Найбільший діаметр заготовки над станиною, мм | 220 | |
| Найбільший діаметр заготовки над супортом, мм | 135 | |
| Найбільша довжина заготовки у центрах (РМЦ), мм | 500 | |
| Максимальний розмір державки різця, мм | 12 х 12 | |
| Шпиндель | ||
| Діаметр наскрізного отвору в шпинделі, мм | 20 | |
| Конус Морзе шпинделя | МК-3 | |
| Число ступенів частот прямого обертання шпинделя | 6 | |
| Частота прямого обертання шпинделя, об/хв | 110..1700 | |
| Приєднання шпинделя | Д1-38 | |
| Диаметр токарного патрона, мм | ||
| Супорт. Подання | ||
| Найбільше поздовжнє переміщення каретки супорта, мм | ||
| Переміщення супорта поздовжнє на один поділ лімба, мм | ||
| Найбільше поперечне переміщення супорта, мм | 125 | |
| Переміщення супорта поперечне на один поділ лімба, мм | 0,05 | |
| Найбільше переміщення верхніх (різцевих) санок (поворотного супорта), мм | 45 | |
| Переміщення різцевих санок на один поділ лімба, мм | ||
| Кут повороту різцевих санчат, град | ±45° | |
| Число ступенів поздовжніх подач супорта | ||
| Межі поздовжніх робочих подач супорту, мм/про | 0,02..0,5 мм/про | |
| Межі поперечних робочих подач супорту, мм/про | ||
| Кількість нарізних різьблень метричних | 8 | |
| Межі кроків різьб метричних, що нарізаються, мм | 0,4/ 0,5/ 0,75/ 0,8/ 1/ 1,5/ 2/ 3 | |
| Кількість нарізних різьблень дюймових | ||
| Межі кроків різьблення дюймових | 8..60 | |
| Межі кроків різьблення модульних | немає | |
| Межі кроків різьблення питних | немає | |
| Задня бабка | ||
| Конус Морзе задньої бабки | МК-2 | |
| Найбільше переміщення пінолі, мм | 40 | |
| Електроустаткування | ||
| Номінальна напруга живлення, | 220 В 50 Гц | |
| Електродвигун головного приводу, кВт | 0,98 | |
| Габарити та маса верстата | ||
| Габарити верстата (довжина ширина висота), мм | 940 х 510 х 500 | |
| Маса верстата, кг | 110 |