metalinstryment.com
Довідник по металорізальних верстатів та пресовому обладнанні

ИР320ПМФ4 Верстат горизонтальный фрезерный многоцелевой (горизонтальный обрабатывающий центр)
схеми, опис, характеристики

ИР320ПМФ4 Верстат фрезерный горизонтальный многоцелевой з ЧПУ







Відомості про виробника горизонтального обрабатывающего центра ИР320ПМФ4

Изготовителем сверлильно-фрезерно-расточных верстатів - горизонтальных обрабатывающих центров з инструментальным магазином барабанного (револьверного) типа ИР320ПМФ4 был Ивановский завод тяжелого станкостроения.





Верстати производства Ивановского завода тяжелого станкостроения ИЗТС


ИР320ПМФ4 Верстат многоцелевой горизонтально-фрезерный обрабатывающий центр. Назначение, область применения

Многоцелевой верстат ИР320ПМФ4 з комбинированной системой числового программного керування, автоматичною сменой инструмента і обрабатываемых деталей предназначен для обробки малогабаритных корпусных деталей особо сложной конфигурации.

По особому заказу за отдельную плату верстати ИР320ПМФ4 изготовляются по классу точності А ОСТ2 Н72-6—81 для обробки особо точных корпусных деталей і в виконанні з накопителем на 12 позиций.

Верстат ИР320ПМФ4 предназначен для внутренних і експортных поставок, в том числе для поставки в страны і районы з тропическим климатом.

Принцип роботи і особливості конструкції верстата ИР320ПМФ4

Климатическое виконання і категория розміщення УЗ ГОСТ 15.150—69.

Обработку детали производят инструментом, закрепленным в шпинделе, при подаче стола (ось X), шпиндельной бабки (ось Y), ползуна (ось Z) і вращении стола (ось А).

На станке ИР320ПМФ4 можно производить сверление, зенкерование, развертывание, растачивание точных отверстий, связанных координатами, фрезерование по контуру з линейной і круговой интерполяцией, нарезание різьб метчиками і резцом, а также токарные операции.

Широкий диапазон частот обертання шпинделя і швидкостей подач позволяет обрабатывать детали из различных конструкционных материалов з високою производительностью.

Обрабатывающий центр ИР320ПМФ4 находится на современном техническом уровне, обладает рядом принципиально новых конструктивных решений і обеспечивает качественно новые технологические методы изготовления деталей.

Все вузли смонтированы на жесткой Г-образной станине, являющейся общим основанием.

Шпиндельная бабка расположена внутри портальной стойки.

Вертикально расположенный поворотный стол перемещается по отдельной станине, которая крепится на общем основании.

Инструментальный магазин барабанного типа крепится на верхнем торце стойки.

Отличительные особливості верстата:

Все базовые детали имеют наибольшую жесткость і виброустойчивость при высокопроизводительной обработке, а также гарантируют длительное сохранение точності.

Шпиндель имеет высокую поверхностную твердость (HRC 67). Он смонтирован на прецизионных радиально-упорных шариковых підшипниках, что обеспечивает оптимальную точность, жесткость і виброустойчивость.

Гідромеханическое пристрій зажиму инструмента в шпинделе гарантирует надежность і быстрое крепление режущего инструмента з усилием 1000 кгс.

Предусмотрено пристрій для обдува конуса шпинделя.

Привід шпинделя фрезерного обрабатывающего центра ИР320ПМФ4

Задание частоти обертання — от программы через 1 об/мин. В диапазоне 13...360 об/мин на шпинделе обеспечивается постоянный момент, в диапазоне 360—5000 об/мин — постоянная мощность.

Датчик оборотів шпинделя з керуванням от ЧПУ позволяет производить нарезание різьби широкого диапазона диаметров резцом і метчиком, а также другие технологические операции, требующие согласованной роботи приводов подач з оборотами шпинделя.

Приводы подач

Перемещение подвижных вузлів по осям X, Y, Z осуществляется от высокомоментных електродвигателей, которые через упругие муфты непосредственно соединены з шариковыми винтовыми парами.

Силовое удержание вузлів при резании осуществляется следящим приводом, что исключает необходимость применения зажимных устройств.

Позиционирование осуществляется по четырем координатным осям X, Y, Z, А.

Стол з круговой подачей позволяет помимо традиционных операций, выполняемых на многоцелевых верстатах, производить точение, круговое фрезерование і обработку криволинейных профилей на цилиндрической поверхности.

Оптические датчики гарантируют высокую точность поворота стола в любое заданное угловое положение.

Для установки і крепления деталей на поверхности стола-спутника имеется сетка резьбовых отверстий.

Рабочая поверхность стола-спутника расположена вертикально, что позволяет еффективно осуществлять уборку стружки і очистку деталей.

Автоматическая смена столов-спутников из четырехместного і 12-местного накопителей обеспечивает работу верстатів в автоматическом режиме, исключает из технологического цикла время на установку і снятие детали.

Зона обертання накопителя закрыта. Загрузка-разгрузка столов-спутников верстата з четырехместным накопителем производится з горизонтальным положением зеркала стола в накопителе, вращение которого блокируется, а их транспортировка из накопителя на стол верстата і обратно — з вертикальным положением.

Загрузка-разгрузка столов-спутников верстата з 12-местным накопителем производится на специальном кантователе з горизонтальным положением зеркала стола, при етом накопитель обеспечивает смену столов-спутников.

Столы-спутники в 12-местном накопителе находятся з вертикальным расположением зеркала стола, в таком же положении ведется их транспортировка из накопителя на стол верстата і обратно.

Накопитель рассчитан на четыре (двенадцать) столов-спутников з заготовками і обработанными деталями.

Очистка детали от стружки і смазочно-охлаждающей жидкости осуществляется автоматически.

Пристрій автоматичною смены инструментов

Безманипуляторная система состоит из вращающегося инструментального магазина барабанного типа з кодированными гнездами, емкостью магазина 36 инструментов.

Выбор инструмента происходит в любой післядовательности з післядующей гідромеханической фиксацией инструментального магазина. Конструкція магазина позволяет использовать многошпиндельные сменные головки.

Охлаждение

Смазочно-охлаждающая жидкость подается на инструмент через восемь отверстий, расположенных в корпусе шпинделя.

При подаче смазочно-охлаждающей жидкости на инструмент обеспечивается охолодження шпиндельного вузла, при подаче в зону різання — охолодження детали і удаление з нее стружки.

Ограждение зоны різання

Зона різання имеет ограждение, которое надежно защищает оператора от стружки і смазочно-охлаждающей жидкости. При етом удобный визуальный контроль осуществляется через окно в раздвижной двери. Зона різання для удобства наблюдения освещена.


Основні характеристики многоцелевого горизонтально-фрезерного обрабатывающего центра ИР320ПМФ4

Производитель: Ивановский завод тяжелого станкостроения.

Разработчик — Ивановское СКБ расточных верстатів.





Габарит робочого простору верстата ИР320ПМФ4

Габарит робочого простору многоцелевого верстата з ЧПУ і АСИ ИР320ПМФ4

Габаритные розміри робочого простору верстата ир320пмф4


Габарит робочого простору многоцелевого верстата з ЧПУ і АСИ ИР320ПМФ4

Габаритные розміри робочого простору верстата ир320пмф4


Загальний вигляд многоцелевого верстата з ЧПУ ИР320ПМФ4

ИР320ПМФ4 Загальний вигляд  многоцелевого обрабатывающего центра з ЧПУ і АСИ

Фото многоцелевого верстата ир320пмф4


ИР320ПМФ4 Загальний вигляд  многоцелевого обрабатывающего центра з ЧПУ і АСИ

Фото многоцелевого верстата ир320пмф4


ИР320ПМФ4 Загальний вигляд  многоцелевого обрабатывающего центра з ЧПУ і АСИ

Фото многоцелевого верстата ир320пмф4


ИР320ПМФ4 Загальний вигляд  многоцелевого обрабатывающего центра з ЧПУ і АСИ

Фото многоцелевого верстата ир320пмф4


ИР320ПМФ4 Загальний вигляд  многоцелевого обрабатывающего центра з ЧПУ і АСИ

Фото многоцелевого верстата ир320пмф4





Розташування основних вузлів многоцелевого верстата ир320пмф4

Розташування основних вузлів многоцелевого верстата ир320пмф4

Розташування основних вузлів многоцелевого верстата ир320пмф4

Розташування основних вузлів верстата ир320пмф4. Дивитись у збільшеному масштабі



Шпиндельная бабка

Шпиндельная бабка 4, смонтированная в ползуне, перемещается по вертикальным направляющим стойки 3. Поворотный стол 5 перемещается по направляющим станины 7, которая крепится на общем основании 2.

На стойке 3 расположен инструментальный магазин 8 барабанного типа.

Загрузка инструмента осуществляется следующим образом: ползун со шпинделем отводится в крайнее заднее положение і перемещается вверх под магазин до совпадения осей шпинделя і гнезда магазина. При ходе ползуна вперед конусная оправка инструмента захватывается гнездом шпинделя, а при ходе ползуна вниз инструмент извлекается из гнезда магазина.

Верстат снабжен пристрійм автоматичною смены столов-спутников 6 (ПС). Гідро- і пневмообладнання 1, електрообладнання і УЧПУ смонтированы на общем основании 2.

Вертикальное расположение рабочей поверхности поворотного стола улучшает условия для удаления стружки из зоны різання, а также обеспечивает очистку обрабатываемой детали в процессе обробки (без участиния оператора).





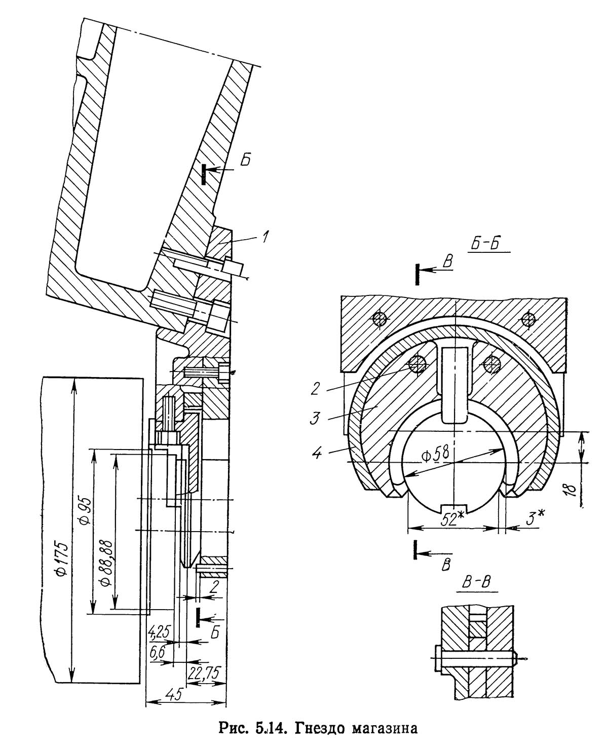
Кінематична схема многоцелевого верстата ир320пмф4

ИР320ПМФ4 Кінематична схема многоцелевого верстата з ЧПУ і АСИ

Кінематична схема горизонтального фрезерного центра ир320пмф4

1. Схема кінематична многоцелевого верстата ИР320ПМФ4. Дивитись у збільшеному масштабі

2. Схема кінематична многоцелевого верстата ИР320ПМФ4. Дивитись у збільшеному масштабі



Кінематична схема верстата ир320пмф4

Привід обертання шпинделя от електродвигуна Ml постоянного тока осуществляется по двум цепям:

Все прямолинейные переміщення по координатным осям осуществляются от высокомоментных електродвигателей М2, М3 і М4 постоянного тока посредством шариковых винтовых пар 27 і 28, 29 і 30, 8 і 9 соответственно.

Привід обертання стола осуществляется от высокомоментного електродвигуна М5 по двум цепям:

Привід поворота магазина осуществляется от высокомоментного електродвигуна М6 через зубчасті колеса 23 і 24, а привід пристроя автоматичною смены ПС — от електродвигуна М7 через червячную передачу 26..25.

Рассмотрим пристрій окремих вузлів верстата.

Привід обертання шпинделя верстата ир320пмф4

Привід обертання шпинделя верстата ир320пмф4

Привід обертання шпинделя верстата ир320пмф4

Привід обертання шпинделя верстата ир320пмф4. Дивитись у збільшеному масштабі



Привід обертання шпинделя верстата ир320пмф4 (рис. 5.6) осуществляется от електродвигуна 1, соединенного муфтой (с упругим резиновым елементом 2) з шлицевым валом 3. Далее через ременную передачу (с плоским поликлиновым ремнем 7) вращение передається на втулку 9, смонтированную на шарикопідшипниках 8 в корпусе 6. На правом кінці втулки 9 имеется зубчатый венец, который може сопрягаться либо з зубчатым венцом 4 блока 10 (в етом случае вращение шпинделю 14 передається через зубчатое колесо 13), либо з зубчатой полумуфтой 12 (в етом случае вращение от втулки 9 передається непосредственно на шпиндель 14). Переключення ступеней частот обертання шпинделя производится вилкой 11, установленной на штанге 5 при перемещении післядней гідроцилиндром.




Шпиндельное пристрій

Шпиндельное пристрій верстата ир320пмф4

Шпиндельное пристрій верстата ир320пмф4

Шпиндельное пристрій верстата ир320пмф4. Дивитись у збільшеному масштабі



Шпиндельное пристрій (рис. 5.7) монтируется в гильзе 5, которая крепится на передний торец ползуна. На заднем торце шпинделя 6 расположена полумуфта 2 і шестерня 3, передающая крутящий момент шпинделю, а на переднем торце — две шпонки 7, передающие крутящий момент инструменту. Механізм зажиму инструмента расположен внутри шпинделя і управляется как автоматически (от УЧПУ), так і вручную (с пульта верстата).

Оправки 8 зажимаются в шпинделе 6 тарельчатыми пружинами 4, усилие которых регулируют гайками 13 і 14. На переднем кінці тяги 12 имеется замок, соединяющийся з хвостовиком 9 инструментальной оправки в процессе її зажима. При перемещении тяги 12 в стакане 11 шарики 10 зажимают инструментальные оправки. Звільнення инструмента осуществляется тягой 1 при її перемещении поршнем гідроцилиндра, смонтированного в гідроблоке. В тяге 1 имеется отверстие, через которое подается воздух для обдува конуса шпинделя.

Гідроблок верстата ир320пмф4

Гідроблок верстата ир320пмф4

Гідроблок верстата ир320пмф4

Гідроблок верстата ир320пмф4. Дивитись у збільшеному масштабі



На заднем торце ползуна соосно со шпинделем монтируется гідроблок (рис. 5.8). На нем размещаются: гідроцилиндр 6 переключения частоти обертання шпинделя, гідроцилиндр 7 отжима инструмента в шпинделе і гідроцилиндр 10 ориентации шпинделя. Гідроцилиндр 6 закреплен на корпусе 8 гідроцилиндра 7. Шток 5 гідроцилиндра 6 переключает зубчатый блок коробки швидкостей і зубчатую полумуфту (см. рис. 5.6).

Бесконтактные конечные выключатели 4 і 3 контролируют увімкнення первой і второй ступеней коробки швидкостей, а выключатели 15 і 14 — отжим і освобождение инструмента і подачу воздуха. Гідроцилиндр 10 также смонтирован на корпусе 8 гідроцилиндра 7. Рычаг 11 фиксирует положение шпинделя при перемещении штока 9 гідроцилиндра 10.

Конечные выключатели 13 і 12 контролируют фиксацию і расфиксацию ориентированного положения шпинделя, а конечный выключатель 2 — частоту обертання шпинделя і его остановку перед фиксацией. На торце гідроблока може быть смонтирован датчик 1 отсчета оборотів шпинделя, управляемый от УЧПУ і обеспечивающий согласованную работу головного приводу і приводов подач, что необходимо при нарезании різьби і других технологических операциях.

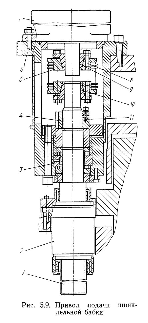
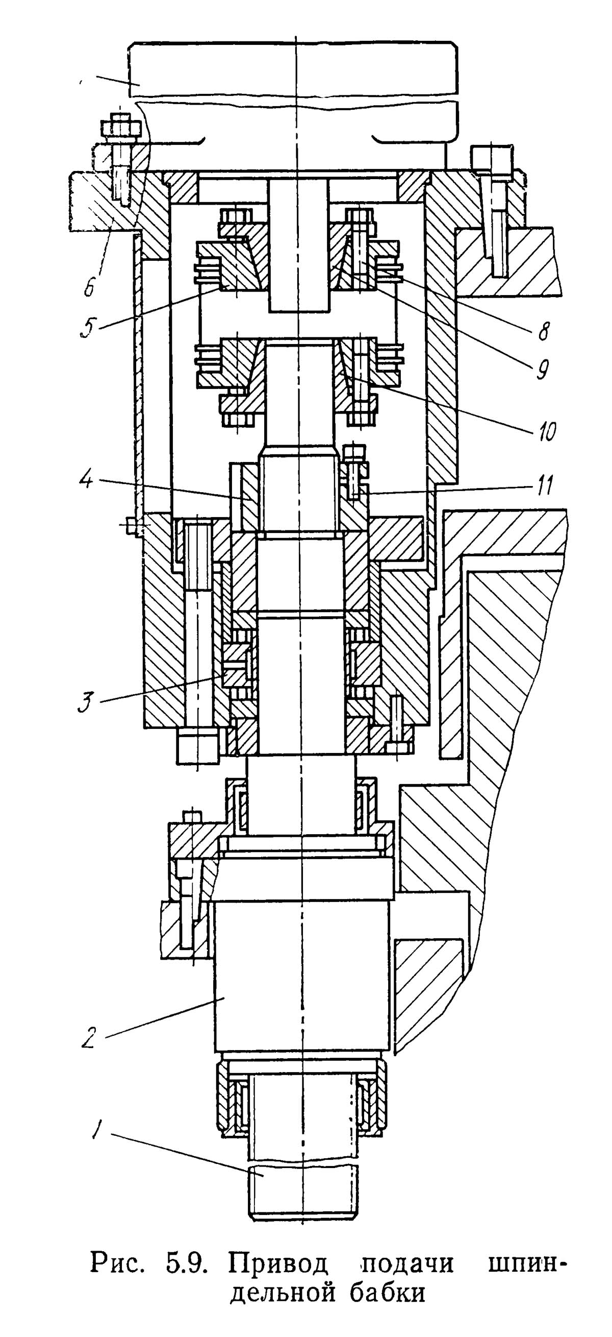
Привід подачі шпиндельной бабки

Привід подачі шпиндельной бабки верстата ир320пмф4

Привід подачі шпиндельной бабки верстата ир320пмф4

Привід подачі шпиндельной бабки верстата ир320пмф4. Дивитись у збільшеному масштабі



Привід подачі шпиндельной бабки осуществляется от автономного высокомоментного електродвигуна 7 (рис. 5.9), который закреплен на основании 6, смонтированном на верхнем торце стойки. Двигатель соединен з шариковым винтом 1 посредством сильфонной муфты 5, которую устанавливают на конических кольцах 9, 10 і фиксируют гвинтами 8. Шариковый винт 1 жестко установлен в радиально-упорном подшипнике 3, смонтированном в расточке основания 6. Натяг підшипника 3 регулируют гайкой 4, которую крепят винтом 11 Предварительно напряженная гайка 2 жестко закреплена на верхнем торце шпиндельной бабки. В електродвигатель 7 встроена тормозная муфта, предотвращающая падение шпиндельной бабки при отключении електродвигуна.

Привід подачі ползуна і стола осуществляется от автономного высокомоментного електродвигуна і конструктивно выполнен аналогично приводу подачі шпиндельной бабки.

Поворотный стол

Поворотный стол верстата ир320пмф4

Поворотный стол верстата ир320пмф4

Поворотный стол верстата ир320пмф4. Дивитись у збільшеному масштабі



Поворотный стол 1 (рис. 5.10) имеет корпус 4, в котором на опорах 3 і 23 качения установлен шпиндель 6. Расположенная на шпинделе Т-образная платформа 27 осуществляет (посредством тарельчатых пружин 2) зажим і фиксацию ПС в рабочей позиции. Звільнення ПС происходит при подаче давления в полость 20 гідроцилиндра 21. Крайние положения поворота контролируются конечными выключателями 13 і 14.

Вращение шпинделю 6 передається от редуктора через зубчатое колесо 25. Датчик 15 углового положения стола соединен со шпинделем 6 осью 24.

Угловое положение стола фиксируется фрикционной муфтой 8 сцепления, имеющей наружные і внутренние диски. Наружные диски жестко крепятся к корпусу 22, а внутренние — к шпинделю 6. Под действием тарельчатых пружин 12 нажимное кольцо 9 сжимает диски, осуществляя сцепление муфты. Возврат кольца 18 в исходное положение (т. е. расцепление муфты) осуществляется гідроцилиндрами 7. Сцепление і расцепление муфты контролируется конечными выключателями 10 і 11 соответственно.

Во время смены ПС платики 26 обдуваются сжатым воздухом, поступающим через штуцер 18.

Смазочный материал к муфте сцепления подается через канал 19, а к переднему подшипнику шпинделя — через трубопровод 5.

Торможение і остановка ПС в исходном положении контролируются конечными выключателями 16 і 17 соответственно.

Редуктор поворотного стола

Редуктор поворотного стола верстата ир320пмф4

Редуктор поворотного стола верстата ир320пмф4

Редуктор поворотного стола верстата ир320пмф4. Дивитись у збільшеному масштабі



Привід поворота стола осуществляется от електродвигуна 18 постоянного тока, закрепленного на фланце 17 корпуса 16 редуктора (рис. 5.11). Редуктор работает в двух режимах. При работе в следящем режиме крутящий момент передається следующим образом: електродвигатель — вал 20 — зубчасті колеса 19, 21, 22 — вал — шестерня 24 — зубчасті колеса 1, 2, 3 — зубчасті колеса 13, 12, 4, 11, 5, 7, 9 — зубчатое колесо 25 поворотного стола (см. рис. 5.10). При работе в режиме скоростного обертання крутящий момент передається следующим образом: електродвигатель— вал 20 — зубчасті колеса 19, 15 — зубчасті колеса 4, 11, 5, 7, 9 — зубчатое колесо 25 поворотного стола (см. рис. 5.10).

При работе редуктора в следящем режиме зазоры в зубчатых зацеплениях выбирают следующим образом: поворачивают (ексцентриками 23 і 14) относительно друг друга зубчасті колеса 21 і 22, 1 і 2, 13 і 12; перемещают (в осевом направлении) вал 6 з помощью гідроцилиндра 8; косозубые шестерни 11, 5, жестко закрепленные на валу 6, разворачиваются і выбирают зазор в кінематичної ланцюги редуктора. Кольца 10 і 25 служат для жесткого беззазорного зацепления зубчатых колес на валах.

Инструментальный магазин

Инструментальный магазин (рис. 5.12) имеет основа 3, которое (посредством оси 4 і двух платиков 5) устанавливают на верхнем торце стойки. Поворот инструментального магазина осуществляется следующим образом: рух от електродвигуна 6 передається обечайке 1, которая вращается на роликовых опорах 2. Поворот (при необходимости) магазина относительно оси 4 предотвращает его поломку в случае сбоев в устройстве автоматичною смены инструментов.

Привід инструментального магазина

Привід инструментального магазина верстата ир320пмф4

Привід инструментального магазина верстата ир320пмф4

Привід инструментального магазина верстата ир320пмф4. Дивитись у збільшеному масштабі



Привід инструментального магазина показан на рис. 5.13. На выходном валу 3 електродвигуна установлено зубчатое колесо 14, которое сопряжено з зубчатым венцом 2, жестко закрепленным на обечайке 1 инструментального магазина. Колесо 14 имеет два паза, взаимодействующие з конечными выключателями 4. Последние (при поиске необходимого гнезда в процессе автоматичною смены инструмента) контролируют угол поворота инструментального магазина і его торможение. Исходное положение магазина также контролируется конечным выключателем, взаимодействующим з упором, установленным на корпусе магазина.

На валу 3 електродвигуна смонтирован фланец 13, в котором выполнены два полукруглых паза, фиксирующих магазин в позиции смены инструмента. В один из етих пазов заходит ролик 5, установленный на штоке 7 гідроцилиндра 9. Шток перемещается в корпусе 8, установленном на основании 6 магазина. Фиксация і расфиксация магазина контролируются бесконтактными конечными выключателями 11 і 10, которые взаимодействуют з планкой 12, закрепленной на штоке 7.

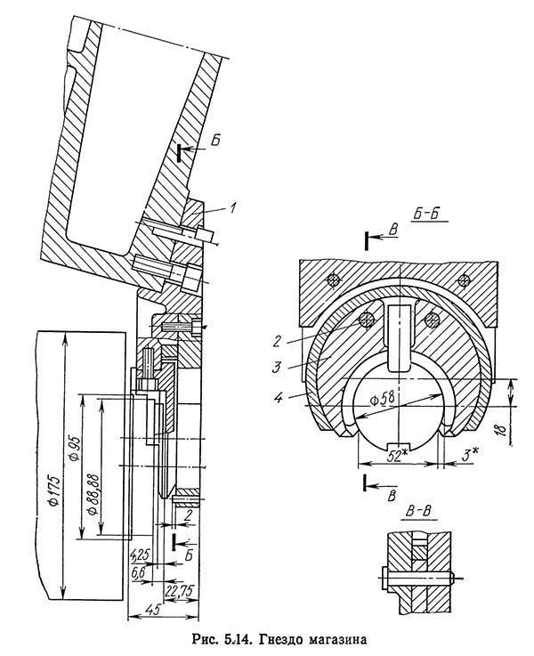
Гнездо магазина

Гнездо магазина верстата ир320пмф4

Гнездо магазина верстата ир320пмф4

Гнездо магазина верстата ир320пмф4. Дивитись у збільшеному масштабі



Гнездо магазина (рис. 5.14) имеет корпус, который устанавливают в пазы обечайки і губок 3, смонтированных на осях 2 в корпусе 1. Инструмент, размещенный в гнезде, зажимается кольцевой плоской пружиной 4, установленной по наружному диаметру губок і зафиксированной от проворота штифтами.

В качестве датчиков обратной связи в станке используются оптические отсчетные пристроя, устанавливаемые по координатным осям X, Y і Z.

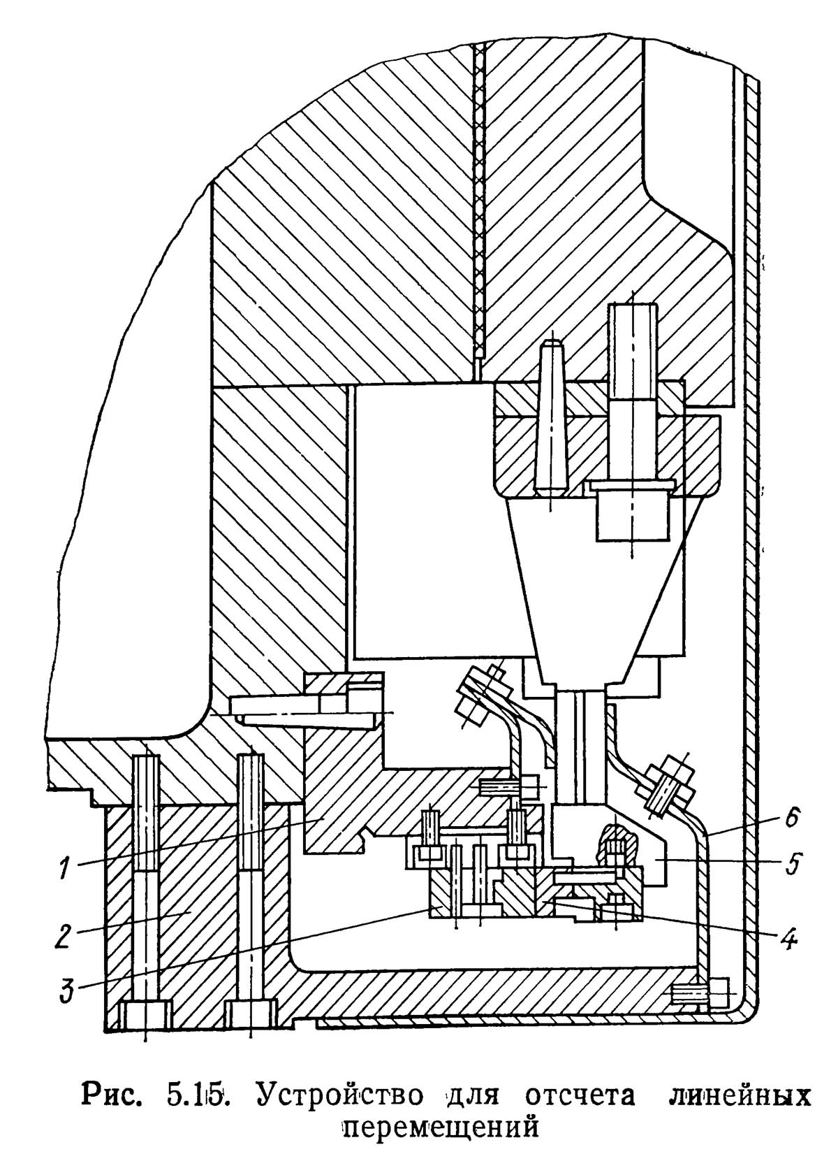
Пристрій для отсчета линейных перемещений

Пристрій для отсчета линейных перемещений верстата ир320пмф4

Пристрій для отсчета линейных перемещений верстата ир320пмф4

Пристрій для отсчета линейных перемещений верстата ир320пмф4. Дивитись у збільшеному масштабі



Пристрій для отсчета линейных перемещений по координатным осям X, Y і Z показано на рис.5.15. Шкалу 3 линейки датчика жестко крепят на кронштейне 1 нерухомого вузла; ползунок 4 выставляют относительно шкалы, крепят (посредством кронштейна 5) на подвижном узле верстата в соединяют (електрокабелем) з усилителем. Пристрій имеет защитные елементы 2 і 6, предохраняющие линейки от механических повреждений, попадания стружки і грязи. По всей длине переміщення вузла между шкалой 5 і ползуном 4 устанавливают гарантированный зазор з точностью ±0,3 мм.

В станке широко используется гідравлика, з помощью которой осуществляются:

Керування потоками масла производится дистанционно з помощью ходовых клапанов з електрокеруванням.

Система смазывания верстата включает в себя наступні автономные подсистемы:




Главный пульт верстата

Главный пульт верстата ир320пмф4

Главный пульт верстата ир320пмф4

Главный пульт верстата ир320пмф4. Дивитись у збільшеному масштабі



Верстат оснащен головним пультом (рис. 5.16), пультом загрузки инструмента (рис. 5.17) і пультом керування автоматичною сменой ПС (рис, 5.18).


Наладка верстата

Перед началом роботи на станке необходимо: убедиться в исправности верстата і его основних частин; проверить наличие смазочного материала в подвижных вузлах; переместить подвижные органы на средней скорости; проверить выход подвижных органів в крайние і нулевые положения (по координатным осям), а также исходные позиции инструментального магазина і поворотного стола; убедиться в исправности режущего инструмента і его надежной фиксации в инструментальном магазине.

При отклонениях подвижных вузлів верстата от крайних і нулевых положений регулируют упоры по соответствующим координатным осям. Упоры смонтированы в прямоугольных пазах планок, закрепленных на подвижных вузлах, а взаимодействующие з упорами конечные выключатели — в окремих блоках, установленных на станине.

Регулировку вузлів верстата производят в процессе его експлуатации.

Ориентирование положения шпинделя (т. е. установку его торцовых шпонок строго в вертикальной плоскости) выполняют следующим образом: ослабляют винты 17 клиновой втулки 16 (см. рис. 5.7); вращая винты 15, ослабляют соединение тяги 12 з тягой 1; устанавливают торцовые шпонки 7 шпинделя 6 в вертикальную плоскость; вращают в обратном направлении винты 15 і затягивают винты 17; несколько раз производят контрольную ориентацию шпинделя.

Механізм зажиму инструмента в шпинделе регулируют на усилие 10 кН. Перед регулировкой проверяют, чтобы пакет тарельчатых пружин 4 (см. рис. 5.7) был хорошо смазан і выход инструментальной оправки при освобождении инструмента составлял 0,1—0,7 мм. Усилие зажиму регулируют вращением гайки 13 (перемещение гайки на 1 мм соответствует увеличению зусилля зажиму на 175 Н), після чего гайку 13 контрят гайкой 14.

Сильфонную муфту 5 (см. рис. 5.9) регулируют на передачу необходимого крутящего момента, затягивая для етого гвинтами 8 конические втулки 9 і 10 (на заводе-изготовителе муфта отрегулирована на передачу крутящего момента 232 Н-м). При монтаже і демонтаже не допускаются деформации, изгибающие муфту, так как ето може привести к її поломке.

В опорах шариковых винтов всех приводов подач установлены прецизионные комбинированные упорно-радиальные роликовые підшипники, обладающие високою нагрузочной способностью і жесткостью. Предварительный натяг в етих підшипниках создают вращением гайки 4 (см. рис. 5.9) до полной выборки зазору, після чего гайку 4 стопорят винтом 11.

Шариковые винтовые пары регулируют на заводе-изготовителе, поетому при правильной експлуатации они длительное время сохраняют требуемые жесткость і точность.





Модули многоцелевого горизонтального фрезерного центра ИР320ПМФ4

Модули многоцелевого горизонтального фрезерного центра ИР320ПМФ4-02, ИР320ПМФ4-03

Модули горизонтального фрезерного центра ир320пмф4-02, ир320пмф4-03

Модули горизонтального фрезерного центра ир320пмф4-02, ир320пмф4-03. Дивитись у збільшеному масштабі


Модули горизонтального фрезерного центра ир320пмф4-04, ир320пмф4-10

Модули горизонтального фрезерного центра ир320пмф4-04, ир320пмф4-10

Модули горизонтального фрезерного центра ир320пмф4-04, ир320пмф4-10. Дивитись у збільшеному масштабі


Модули горизонтального фрезерного центра ир320пмф4-08

Модули горизонтального фрезерного центра ир320пмф4-08

Модули горизонтального фрезерного центра ир320пмф4-08. Дивитись у збільшеному масштабі





Настановне креслення многоцелевого фрезерного центра ИР320ПМФ4

Настановне креслення горизонтального фрезерного центра ИР320ПМФ4

Настановне креслення горизонтального фрезерного центра ир320пмф4

Настановне креслення горизонтального фрезерного центра ИР320ПМФ4. Дивитись у збільшеному масштабі


Настановне креслення горизонтального фрезерного центра ир320пмф4-02

Настановне креслення горизонтального фрезерного центра ир320пмф4-02

Настановне креслення горизонтального фрезерного центра ир320пмф4-02. Дивитись у збільшеному масштабі


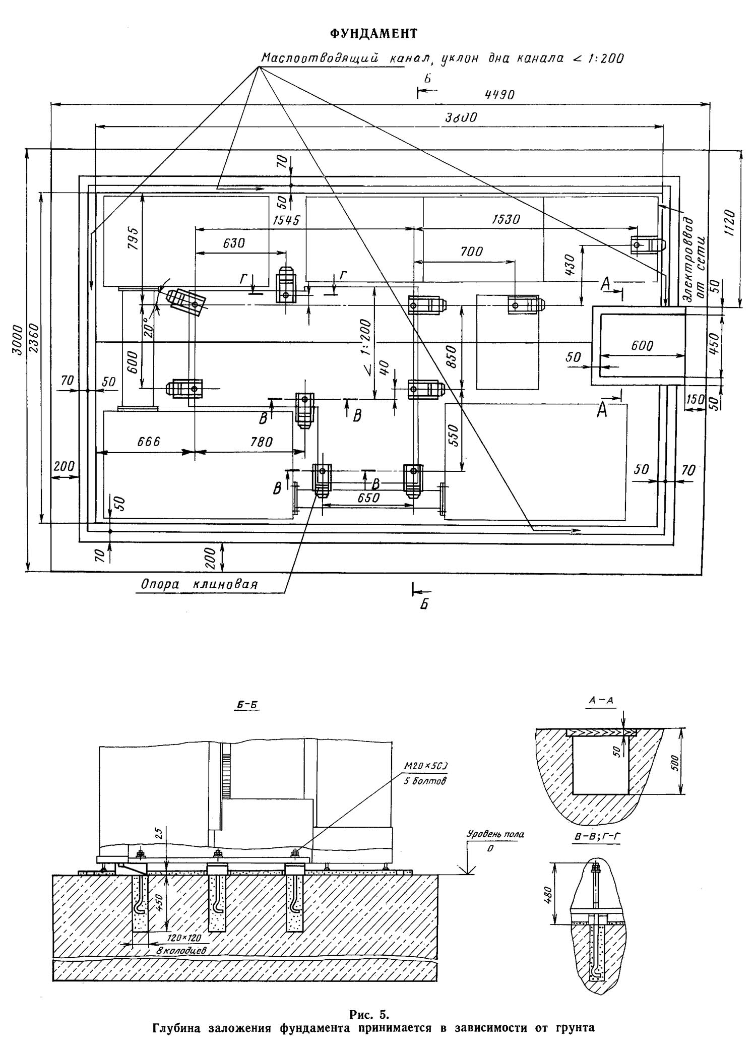
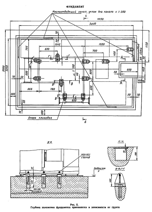
Схема нагрузок на фундамент горизонтального фрезерного центра ИР320ПМФ4

Схема нагрузок на фундамент горизонтального фрезерного центра ИР320ПМФ4

Схема нагрузок на фундамент горизонтального фрезерного центра ир320пмф4

Схема нагрузок на фундамент горизонтального фрезерного центра ИР320ПМФ4. Дивитись у збільшеному масштабі

Схема нагрузок на фундамент горизонтального фрезерного центра ИР320ПМФ4-02

Схема нагрузок на фундамент горизонтального фрезерного центра ир320пмф4-02

Схема нагрузок на фундамент горизонтального фрезерного центра ИР320ПМФ4-02. Дивитись у збільшеному масштабі




ИР320ПМФ4 Верстат фрезерный многоцелевой. Відеоролик.




Технічні характеристики верстата ИР320ПМФ4

Наименование параметра ИР320ПМФ4
Основні параметри верстата
Класс точності по ГОСТ 8-82 П П
Розміри рабочей поверхности стола (длина х ширина), мм 320 х 320
Наибольшие габарити обрабатываемой детали по осям X, Y, Z, мм 360 х 250 х 250
250 х 300 х 300
Перемещение поперечное стола (ось X), мм 400
Перемещение вертикальное шпиндельной бабки (ось Y), мм 360
Перемещение продольное ползуна (ось Z), мм 400
Вращение индексируемого поворотного стола (ось B), град 360 000 х 0,001°
Наибольший диаметр сверления в стали, мм 20
Наибольший диаметр растачиваемого отверстия, мм 125
Наибольший диаметр торцовой фрезы, мм 125
Точность позиционирования по осям X/ Y, мм 0,016
Точность позиционирования по осям Z, мм 0,016
Точность углового позиционирования стола, с 20
Количество столов-спутников, устанавливаемых в накопителе 4
Рабочая подача по осям X, Y, Z, мм/мин 1..6000
Скорость быстрых установочных перемещений по осям X, Y, Z, м/мин 12
Наибольшее допустимое усилие подачі стола і стойки по осям X, Y, Z
Наибольшее допустимое усилие подачі шпиндельной бабки (вертикальное) по оси Y, Н
Расстояние от оси шпинделя до стола, мм
Модель пристроя ЧПУ
Количество управляемых координат 3
Количество одновременно управляемых координат при линейной/ круговой интерполяции 3/3
Рабочий стол
Максимальная нагрузка на стол (по центру), кг 150
Частота обертання стола, об/мин 0,05..200
Количество резьбовых отверстий на поверхности стола
Диаметр резьбовых отверстий на поверхности стола, мм М20
Усилие зажиму поворотного стола, кН
Шпиндель
Частота обертання шпинделя, об/мин 13..5000
Количество швидкостей шпинделя
Наибольший крутящий момент, Нм 200
Конус шпинделя для крепления инструмента по ГОСТ 15945-82 40
Магазин инструмента
Количество инструмента в магазине 36
Время смены инструмента, с 12,5
Время смены инструмента от стружки к стружке, с 12,5
Максимальный диаметр рядом стоящего инструмента, мм 125
Максимальный диаметр свободно стоящего инструмента, мм 150
Максимальная длина инструмента от торца шпинделя, мм 220
Масса инструментальной оправки з инструментом, кг 10
Пристрій смены столов-спутников
Время смены столов-спутников, с 35
Електроустаткування і привод
Количество електродвигателей на станке 13
Електродвигун постоянного тока приводу головного руху, кВт 7,5..11
Электродвигатели приводу подач стола, шпиндельной бабки, ползуна, поворота инструментального магазина, поворота столов-спутников, Нм 24
Електродвигун приводу обертання стола, Нм 38,5
Електродвигун насоса гідростанції, кВт 5,5
Електродвигун вентилятора гідростанції, кВт 0,12
Електродвигун вентилятора шпинделя, кВт 0,2
Електродвигун насоса змазки редуктора поворотного стола, кВт 0,014
Електродвигун насоса змазки направляючих, кВт 0,02
Электронасос охлаждающей жидкости Мощность, кВт 0,15
Электронасос жидкости для смыва стружки, кВт 0,6
Суммарная мощность всех електродвигателей на станке, кВт 30
Габарити і масса верстата
Габарити верстата (длина х ширина х высота), мм 3840 х 2300 х 2507
Масса верстата, кг 10000

    Список литературы

  1. Грачев Л.Н. Конструкція і наладка верстатів з программным керуванням і роботизированных комплексов, 1986, стр.151
  2. Панов Ф.С. Работа на верстатах з ЧПУ, 1984