Виробником різьбонакатного верстата А9518 (А9518а, А9518б) є Азовський завод ковальсько-пресових автоматів, АЗКПА , заснований у 1947 році.
Завод виробляв також більш потужні різьбонакатні машини: AA9521.02 (125 кН) , AA9521.03 (125 кН) , A9524 (250 кН) , A9526 (360 кН) , A9527 (500 кН) .
Різьбонакатна машина А9518 сконструйована на базі верстата UPW фірми VEB Kombinat (ГДР) Umfortechnik Erfurt WEMA Bad Duben.
Профіленакатні двороликові напівавтомати А9518 , А9518а і А9518б є універсальними машинами, призначеними для отримання різних профілів, точних кріпильних, трапецеїдальних та інших різьблень, дрібномодульних черв'яків, рифлень, обкатки (калібрування) циліндричних і сферичних подачею заготовок.
Цикл роботи верстата А9518 напівавтоматичний або автоматичний, подача заготовок здійснюється вручну. Верстат може бути оснащений завантажувальним пристроєм і перетворений на автомат.
Конструкція складальних одиниць та деталей напівавтоматів передбачає зручне та швидке розбирання-складання при ремонті.
Мастило напівавтоматів А9518 здійснюється автоматичною системою. Висока продуктивність, надійність та довговічність напівавтоматів забезпечена сучасними методами розрахунку конструкції, застосуванням при виготовленні деталей з якісних матеріалів, прогресивними методами їх обробки, точності складання.
Відомо 3 моделі різьбонакатних (профіленакатних) двороликових напівавтоматів:
Напівавтомат А9518а вироблявся в 3-х модифікаціях, які відрізнялися в основному приводом шпинделів різьбонакатних головок:
Профіленакатні верстати моделі UPW6,3,5х40 фірми VEB Kombinat (НДР) Umfortechnik Erfurt WEMA Bad Duben

Габаритні розміри робочого простору верстата А9518

Фото різьбонакатного верстата А9518а

Фото різьбонакатного верстата А9518а
Фото різьбонакатного верстата А9518. Дивитись у збільшеному масштабі

Фото різьбонакатного верстата А9518

Фото різьбонакатного верстата UPW 6.3 x 40

Розташування основних вузлів різьбонакатного верстата А9518
Розташування основних вузлів різьбонакатного верстата А9518. Дивитись у збільшеному масштабі

Розташування органів керування різьбонакатним верстатом А9518
Розташування органів керування різьбонакатним верстатом А9518. Дивитись у збільшеному масштабі

Кінематична схема резьбонакатного верстата А9518
1. Кінематична схема резьбонакатного верстата А9518. Дивитись у збільшеному масштабі
2. Кінематична схема резьбонакатного верстата А9518. Дивитись у збільшеному масштабі

Ножевая опора верстата А9518
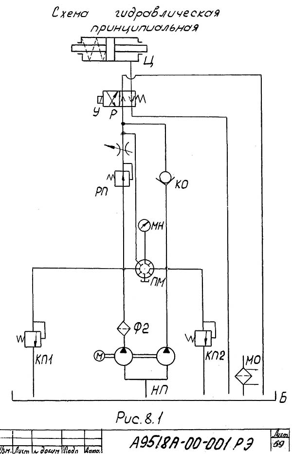
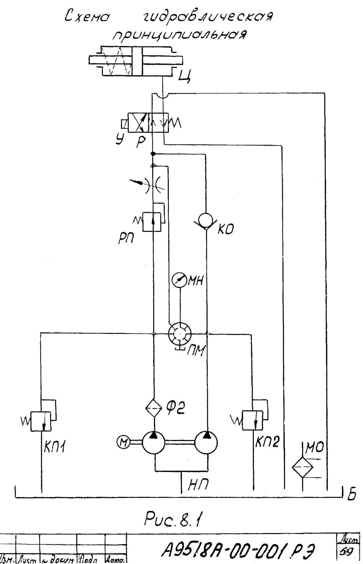
Гідрокінематична схема двухроликового накатного верстата мод. А9518 показана на рис. 87, а.
Главное вращательное рух шпинделей накатных роликов; рух поперечної подачі подвижной накатной головки; вспомогательные наладочные руху вузлів верстата.
Шпиндели V і VII накатных роликов 1 і 2 подвижной 31 і нерухомою 32 головок приводятся во вращение от електродвигуна М через вариатор 19, или (при специальном виконанні верстата) девятискоростную коробку (рис. 87, б). Рух от варіатора к шпинделю V подвижной накатной головки передається по следующей ланцюги: шлицевый вал III, червячная пара (z1/z2), цилиндрическая зубчатая передача (z3/z4). Ланцюг приводу шпинделя VII нерухомою накатной головки несколько иная: червяк z5 получает вращение не непосредственно от шлицевого вала III, который свободно проходит в его отверстии, а от фрикционной муфты, одна полумуфта 16 которой жестко связана со шлицевым валом, а другая 17 — через еластичную муфту 18 з червяком z5. Далее от червяка к шпинделю нерухомою головки рух передається по такой же ланцюги, что і к шпинделю подвижной головки, т. е. червячное колесо z6 і цилиндрическую зубчатую пару (z7/z8).
Плавное перемещение подвижной накатной головки, необходимое для постепенного сближения осей роликов 1 і 2 до полного профилирования різьби, і быстрый її отвод в исходное положение осуществляется з помощью гідропривода. Гідропривід включает в себя гідробак 53, приемный фильтр 26, насос 27, напорный золотник 29, обратный клапан 28, двухпозиционный распределитель 24, дроссельное пристрій 23 з обратным клапаном 22, гідроцилиндр 21 з поршнем 20, шток которого связан з корпусом подвижной накатной головки 31, і напорный золотник 30.
На рис. 87, а гідросхема показана в положении, когда електромагнит золотника 24, включен. В етом случае масло из гідробака через фильтр 26 засасывается насосом 27 і нагнетается по трубопроводу через обратный клапан 28, распределитель 24 і дроссель 23 в правую полость гідроцилиндра, а из левой его полости масло через распределитель 24 і фильтр 25 идет на слив. В результате поршень, і связанная з ним подвижная накатная головка совершают рабочий ход, приближаясь к нерухомою головке. Скорость робочого переміщення накатной головки регулируют дросселем 23, а передаваемое усилие — клапаном 29.
Для возобертання подвижной накатной головки в исходное положение отключают електромагнит распределителя 24. Распределитель под действием пружины переключается, масло от насоса поступает в левую полость гідроцилиндра, поршень движется вправо і вытесняет масло из правой полости гідроцилиндра через обратный клапан 22, распределитель 24 і фильтр 25 в гідробак. Усилие поршня, необходимое для возврата накатной головки в исходное положение, регулируют напорным золотником 30. Величину відведення накатной головки устанавливают регулируемым упором 34. Обратный клапан 28 введен в гідросистему для предохранения насоса от гідроударов.
Устанавливают требуемую частоту обертання шпинделей накатных роликов з помощью переключения варіатора или блоков зубчатых колес в коробке швидкостей. Закрепляют на шпинделях резьбонакатные ролики і монтируют поддерживающие кронштейны. Совмещают резьбонакатные ролики по торцу і заходу. Совмещение роликов по торцу производят смещением шпинделя вдоль оси з помощью рукоятки 3, вращение которой вызывает перемещение рычага 4 і шпинделя.
Для совмещения роликов по заходу необходимо одному из шпинделей (в данном случае шпинделю нерухомою головки) сообщить независимый поворот на некоторый угол з помощью рукояток 5 і 6. Поворотом рукоятки 6 вала 7 з ексцентриком 10 отклоняют вилку 12, которая через гайку 13, ось 14 і опорную втулку 11 сжимает тарельчатую пружину 15 і освобождает от осевой силы фрикционную муфту, разрывая тем самым кинематическую связь вала III з червяком z5. Вращением рукоятки 5 можно через коническую зубчатую пару (z9/z10) повернуть на необходимый угол полумуфту 17 і связанный з ней червяк z5, который передает рух червячному колесу z6, зубчатой паре (z7/z8) и, наконец, шпинделю VII з накатным роликом 2. После поворота шпинделя VII на требуемую величину рукоятку 6 возвращают в исходное положение. С рукояткой 6 связан кулачок 8, воздействующий на конечный выключатель 9 і предотвращающий возможность увімкнення верстата во время совмещения роликов по заходу.
В зависимости от диаметра і шага накатываемой різьби в корпус 2 устанавливают сменную ножевую опору 1 (рис. 88). От правильности установки ножевой опори относительно накатных роликов зависит точность, стабильность і надежность процесса накатывания різьби. Осевое положение заготовки определяется упором 3, который можно перемещать вдоль оси 4 і паза. Упор фиксируют гвинтами 5 і 6.
Регулируемым упором 34 (см. рис. 87) устанавливают величину поперечного ходу подвижной накатной головки. Включив верстат в режим «Наладка», проверяют его работу сначала на холостом, а затем і на рабочем ходу.
Цикл роботи верстата включает установку заготовки, подвод накатного ролика подвижной головки к заготовке, постепенное выдавливание полного профиля різьби роликами при непрерывной подаче подвижной накатной головки, калибрование різьби без подачі подвижной головки, быстрый отвод подвижной головки в исходное положение і снятие со верстата накатанной детали.

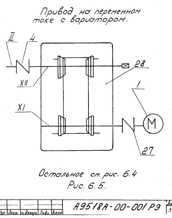
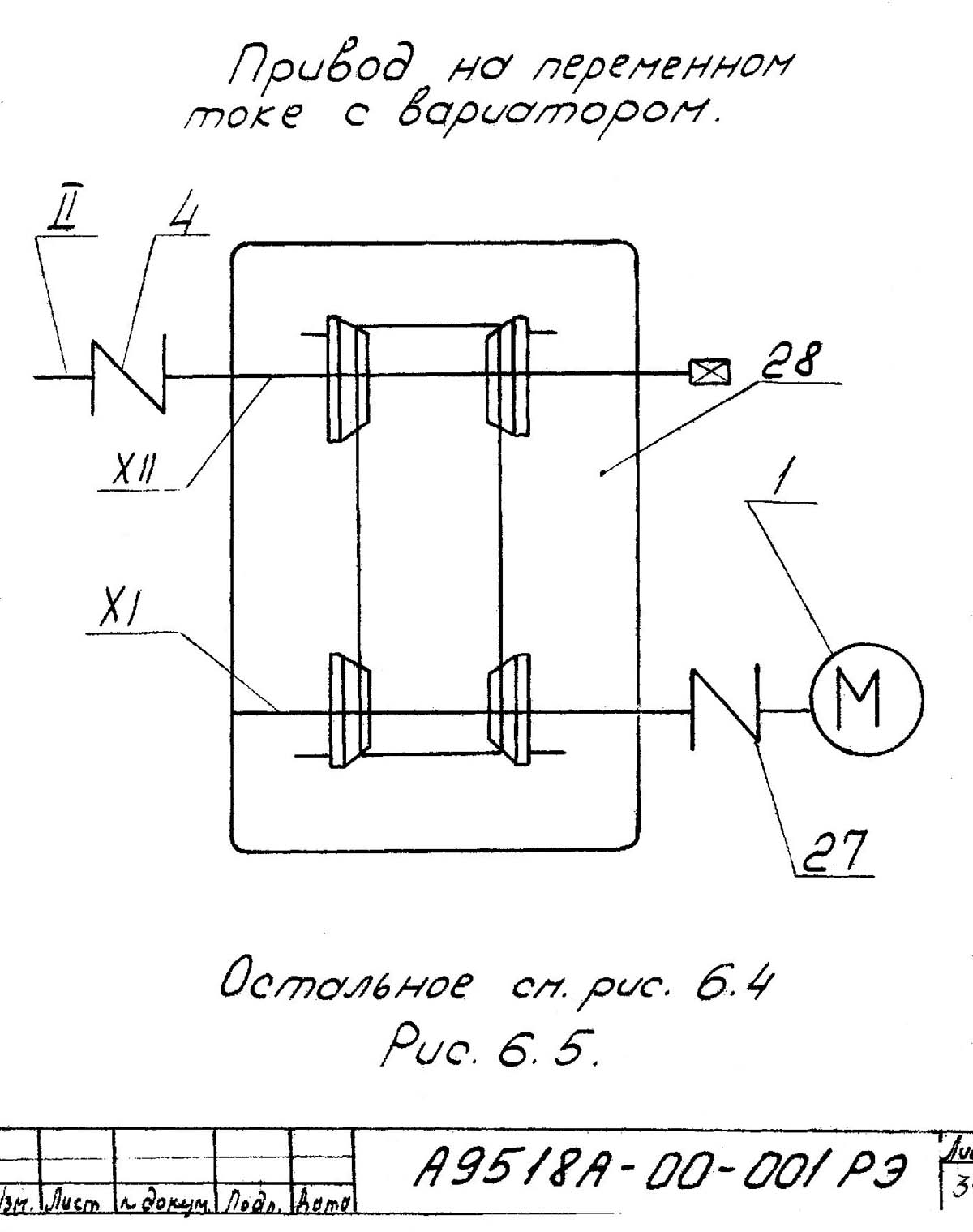
Варіатор верстата А9518
Варіатор верстата А9518. Дивитись у збільшеному масштабі

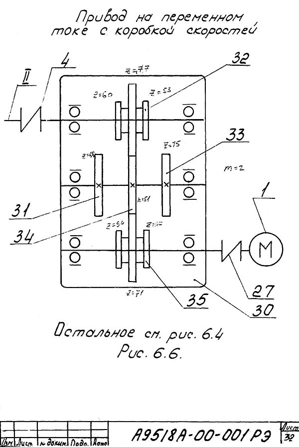
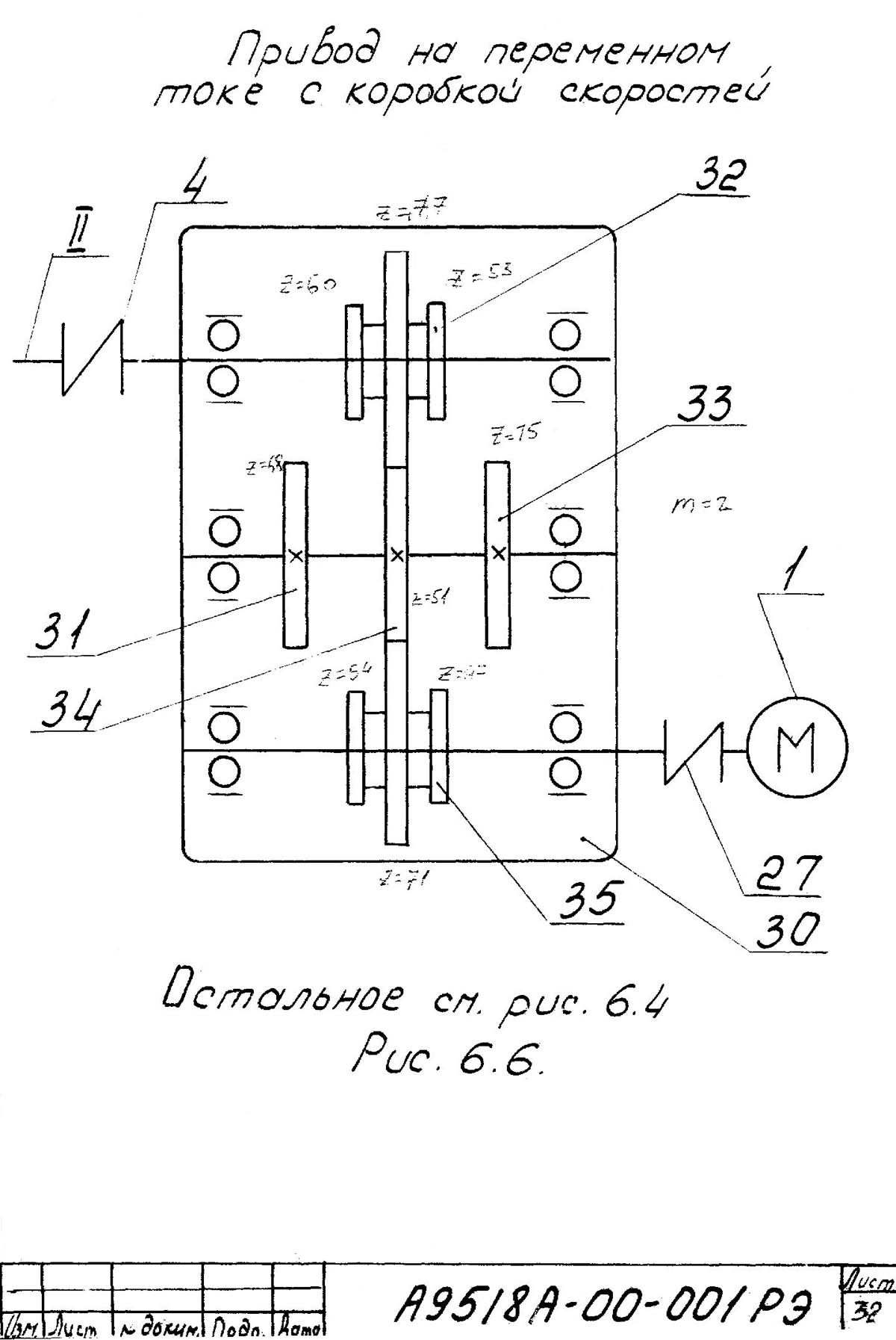
Коробка швидкостей верстата А9518
Коробка швидкостей верстата А9518. Дивитись у збільшеному масштабі

Гідравлічна схема резьбонакатного верстата А9518
Гідравлічна схема резьбонакатного верстата А9518. Дивитись у збільшеному масштабі

Гідравлічна схема резьбонакатного верстата А9518
Гідравлічна схема резьбонакатного верстата А9518. Дивитись у збільшеному масштабі
| Наименование параметра | UPW 6.3 x 40 | А9518а | А9518б |
|---|---|---|---|
| Основні параметри верстата | |||
| Усилие накатывания, кН (тс) | 3..63 (0,3..6,3) | 5..63 (0,5..6,3) | 5..63 (0,5..6,3) |
| Наибольший диаметр накатываемой заготовки радиальным способом, мм | 2..40 | 3..45 | 3..45 |
| Поле допуска накатываемой різьби, мм | 4h | 4h | |
| Наибольший шаг накатываемой різьби, мм | 2,5 | 2,5 | 2,5 |
| Наибольшая длина накатываемой різьби радиальным способом, мм | 58 | 58 | 58 |
| Наибольшая длина накатываемой різьби радиально-осевым способом, мм | 2000 | - | 58 |
| Диаметр накатных роликов, мм | 140 | 90..150 | |
| Диаметр шпинделей под накатные ролики, мм | 54 | 54 h6 | 54 h6 |
| Длина посадочного места на шпинделе, мм | 63 | ||
| Высота осей шпинделей над станиной, мм | 130 | 125 | |
| Расстояние между осями накатных роликов, мм | 90..180 | 90..180 | 90..180 |
| Наибольшее давление в гідросистеме, МПа (кгс/см2) | 5,5 (55) | ||
| Наибольший ход салазок подвижной головки, мм | 0..10 | 0..10 | 0..10 |
| Частота обертання шпинделя з приводом постійного струму, об/хв | 25..224 | 25..224 | |
| Частота обертання шпинделя з приводом змінного струму (варіатор або коробка швидкостей), об/хв | 40, 56, 80, 112, 160, 224 | 10..110 | |
| Привід верстата постійного струму | |||
| Кількість електродвигунів | 5 | ||
| Електродвигун головного приводу, кВт (об/хв) | 4,25 (690..5000) | 4,75 | |
| Електродвигун гідроприводу, кВт (об/хв) | 3 (1500) | ||
| Електродвигун насоса охолоджувальної рідини, кВт (об/хв) | 0,12 (2800) | ||
| Електродвигун насоса мастила, кВт (об/хв) | 0,25 (1380) | ||
| Електродвигун вентилятора, кВт (об/хв) | 0,015 | ||
| Привід верстата з коробкою швидкостей та варіатором | |||
| Кількість електродвигунів | 5 | ||
| Електродвигун головного приводу, кВт (об/хв) | 1,4/ 2,3 | 3 (950) | |
| Електродвигун гідроприводу, кВт (об/хв) | 1,1 | 3 (1500) | |
| Електродвигун насоса охолоджувальної рідини, кВт (об/хв) | 0,14 | 0,12 (2800) | |
| Електродвигун насоса мастила, кВт (об/хв) | 0,25 (1380) | ||
| Електродвигун вентилятора, кВт (об/хв) | 0,015 | ||
| Габарит та маса верстата | |||
| Габарити верстата (довжина ширина висота), мм | 1060 х 1040 х 1130 | 1480 х 840 х 1120 | 1240 х 925 х 1150 |
| Маса верстата + електрошафа + гідростанція, кг | 1200 | 1100 + 410 + 175 = 1685 | 1075 |