metalinstryment.com
Довідник по металорізальних верстатів та пресовому обладнанні

872М Верстат ножовочный отрезной
Схеми, опис, характеристики

872М Верстат ножовочный отрезной







Відомості про виробника ножовочно-отрезного верстата моделі 872М

Производителем ножовочно-отрезного верстата моделі 872М является Краснодарский експериментальный завод им. Калинина.

Разработчик Краснодарское специальное конструкторское бюро автоматических линий.





Верстати, выпускаемые Краснодарским експериментальным заводом им. Калинина


872М Верстат електромеханический ножовочный отрезной. Назначение, область применения

Верстат ножовочный отрезной 872М применяется для резки машинным ножовочным полотном труб, швеллеров, уголков, круглого проката, квадратной і полосовой стали.

Ножовочный отрезной верстат 872М предназначен для отрезки круглого і профильного материала из стали, чугуна і цветных металлов машинным ножовочным полотном для металла путем поступательного руху.

Резка производится в плоскости, перпендикулярной к оси заготовки, а также под углами до 45°. Верстат применяется в условиях индивидуального і серийного производства.

Принцип роботи і особливості конструкції верстата

Верстат ножовочный отрезной 872М имеет гідравлическую систему для механизации основних вспомогательных операций:

Особливості конструкції ножовочного верстата 872М:

Резка металла осуществляется перпендикулярно к оси заготовки, закрепленной при помощи специального кронштейна на тисках, либо под углами до 45 градусов, для чего заготовку закрепляют в специальных комбинированных тисках.

При помощи верхнего прижима на тисках в станке 872М возможна пакетная резка заготовок.

Диапазон швидкостей різання регулируется ступенчато, в зависимости от структуры разрезаемого материала.

Подача СОЖ (смазочно-охлаждающей жидкости) происходит автоматически.





Габаритные розміри робочого простору ножовочного верстата 872М

Габаритные розміри робочого простору ножовочного верстата 872М

Габаритные розміри робочого простору верстата 872м

Габаритные розміри робочого простору верстата 872М. Дивитись у збільшеному масштабі



Загальний вигляд механической ножовки 872М

фото механической ножовки 872М

Фото ножовочного верстата 872М

Фото отрезного ножовочного верстата 872м. Дивитись у збільшеному масштабі



фото механической ножовки 872М

Фото ножовочного верстата 872М

Фото отрезного ножовочного верстата 872м. Дивитись у збільшеному масштабі



фото механической ножовки 872М

Фото ножовочного верстата 872М


фото механической ножовки 872М

Фото ножовочного верстата 872М


872М Розташування основних вузлів верстата для резки металла

Розташування основних вузлів верстата для резки металла 872М

Розташування основних вузлів ножовочного верстата 872м


Список основних вузлів верстата для резки металла 872М

  1. Станина
  2. Рукав з пильной рамой
  3. Стойка
  4. Гідропривід
  5. Ограждение
  6. Привод
  7. Електроустаткування
  8. Система охлаждения
  9. Тиски

872М Розташування органів керування верстатом для резки металла

Розташування органів керування верстатом для резки металла 872М

Розташування органів керування ножовочным верстатом 872м


Список органів керування верстатом для резки металла 872М

  1. Упор автоматичного виключення верстата при верхнем положении пильной рамы
  2. Кнопочный пост "Пуск" і "Стоп" приводу верстата
  3. Рукоятка фиксации пильной рамы в верхнем положении
  4. Выключатель верстата
  5. Рукоятка керування гідроприводом



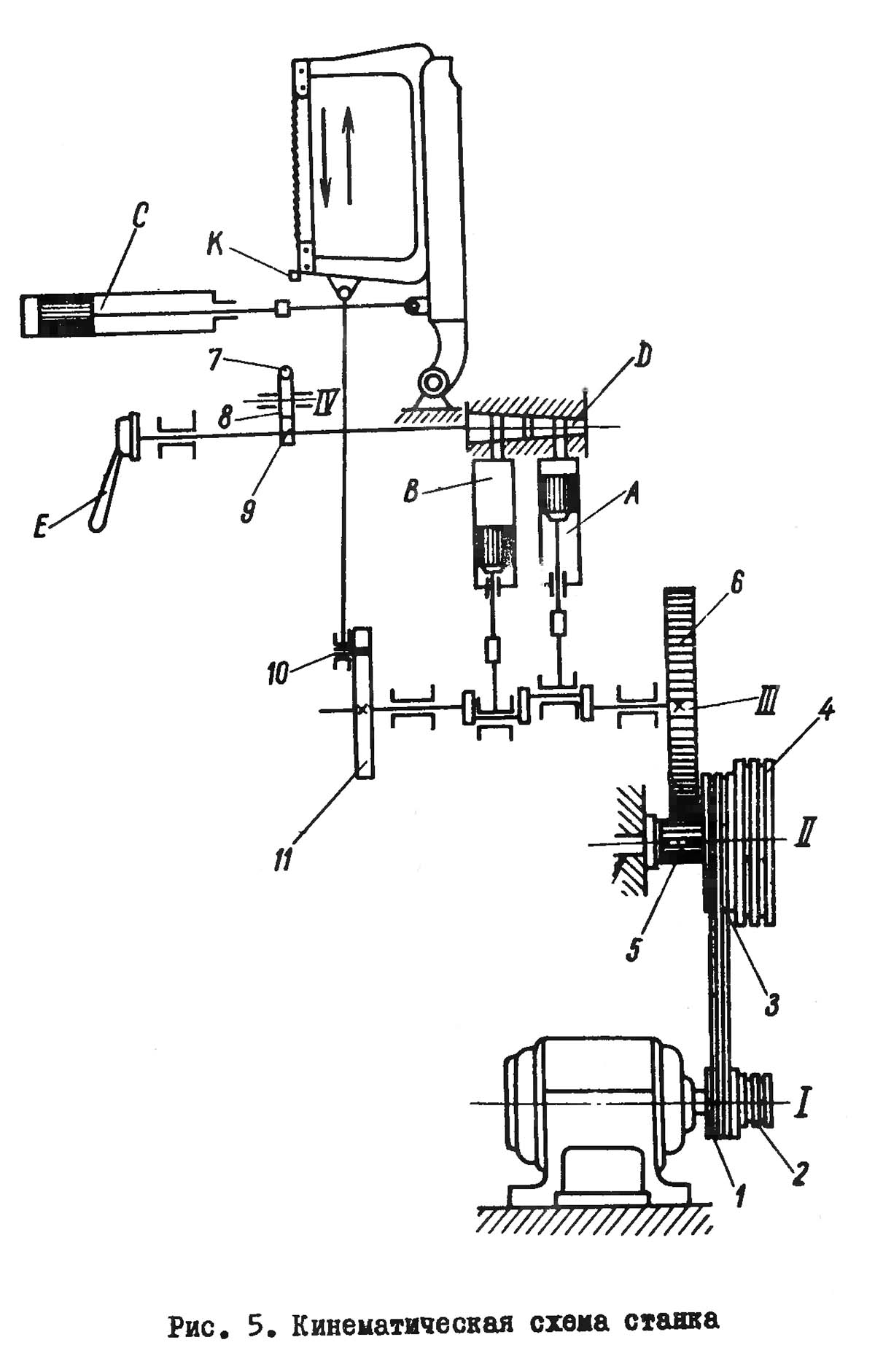
Кінематична схема механической ножовки 872М

872М кінематична схема механической ножовки

Кінематична схема механической ножовки 872м

Кінематична схема механической ножовки 872М. Дивитись у збільшеному масштабі



Рух от електродвигуна 1 передається посредством клиноременной передачи і двухступенчатых шкивов на приводной вал II. Шкив 4 і 5, овободно вращающийся на валу II, сблокирован о шестерней 6. Через зубчатую пару 6 і 7 рух передається валу III, на другом кінці которого закреплен кривошипный диск 12 з пальцем кривошипа.

От кривошипного диска посредством шатуна возвратно-поступательное рух получает пильная рама. Число її двойных ходов в минуту 75 или 120. На валу III между двумя опорами имеются ексцентриковые шейки, от которых рух посредством шатунных тяг передається поршням А і В гідронасоса. Поршни нагнетают масло в распределительный кран Д, оттуда оно поступает в рабочий цилиндр С. Поршень етого цилиндра посредством шарнирных тяг соединен о рукавом.

Таким образом, подъем і опускание пильной раны, а также рабочая подача при резании осуществляется от гідропривода.

Керування гідроприводом производится рукояткой Е, которая може быть зафиксирована в пяти положениях:

  1. Бездействие
  2. Опускание пильной рамы
  3. Подъем пильной рамы
  4. Резание медленное
  5. Резание быстрое

По окончании резки заготовки в крайнем нижнем положении пильной рамы планка К, закрепленная на пильной раме, ударяет по рейке 8 і перемещает ее. Рейка через промежуточную шестерню 9 передает рух шестерне 10, жестко соединенной з валом распределительного крана. При етом кран устанавливается в положении подъема пильной рамы.

Пильная рама поднимается до тех пор, пока упор, находящийся на рукаве, не нажмет на конечный выключатель.

При етом размыкается електроланцюг і выключается електродвигатель головного руху.


Опис конструкції механической ножовки 872М


Ролик опорный

Для удобства подачі разрезаемой заготовки верстат укомплектован опорным роликом, закрепленным на станине. Опорный ролик позволяет перемещать разрезаемый материал в зону різання в шаговом режиме при помощи обертання рукоятки 5. После подачі разрезаемого материала до упора, настроенного на определенную длину отрезки заготовки, опорный ролик необходимо повернуть, чтобы заготовка легла на опорную плоскость станины.


Привід верстата 872М

Привід верстата состоит из следующих частин:

Чугунная стойка, укрепленная на верхней плоскости станины, служит опорой рукава і головного приводного вала.

Рукав в нижней частини имеет направляющие типа ласточкин хвост, по которым движется пильная рама.

Рукав соединен со штоком поршня гідроцилиндра, поднимающего і опускающего пильную раму.

Пильная рама соединена шатуном з кривошипным диском і от которого получает возвратно-поступательное движение.





Гідравлічна схема механической ножовки 872М

Гідропривід служит для швидкого подъема пильной рамы після окончания пиления і для рабочей подачі полотна в процессе різання.

В начале робочого ходу процесса різання на полотно действует минимальное давление, затем оно постепенно повышается і перед окончанием робочого ходу давление плавно падает.

В зависимости от рода материала величина падачи плавно регулируется дросселированием масла. Предельное давление масла в зависимости от прочности ножовочных полотен устанавливается предохранительным клапаном. Установка предохранительного клапана на нужное давление определяет степень сжатия пружины, которое регулируется винтом. Предохранительный клапан должен быть отрегулирован на давление не выше 25 кгс/см2. Верстат поставляется отрегулированным в пределах 15..25 кгс/см2

Во время обратного (холостого) ходу полотна осуществляется подсечка - отрыв полотна от заготовки чтобы не уменьшать ресурс режущего инструмента.

Канал для подвода масла к контрольному манометру при работе верстата должен быть закрыт пробкой I (рис.7). При регулировки вместо пробки ввинчивается контрольный манометр, который заводом не поставляется.


Схема електрична механической ножовки 872М

872М Схема електрична верстата для резки металла

Електрична схема механической ножовки 872м





Инструмент отрезных ножовочных верстатів 872М


Розміри ножовочных станочных полотен

Розміри ножовочных станочных полотен

Розміри ножовочных станочных полотен. Дивитись у збільшеному масштабі



Разрезание материала на ножовочных верстатах производится ножовочными полотнами, которые изготавливаются из сталей Р9, Р18 или ШХ 15.

Ножовочные полотна подбираются по длине і шагу зубьев в зависимости от размеров распиливаемой заготовки і материала. Основні розміри ножовочных полотен приведены в табл. 69.

Шаг зубьев ножовочных полотен подбирается в зависимости от толщины разрезаемой заготовки і її материала. Ножовки з мелкими зубьями применяются для разрізання тонких заготовок і твердых материалов, ножовки з крупными зубьями— для заготовок з крупным сечением і мягких материалов.

Так, при разрезании станочными ножовками стали σвр = 40—60 кГ/мм2 рекомендуются ножовки з шагом зубьев 3..4 мм, стали σвр = 60 кГ/мм2 — з шагом 2,5 мм.

Форма зуба ножовочных полотен

Форма зуба ножовочных полотен

Обычно форма зуба ножовочных полотен треугольная (рис. 27).

Для станочных ножовочных полотен принимают передний угол γ = 0..5°, задний угол α = 35..40°, угол заострения β = 50..55°, радиус впадин 0,5..1,5 мм. Всесоюзный научно-исследовательский инструментальный институт рекомендует симметричный зуб з передним углом γ = — 30° і угол заострения β = 60°

Эти ножовочные полотна имеют меньший износ зубьев, повышенную производительность і при затуплении могут дополнительно использоваться путем установки другим концом.

Для уменьшения бокового трения зубья ножовочных полотен имеют развод 0,6—0,8 мм. Разность в высоте вершин смежных зубьев полотна не должна превышать 0,1 мм у полотен з шагом зубьев 1 мм і 0,15 мм у полотен з шагом зубьев свыше 1 мм.

Производительность ножовочных верстатів зависит от давления на полотно, которое рекомендуется выбирать в зависимости от толщины полотна. Так, при толщине ножовочного полотна 0,8, 1 і 2 мм давление соответственно составляет 5, 10 і 30 кГ

При работе полотно должно быть туго натянуто на раме, після нескольких ходов пилы необходимо затянуть полотно вторично.





872М Верстат ножовочный отрезной (верстат ножовочно-отрезной). Відеоролик.




Технічні характеристики механической ножовки 872М

Наименование параметра 872а 872м 8725 8Б72
Основні параметри верстата
Наибольшие розміри сечения круглой заготовки (угол реза 90°), мм 250 250 250 250
Наибольшие розміри сечения круглой заготовки (угол реза 45°), мм 120 100 140 140
Наибольшие розміри сечения квадратной заготовки (угол реза 90°), мм 250 х 250 250 х 250 250 х 250 250 х 250
Наибольшие розміри сечения прямоугольной заготовки (угол реза 45°), мм 120 х 120 100 х 100 140 х 250
Наибольшее расстояние от полотна до верхней частини рамы, мм 223 223
Максимальная длина отрезаемой заготовки по упору, мм 350 350 350 350
Расстояние от основания верстата до опорной поверхности заготовки, мм 550 450
Розміри применяемого ножовочного полотна(ДхШхТолщ.), мм 500 450 450х40х2; Ø 8 500х40х2; Ø 8
Максимальная ширина пропила, мм 2,5 3,8 3,5 3,8
Число двойных ходов пильной рамы в минуту 85; 110 85; 110 45, 56, 71, 112, 140, 128 75, 120
Длина ходу пильной рамы, мм 150 140, 180 180 140, 180
Угол поворота тисков, град 45° 45° 45° 45°
Производительность при резке стали 45 ГОСТ 1050-74 Ø 100мм, не менее см2/мин 30
Механізм зажиму заготовки вручную вручную вручную
Електроустаткування верстата
Електродвигун головного привода, кВт (об/мин) 1,7 1,5 (1420) 2,2 1,5 (1400)
Електродвигун насоса охлаждения, кВт (об/мин) 0,12 0,125 (2800)
Габарит і масса пресс-ножниц
Габарит пресс-ножниц (длна х ширина х высота), мм 1470 х 875 х 925 1470 х 690 х 885 1690 х 700 х 900 1610 х 700 х 900
Масса пресс-ножниц, кг 605 650 700 645

    Список литературы:

  1. Отрезной ножовочный верстат 872М. Руководство, 1974

  2. Дроздов Ф., Лебедевич В., Рубежин В. Справочное пособие по отрезным верстатам, 1967
  3. Веселовский С.И. Разрезка материалов, 1973