metalinstryment.com
Довідник по металорізальних верстатів та пресовому обладнанні

872А Верстат ножовочный отрезной
Схеми, опис, характеристики

872А Верстат ножовочный отрезной







Відомості про виробника ножовочно-отрезного верстата моделі 872А

Производителем ножовочно-отрезного верстата моделі 872А является Краснодарский експериментальный завод им. Калинина.

Разработчик Краснодарское специальное конструкторское бюро автоматических линий.





Верстати, выпускаемые Краснодарским експериментальным заводом им. Калинина


872А Верстат електромеханический ножовочный отрезной. Назначение, область применения

Достоинством ножовочных верстатів 872А является их дешевизна, несложность конструкції, простота ухода і незначительная ширина пропила, что уменьшает отход металла в стружку. Последнее обстоятельство, особенно при разрезании дорогостоящих сортов легированной стали, имеет большое значение. Однако ножовочные полотна малопроизводительны, быстро изнашиваются, трудно обеспечивают перпендикулярность пропила вследствие гибкости полотна.

Верстат ножовочный отрезной 872А применяется для резки машинным ножовочным полотном труб, швеллеров, уголков, круглого проката, квадратной і полосовой стали. Точность обробки на таком станке ± 2 мм, класс шероховатости обробки - третий.

Ножовочный отрезной верстат 872А предназначен для отрезки круглого і профильного материала из стали, чугуна і цветных металлов машинным ножовочным полотном для металла путем поступательного руху.

Резка производится в плоскости, перпендикулярной к оси заготовки, а также под углами до 45°. Верстат применяется в условиях индивидуального і серийного производства.

Особливості конструкції ножовочного верстата 872А:

Ножовочный верстат 872А имеет електрический і гідравлический приводы.

Резка металла осуществляется перпендикулярно к оси заготовки, закрепленной при помощи специального кронштейна на тисках, либо под углами до 45 градусов, для чего заготовку закрепляют в специальных комбинированных тисках.

При помощи верхнего прижима на тисках в станке 872А возможна пакетная резка заготовок.

Диапазон швидкостей різання регулируется ступенчато, в зависимости от структуры разрезаемого материала.

Подача СОЖ (смазочно-охлаждающей жидкости) происходит автоматически.

Порядок роботи ножовочного верстата 872А

Установка тисков на столе верстата

Установка тисков на столе верстата ножовки 872А

Установка тисков на столе верстата 872а


На столе верстата устанавливают тиски в зависимости от формы разрезаемого материала

Тиски устанавливают на станке з таким расчетом, чтобы ось разрезаемой заготовки проходила посредине ходу пильной рамы. При установці заготовки в тисках следят, чтобы заготовка лежала под прямым углом к ножовочному полотну.

Для разрізання заготовки под углом сначала под заданным углом устанавливают тиски, затем укладывают в них і прочно закрепляют заготовки.

Установка ножовочного полотна

Установка ножовочного полотна на станке 872А

Установка ножовочного полотна на станке 872А


Полотно устанавливают (рис. 129, а) одним концом на штифт 3 нерухомо укрепленной планки 4 пильной рамы 7 так, чтобы зубья полотна были направлены в сторону робочого ходу. Другой конец полотна надевают на штифт 2 подвижной планки, затем оба кінця полотна прижимают накладными планками 7 і 9 к пильной раме болтами 6 і 8 (рис. 129, 6). Полотно натягивают, завинчивая гайки 5 з некоторым усилием. Слабо натянутое полотно при резании сломается или сделает косой рез.

Ножовочный верстат налаживают для резки твердых металлов на 85, а для резки мягких металлов - 110 двойных ходов в минуту.

Гідропривід верстата

Гідропривід верстата 872А

Керування гідроприводом верстата 872А


Гідропривід верстата управляется поворотом рукоятки крана.

При первом положении рукоятки крана "Бездействие" (рис. 130, а) пильная рама получает возвратно-поступательное движение, при втором положении "Спуск" (рис. 130, 6) рукав з пильной рамой плавно опускается вниз, при третьем положении "Подъем" (рис. 130, в) рукав з пильной рамой плавно поднимается, при четвертом положении "Медленное действие" (рис. 130, г) регулируется заданная подача врізання ножовочного полотна в металл при рабочем ходе.

При обратном ходе ножовочное полотно немного приподнимается над разрезаемым материалом. При пятом положении "Быстрое действие" (рис. 130, д) регулируется наибольшая подача врізання ножовочного полотна в металл при рабочем ходе.

Приступая к разрезанию металла на станке, рукоятку крана гідропровода устанавливают в положение "Спуск" і включают електродвигатель. После того как ножовочное полотно опустится к разрезаемому металлу, рукоятку крана переводят в положение "Медленное действие" для предварительного врізання. Затем рукоятку перемещают по направлению к положению "Быстрое действие" і устанавливают желаемую подачу різання.

Дальнейшая робота верстата происходит автоматически до окончательного разрізання заготовки. По окончании резки пильная рама автоматически переключает рукоятку крана в положение "Подъем", которое осуществляется до определенной высоты: выключатель, расположенный на рукаве, нажимает на кнопку "Стоп" і выключает електродвигатель.





Габаритные розміри робочого простору ножовочного верстата 872А

Габаритные розміри робочого простору ножовочного верстата 872А

Габаритные розміри робочого простору верстата 872А

Габаритные розміри робочого простору верстата 872А. Дивитись у збільшеному масштабі



Загальний вигляд механической ножовки 872А

фото механической ножовки 872А

Фото ножовочного верстата 872а

Фото отрезного ножовочного верстата 872а. Дивитись у збільшеному масштабі



фото механической ножовки 872А

Фото ножовочного верстата 872а


фото механической ножовки 872А

Фото ножовочного верстата 872а


872А Розташування основних вузлів ножовочного верстата для резки металла

Розташування основних вузлів ножовочного верстата 872а

Розташування основних вузлів ножовочного верстата 872а

  1. станина
  2. упор
  3. стол
  4. ножовочное полотно
  5. пильная рама
  6. рукав (хобот)
  7. выключатель
  8. кнопка (пуск - стоп)
  9. машинные тиски

872А Розташування органів керування верстатом для резки металла

Розташування органів керування верстатом для резки металла 872А

Розташування органів керування ножовочным верстатом 872а

Розташування органів керування верстатом 872А. Дивитись у збільшеному масштабі



Список органів керування верстатом для резки металла 872А

  1. Рукоятка фиксации пильной рамы в верхнем положении
  2. Упор автоматичного виключення верстата при верхнем положении пильной рамы
  3. Кнопочный пост "Пуск" і "Стоп" приводу верстата
  4. Рукоятка керування гідроприводом




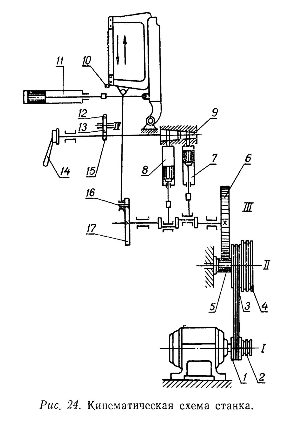
Кінематична схема механической ножовки 872А

872А кінематична схема механической ножовки

Кінематична схема механической ножовки 872А

Кінематична схема механической ножовки 872А. Дивитись у збільшеному масштабі



Кинематика верстата. Принцип роботи верстата 872А

Рух от вала I (рис. 24) електродвигуна посредством клиноременной передачи і двух двухступенчатых шкивов 1, 2, 3, 4 передається на приводной вал II. Шкив, свободно вращающийся на валу II, сблокирован з шестерней 5. Через шестерню 5 і зубчатое колесо 6 рух передається валу III, на втором кінці которого закреплен кривошипный диск 17 з пальцем кривошипа 16.

От кривошипного диска посредством шатуна получает возвратно-поступательное рух пильная рама. Число її двойных ходов — ПО или 85. На валу III между двумя опорами имеются ексцентричные шейки, от которых рух посредством шатунных тяг передається поршням 7 і 8 гідронасоса. Поршни нагнетают масло в распределительный кран 9, откуда оно поступает в рабочий цилиндр 11. Поршень етого цилиндра при помощи шарнирных тяг соединен з рукавом.

Таким образом, подъем і опускание пильной рамы, а также рабочая подача при резании осуществляются от гідропривода.

Керування гідроприводом производится рукояткой 14, которая може быть зафиксирована в пяти положениях: 1 — «Бездействие», 2 — «Опускание», 3 — «Подъем», 4 — «Резание медленное», 5 — «Резание быстрое».

По окончании разрізання заготовки в крайнем нижнем положении пильной рамы планка 10, закрепленная на раме, ударяет по рейке 12 і перемещает ее. Рейка через промежуточную шестерню 13 передает вращение шестерне 15, жестко соединенной з валом IV распределительного крана. При етом кран устанавливается в положение подъема пильной рамы.

Пильная рама поднимается до тех пор, пока упор, находящийся на рукаве, не нажмет кнопку «Стоп» кнопочной станції. При етом размыкается електроланцюг і выключается електродвигатель головного руху. Одновременно выключается мотор електронасоса охлаждения.


Основні вузли верстата і их назначение

Верстат состоит из следующих основних вузлів (рис. 22):

  1. Станина I
  2. Рукав з пильной рамой II
  3. Стойка III
  4. Ограждение IV
  5. Привід V
  6. Електроустаткування VI
  7. Гідропривід VII
  8. Тиски VIII
  9. Система охлаждения IX

Станина

Станина имеет коробчатую форму з усиливающим ребром внутри. На ней монтируются все вузли верстата. Сзади на станине крепятся стойка, корпус насоса і електромотор; з правой стороны — защитный кожух; на передньої частини — тиски. Нижня часть станины является резервуаром для охлаждающей жидкости. Здесь же устанавливается електронасос охлаждения. Вместе со станиной отлит масляный резервуар гідропривода. К станине крепится упор для регулировки нужной длины отрезки материала (до 350 мм).




Привод

Опис конструкції і роботи приводу дано в разделе «Кинематика верстата».

Стойка

Чугунная стойка, укрепленная на задньої стороне станины, служит опорой для качающегося на оси рукава і головного приводного вала. Приводной вал, как і ось рукава, вращается в підшипниках ковзання. На задньої стороне стойки имеются платики для установки магнитного пускателя.

Рукав і пильная рама

К стойке на оси крепится рукав, в нижней частини которого имеются направляющие в форме «ласточкина хвоста», по которым движется пильная рама. Посредством тяги і двух шарниров рукав соединен со штоком робочого цилиндра гідропривода, управляющего движением рукава.

Пильная рама имеет направляющие, соответствующие направляющим рукава. Ей передається возвратно-поступательное рух от кривошипного диска, з которым она соединена шатуном. При подъеме рукава до верхнего положения упор нажимает на кнопку «Стоп» і електродвигатель автоматически выключается.

Ножовочное полотно надевается одним отверстием на штифт нерухомо укрепленной планки, а другим — на штифт подвижной планки і прижимается специальными планками. Для натяга ножовочного полотна имеется гайка.

Система охлаждения

Для охлаждения ножовочного полотна имеется електронасос, установленный внутри станины. Резервуаром для охлаждающей жидкости является сама станина.

Насос засасывает охлаждающую жидкость і подает її по шлангу і насадке к месту прореза. С помощью зажимного приспособления, передвигающегося по стойке, насадка може быть установлена в нужном положении.

Образующаяся при резании стружка собирается в съемное корито. Охлаждающая жидкость по наклонным поверхностям станины стекает в выемку і через отверстие в станине снова попадает в резервуар.

Тиски

Для закрепления разрезаемого материала верстат снабжен тисками двух типов: неповоротными і поворотными (рис. 23). Для квадратного і прямоугольного, а также для круглого материала диаметром более 120 мм применяются тиски з плоскими параллельно расположенными губками, а для круглых прутков диаметром 120 мм і меньше — тиски з губками, имеющими V-образные вырезы. Такими губками можно зажимать как один, так і несколько прутков или заготовок других профилей.

Материал в тисках зажимается з помощью упора і гвинта. Тиски могут перемещаться по станине в продольном направлении і закрепляться в любом месте под ножовочным полотном. Тиски з плоскими губками можно поворачивать вокруг оси і закреплять разрезаемый материал для угловой резки под углом 0°, 15°, 25°, 35°, 45°.

Для зажиму разрезаемого материала в тисках з плоскими губками необходимо винт устанавливать в верхнее резьбовое отверстие упора зажима, а для зажиму в тисках з V-образными губками — в нижнее.

Ограждение

Для защиты шестерен і шкивов приводу верстата применяются кожухи сварной конструкції.




Гідропривід верстата

Гідропривід предназначен для подъема і опускания рукава з пильной рамой і для осуществления рабочей подачі ножовочного полотна в процессе різання. В начале робочого ходу давление полотна на разрезаемый материал минимальное, затем оно плавно возрастает, а перед окончанием робочого ходу падает. При обратном ходе пильной рамы ножовочное полотно приподнимается і з разрезаемым материалом не соприкасается.

В зависимости от рода материала величина подачі плавно регулируется дросселированием масла. Предельное давление масла в зависимости от прочности ножовочных полотен устанавливается предохранительным клапаном. Для установки предохранительного клапана на нужное давление степень сжатия пружины регулируется винтом.

Канал при подводе масла к контрольному манометру должен быть закрыт пробкой. При регулировке вместо пробки ввинчивается контрольный манометр.

Предохранительный клапан должен быть отрегулирован на давление не выше 25 кГ/см2.

Керування гідроприводом осуществляется краном з рукояткой. Рукоятка з указателем передвигается по шкале з надписями: «Подъем», «Медленное», «Быстрое», «Бездействие» і «Опускание». Поворотом рукоятки устанавливается соответствующий режим роботи.

Масло в резервуар заливается через отверстие, которое після етого закрывается пробкой. Маслоуказатель имеет на стекле риску, соответствующую уровню масла. Сливается масло через отверстие в станине, также закрываемое пробкой.

В корпусе гідронасоса имеются два наклонных отверстия з запрессованными втулками. При движении поршней масло засасывается из резервуара через фильтр і нагнетается через каналы і пробки крана в рабочий цилиндр.

Шток поршня шарнирно соединен тягой з рукавом і управляет его движением.

Верстат ножовочный отрезной 872А имеет гідравлическую систему для механизации основних вспомогательных операций:

Гідравлічна схема механической ножовки 872А

872А Гідравлічна схема механической ножовки

Гідравлічна схема механической ножовки 872а

Гідравлічна схема механической ножовки 872А. Дивитись у збільшеному масштабі



872А Гідравлічна схема механической ножовки

Гідравлічна схема механической ножовки 872а

Гідравлічна схема механической ножовки 872А. Дивитись у збільшеному масштабі



Гідропривід служит для швидкого подъема пильной рамы після окончания пиления і для рабочей подачі полотна в процессе різання.

В начале робочого ходу процесса різання на полотно действует минимальное давление, затем оно постепенно повышается і перед окончанием робочого ходу давление плавно падает.

В зависимости от рода материала величина падачи плавно регулируется дросселированием масла. Предельное давление масла в зависимости от прочности ножовочных полотен устанавливается предохранительным клапаном. Установка предохранительного клапана на нужное давление определяет степень сжатия пружины, которое регулируется винтом. Предохранительный клапан должен быть отрегулирован на давление не выше 25 кгс/см2. Верстат поставляется отрегулированным в пределах 15..25 кгс/см2

Во время обратного (холостого) ходу полотна осуществляется подсечка - отрыв полотна от заготовки чтобы не уменьшать ресурс режущего инструмента.

Опис гідравлической схеми

I положение — «Бездействие» (рис. 25, а), В етом положении рукав, связанный з поршнем 1 робочого цилиндра 2, неподвижен. Пильная рама може мати только возвратно-поступательное рух от кривошипного диска. Масло не може уходить из нижней полости цилиндра 2, так как канал 3 перекрыт телом пробки крана, а канал 4 — клапаном 5; поршень 1 остается неподвижным. Поршни 6 і 7 работают вхолостую.

Поршень 6 через фильтр 8 по каналам 9 і 10 всасывает масло в цилиндр 11 і выбрасывает его по каналам 12, 13, 14, 15 і 16 в резервуар. Поршень 7 через фильтр 8 по каналам 17 і 18 всасывает масло в цилиндр 19 і выбрасывает по каналам 20, 21 в резервуар.

II положение — «Опускание» (рис. 25, б) достигается поворотом рукоятки пробки крана из первого положения на 45° по часовий стрелке. В етом положении рукав з пильной рамой быстро і плавно опускается вниз.

Поршни 6 і 7, как і в первом положении, работают вхолостую. Поршень 1 под воздействием веса рукава і пильной рамы вытесняет масло из нижней полости цилиндра 2 по каналам 22, 3, 23, 24, 25, 26 в резервуар. Пространство вверху цилиндра 2 заполняется маслом, имеющим свободный доступ по каналам 10, 12, 13, 27, избыток масла идет в резервуар по каналам 14, 15, 16.

III положение — «Подъем» (рис. 25, в) достигается поворотом рукоятки пробки крана из второго положения на 45° по часовий стрелке. В етом положении рукав з пильной рамой быстро поднимается. Поршень 6 нагнетает масло в нижнюю полость цилиндра 2 по каналам 10, 28, 25, 29, 3, 22.

Поршень 7 также нагнетает масло в нижнюю полость цилиндра 2 по каналам 18, 30, 4, 5, 22.

Из верхней полости етого цилиндра масло свободно выходит в резервуар по каналам 27, 14, 15, 16. Поршень 1 поднимается вверх до положения, указанного на схеме. Здесь подъем прекращается, так как масло, нагнетаемое в нижнюю полость цилиндра, начинает свободно выходить в резервуар по каналам 31, 27, 14, 15, 16.

IV положение — «Резание медленное» (рис. 25, г) достигается поворотом рукоятки пробки крана из третьего положения на 45° по часовий стрелке.

В IV положении осуществляется минимальная подача, т.е. минимальное врезание ножовочного полотна в материал при рабочем ходе. При обратном ходе пильной рамы ножовочное полотно приподнимается над разрезаемым материалом.

Координация возвратно-поступательного руху пильной рамы і качательного руху рукава обеспечивается тем, что кривошипный диск, приводящий пильную раму, смонтирован на валу з ексцентриковыми шейками, расположенными под углом 125° друг к другу і передающими рух поршням 6 і 7.

Цикл роботи гідроприводу в IV положении крана следующий:

Обратный ход пильной рамы

1-я часть: поршень 7, двигаясь вниз, незадолго до начала обратного холостого ходу, перекрывает канал 33, і масло, нагнетаемое им, поступает по каналам 18, 20, 32, 3, 22 в нижнюю полость цилиндра 2. Поршень 1 перемещается вверх. Вследствие етого при обратном ходе зубья ножовочного полотна не касаются разрезаемого материала.

Масло из верхней полости цилиндра 2 выходит по каналам 27, 14, 15, 34, 16 в резервуар і по каналам 27, 13, 12, 10 — в цилиндр 11, так как в етот момент поршень 6 движется вверх і производит всасывание.

2-я часть: поршень 7, а затем поршень 6 меняют направление руху, і поршень 1 опускается.

Рабочий ход пильной рамы

1-я часть: непосредственно вслед за началом робочого ходу ножовочное полотно приходит в соприкосновение з разрезаемым материалом і при дальнейшем движении рамы получает подачу. Происходит ето следующим образом: поршень 6 продолжает двигаться вниз, нагнетая масло в верхнюю полость цилиндра 2. Давление на поршень 1 в верхней полости создается дросселированием избыточного масла, которое отводится в резервуар по каналам 14, 15, 34 і 16.

Масло из нижней полости цилиндра 2 выходит в резервуар по каналам 22, 3, 32, 20, 18, 36, так как поршень 7 находится выше канала 33 в цилиндре 19.

2-я часть: поршень 7 меняет направление руху і начинает нагнетать масло. Так как поршень находится выше канала 33, нагнетаемое масло незадолго до кінця робочого ходу отводится по каналам 33, 35, 36 в резервуар, поршень 6 также меняет свое направление і засасывает масло. Поршень 7 перекрывает канал 33 і начинает нагнетать масло по каналам 18, 20, 32, 3, 22 в нижнюю полость цилиндра 2. Поршень 1 движется вверх, ножовочное полотно приподнимается над разрезаемым материалом.

V положение — «Резание быстрое» (рис. 25, д). Давление сверху на поршень 1 в положении IV невелико, так как перепад давления в дросселирующем канале 34 незначителен. При вращении рукоятки пробки крана из IV положения по часовий стрелке сечение дросселирующего канала 34 постепенно сужается і давление сверху на поршень постепенно возрастает.

В V положении — при повороте рукоятки из IV положения на 135° по часовий стрелке — сечение дросселирующего канала сводится к нулю, в результате чего ножовочное полотно получает максимальную подачу. При етом избыточное масло поступает через предохранительный клапан 37 в резервуар.


Смазка верстата 872а

Перед пуском верстата необходимо произвести смазку во всех точках, указанных на схеме (рис. 26), в соответствии со спецификацией к схеме змазки.

Во время експлуатации верстата нужно постоянно следить за наличием змазки во всех механізмах і производить смазку согласно табл. 67





Керування верстатом 872а, его наладка і регулировка

Керування верстатом осуществляется при помощи кнопочной станції і рукояток керування (см. рис. 22). Перед пуском верстата необходимо установить его на требуемое число двойных ходов пильной рамы. При передаче руху з меньшей ступени шкива електромотора на большую пильная рама делает 85 двойных ходов в минуту, а при передаче з большей ступени на меньшую— 110 двойных ходов в минуту. Для разрізання твердых металлов ножовочному полотну дают 85 двойных ходов, для разрізання мягких металлов — 110 двойных ходов.

Приспособление для зажиму разрезаемого материала устанавливается на станке з таким расчетом, чтобы ось разрезаемой заготовки проходила посередине ходу пильной рамы. При установці материала і закреплении его в приспособлении необходимо следить, чтобы заготовка лежала горизонтально і под прямым углом. Приспособление устанавливается под углом до укладки заготовок.

Особое внимание следует обращать на состояние ножовочного полотна. Оно должно быть натянуто, зубцы должны быть острыми. Полотно з тупыми или поломанными зубцами будет работать непроизводительно і даст плохой, з неровной поверхностью рез, а при вязком металле може сломаться.

Прежде чем приступить к работе, необходимо пустить верстат на непродолжительное время на холостой ход для удаления воздуха, находящегося в цилиндрах і каналах гідропривода. Воздух выпускается из отверстия при неполном вывинчивании пробки в цилиндре.

При пуске верстата, когда рукав находится в нижнем положении, рукоятку крана гідроприводу ставят в положение «Подъем», а затем включают мотор, нажав кнопку «Пуск».

После того как воздух будет удален і гідропривід покажет нормальную работу при всех положениях рукоятки крана, можно приступить к работе. Закрепив разрезаемый материал в зажимном приспособлении, ставят рукоятку крана в положение «Опускание» і включают мотор. Когда полотно опустится к материалу, рукоятку крана переводят в положение «Резание медленное» для предварительного врізання. После врізання устанавливают той же рукояткой желаемую подачу. Дальнейшая робота верстата проходит автоматически.

По окончании разрізання планка 10 пильной рамы ударяет по рейке 12 (см. рис. 24) і переводит рукоятку 14 в положение «Подъем». Пильная рама поднимается, выключатель нажимает на кнопку «Стоп» і останавливает верстат.

Положение рейки 12 относительно шестерни, сидящей на пробке крана, устанавливается заводом і не подлежит регулировке. Положение выключателя устанавливается при наладке в зависимости от желаемой высоты подъема пильной рамы.

В процессе експлуатации верстата возникает необходимость в регулировании окремих вузлів і елементів з целью восстановления их нормальной роботи:


Проверка верстата по нормам точності

Отрезные ножовочные верстати після изготовления или ремонта проверяют по нормам точності согласно ГОСТ 15—40 (табл. 68).


Эксплуатация верстата 872а

Для нормальной роботи верстата необходимо применять для гідроприводу і змазки чистое минеральное масло, свободное от кислот і других примесей. Охлаждающая жидкость не должна быть загрязнена і засорена металлическими частиницами; її необходимо периодически фильтровать і заменять. В резервуар гідроприводу верстата заливается до 10 литров масла Индустриального 20 (ГОСТ 1707—51) или Индустриального 30 (ГОСТ 1707—51). В резервуар охлаждения заливается 20 литров 6—10% раствора емульсола в воде. В процессе експлуатации необходимо следить за наличием масла в резервуаре гідропривода, систематически проводить смазку верстата согласно схеме змазки, своевременно производить подналадку і регулировку вузлів верстата.





Инструмент отрезных ножовочных верстатів 872а


Розміри ножовочных станочных полотен

Розміри ножовочных станочных полотен

Розміри ножовочных станочных полотен. Дивитись у збільшеному масштабі



Разрезание материала на ножовочных верстатах производится ножовочными полотнами, которые изготавливаются из сталей Р9, Р18 или ШХ 15.

Ножовочные полотна подбираются по длине і шагу зубьев в зависимости от размеров распиливаемой заготовки і материала. Основні розміри ножовочных полотен приведены в табл. 69.

Шаг зубьев ножовочных полотен подбирается в зависимости от толщины разрезаемой заготовки і її материала. Ножовки з мелкими зубьями применяются для разрізання тонких заготовок і твердых материалов, ножовки з крупными зубьями— для заготовок з крупным сечением і мягких материалов.

Так, при разрезании станочными ножовками стали σвр = 40—60 кГ/мм2 рекомендуются ножовки з шагом зубьев 3..4 мм, стали σвр = 60 кГ/мм2 — з шагом 2,5 мм.

Форма зуба ножовочных полотен

Форма зуба ножовочных полотен

Обычно форма зуба ножовочных полотен треугольная (рис. 27).

Для станочных ножовочных полотен принимают передний угол γ = 0—5°, задний угол α = 35—40°, угол заострения β = 50—55°, радиус впадин 0,5—1,5 мм. Всесоюзный научно-исследовательский инструментальный институт рекомендует симметричный зуб з передним углом γ = — 30° і угол заострения β = 60°

Эти ножовочные полотна имеют меньший износ зубьев, повышенную производительность і при затуплении могут дополнительно использоваться путем установки другим концом.

Для уменьшения бокового трения зубья ножовочных полотен имеют развод 0,6—0,8 мм. Разность в высоте вершин смежных зубьев полотна не должна превышать 0,1 мм у полотен з шагом зубьев 1 мм і 0,15 мм у полотен з шагом зубьев свыше 1 мм.

Производительность ножовочных верстатів зависит от давления на полотно, которое рекомендуется выбирать в зависимости от толщины полотна. Так, при толщине ножовочного полотна 0,8, 1 і 2 мм давление соответственно составляет 5, 10 і 30 кГ

При работе полотно должно быть туго натянуто на раме, після нескольких ходов пилы необходимо затянуть полотно вторично.





872А Верстат ножовочный отрезной (верстат ножовочно-отрезной). Відеоролик.




Технічні характеристики механической ножовки 872А

Наименование параметра 872а 872м 8725 8Б72
Основні параметри верстата
Наибольшие розміри сечения круглой заготовки (угол реза 90°), мм 250 250 250 250
Наибольшие розміри сечения круглой заготовки (угол реза 45°), мм 120 100 140 140
Наибольшие розміри сечения квадратной заготовки (угол реза 90°), мм 250 х 250 250 х 250 250 х 250 250 х 250
Наибольшие розміри сечения прямоугольной заготовки (угол реза 45°), мм 120 х 120 100 х 100 140 х 250
Наибольшее расстояние от полотна доврхней частини рамы, мм 223 223
Максимальная длина отрезаемой заготовки по упору, мм 350 350 350 350
Расстояние от основания верстата до опорной поверхности заготовки, мм 550 450
Розміри применяемого ножовочного полотна(ДхШхТолщ.), мм 500 450 450х40х2; Ø 8 500х40х2; Ø 8
Максимальная ширина пропила, мм 2,5 3,8 3,5 3,8
Число двойных ходов пильной рамы в минуту 85; 110 85; 110 45, 56, 71, 112, 140, 128 75, 120
Длина ходу пильной рамы, мм 150 140, 180 180 140, 180
Угол поворота тисков, град 45° 45° 45° 45°
Производительность при резке стали 45 ГОСТ 1050-74 Ø 100мм, не менее см2/мин 30
Механізм зажиму заготовки вручную вручную вручную
Електроустаткування верстата
Електродвигун головного привода, кВт (об/мин) 1,7 1,5 (1420) 2,2 1,5 (1400)
Електродвигун насоса охлаждения, кВт (об/мин) 0,12 0,125 (2800)
Габарит і масса верстата
Габарит верстата (длна х ширина х высота), мм 1470 х 875 х 925 1470 х 690 х 885 1690 х 700 х 900 1610 х 700 х 900
Масса верстата, кг 605 650 700 645

    Список литературы:

  1. Дроздов Ф., Лебедевич В., Рубежин В. Справочное пособие по отрезным верстатам, 1967
  2. Веселовский С.И. Разрезка материалов, 1973