metalinstryment.com
Довідник по металорізальних верстатів та пресовому обладнанні

7410 долбежный верстат
опис, характеристики, схеми

7410 долбежный верстат







Відомості про виробника долбежного верстата 7410

Разработчиком і изготовителем долбежного верстата 7410 является Минский станкостроительный завод им. Октябрьской революции МЗОР.





Верстати, выпускаемые Минским станкостроительным заводом, МЗОР


7410 долбежный верстат. Назначение і область применения

Універсальный долбёжный верстат моделей 7410, 7414 предназначен для обробки методом долбления крупногабаритных корпусных і базовых деталей.

На долбёжном станке 7410 можно обрабатывать заготовки из стали, чугуна і цветных металлов в условиях единичного і мелкосерийного производства.

На станке 7410 могут быть обработаны вертикальные і наклонные, наружные і внутренние прямолинейные поверхности, а также пазы различного профиля.

Верстат 7410 може выполнять как черновую, так і чистовую обработку. Класс точності верстата Н.

Принцип роботи і особливості конструкції верстата

Главное рух - резание - осуществляется резцом, устанавливаемым на долбяк.

Привід долбяка і все переміщення стола осуществляются от двигателей постоянного тока по системе Генератор — Двигатель или от асинхронных електродвигателей, которые управляются преобразователями частоти. Регулювання швидкостей бесступенчатое.

Скорость обратного ходу долбяка регулируется независимо от скорости робочого ходу. Привід долбяка обеспечивает плавное врезание резца в заготовку і замедленный выход его из заготовки в кінці робочого ходу.

Привід стола обеспечивает быстрые і медленные установочные переміщення стола в поперечном, продольном і круговом направлениях, а также периодические подачі стола в етих направлениях, осуществляемые в момент обратного ходу долбяка.

Верстат 7410 оснащен поворотной долбежной головкой з двигателем постоянного тока і датчиком точного вертикального положения долбежной головки. Привід долбяка снабжен електрическим вариатором скорости, обеспечивающим безвибрационную обработку пазов і других поверхностей.

Верстат 7410 имеет замкнутую централизованную систему змазки стола і каретки. Смазка осуществляется от отдельной гідростанції. Направляющие стола смазываются в режиме гідророзвантаження. Смазка механізма приводу долбяка замкнутая централизованная, смазка направляючих долбяка — от електролубрикатора. Зажим подвижных вузлів верстата осуществляется автоматически з помощью гідрозажимов. Направляющие верстата защищены телескопическими щитками. Для удобства роботи стол верстата оснащен помостом.

Подвижные вузли верстата имеют автоматические гідравлические зажимы.

Стол оснащен делительным механізмом і датчиком точного поворота через 90°, гідрофицированными зажимами. Привід стола обеспечивает быстрые і медленные установочные переміщення, рабочие подачі стола і имеет встроенный делительный механізм. Направляющие защищены телескопическими щитками.

Керування верстатом 7410 осуществляется з подвесного пульта, на котором размещены все основні органы керування, включая налаштування швидкостей подач, налаштування длины ходу долбяка. На підвісному пульті размещены индикаторы дистанционного отсчета перемещений вузлів і поворота стола, а также дистанционное пристрій точного позиционирования стола при повороте на угол 90°.

Верстат оснащен системой електрических і механических блокировок, обеспечивающих безаварийную работу всех вузлів верстата.




7410 Габаритные розміри робочого простору долбежного верстата

Габаритные розміри робочого простору долбежного верстата 7410

Габаритные розміри робочого простору долбежного верстата 7410

Габаритные розміри робочого простору долбежного верстата 7410. Дивитись у збільшеному масштабі



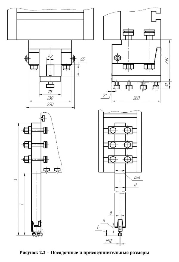
7410 Посадочные і присоединительные базы долбежного верстата

Посадочные і присоединительные базы долбежного верстата 7410

Посадочные і присоединительные базы долбежного верстата 7410

Посадочные і присоединительные базы долбежного верстата 7410. Дивитись у збільшеному масштабі



Посадочные і присоединительные базы долбежного верстата 7410

Посадочные і присоединительные базы долбежного верстата 7410

Посадочные і присоединительные базы долбежного верстата 7410. Дивитись у збільшеному масштабі



Налаштування на наибольшую высоту внутреннего і наружного долбления

Налаштування на наибольшую высоту внутреннего і наружного долбления



7410 Загальний вигляд долбежного верстата

Фото долбежного верстата 7410

Фото долбежного верстата 7410



Фото долбежного верстата 7410

Фото долбежного верстата 7410

Фото долбежного верстата 7410. Дивитись у збільшеному масштабі



Фото долбежного верстата 7410

Фото долбежного верстата 7410


Фото долбежного верстата 7410

Фото долбежного верстата 7410


Фото долбежного верстата 7410

Фото долбежного верстата 7410


7410 Розташування складових частин долбежного верстата

7410 Розташування складових частин долбежного верстата

Розташування складових частин долбежного верстата 7410

Фото долбежного верстата 7410. Дивитись у збільшеному масштабі



  1. Поперечина_7410.110.000
  2. Стол_7410.120.000
  3. Коробка подач планшайби_7410.142.000
  4. Редуктор подач стола_7410.143.000
  5. Энергоподвод стола_7410.175.000
  6. Захист направляючих станины_7410.170.000
  7. Редуктор подач каретки_7410.243.000
  8. Каретка_7410.311.000
  9. Головка долбежная_7410.352.000
  10. Смазка долбежной головки_7410.356.000
  11. Пульт керування_7410.810.000
  12. Механізм переміщення пульта_7410.821.000
  13. Электрокоммуникации верстата_7410.831.000
  14. Станція керування_7410.840.000
  15. Гідрокоммуникации верстата_7410.851.000
  16. Станція гідропривода_7410.861.000
  17. Станція змазки_7410.862.000
  18. Помост_7410.751.000
  19. Станина_У151.602.000
  20. Стойка_У251.602.000
  21. Подвеска пульта_У753.002.000



Схема кінематична

Особенность кінематичної схеми — полное разделение всех приводов верстата. Порядок передачи обертання от електродвигателей к исполнительным органам ясен из рисунка 5.3. Принцип роботи окремих вузлів приведен в описании вузлів верстата. В таблице 5.2 указан перечень к кінематичної схеме.


7410 Опис вузлів долбежного верстата

Станина

Представляет собой отливку жесткой коробчатой формы з внутренними продольными і поперечными ребрами (рисунок 5.4), имеющую четыре плоские направляющие, по которым перемещается поперечина.

В задньої частини станины имеется горизонтальная привалочная плоскость для крепления стойки. Конструкція станины обеспечивает высокую статическую і динамическую жесткость, высокую точность направления.

Винт і разрезная гайка служат для продольного переміщення поперечини. Внутри корпуса станины установлена емкость для сбора утечек масла, соединенная з гідростанцией трубопроводом.

Поперечина

Представляет собой корпусную деталь, имеющую взаимно перпендикулярные плоские направляющие, конструкция которой обеспечивает высокую точность направления (рисунок 5.5). По верхним направляющим перемещается стол. Нижние направляющие служат для переміщення по станине.

Для предохранения от опрокидывания поперечина имеет прижимные планки, закрепленные знизу по обеим сторонам вдоль направляючих.

Снизу поперечини установлен кронштейн крепления гайки, по торцам — скребки, предотвращающие попадание стружки і грязи под направляющие, і кронштейны для крепления телескопической защиты направляючих. Зажим поперечини осуществляется камерными гідрозажимами.

Стойка

Является литой чугунной деталью коробчатого сечения з внутренними продольными і поперечными ребрами, имеющей четыре вертикальные плоские направляющие, по которым перемещается каретка вместе з долбежной головкой.

Нижний торец стойки является привалочной плоскостью для крепления її к станине. Крепление стойки к станине производится гвинтами, расположенными снаружи стойки. В нише между направляющими стойки расположен винт і гайка переміщення каретки.




Долбежная головка

Редуктор долбежной головки верстата 7410

Редуктор долбежной головки верстата 7410

Редуктор долбежной головки верстата 7410. Дивитись у збільшеному масштабі



Представляет собой червячно-шестеренный редуктор, крепящийся к каретке (рисунок 5.6, 5.7, 5.8, 5.9). Привід головного руху (рух долбяка) осуществляется от двигуна, устанавливаемого на верхней плоскости редуктора через муфту со срезанным штифтом 9 (рисунок 5.8), зубчатую муфту 12, косозубые зубчасті колеса, червячную передачу і реечно-шестеренную передачу. В етой ланцюги предохранителем от аварийный перегрузок служит срезной штифт 10.

Для замены штифта требуется отсоединить двигатель з муфтой от долбежной головки.

Червячная передача приводу долбяка для возможности выборки зазору выполнена двухшаговой. С етой же целью применена двойная реечная шестерня.

Направляющие долбяка прямоугольные, з бронзовыми накладками. Бронзовые накладки имеют также клин і прижимные планки.

Для швидкого останова долбяка при отключении приводу в верхней частини долбежной головки смонтирован колодочный нормально-замкнутый тормоз (рисунок 5.9). Зажим тормозного барабана осуществляется пружиной 1. Отжим осуществляется при включении приводу долбяка електромагнитом 2 через систему рычагов і тяг. При заедании тормоза в заторможенном состоянии (или при выходе из строя електромагнита тормоза) привід долбяка не може быть включен, так как разрешение на увімкнення двигуна головного руху дается конечным выключателем 3, контролирующим действительное перемещение рычага 4 отжима тормоза.

В правой частини долбежной головки смонтирован механізм поворота долбежной головки (рисунок 5.7). Поворот осуществляется вручную через прямозубую передачу, червячную передачу і передачу зубчатое колесо-сектор. Отсчет угла поворота производится по лимбу 1 (рисунок 5.6). При повороте необходимо предварительно отпустить болты.

Во избежание отвала головки при отпускании болтов введен поджим головки тарельчатыми пружинами 3. Гайку 4 следует отвинчивать до касания з гайкой 5.

В ступице зубчатого блока головного приводу смонтирован клиновой механізм для устранения зазору в передаче реечная шестерня-рейка (рисунок 5.7). Он работает следующим образом: при вращении втулки 1 получает поступательное перемещение тяга 2 і тяга 3 з клиновым концом. Усилие через клиновой палец (рисунок 5.7. поз.4) і сухарь 5 передається на поворотную часть двойной шестерни.

К торцам долбяка і долбежной головки крепятся маслосборники. Сбоку, в нише корпуса головки, смонтирован узел змазки.

Специальное тормозное пристрій 6 (рисунок 5.6) предотвращает падение долбяка при отказе електроблокировок. Сверху на головке смонтирован датчик вертикального положения головки, а сбоку индикатор 7 (рисунок 5.6), по которому определяется ето положение.

Каретка

Корпус каретки коробчатой формы з внутренними ребрами жесткости представлен на рисунке 5.10, 5.11.

Корпус имеет привалочную плоскость з Т-образными пазами для крепления долбежной головки і плоские направляющие для переміщення по стойке.

На торцах направляючих каретки установлены скребки для очистки направляючих от грязи. Сверху каретки со стороны направляючих установлен кронштейн крепления гайки переміщення каретки. На привалочной плоскости расположены ось поворота долбежной головки і зубчатый сектор механізма поворота.

Зажим каретки в рабочем положении осуществляется автоматически четырьмя гідрозажимами, а также двумя поджимными планками.

Стол

Стол верстата состоит из салазок і поворотной планшайби і предназначен для установки і закрепления на нем обрабатываемой детали (рисунок 5.12).

Салазки представляют собой корпусную деталь, имеющую нижние плоские направляющие для переміщення по поперечине і верхние круговые направляющие, на которые опирается планшайба.

Конструкція салазок обеспечивает высокую статическую і динамическую жесткость, высокую і равномерную точность направления.

Для предохранения от опрокидывания салазок служат прижимные планки, закрепленные знизу по обеим сторонам вдоль направляючих.

Снизу салазок установлен кронштейн крепления гайки, по торцам - скребки, предотвращающие попадание стружки і грязи под направляющие.

Винт і разрезная гайка служат для поперечного переміщення стола.

В расточках салазок помещен червяк, передающий вращение на червячную шестерню обертання планшайби. С червяком жестко связан механізм деления 14 (рисунок 5.12). Планшайба стола представляет собой деталь, имеющую верхнюю рабочую поверхность і две нижние круговые направляющие. Для крепления обрабатываемых изделий на рабочей поверхности планшайби стола имеются Т-образные пазы.

Для центрирования деталей обертання на столе верстата в планшайбе имеется посадочное цилиндрическое отверстие, прикрытое крышкой. К низу планшайби крепится приводная червячная шестерня.

Вращение планшайби осуществляется относительно оси з регулируемым роликовым подшипником.

Через поджимные планки, прикрепленные к верхним салазкам предохраняют планшайбу от опрокидывания при работе.

Зажим планшайби і салазок в рабочем положении осуществляется гідрозажимами.




Коробка подач стола

Предназначена для приводу стола в продольном і поперечном направлениях. Две коробки крепятся соответственно на торцах станины і поперечини (рисунок 5.13). Привід осуществляется от асинхронного електродвигуна, управляемого преобразователем частоти, вращение от которого через червячную передачу передається на ходовой винт.

Величина, направление подачі і установочного переміщення настраивается дистанционно на підвісному пульті керування.

Коробка подач планшайби

Обеспечивает установочное вращение планшайби і периодическую подачу при долблении.

Вращение і периодическая подача планшайби осуществляются от асинхронного електродвигуна, управляемого преобразователем частоти через шестеренно-червячную передачу і передаются на червячный вал приводу планшайби (рисунок 5.14). Величина, направление подачі і скорости обертання планшайби настраивается дистанционно на підвісному пульті керування.

Редуктор подъема каретки

Редуктор подъема каретки долбежного верстата 7410

Редуктор подъема каретки долбежного верстата 7410

Редуктор подъема каретки долбежного верстата 7410. Дивитись у збільшеному масштабі



Предназначен для переміщення каретки з долбежной головкой по направляющим стойки. Редуктор установлен на верхней плоскости стойки (рисунок 5.15, 5.16). Винт переміщення каретки закреплен в редукторе з помощью гайки, застопоренной штифтом і стопорным кольцом з компенсатором.

Захист направляючих

Телескопическая защита направляючих станины і поперечини состоит из набора гнутых П-образных щитков. Каждый щиток центрируется непосредственно по направляющей з помощью упорных планок. Щитки подгоняются один к другому при помощи компенсационных пластинок.

Захист предохраняет направляющие от стружки, грязи і случайных повреждений.

Пульт керування

Керування верстатом осуществляется з подвесного пульта керування (рисунок 5.2). Список органів керування, сосредоточенных на пульті приведен в таблице 5.1.

Подвеска пульта

Конструкція подвески пульта, представляющая систему двойной шарнирной стрелы, позволяет сохранить любое установленное горизонтальное положение пульта в пределах его зоны переміщення (рисунок 5.16). Перемещение пульта в вертикальном направлении осуществляется механізмом переміщення пульта, расположенным на стойке.

Механізм переміщення пульта

Механізм переміщення пульта состоит из направляющей, по которой перемещается каретка, имеющая четыре направляючих ролика (рисунок 5.18). Внутри направляющей расположен привід переміщення. Привід переміщення осуществляется от реверсивного електродвигуна через червячную передачу і прямозубую шестерню, вращение которой преобразуется з помощью прямозубой рейки, прикрепленной к направляющей в поступательное рух каретки.

Помост

Помост расположен вокруг стола верстата і состоит из трех площадок і ступеней. Перила з передньої стороны выполнены откидными, для удобства установки детали на стол.

Резцедержатель

Предназначен для установки резца сечением 40x63 мм, крепится к нижней плоскости долбяка (рисунок 5.19). Поворотная часть, в которой закрепляется різець, отбрасывается на обратном ходу долбяка встроенным електромагнитом.

Возврат происходит з помощью пружин.

Оправки

Оправки для прорезных резцов сечением 20x30, 16x25 і 12x20 мм, устанавливаются на передньої плоскости долбяка (рисунок 5.20). Поворотная головка, в которой закрепляется різець, отбрасывается на обратном ходу долбяка под действием силы трения резца об обрабатываемую поверхность. Возврат происходит з помощью пружин.





Налаштування верстата

Под налаштуванням верстата подразумевается установка длины ходу долбяка, установка швидкостей робочого і обратного ходов долбяка, установка величины подачі, установка режущего инструмента і выбор режима роботи.

Для ориентировочного выбора режимов різання і наиболее полного использования мощности верстата приводится график зависимости зусилля різання на долбяке от скорости різання (см. рисунок 8.1). При етом необходимо учесть, что при обработке пазов ввиду специфичности условий різання не рекомендуется работать з наибольшим тяговым усилием. Наибольшая ширина пазового резца, которым можно обработать паз, определяется в каждом конкретном случае в зависимости от жесткости детали, її крепления, материала, геометрии резца, режимов різання, способа обробки (с оправкой или з резцедержкой) і т.д. Наибольшая ширина резцов при обработке пазов з помощью резцедержки в жестких виробих из серого чугуна і конструкционных сталей (σв=45.. .50 кг/мм2) рекомендуется не более 24-28 мм.

При обработке наружных поверхностей деталей, долбежную головку необходимо опустить, насколько возможно, вниз, з целью уменьшения вылета долбяка. При обработке внутренних поверхностей оправками, закрепленными на передньої поверхности долбяка, долбежную головку в зависимости от высоты детали і обрабатываемой поверхности требуется устанавливать над обрабатываемой деталью. Внутреннюю поверхность наибольшей длины возможно обработать только при крайнем верхнем положении долбежной головки.

При работе оправками вследствие их относительной нежёсткости по сравнению з долбяком, наибольшее усилие різання, развиваемое верстатом, не може быть реализовано. Реализуемое усилие зависит от размера оправки, геометрии і типа резца, свойств материала детали і режущей частини резца і др. факторов.


Регулювання

В процессе експлуатации верстата возникает необходимость в регулировании окремих механізмов верстата з целью восстановления их нормальной роботи.

Регулювання зазору в направляючих долбежной головки производится з помощью клина 8 (рисунок 5.6). Для регулировки необходимо ослабить фланец 10, отвернуть стопорный винт 9 і вращая винт 11, переместить клин. Зазор между направляющими долбяка і корпуса должен быть в пределах 0,02 мм. После регулировки зажать фланец 10 і ввернуть стопорный винт 11.

Регулювання тормоза долбежной головки

При износе фрикционных накладок на тормозных колодках рычаг 4 (рисунок 5.9) в заторможенном состоянии тормоза отходит до ограничителя 5 і електромагнит не в состоянии отжать тормоз, т.е. при износе колодок привід долбяка блокируется. В етом случае восстановление нормальной роботи тормоза осуществляется в следующем порядке: снимаются крышки 12 і 13 (рисунок 5.6), вынимается палец 6 (рисунок 5.9), рычаг 4 выводится из паза наконечника 7, отпускается стопорный винт 8, наконечник 7 отворачивается на 2 оборота і в етом положении стопорится. После етого рычаг 4 заводится в паз наконечника 7, палец 6 ставится на место і стопорится. Такую регулировку допускается производить не более 2-х раз, затем требуется смена колодок тормоза. Замена тормозных колодок осуществляется в следующем порядке: снимается двигатель головного привода, отворачиваются болты 9 (рисунок 5.9), вынимаются пальцы 10, снимается пружина 11. Колодки 12 по поверхности тормозного барабана перемещаются к тяге тормоза, откуда их легко извлечь. Новые тормозные колодки устанавливаются в порядке, обратном их снятию.

После етого производится регулировка тормоза: наворачиванием наконечника 7 і подгонкой компенсатора 13 рычаг 4 выставляется в положение, при котором отход якоря магнита составляет 21 мм при зажатом тормозе (магнит обесточен). Затем в расторможенном состоянии (сердечник електромагнита втянут), проверяется зазор между колодками і тормозным барабаном. Он должен быть 0,5 мм. Ход тяги 18 должен быть 1,6 мм (регулируется гайкой 19 і втулкой 20), ход тяги 17 должен быть 1,4 мм (регулируется гайками 15). При етом условии обеспечивается одинаковый зазор на обоих колодках тормоза. Следует также убедиться, что в расторможенном состоянии тормоза винт 22 нажимает на конечный выключатель 21. В случае необходимости винт следует отрегулировать. Усилие пружины 1 регулируется втулкой 16, которая стопорится гайкой 14. Усилие должно быть 120 кг, пружина сжата при етом в размер 138 мм.

Регулювання зазору в червячной передаче головного рухух

Регулювання зазору в червячной передаче головного приводу производится при замене изношенного червячного колеса новым, а также по мере увеличения зазору вследствие износа. Признаком увеличенного зазору може служить повышенный стук при реверсе долбяка і частинично - снижение качества обробки поверхностей.

Перед регулировкой необходимо убедиться, что неравномерность бокового зазору в передаче вследствие неравномерного износа колеса не превышает 0,1 мм. В противном случае во избежание заклинивания передачи требуется произвести соответствующую доработку червячного колеса. Регулювання бокового зазору производится на наименее изношенном участке колеса.

Замер і усунення зазору в червячной передаче осуществляется следующим образом: долбежная головка опускается в крайнее нижнее положение, на стол под долбяк устанавливается деревянный брус і долбяк опускается до упора в брус. Снимаются крышки 12, 14, 15, 16, 17 (рисунок 5.6). Тормоз растормаживается путем установки прокладки между упором 5 і рычагом 4 (рисунок 5.9). Гайки 6 (рисунок 5.8) подтянуть до выборки зазору в упорных підшипниках. За верхнюю полумуфту 9 (рисунок 5.8) вал червяка проворачивается в обе стороны на величину люфта (для етой цели используются радиальные отверстия в полумуфте). Люфт, измеренный на наружном диаметре (180 мм) полумуфты 1 (рисунок 5.8) должен быть в пределах 2...4 мм, что соответствует боковому зазору в передаче 0,13...0,25 мм. При измерении люфта необходимо следить, чтобы при повороте вала червяка червячное колесо оставалось неподвижным, иначе будет замерен суммарный зазор в червячной і реечно-шестеренной передачах. Чтобы точно определить момент начала поворота червячного колеса, необходимо, предварительно сняв крышку 7 (рисунок 5.7) прикрепить к торцу вала 6 рычаг-планку (для етой цели используется резьбовое отверстие в торце вала) і з помощью индикатора, закрепленного на фланце 8, следить за смещением етого рычага.

Для уменьшения зазору червяк 4 (рисунок 5.8) требуется сместить в осевом направлении вниз, в сторону тонких витков.

Величина припуска, снимаемого з компенсаторных полуколец 2, определяется по формуле:


А = 1,95(С-1),


где А - величина снимаемого припуска мм; С - люфт в передаче, измеренный на наружном диаметре полумуфты 1, мм.

Для извлечения компенсаторов гайки 5 сворачиваются вверх. Гайкой 3 червяк перемещается вверх до момента, когда возможно извлечь полукольца 2. С полуколец снимается припуск, рассчитанный по вышеуказанной формуле, затем они ставятся на место і поджимаются гайкой 3. Затем гайками 5 червяк перемещается до упора в гайку 3, і в етом положении гайки 5 стопорятся. Допускается за все регулировки снять з полуколец 2 припуск 30 мм.

Регулювання зазору в реечно-шестеренной передаче приводу долбяка

Признаки увеличенного зазору те же, что указаны в предыдущем разделе. Перед регулировкой необходимо убедиться, что неравномерность бокового зазору в передаче вследствие неравномерного износа реек і реечной шестерни не превышает 0,1 мм на всей длине ходу. В противном случае, во избежание заклинивания передачи, требуется произвести соответствующую доработку реек і реечной шестерни. Определение величины зазору можно производить з помощью рычага, закрепленного на торце вала 6 (рисунок 5.7) і индикатора, закрепленного на фланце 8, так же, как при определении зазору в червячной паре.

Регулювання зазору осуществляется в следующем порядке: долбяк устанавливается в нижнее положение, при котором совпадают оси гайки 1 (рисунок 5.7) і одного из трех отверстий во фланце 8. Затем ключом з наружным шестигранником поворачивается гайка 1 механізма выборки зазору против часовий стрелки до упора і отпускается на 0,5 оборота. Максимально допустимый зазор 0,2 мм, минимально допустимый зазор 0,12 мм. Уменьшение зазору происходит при вращении гайки 1 против часовий стрелки. Один оборот гайки соответствует уменьшению зазору на 0,22 мм. Запрещается осуществлять выборку зазору в реечно-шестеренной передаче в среднем і в близких к нему положениях долбяка по отношению к реечной шестерне, т.к. из-за неравномерной выработки зубьев по длине долбяка може произойти их заклинивание или поломка в крайних положениях долбяка, где износ зубьев меньше. Необходимо помнить, что для возможности поворота шестерни 10 (рисунок 5.7) при выборке зазору она не должна быть затянута гайками 11. Гайки 11 заворачиваются до упора, і затем отпускаются на 0,1 оборота (36°). Поджим шестерни 10 должен обеспечиваться только тарельчатыми пружинами.

Регулювання зазоров в підшипниках производится подтяжкой гаек і под-шлифовкой компенсаторов. Радиальный зазор в подшипнике 12 (рисунок 5.7) регулируется осевым смещением підшипника по конической шейке вала (конусность 1... 12) з помощью стакана 13.

Регулювання зазору в конических осях оправок і резцовой головки

Резцедержатели оправок і резцовой головки должны свободно, но без ощутимого люфта качаться на своих осях і плотно ложиться на зуб і опорную площадку. Щуп 0,03 мм не должен заходить в стыки. Регулювання зазору между конической осью і резцедержателем оправок (рисунок 5.20) производится осевым смещением конической оси з помощью болтов 1, ввернутых в торцы оси. В резцовой головке (рисунок 5.19) ето смещение производится гайками 1,2; при етом предварительно необходимо разжать ось, зажатую по цилиндрическим шейкам специальными зажимами 3.

Регулювання механізмів стола

Регулювання осьового зазору в гайках ходовых винтов станины і поперечини осуществляется подшлифовкой компенсаторных полуколец 1 (рисунок 5.4), упорные підшипники ходовых винтов подтягиваются гайками 2.

Перед регулировкой необходимо убедиться, что неравномерность зазору вследствие неравномерного износа гвинта не превышает 0,1 мм на всей длине. В противном случае, во избежание заклинивания гайки, требуется произвести соответствующую доработку гвинта. Зазор в боковых направляючих регулируется клиньями 1 (рисунок 5.5) з помощью гаек 2 і 3. Для регулировки необходимо, вставив ключ з наружным шестигранником в гайку 2, отвернуть її примерно на 1/3 оборота, продвинуть ключ в гайку 3, і вращая обе гайки вместе, переместить клин. После регулировки зажать гайку2. Клинья имеют уклон 1...100. Допустимый зазор между направляющими 0,02.. .0,03 мм.

Регулювання зазору радиального двухрядного підшипника обертання планшайби производится осевым переміщенням втулки 1 (рисунок 5.12) з помощью фланца 2 і гайки 3.

Величина осьового смещения внутреннего кольца підшипника определяется по формуле:


В = К · (Ао - А + 0,01),


где Ао - имеющийся радиальный зазор в подшипнике в мм;

А - требуемый рабочий зазор в мм; А=0.. .0,005 мм.

К - коеффициент. К=16,5.

Гайка 3 отвинчивается от внутреннего кольца підшипника на рассчитанную по указанной формуле величину і прижимается затем к нему фланцем 2. Регулювання рычажных зажимов планшайби осуществляется поджимом гайки 4 і гвинта 5.

ВНИМАНИЕ! Во избежание уменьшения зусилля зажиму рекомендуется периодически, сначала 1 раз в месяц, а через полгода експлуатации 1 раз в три месяца контролировать ход штока всех гідроцилиндров зажима. Ход не должен превышать 1,5...2мм. При увеличенном ходе (что свидетельствует о снижении зусилля зажима) необходимо:

  1. Отжать рычаг, подав в цилиндр давление масла.
  2. Отвинтить винт 5 на 2..3 оборота.
  3. Поджать гайку 4 на шпильке рычага і законтрить винтом.
  4. Завернуть винт 5 до упора в шток цилиндра і законтрить.
  5. Включить 3-5 раз зажим і отжим планшайби, і після етого по перемещению кінця рычага измерить величину ходу штока цилиндра, при необходимости винтом 5 ход довести до указанных пределов, після чего винт законтрить.

Регулювання механізмів каретки

Регулювання поджимных роликов каретки производится гвинтами 1 (рисунок 5.11), которые необходимо завернуть на 1,5 оборота от начала сжатия тарельчатых пружин.

Регулювання рычажных зажимов производится так же, как в столе. Зазор между направляющими стойки і каретки регулируется переміщенням клина (уклон 1.. .100) з помощью гаек 5 і 6 (рисунок 5.11) таким же образом как описано в разделе регулювання механізмов стола. Зазор не должен превышать 0,02...0,03 мм.





Особливості разборки і сборки верстата при ремонтi

Перед разборкой верстата его необходимо отключить от електросети рукояткой 43 (рисунок 5.1) на шкафу станції керування.

Разборку долбежной головки рекомендуется вести в следующей післядовательности:

  1. Отсоединить електрокоммуникации.
  2. Демонтировать долбяк.
  3. Снять електродвигатель головного привода.
  4. Снять долбежную головку з каретки.
  5. Демонтировать тормоз, для чего освободить тяги 17 і 18 (рисунок 5.9), снять фланец, затем вывести тяги і снять колодки вместе з рычагами з их осей.
  6. Демонтировать шестерню (рисунок 5.8).
  7. Демонтировать вал червяка 8 (рисунок 5.8)
  8. Демонтировать червячное колесо і реечную шестерню. При сборке порядок монтажа обратный указанному. Гайки 11 (рисунок 5.7) не должны быть затянуты до упора. После сборки обязательно настроить механізм установки длины ходу долбяка.

Демонтаж каретки рекомендуется вести в следующей післядовательности:

  1. Демонтировать рычаги зажиму каретки 8 (рисунок 5.11).
  2. Опустить каретку до жесткого упора.
  3. Отсоединить редуктор подъема каретки.
  4. Вывинтить винт подъема каретки 8.
  5. Демонтировать роликовые поджимы 1.
  6. Демонтировать маслосборные желоба на верхней плоскости каретки, скребки, клин.
  7. Зачалить і приподнять каретку краном.
  8. Демонтировать поджимные планки 9.

При сборке порядок монтажа обратный указанному. При установці редуктора подъема обязательно обратить внимание на правильность установки стопорных винтов 3 (рисунок 5.11) і стопорного кольца 4.

Демонтаж стола рекомендуется вести в следующей післядовательности:

  1. Демонтировать помост.
  2. Отсоединить електро- і гідрокоммуникации.
  3. Демонтировать планку 9 (рисунок 5.12) з датчиком перемещений 8.
  4. Отсоединить фланец 4 (рисунок 5.5) от кронштейна стола.
  5. Вывести гайки ходового гвинта из кронштейна 10 (рисунок 5.12).
  6. Отсоединить поджимные планки і камерные зажимы, снять клин.
  7. Снять стол з направляючих поперечини.
  8. Демонтировать планшайбу, для чего необходимо предварительно снять поджимные планки, рычаги зажиму і датчик точного поворота 11 (рисунок 5.12). Затем отсоединить планшайбу от червячного колеса, ослабить натяг втулки 1 підшипника оси поворота і снять планшайбу. При сборке порядок монтажа обратный указанному.

Демонтаж поперечини следует вести в такой післядовательности:

  1. Отсоединить електро- і гідрокоммуникации.
  2. Демонтировать планку 6 (рисунок 5.5) з датчиком перемещений 7.
  3. Отсоединить фланец 3 (рисунок 5.4).
  4. Вывести гайки ходового гвинта из кронштейна 5 (рисунок 5.5).
  5. Отсоединить поджимные планки і камерные зажимы, снять клин.
  6. Снять поперечину з направляючих станины.

При сборке порядок монтажа обратный указанному. Порядок разборки остальных вузлів верстата ясен из приводимых в настоящем руководстве материалов.


Настановне креслення долбежного верстата 7410

Схема внешних з'єднань долбежного верстата 7410

Схема внешних з'єднань долбежного верстата 7410

Схема внешних з'єднань долбежного верстата 7410. Дивитись у збільшеному масштабі



Настановне креслення долбежного верстата 7410

Настановне креслення долбежного верстата 7410

Настановне креслення долбежного верстата 7410. Дивитись у збільшеному масштабі


Креслення фундамета долбежного верстата 7410

Креслення фундамета долбежного верстата 7410

Креслення фундамета долбежного верстата 7410. Дивитись у збільшеному масштабі






7410 Верстат долбежный. Відеоролик.




Технічні характеристики долбежного верстата 7410

Наименование параметра 7410 7414
Основні параметри верстата
Класс точності верстата Н Н
Наибольший ход долбяка, мм 1200 1600
Наименьший ход долбяка, мм 300
Расстояние от плоскости стола до нижнего кінця направляючих долбяка, мм 1200 800..1600
Наибольшее расстояние от нижнего кінця направляючих долбяка до торца долбяка, мм 600 800
Расстояние от долбяка до станины (вылет), мм 1150 1400
Наибольшая высота обрабатываемого вироби при обработке наружной поверхности, мм
Наибольшая высота обрабатываемого вироби при обработке внутренней поверхности, мм
Наибольшая масса обрабатываемого вироби, кг 6000 12000
Долбежная головка верстата (долбяк)
Наибольшее перемещение долбяка в пределах рабочей зоны, мм 600
Наибольший угол поворота долбяка в направлении поздовжньої подачі, град ±10° ±10°
Наибольшее сечение резца, мм 63 х 40 63 х 40
Скорость долбяка под нагрузкой, м/мин 2..30 2..30
Скорость долбяка при обратном ходе, м/мин 2..40 2..40
Наибольшее усилие різання, кгс 6000 6000
Рабочий стол верстата
Диаметр рабочей поверхности стола, мм 1250 1600
Наибольшие переміщення стола продольные (по направляющим станины), мм 1400 1800
Наибольшие переміщення стола поперечные (по направляющим салазок), мм 1000 1250
Наибольшие переміщення стола круговые, град 360° 360°
Цена деления лимба при продольном і поперечном перемещении стола, мм
Перемещение стола за оборот лимба при продольном і поперечном перемещении стола, мм
Цена деления лимба при круговом перемещении стола, град
Перемещение стола за оборот лимба при круговом перемещении стола, град
Пределы подач за один двойной ход продольные, мм/дв.ход 02..10 02..10
Пределы подач за один двойной ход поперечные, мм 02..10 02..10
Пределы подач за один двойной ход круговые, град
Скорость швидкого переміщення стола продольная, мм/мин 10..1600 10..1600
Скорость швидкого переміщення стола поперечная, мм/мин
Скорость швидкого переміщення стола круговая, об/мин
Електроустаткування. Привод
Количество електродвигателей на станке
Електродвигун гідроприводу (головного руху), кВт (об/мин) 42(1500) 42(1500)
Електродвигун приводу переміщення стола в продольном і поперечном направлении, кВт (об/мин) 2,8 х 2 (1500) 4,8 х 2 (1500)
Електродвигун приводу переміщення стола в круговом направлении, кВт (об/мин) 2,8 (1500) 2,8 (1500)
Електродвигун приводу переміщення долбежной головки, кВт (об/мин) 5,2 (1350) 5,2 (1350)
Електродвигун приводу насоса змазки долбежной головки, кВт (об/мин) 0,27 (1440) 0,27 (1440)
Електродвигун приводу переміщення пульта, кВт (об/мин) 0,5 (1410) 0,4 (1410)
Електродвигун приводу насосной установки, кВт (об/мин) 1,5 (950) 1,5 (950)
Електродвигун приводу генератора, кВт (об/мин) 30 (1460) 30 (1460)
Генератор живлення електродвигуна приводу долбяка, кВт (об/мин) 55 (1450) 50 (1450)
Электромашинный усилитель живлення обмоток возбуждения генератора, кВт (об/мин) 1,2 (2900) 2 (3000)
Электромашинный усилитель приводу стола, кВт (об/мин) 7 (2920) 7 (2920)
Мощность преобразовательных агрегатов, кВт 38,2
Суммарная мощность всех електродвигателей, кВт 58,6
Габарити і масса верстата
Габарити верстата (длина ширина высота), мм 6070 х 4335 х 5300 7000 х 5100 х 6500
Масса верстата, кг 30000 38000


    Список литературы:

  1. Аврутин Р.Д. Справочник по гідроприводам металлорежущих верстатів,1965
  2. Гинсбург Е.Г. Производство зубчатых колес, 1978
  3. Калашников А.С. Технология изготовления зубчатых колес, 2004
  4. Копылов Р.Б. Работа на строгальных і долбежных верстатах, 1975
  5. Мильштейн М.З. Нарезание зубчатых колес, 1972.
  6. Овумян Г.Г., Адам А.И. Справочник зубореза, 1983.
  7. Сильвестров Б.Н., Захаров И.Д. Конструкція і наладка зуборезных і резьбофрезерных верстатів, 1979.
  8. Шавлюга Н.И. Расчет і примеры наладок зубофрезерных і зубодолбежных верстатів, 1978.
  9. Яковцев А.Д. Работа на строгальных і долбёжных верстатах, 1966









Подумай о своём будущем: положи сто рублей в карман зимней куртки.