metalinstryment.com
Довідник по металорізальних верстатів та пресовому обладнанні

6Л463 Верстат гравировальный копировально-фрезерный з пантографом
руководство, схеми, опис, характеристики

6Л463 Загальний вигляд  гравировального копировально-фрезерного верстата з пантографом







Відомості про виробника гравировального копировально-фрезерного верстата 6Л463

Производитель гравировального копировально-фрезерного верстата 6Л463 - Львовский завод фрезерных верстатів, ОсДО, основанный в 1952 году.





Верстати, выпускаемые Львовским заводом фрезерных верстатів, ЛЗФС


6Л463 Верстат гравировальный копировально-фрезерный з пантографом. Назначение, область применения

Гравировальный копировально-фрезерный верстат 6Л463 предназначен для выполнения гравировальных і мелких копировально-фрезерных работ в контурном режиме.

На станке 6Л463 можно производить гравирование надписей і узоров на штемпелях, табличках, платах, панелях, надписей на лимбах, линейках, а также фрезерование неглубоких пресс-форм для пластмассы, резины і т.д. Возможность роботи на станке по контршаблону позволяет при помощи плоского копира производить гравирование различных надписей і узоров на пространственно сложных поверхностях.

Закрепив нерухомо шпиндель при помощи специального кронштейна, на станке можно производить фрезерные роботи, перемещая вручную стол вироби. Рух копирования на станке осуществляется вручную переміщенням трейсера ощупывающего пристроя по контуру копира.

Копировально-фрезерный верстат 6Л463 може быть оснащен широкой гаммой пристосувань і приладдя, расширяющих его технологические возможности: для построения дуг, окружностей, і овалов, для закрепления табличек при гравировании, делительным пристрійм, тисками, поворотными тисками, наклонно-поворотным столом, буквенным і цифровыми шаблонами, пристрійм для заточки гравировальных резцов і др.

Работа по контршаблону при помощи плоского копира позволяет производить гравирование различных надписей і узоров на пространственно сложных поверхностях.

Рух копирования на станке осуществляется вручную переміщенням трейсера ощупывающего пристроя по контуру копира.

Верстат 6Л463 може применяться в механических, механосборочных і инструментальных цехах машиностроительных предприятий.

Класс точності верстата Н по ГОСТ 8—77. Шероховатость обработанной поверхности Rа 2,5 мкм.

Средний уровень звука LA не должен превышать 71 дБА.


Основні характеристики гравировального копировально-фрезерного верстата 6Л463

Производитель: Львовский завод фрезерных верстатів ЛЗФС.


Габаритные розміри робочого простору гравировального верстата 6Л463

6Л463 Габаритные розміри робочого простору гравировального верстата

Габаритные розміри робочого простору верстата 6Л463


Загальний вигляд копировально-фрезерного гравировального верстата 6Л463

6Л463 Загальний вигляд  гравировального верстата

Фото гравировального верстата 6л463


6Л463 Загальний вигляд  гравировального верстата

Фото гравировального верстата 6л463


6Л463 Загальний вигляд  гравировального верстата

Фото фрезерного верстата на базе 6л463


6Л463 Загальний вигляд  гравировального верстата

Фото гравировального верстата 6л463


Розташування складових частин гравировального верстата 6Л463

6Л463 Розташування складових частин гравировального верстата 6Л463

Розташування складових частин гравировального верстата 6л463


Список складових частин гравировального верстата 6Л463


Розташування органів керування гравировальным верстатом 6Л463

6Л463 Органы керування гравировальным верстатом

Розташування органів керування гравировальным верстатом 6л463


Список органів керування гравировальным верстатом 6Л463

  1. Рукоятки зажиму кареток установки масштабов копирования пантографа
  2. Трейсер (ощупывающий палец) ощупывающего пристроя
  3. Эксцентрик регулировки натяжения ремней привода
  4. Гайка зажиму стола копира
  5. Рукоятка вертикального переміщення шпинделя
  6. Выключатель местного освещения
  7. Маховик продольного переміщення стола вироби
  8. Рукоятка зажиму стола вироби в продольном направлении
  9. Рукоятка зажиму стола вироби в поперечном направлении
  10. Маховик вертикального переміщення стола вироби
  11. Маховик поперечного переміщення стола вироби
  12. Рукоятка зажиму стола в вертикальном направлении
  13. Кнопка «Стоп»
  14. Переключатель направления обертання шпинделя
  15. Кнопка "Пуск" (КиП)




Кінематична схема гравировального верстата 6Л463

6Л463 Кінематична схема гравировального верстата 6Л463

Кінематична схема гравировального верстата 6л463


Опис вузлів гравировального верстата 6Л463

Гравировальный копировально-фрезерный верстат з пантографом моделі 6Л463 выполнен в виде одноколонной конструкції з вертикальной осью шпинделя і горизонтальным расположением столов вироби і копира.

Станина снабжена вертикальными направляющими, по которым перемещается консоль, несущая рабочий стол верстата. Относительно консоли рабочий стол може перемещаться в продольном і поперечном направлениях. На верхних горизонтальных направляючих станины устанавливается каретка, несущая пантограф і стол копира.

Пантограф верстата выполнен в виде легких рычагов і служит только для передачи руху от трейсера к шпинделю.

Шпиндель верстата монтируется в специальном кронштейне, связанном при помощи рычагов со станиной.

В качестве приводу обертання шпинделя используется електродвигатель і ременная передача. Изменение скорости обертання шпинделя производится при помощи ступенчатых шкивов.


Общая компоновка і принцип роботи верстата 6Л463

Компоновка верстата характеризуется вертикальным расположением шпинделя і горизонтальным расположением рабочих поверхностей столов.

Вузли верстата смонтированы на жесткой станине. По вертикальным направляющим станины перемещается консоль, несущая на себе салазки і стол вироби. По горизонтальным направляющим станины перемещается стойка пантографа. На станине закреплены подвеска і привід шпинделя.

Обрабатываемая деталь закрепяяется на cтоле вироби, а копир, по которому ведется обработка, закрепляется на столе копира. Формообразующими рухуми є переміщення пантографа. Перемещения столов - установочные.


Станина

Станина і основа є основними корпусными деталями, на которых монтируются вузли верстата.

На левой стенке станины имеются вертикальные направляющие, по которым перемещается консоль со столом вироби.

На задньої стенке станины устанавливается кронштейн, удерживающий рычаги шпинделя і привода. Кроме етого на задньої стенке устанавливается електродвигатель привода, а в нише монтируется електроаппаратура.


Стол копира

Стол копира 10 (Pиc.10) предназначен для установки копиров, по которым ведется обработка. Стол копира установлен на стойке пантографа. Поворот стола вокруг вертикальной оси осуществляется вручную. Установка величины угла разворота стола копира осуществляется по лимбу, фиксация - рукояткой. Стол копира снабжен пазами типа "ласточкин хвост", которые служат для установки шрифта. Кроме етого в нем имеется Т-образные пазы, которые могут быть использованы для установки различных пристосувань. Стойка вместе со столом копира і пантографом може перемещаться по горизонтальным направляющим станины, что позволяет установить шпиндель в пределах плоскости стола вироби при различных масштабах копирования. Фиксация стойки осуществляется двумя болтами.


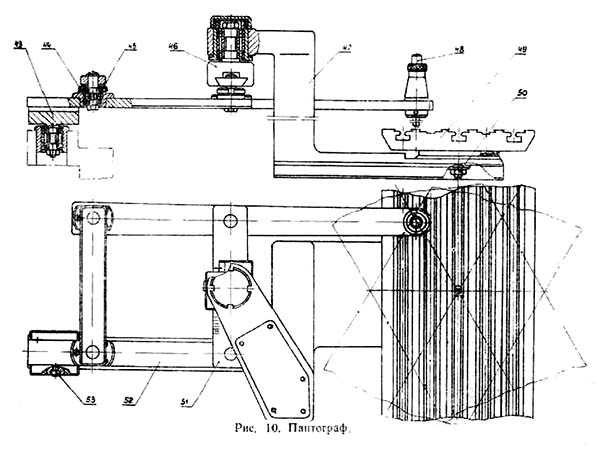
Пантограф

Пантограф (Рис.10) осуществляет на станке копирующее движение. Копирование з помощью пантографа (шарнирного параллелограмма) построено на принципе геометрического подобия треугольников і осуществляется по нижеприведенной схеме;

6Л463 Пантограф гравировального верстата 6Л463

Пантограф гравировального верстата 6л463

Пантограф гравировального верстата 6л463. Дивитись у збільшеному масштабі



Копирующее рух на станке осуществляется шарнирным четырехзвенным-пантографом (рис. 10). При помощи кареток 43, 46, имеющих пазы типа «ласточкин хвост», пантограф соединен з корпусом шпинделя і з кареткой 47. Шарнирные соединения пантографа і подвеска кареток 43, 46 собраны на радиально-упорных підшипниках з предварительным натягом, что увеличивает жесткость і точность пантографа. Изменение передаточного отношения пантографа (масштаба копировании) производится переміщенням кареток вдоль плеч 51, 52 пантографа, на которых нанесены деления. Трейсер (ощупывающий палец) 48 скользит в отверстии головки і з помощью пружины прижимается к шаблону. Трен-сер, в зависимости от высоты шаблона, устанавливается на различной высоте от плоскости стола копира. Стол копира 49 устанавливается на плоскости каретки 47. Относительно каретки стол може быть повернут под любым углом в пределах ±30°, или развернут па 90. Стол снабжен пазами типа «ласточкин хвост», которые служат для установки шрифта. Кроме етого в нем имеются Т-образные пазы, которые могут быть использованы для установки различных пристосувань. Каретка вместе з пантографом і столом копира може устанавливаться в различных положениях на станине, перемещаясь по її верхним направляющим. Это позволяет установить шпиндель в пределах плоскости стола вироби при различных масштабах копирования.





Налаштування, наладка гравировального верстата 6л463

Приступая к работе на станке необходимо

1. Установить масштаб копирования: для етого необходимо отжать винты 53 (Рис.10) крепления кареток к пантографу і установить обе риски так, чтобы они совпали з соответствующими рисками масштаба, нанесенными на плечах 51, 52 пантографа і зажать оба гвинта 53.

Для получения масштаба копирований, не указанного на плечах, необходимо пользоваться формулой:


х = 300-(300/М); у = 107,5 (М-1) / (М=1)


где М — масштаб копирования (отношение размеров копира к размерам детали).

х — расстояние от риски, соответствующей масштабу копирования 1:1 на плече 52 до риски на передвигаемой каретке 43.

у - расстояние от риски, соответствующей масштабу копирования 1:1 на плече 51 до риски на каретке 46.

Пример:

Необходимо получить масштаб уменьшения 1:1,2.


х = 300 - 300 / 1,2 = 50 мм


Следовательно, откладываем от отметки "1" на плече 52 отрезок 50 мм і устанавливаем в ету точку риску каретки.


у = 107,5 (М-1) / (М+1) =107,5 (1,2 -1) / (1,2+1) = 9,77 мм


Таким же образом откладываем от отметки «1» на правом плече 51 отрезок 9,77 мм і устанавливаем в ету точку риску каретки 46.

Чтобы трейсер при изменении масштаба копирования не вышел за пределы стола копира, післядний може быть повернут вокруг оси, в пределах ±30°. В случае необходимости стол копира може поворачиваться на 90°. Для етого необходимо отвернуть гайку 50 і поднять стол так, чтобы шпилька вышла из отверстия каретки. Затем, повернуть стол на 90° і собрать все в обратном порядке. 2. На столе копира установить і зажать шаблон, а на столе вироби заготовку детали.


2. На столе копира установить і зажать шаблон, а на столе вироби - заготовку детали.


3. Вставить в шпиндель режущий инструмент. При гравировальных работах необходимо обеспечить определенное давление трейсера (ощупывающего пальца) на шаблон. Это достигается за счет установки трейсера на необходимой высоте.


4. На столе вироби установить деталь і выставить її относительно режущего инструмента.

Установка заготовки производится переміщенням стола вироби в продольном і поперечном направлениях.

Грубая установка заготовки по высоте также производится переміщенням стола изделии. Точная налаштування глубины обробки осуществляется рукояткой шпинделя.


5. Режими обробки (скорость різання, число оборотів, подача) в каждом случае устанавливаются і зависимости от обрабатываемого материала і материала инструмента.


Стол вироби

Стол вироби (рис. 11) предназначен для закрепления на нем обрабатываемых деталей. На столе также могут устанавливаться тиски или наклонно-поворотный стол.

Стол вироби може перемещаться вручную в трех взаимно перпендикулярных направлениях.


Схема електрична принципова гравировального верстата 6Л463

Схема електрична принципова гравировального верстата 6Л463

Електрична схема гравировального верстата 6л463


Настановне креслення гравировального верстата 6Л463

6Л463 Настановне креслення гравировального верстата

Настановне креслення гравировального верстата 6Л463




6Л463 Верстат гравировальный копировально-фрезерный з пантографом. Відеоролик.




Технічні характеристики гравировального верстата 6Л463

Наименование параметра 6Л463 6Г463 6Е463
Основні параметри верстата
Масштаб копирования 1:1 ÷ 1:50 1:1 ÷ 1:100 1:1 ÷ 1:100
Диаметр наибольшей окружности пантографа примасштабе 1:1, мм 200 210 210
Розміри рабочей поверхности стола вироби, мм 200 х 320 250 х 500 250 х 500
Розміри рабочей поверхности стола копира, мм 250 х 400 320 х 400 320 х 400
Наибольший продольный ход стола (X), мм 200 300 300
Наибольший поперечний ход стола (Y), мм 125 200 200
Наибольший вертикальний ход стола (Z), мм 250 300 300
Перемещение продольное стола (X) на одно деление лимба, мм 0,05 0,05 0,05
Перемещение поперечное стола (Y) на одно деление лимба, мм 0,05 0,05 0,05
Перемещение вертикальное стола (Z) на одно деление лимба, мм 0,025 0,025 0,025
Перемещение продольное стола (X) на один оборот лимба, мм 4 5 5
Перемещение поперечное стола (Y) на один оборот лимба, мм 4 5 5
Перемещение поперечное стола (Z) на один оборот лимба, мм 2,5 2,5 2,5
Поворот стола копира, град ±30° 360° 360°
Величина микрометрического переміщення шпинделя, мм 1 1 1
Цена деления лимба микрометрического переміщення шпинделя, мм 0,05 0,05 0,05
Величина ходу швидкого подвода шпинделя, мм 4 5 5
Величина переміщення шпинделя при работе по контршаблону, мм 10 10
Частота обертання шпинделя, об/мин 1260..15900 1250..20000 1250..20000
Количество швидкостей шпинделя 12 13 13
Електроустаткування і привід верстата
Количество електродвигателей на станке 1 1 1
Електродвигун приводу головного руху, кВт 0,27 0,25 0,25
Габаритные розміри і масса верстата
Габаритные розміри (длина х ширина х высота), мм 1100 х 1000 х 1260 1120 х 1000 х 1260 1040 х 1000 х 1260
Масса верстата, кг 300 260 250

    Список литературы:

  1. Аврутин С.В. Основы фрезерного дела, 1962
  2. Аврутин С.В. Фрезерне дело, 1963
  3. Ачеркан Н.С. Металлорежущие верстати, Том 1, 1965
  4. Барбашов Ф.А. Фрезерне дело 1973, с.141
  5. Барбашов Ф.А. Фрезерные роботи (Профтехобразование), 1986
  6. Блюмберг В.А. Справочник фрезеровщика, 1984
  7. Григорьев С.П. Практика координатно-расточных і фрезерных работ, 1980
  8. Копылов Р.Б. Работа на фрезерных верстатах,1971
  9. Косовский В.Л. Справочник молодого фрезеровщика, 1992, с.180
  10. Кувшинский В.В. Фрезерование,1977
  11. Ничков А.Г. Фрезерные верстати (Библиотека станочника), 1977
  12. Пикус М.Ю. Справочник слесаря по ремонту металлорежущих верстатів, 1987
  13. Плотицын В.Г. Расчёты настроек і наладок фрезерных верстатів, 1969
  14. Плотицын В.Г. Наладка фрезерных верстатів,1975
  15. Рябов С.А. Современные фрезерные верстати і их оснастка, 2006
  16. Схиртладзе А.Г., Новиков В.Ю. Технологическое обладнання машиностроительных производств, 1980
  17. Тепинкичиев В.К. Металлорежущие верстати, 1973
  18. Чернов Н.Н. Металлорежущие верстати, 1988
  19. Френкель С.Ш. Справочник молодого фрезеровщика (3-е изд.) (Профтехобразование), 1978









Заказать

Кто владеет информацией - тот владеет миром.

Натан Ротшильд