metalinstryment.com
Довідник по металорізальних верстатів та пресовому обладнанні

6520Ф3 (ЛТ 260Ф3) верстат фрезерный вертикальний з крестовым столом і ЧПУ
руководство, схеми, опис, характеристики

6520Ф3 Загальний вигляд  бесконсольного фрезерного верстата з крестовым столом







Відомості про виробника фрезерного вертикального бесконсольного верстата 6520Ф3

Производитель фрезерного вертикального бесконсольного верстата 6520Ф3 - Львовский завод фрезерных верстатів, ОсДО, основанный в 1952 году.





Верстати, выпускаемые Львовским заводом фрезерных верстатів, ЛЗФС


6520Ф3 (ЛТ 260Ф3) верстат фрезерный вертикальний з крестовым столом. Назначение, область применения

Бесконсольный вертикально-фрезерный верстат 6520Ф3 з ЧПУ предназначен для фрезерування по программе разнообразных деталей сложной формы преимущественно торцевыми, угловыми і фасонными фрезами в условиях индивидуального і серийного производства.

Основная особенность фрезерного верстата 6520Ф3 заключается в том, что все подачі (продольное і поперечное рух стола і перемещение шпиндельной бабки) в станке осуществляются от гідроцилиндров, управляемых следящей системой. Скорость переміщення стола і шпиндельной бабки задается бесступенчато з пульта или ЧПУ 3-я шаговыми двигунами.

Особливості конструкції фрезерного верстата 6520Ф3

При работе з ручной сменой инструмента на станке 6520Ф3, кроме фрезерування, можно производить сверление, зенкерование, растачивание і развертывание отверстий.

Компоновка верстата характеризуется вертикальным расположением шпинделя і горизонтальным рабочим столом.

Вращение шпинделя осуществляется от асинхронного електродвигуна через 9-скоростную коробку швидкостей і двухступенчатый перебор, смонтированный в шпиндельной бабке. В качестве пристроя числового программного керування на станке используется шагово-импульсная система з шаговыми двигунами.

Формообразующими рухуми є вертикальное перемещение шпиндельной бабки по направляющим стойки (ось Z), продольное перемещение стола по направляющим салазок (ось X), поперечное перемещение салазок по направляющим основания (ось Y). Обработка може вестись по трем координатам одновременно.

Привід подачі для каждой из трех осей представляет собой гідравлическую следящую систему з силовыми гідроцилиндрами і золотниковыми копировальными пристроями і обеспечивает полное отсутствие зазоров в ланцюги подач, а также высокую надежность, долговечность і длительное сохранение точності.

В качестве системы программного керування использована шагово-импульсная система з шаговыми двигунами.

Программа обробки считывается з перфоленты і поступает на шаговые двигатели в виде импульсов, соответствующих перемещению по координатам в 0,01 мм. Шаговые двигатели, вращая задающие винты, преобразуют импульсы программы в линейное перемещение золотника следящей системы, обеспечивая тем самым керування переміщеннями рабочих органів верстата по координатам X, Y,Z.

Кроме того, по программе могут быть отработаны технологические команды: увімкнення і відключення шпинделя, зажим і отжим шпиндельной бабки; увімкнення і вимкнення охлаждения.

На станке имеется готовая електропроводка со штепсельными разъемами для выносного оборудования.

Проектная организация — ОГК Львовского завода фрезерных верстатів.


Основні характеристики фрезерного вертикального верстата з крестовым столом 6520Ф3

Производитель: Львовский завод фрезерных верстатів, ЛЗФС

Основні параметри і розміри согласно ГОСТ 9191-72. Испытание норм точності по ГСТ 9726-72.





Загальний вигляд вертикального бесконсольного фрезерного верстата 6550

6520Ф3 Загальний вигляд  бесконсольного фрезерного верстата з крестовым столом

Фото бесконсольного фрезерного верстата 6520Ф3


6520Ф3 Загальний вигляд  бесконсольного фрезерного верстата з крестовым столом

Фото бесконсольного фрезерного верстата 6520Ф3


Розташування складових частин бесконсольного вертикально-фрезерного верстата 6520Ф3

Розташування складових частин бесконсольного вертикально-фрезерного верстата 6520Ф3

Розташування складових частин вертикально-фрезерного верстата 6520ф3


Список складових частин бесконсольного вертикально-фрезерного верстата 6520Ф3

  1. Основание верстата - 6520Ф3—36.11.00.000
  2. Стойка верстата - 6520Ф3—36.12.00.000
  3. Стол-салазки - 6520Ф3—36.21.00.000
  4. Шпиндельная бабка - 6520Ф3—36.31.00.000
  5. Коробка швидкостей - 6520Ф—3.35.00.000
  6. Бак охлаждения - 6520Ф—3.55.00.000
  7. Винт продольного переміщення - 6520Ф3—36.71.00.000
  8. Винт поперечного переміщення - 6520Ф3—36.72.00.000
  9. Винт вертикального переміщення - 6520Ф3—36.73.00.000
  10. Золотник следящий - 6520Ф3—36.75.00.000
  11. Электрошкаф - 6520Ф3—36.91.00.000
  12. Пульт керування - 6520Ф3—36.92.00.000
  13. Гідростанція - 6520Ф3—36.61.00.000
  14. Пристрій - ЧПУ НЗЗ—1M
  15. Короба внешней електроразводки - 6520Ф3—36.82.00.000

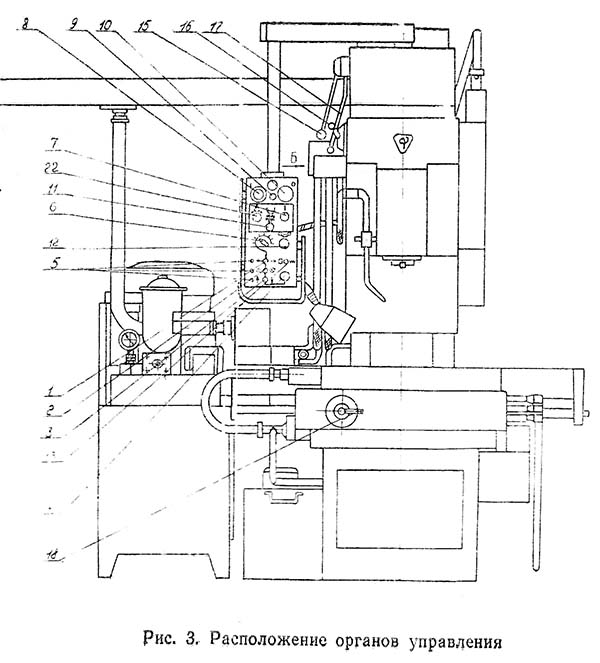
Розташування органів керування бесконсольным вертикально-фрезерным верстатом 6520Ф3

Розташування органів керування бесконсольным вертикально-фрезерным верстатом 6520Ф3

Розташування органів керування бесконсольным вертикально-фрезерным верстатом 6520ф3

  1. ВНХ - Переключатель выбора направления переміщення стола в ручном режиме
  2. BHY - Переключатель выбора направления переміщення салазок в ручном режиме
  3. BHZ - Переключатель выбора направления переміщення бабки в ручном режиме
  4. КнУ - Кнопка "Подача". Увімкнення подачі в ручном режиме
  5. ЛОХ; ЛОУ; ЛОZ - Лампочки индикации выхода подвижных органів: cтола, салазок, бабки в исходное положение (выход в «О»)
  6. BP - Переключатель выбора режима роботи
  7. КнПШ - Кнопка «Пуск шпинделя». Увімкнення приводу шпинделя
  8. КнП - Кнопка «Пуск». Увімкнення гідропривода
  9. ЛГд - Лампочка индикации нормального давления в гідросистеме
  10. КнС - Кнопка «Загальний стоп»
  11. КнСШ - Кнопка «Стоп шпинделя». Відключення приводу шпинделя
  12. КнПП - Кнопка «Пуск программы». Запуск верстата по программе в автоматическом режиме
  13. ВСП Выключатель «Стоп-подача». Прекращение отработки программы без потери информации
  14. Рукоятка переключения частоти обертання шпинделя
  15. Рукоятка переключения частоти обертання шпинделя
  16. Рукоятка переключения частоти обертання шпинделя
  17. Рукоятка лубрикатора змазки направляючих стола і салазок
  18. ВВ - Вводной автомат. Подключение верстата к сети живлення
  19. ВРШ - Переключатель «Реверс шпинделя». Переключення направления обертання шпинделя
  20. КнТ - Кнопка «Толчок шпинделя». Кратковременный проворот шпинделя
  21. КнИ - Кнопка зажиму і разжима инструмента
  22. ЛСЗ - Лампочка индикации. Наличие напряжения живлення в електрошкафу




Кінематична схема бесконсольного вертикально-фрезерного верстата 6520Ф3

Кінематична схема бесконсольного вертикально-фрезерного верстата 6520Ф3

Кінематична схема вертикально-фрезерного верстата 6520ф3

Кінематична схема бесконсольного вертикально-фрезерного верстата 6520Ф3. Дивитись у збільшеному масштабі



Пристрій бесконсольного вертикально-фрезерного верстата 6520Ф3 і его складових частин


Основание верстата

Основание верстата коробчатой формы з перегородками і ребрами жесткости.

Направляющие основания прямоугольного профиля. Крайние направляющие несут вертикальные нагрузки, средняя воспринимает горизонтальные нагрузки.

В верхней частини основания находится цилиндр поперечного переміщення. На основа устанавливается стойка. На боковой поверхности основания находится следящий золотник поперечного переміщення.


Стойка верстата

Стойка верстата коробчатой формы. Внутренняя часть стойки имеет ребра жесткости.

Направляющие стойки прямоугольного профиля, между направляющими установлен цилиндр вертикального переміщення.

На верхней частини стойки установлена коробка швидкостей. на боковой поверхности находится следящий золотник вертикального переміщення.


Стол і салазки (рис.15)

Стол 1 представляет из себя жесткую чугунную отливку, имеющую направляющие типа «ласточкин хвост». На зеркале стола имеются три Т-образных паза для крепления вироби і два крайних для сбора охлаждающей жидкости з післядующим отводом її по наклонному желобу основания в бак. На столе в центре имеется отверстие Ø 36А, служащее для ориентации приспособления или детали относительно оси обертання инструмента.

Стол монтируется на салазках 2, которые в свою очередь монтируются на прямоугольных направляючих основания. Перемещение стола осуществляется гідроцилиндром 3, управляемым следящей системой, состоящей из задающего гвинта 4, установленного на столе, і следящего золотника 5, установленного на салазках.

Перемещение стола по салазкам соответствует перемещению по координате X.

Перемещение салазок осуществляется гідроцилиндром, установленным на основании.

Верхние і нижние направляющие салазок взаимно перпендикулярны. Перемещение салазок по направляющим основания соответствует перемещению по координате Y.

Зазоры в направляючих стола і салазок регулируются клиньями 6 і 7.

На салазках установлена отсчетная линейка 8 продольного ходу стола, используемая при наладке. С правой стороны салазок установлен задающий винт 9 поперечного переміщення стола.

Направляющие стола і салазок смазываются автоматически от лубрикатора 11. Емкость 12 для масла расположена з левой стороны салазок.





Шпиндельная бабка (рис. 6; 7; 8; 9)

Шпиндельная бабка перемещается по направляющим стойки з помощью гідроцилиндра, установленного на стойке.

Благодаря наличию одностороннего штока осуществляется уравновешивание бабки.

Для повышения жесткости при фрезеровании і предотобертання самопроизвольного переміщення бабки при выключенной гідростанції имеется механізм зажиму шпиндельной бабки (рис. 8; разрез В-В).

Зажим бабки осуществляется тарельчатыми пружинами, расположенными в четырех аналогичных цилиндрах, которые смонтированы на задньої стенке шпиндельной бабки. Разжим шпиндельной бабки гідравлический. Керування механізмом зажиму осуществляется по программе.

Масло поступает в нештоковую полость гідроцилиндра. Поршень со штоком, перемещаясь, сжимает тарельчатые пружины 1. При етом винт 2, смещаясь, освобождает прихват 3, которым осуществляется прижим шпиндельной бабки к стойке.

Гайки 4 служат для передачи зусилля зажиму на прихват, а также для регулировки зазору между направляющими стойки і прихватом. При отключении верстата зажим бабки происходит автоматически.

Переключення механической ступени в шпиндельной бабке осуществляется з помощью ручки 1 (рис. 6) механізма переключения швидкостей і вилки 2 (рис. 9), в которую встроен подшипник 2 блока шестерен 1 (рис. 7). Шарик 1 (рис. 9) фиксирует положение блока шестерен на шлицевом валу.

Перебор в шпиндельной бабке вместе з коробкой швидкостей обеспечивает 18 швидкостей в пределах 31,5...1600 об/мин.

В шпинделе размещен механізм зажиму инструмента (рис. 7).

Зажим инструмента осуществляется з помощью тарельчатых пружин 5, разжим — гідравлический. Керування зажимом і разжимом инструмента осуществляется переключателем 22 (рис. 3).

С правой стороны шпиндельной бабки установлен задающий винт вертикального переміщення з шаговым двигателем.

Зазоры в направляючих шпиндельной бабки регулируются, прижимными планками 3 (рис. 6) і клином 4 (рис. 8; разрез Б-Б).

Направляющие шпиндельной бабки смазываются автоматически от лубрикатора, смонтированного в корпусе бабки.


Коробка швидкостей

Коробка швидкостей расположена на верхнем торце стойки і соединена з електродвигуном головного руху з помощью переменной передачи і шкива 8 (рис. 10).

Коробка имеет четыре вала 1, 2, 3 і 4 (рис. 10). На валах I і 3 установлены подвижные блоки шестерен 5 і 6. Переключення механических ступеней осуществляется з помощью ручек 9 і 10 і механізма переключения швидкостей 11 (рис. 11).

Для обеспечения переключения швидкостей используется кнопка «Толчок шпинделя», расположенная на дополнительной і панелі на левой стороне стойки (рис. 3).

Торможение шпинделя осуществляется тормозной електромагнитной муфтой 7, смонтированной на валу 3.

Со шпиндельной бабкой коробка швидкостей соединяется з помощью шлицевого вала.


Золотник следящий (рис. 12)

Золотник следящий является копировальным пристрійм гідравлической следящей системы приводу подачі.

Кинематическая связь между золотником 4 і задающим вином 7 осуществляется ощупывающим пристрійм, представляющим из себя двухплечий рычаг 3, смонтированный на шарикопідшипниках.

Нижнее плечо рычага з помощью шатуна, выполненного в виде плоской пружины 6, шарнирно соединено з золотником. На верхнем плече рычага жестко смонтирован щуп 1 з шарикоподшипником, который контактирует з ниткой задающего гвинта. Прижим робочого щупа к нитке обеспечивается пружиной 5 і щупом 2, установленным на планке 9, закрепленной шарнирно. Г. корпусе следящего золотника смонтированы четыре микропереключателя 10, 11, 12, і 13. Микропереключатели 12, 13 є аварийными. При отклонении золотника от нейтрального положения больше, чем на 3...4 мм, они отключают вращение шагового двигуна в соответствующем направлении.

Два других микропереключателя 10 і 11 работают от упоров 11, 15, расположенных на кронштейне 16 задающего гвинта, і совместно з пристрійм ЧПУ обеспечивают выход рабочих органів напівавтомату в исходное положение (выход в «О»).

Микропереключатель 11, имеющий толкатель з демпфером, дает команду на переход з ускоренной подачі на замедленную, а другой переключатель — команду на остановку в исходном положении (стол слева, салазки на оператора, шпиндельна бабка вверху).





Схема розположення підшибників бесконсольного вертикально-фрезерного верстата 6520Ф3

Схема розположення підшибників бесконсольного вертикально-фрезерного верстата 6520Ф3

Кінематична схема вертикально-фрезерного верстата 6520ф3

Схема розположення підшибників бесконсольного вертикально-фрезерного верстата 6520Ф3. Дивитись у збільшеному масштабі



Принципиальная схема следящего гідроприводу бесконсольного вертикально-фрезерного верстата 6520Ф3

Принципиальная схема следящего гідроприводу бесконсольного вертикально-фрезерного верстата 6520Ф3

Схема следящего гідроприводу фрезерного верстата 6520ф3


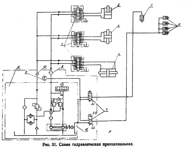
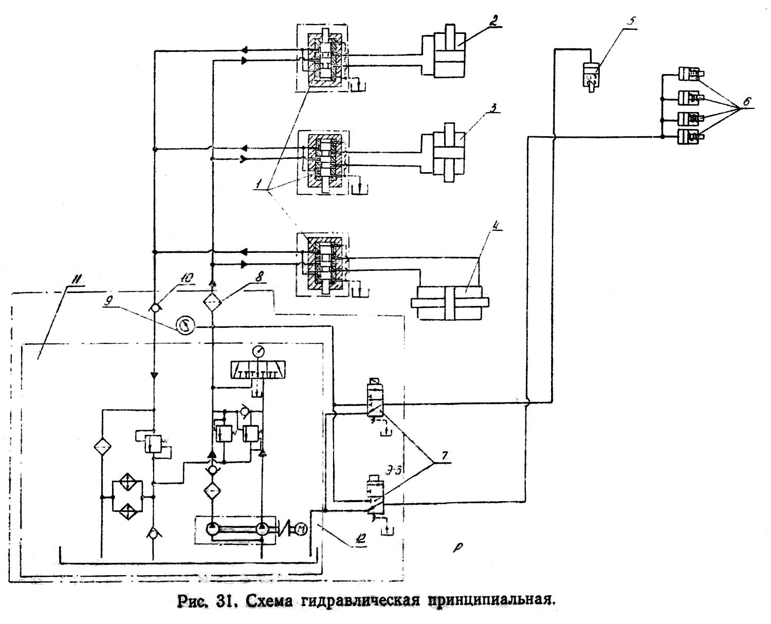
Гідравлічна схема бесконсольного вертикально-фрезерного верстата 6520Ф3

Гідравлічна схема бесконсольного вертикально-фрезерного верстата 6520Ф3

Гідравлічна схема вертикально-фрезерного верстата 6520ф3

Гідравлічна схема бесконсольного вертикально-фрезерного верстата 6520Ф3. Дивитись у збільшеному масштабі



Список апаратури, входящей в гідросхему

  1. 6520Ф3-36.75.00.000 - Золотник следящий - 3 шт
  2. 6520Ф3-36.12.04.000 - Цилиндр вертикального переміщення - 1 (д=100мм)
  3. 6520Ф3-36.11.07.000 - Цилиндр поперечного переміщення - 1 (д=100мм)
  4. 6520Ф3-36.21.12.000 - Цилиндр продольного переміщення - 1 (д=100мм)
  5. 6520Ф3-36.31.09.000 - Цилиндр разжима инструмента - 1 шт
  6. 6520Ф3.31.03.000 - Цилиндр разжима бабки - 4 шт
  7. Золотник з електромагнитным керуванням 54БПГ73-11 - 2 шт
  8. Фильтр ФП7 (20-25)/200 - 1 шт
  9. Реле давления ПГ62-11 - 1 шт
  10. Клапан обратный Г51-23 - 1 шт
  11. 6520Ф3-36.61.00.000 - Гідростанція - 1 шт
  12. Насосная установка 12/18 Г48-32 (входит в гідростанцию) - 1 шт




Гідросистема верстата 6520Ф3

Гідросистема верстата включает в себя:

  1. гідростанцию
  2. следящие приводы по трем координатам
  3. вспомогательные приводы
  4. средства гідрокоммуникации

Гідростанція (см. рис. 33) включает резервуар для масла, насосный агрегат, приборы фильтрации, контрольно-регулирующую аппаратуру. Опис насосной установки, входящей в состав гідростанції, приведено в отдельном руководстве по експлуатации Г48-32РЭ, поставляемом з насосной установкой.

Следящий гідропривід каждой из трех координат верстата состоит из следящего золотника, являющегося датчиком рассогласования системы і силового гідроцилиндра. В станке имеются три идентичных привода, обеспечивающих перемещение стола (координата X), салазки (координата Y), шпиндельной бабки (координата Z). Работа следящего приводу происходит следующим образом.

Шаговый двигатель вращает задающий винт, при етом рычаг следящего золотника, прижатый к кромке різьби гвинта, разворачивается і смещает золотник из среднего положения. Смещение золотника вызывает рух соответствующего робочого органа. Обратная связь по перемещению достигается креплением опор задающего гвинта непосредственно на рабочем органе (см. рис. 39).

Вспомогательные приводы (см. рис. 31) включают в себя:

  1. цилиндр разжима инструмента 5 з управляющим гідрораспределителем 7;
  2. циліндри разжима шпиндельной бабки 6 з управляющим гідрораспределителем 7.

В качестве гідрокоммуникаций в станке используются медные трубы, рукава резиновые высокого давления з металлической оплеткой, рукава резинотканевые напорные.


Вказівки по монтажу, налаштуванні і експлуатации

При монтаже трубопроводов не должно быть сплющивания і закручивания труб.

После затягивания накидных гаек не должно быть утечек масла в местах з'єднань. Трубное соединение гідростанції со верстатом осуществить согласно маркировке на гідростанції і у выхода штуцеров на станке.

В резервуар станції заливается тщательно отфильтрованное масло марки «Турбинное Т22» («Турбинное Л») ГОСТ 32-74 через заливную горловину.

Полную смену масла необходимо производить через 6 месяцев експлуатации верстата. После спуска отработанного масла резервуар тщательно очистить от грязи і промыть керосином.


Настановне креслення бесконсольного фрезерного верстата 6520Ф3

6520Ф3 Настановне креслення бесконсольного фрезерного верстата

Настановне креслення бесконсольного фрезерного верстата 6520Ф3





Технічні характеристики бесконсольного фрезерного верстата 6520Ф3

Наименование параметра 6520Ф3
Основні параметри верстата
Класс точності по ГОСТ 8-77 н
Розміри поверхности стола, мм 250 х 630
Расстояние от торца шпинделя до поверхности стола, мм 100..450
Расстояние от оси шпинделя до вертикальних направляючих (вылет), мм 340
Наибольшая масса обрабатываемой детали, кг
Шпиндель. Бабка шпиндельна
Диаметр шпинделя по нижним підшипникам, мм
Вертикальное перемещение шпиндельной бабки, мм 350
Вертикальное перемещение шпиндельной бабки но одно деление лимба, мм 0,05
Вертикальное перемещение шпиндельной бабки но один оборот лимба, мм 10
Частота обертання шпинделя, об/мин 31,5..1600
Количество швидкостей шпинделя 18
Ход гильзы шпинделя
Скорость подачі бабки, мм/мин 5..1500
Скорость установочного вертикального переміщення бабки, м/мин 5
Наибольший крутящий момент на шпинделе, кгс*м
Наибольшее усилие різання, допускаемое механізмом подачі бабки, кгс
Наибольший угол поворота шпиндельной бабки, град нет
Конус отверстия шпинделя по ГОСТ 15945-70 7:24
Кінець шпинделя
Торможение шпинделя есть
Зажим шпиндельной бабки есть
Зажим инструмента есть
Рабочий стол
Наибольшее перемещение стола в продольном направлении от руки і по программе, мм 500
Цена деления лимба продольного переміщення, мм 0,05
Один оборот лимба продольного переміщення, мм 10
Наибольшее перемещение стола в поперечном направлении от руки і по программе, мм 250
Цена деления лимба поперечного переміщення, мм 0,05
Один оборот лимба поперечного переміщення, мм 10
Пределы продольных подач стола (б/с регулювання)(X), мм/мин 5..1500
Пределы поперечных подач стола (б/с регулювання) (Y), мм/мин 5..1500
Скорость быстрых перемещений стола продольных і поперечных, м/мин 5
Наибольшее усилие різання, допускаемое механізмом подачі стола, продольное, кгс
Наибольшее усилие різання, допускаемое механізмом подачі стола, поперечное, кгс
Електроустаткування і привід верстата
Штатная система ЧПУ (1982 год) Н33-1М
Штатная гідростанція 6520Ф3-36.91.00.000
Количество електродвигателей на станке 8
Електродвигун приводу головного руху, кВт 4,0
Електродвигун насоса гідростанції, кВт 3,0
Електродвигун шаговый приводов подач стола і бабки (X, Y, Z), кВт
Електродвигун насоса змазки направляючих стола і салазок, кВт 0,015
Електродвигун насоса змазки направляючих бабки і коробки швидкостей, кВт 0,015
Електродвигун насоса охлаждения, кВт 0,125
Габаритные розміри і масса верстата
Габаритные розміри (длина х ширина х высота), мм 1480 х 1890 х 2185
Масса верстата, кг 3700

    Список литературы:

  1. Аврутин С.В. Основы фрезерного дела, 1962
  2. Аврутин С.В. Фрезерне дело, 1963
  3. Ачеркан Н.С. Металлорежущие верстати, Том 1, 1965
  4. Барбашов Ф.А. Фрезерне дело 1973, с.141
  5. Барбашов Ф.А. Фрезерные роботи (Профтехобразование), 1986
  6. Блюмберг В.А. Справочник фрезеровщика, 1984
  7. Григорьев С.П. Практика координатно-расточных і фрезерных работ, 1980
  8. Копылов Р.Б. Работа на фрезерных верстатах,1971
  9. Косовский В.Л. Справочник молодого фрезеровщика, 1992, с.180
  10. Кувшинский В.В. Фрезерование,1977
  11. Ничков А.Г. Фрезерные верстати (Библиотека станочника), 1977
  12. Пикус М.Ю. Справочник слесаря по ремонту металлорежущих верстатів, 1987
  13. Плотицын В.Г. Расчёты настроек і наладок фрезерных верстатів, 1969
  14. Плотицын В.Г. Наладка фрезерных верстатів,1975
  15. Рябов С.А. Современные фрезерные верстати і их оснастка, 2006
  16. Схиртладзе А.Г., Новиков В.Ю. Технологическое обладнання машиностроительных производств, 1980
  17. Тепинкичиев В.К. Металлорежущие верстати, 1973
  18. Чернов Н.Н. Металлорежущие верстати, 1988
  19. Френкель С.Ш. Справочник молодого фрезеровщика (3-е изд.) (Профтехобразование), 1978








Заказать

Кто владеет информацией - тот владеет миром.

Натан Ротшильд