Виробник внутрішньошліфувального верстата 3К229А - Воронезький верстатобудівний завод ім. 50-річчя Ленінського комсомолу, ВСЗ , заснований у 1960 році та Саратовський верстатобудівний завод ім. 60-річчя СРСР, ССЗ , заснований у 1940 році.
Внутрішньошліфувальні верстати 3К228 , 3К229 призначені для шліфування циліндричних та конічних (з кутом при вершині до 60°) наскрізних та глухих отворів: для верстата моделі ЗК228А діаметр 50-300 мм, довжина до 320 мм; для верстата моделі ЗК229А діаметр 100-500 мм, довжина до 500 мм.
Верстат 3К229А забезпечений торцешліфувальним пристроєм, що дозволяє шліфувати зовнішній торець виробу за один установ зі шліфуванням отвору.
Внутрішньошліфувальний верстат 3К229А призначений для внутрішніх та експортних поставок.
Область застосування верстата 3К229А - машинобудівні заводи з дрібносерійним та серійним виробництвом, а також інструментальні та ремонтні цехи цих заводів.
Клас точності верстатів А згідно з ГОСТ 8-82Е.
Категорія якості – найвища.
Показник точності обробки зразка-виробу:
Шорсткість поверхні зразка-виробу, не більше:
Верстат має такі конструктивні особливості:
Верстат має широкі діапазони:
Розробник - Саратовський верстатобудівний завод ім. 60-річчя СРСР.
Категорія умов транспортування за ГОСТ 15150-69, ГОСТ 23170-78 та ОСТ2 Н92-1-81:
Категорія умов зберігання за ГОСТ 9.014-78, ГОСТ 15150-69:
Безпека праці на верстаті забезпечується відповідністю його вимог ГОСТ 12.2.009-80, СТ РЕВ 499-77, СТ РЕВ 538-77, СТ РЕВ 539-77.
При роботі на верстаті, щоб уникнути утворення абразивного пилу, роботи повинні вестися з охолоджувальною рідиною.
Забороняється працювати на верстаті без огородження шліфувального кола, а також без кожухів, що закривають ремені, шківи, вироби.
Періодично перевіряти правильність роботи блокувальних пристроїв.
Внутрішнє шліфування є одним з основних методів чистової обробки отворів, при якому в залежності від режимів шліфування та характеристики шліфувального кола може бути досягнута точність обробки за 1-3 класом і шорсткість поверхні V7-V9.
Перевагою процесу внутрішнього шліфування є можливість виправлення відведення осі отвору, що утворився на попередніх операціях, а також забезпечення перпендикулярності торцевої поверхні до осі отвору, що досягається при шліфуванні отвору і торця з одного установа.
Внутрішнє шліфування може застосовуватися для обробки циліндричних та конічних наскрізних та глухих отворів у деталях, виготовлених із незагартованої та загартованої сталі, чавуну, кольорових металів та неметалічних матеріалів.
Внутрішнє шліфування широко застосовується у всіх галузях машинобудування. На внутрішньошліфувальних верстатах обробляються отвори зубчастиних коліс (гладкі та шліцеві), внутрішніх кілець шарикопідшипників та роликопідшипників; роликові доріжки зовнішніх кілець підшипників; отвори кондукторних втулок, перехідних втулок з конусом Морзе, різних різальних інструментів, наприклад, фрез, шеверів, насадних розгорток та ін.
При внутрішньому шліфуванні застосовується як шліфування з поздовжньою подачею, і методом врізання. Найбільшого поширення набув перший спосіб. Шліфування методом врізування застосовують під час шліфування коротких отворів, а також отворів, обмежених буртами або уступами.
При внутрішньому шліфуванні застосовуються методи поздовжньої та поперечної подачі. Розрізняють такі види рухів:
При шліфуванні з поздовжньою подачею величина подачі має перевищувати 3/4 висоти кола однією оборот деталі. Поперечна подача при цьому уривчаста на кожен одинарний або подвійний хід або безперервна.
Шліфування методом врізання застосовують при обробці коротких отворів, а також внутрішніх циліндричних поверхонь, обмежених точними торцями або уступами, наприклад, роликових доріжок кілець підшипників. Для забезпечення рівномірності зносу колу повідомляється додатковий осцилюючий рух, якщо це дозволяє конфігурація деталі.
Особливості внутрішнього шліфування створюють низку обмежень застосування цього методу. До них відносяться:
Залежність діаметра шліфувального кола від діаметра шліфувального отвору, а також необхідність значного вильоту шліфувального шпинделя, особливо при шліфуванні довгих отворів, що обумовлюються введенням шліфувального кола в оброблений отвір, призводять до зниження жорсткості системи і створюють ряд обмежень.

Внутрішньошліфувальні верстати можуть бути поділені на дві основні групи.
Залежно від характеру виробництва застосовуються універсальні внутрішньошліфувальні верстати, напівавтомати та автомати.
Універсальні верстати з патронним затискачем застосовуються для обробки коротких та довгих циліндричних та конічних отворів. Конічні отвори шліфуються шляхом повороту бабки відповідний кут. Ці верстати поширені у допоміжних цехах заводів масового виробництва, а також основних цехах заводів серійного виробництва. Універсальні верстати забезпечуються зазвичай торцешліфувальним пристроєм, що дозволяє забезпечувати при обробці високу точність перпендикулярності торця до отвору. Шліфувальні головки на універсальних верстатах встановлюються на санках і можуть бути змінними.
Напівавтомати , що широко застосовуються в масовому та великосерійному виробництвах, забезпечуються вимірювально-керуючими пристроями, які автоматично контролюють процес шліфування, і припиняють обробку при досягненні заданого розміру.
Автомати - центрові та безцентрові забезпечуються додатково завантажувальними пристроями, що подають деталі для обробки в зону шліфування, а також пристроями для автоматичного закріплення та зняття деталі та керування правкою кола.
Основними внутрішньошліфувальними верстатами, що випускаються вітчизняною промисловістю, є верстати гами ЗК. Ці верстати призначені для обробки отворів діаметром від 3 до 800 мм і випускаються класами точності П, В та А. Усі універсальні верстати гами ЗК, за винятком моделі ЗК230В, оснащені торцешліфувальними пристроями.
На базі основних моделей випускають різні модифікації верстатів - з подовженим перебігом столу для обробки, довгих деталей.

Габаритні розміри робочого простору верстата 3к229а

Шпиндель внутришлифовального верстата 3к229а

Фото внутришлифовального верстата 3к229а

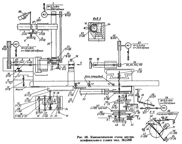
Кінематична схема внутришлифовального верстата 3к229а
Схема кінематична внутришлифовального верстата 3К229А. Дивитись у збільшеному масштабі
Поперечная подача осуществляется от гідроприводу прерывисто на одинарный или двойной ход стола при помощи специального механізма 20. Храповое колесо 22, поворачиваясь на предварительно установленное число зубьев, через систему зубчатых колес передает вращение винту з гайкой качения, чем осуществляется перемещение в поперечном направлении передньої или шлифовальной бабки.
Ручная подача осуществляется маховиком 21.
В верстатах предусмотрен механізм колебательного руху 16 стола, обеспечивающий улучшение качества обробки, особенно при шлифовании глухих отверстий.

Настановне креслення шлифовального верстата 3к229а
| Наименование параметра | 3К228А | 3К229А |
|---|---|---|
| Основні параметри | ||
| Класс точності по ГОСТ 8-82 | А | А |
| Наибольший диаметр устанавливаемого вироби, мм | 400 | 800 |
| Наибольший диаметр устанавливаемого вироби в кожухе, мм | 400 | 630 |
| Наибольшая длина устанавливаемого вироби, мм | 320 | 500 |
| Наименьший і наибольший диаметр шлифуемого отверстия, мм | 50..300 | 100..500 |
| Наибольшая длина шлифования при диаметре шлифования не менее 100 мм, мм | 320 | 500 |
| Наибольшая рекомендуемая длина шлифования при наименьшем диаметре, мм | 125 | 200 |
| Расстояние от оси шпинделя передньої бабки до подошвы станины, мм | 1225 | 1300 |
| Расстояние от оси шпинделя передньої бабки до зеркала стола (высота центров), мм | 340 | 410 |
| Расстояние от опорного торца фланца шпинделя вироби до торца кронштейна шлифовальной бабки, мм | 1335 | 1570 |
| Расстояние от торца нового круга торцешлифовального приспособления до опорного торца фланца шпинделя, мм | 150..400 | 250..550 |
| Рабочий стол верстата | ||
| Наибольшая длина переміщення стола, мм | 800 | 800 |
| Ручное переміщення стола за один оборот маховика, мм | 25 | 25 |
| Скорость переміщення стола при шлифовании, м/мин | 1..7 | 1..7 |
| Скорость переміщення стола при правке круга, м/мин | 0,1..2 | 0,1..2 |
| Скорость переміщення стола при быстром продольном подводе і отводе, м/мин | 10 | 10 |
| Торцешлифовальное пристрій | ||
| Частота обертання торцового шпинделя, 1/мин | 4000 | 4000 |
| Продольное перемещение торцового шлифовального круга наибольшее наладочное, мм | 250 | 250 |
| Продольное перемещение торцового шлифовального круга наибольшее рабочее (тонкое), мм | 4 | 4 |
| Продольное перемещение торцового шлифовального круга за один оборот маховичка наладочного переміщення, мм | 27 | 27 |
| Продольное перемещение торцового шлифовального круга за один оборот маховичка рабочей (тонкой) подачі, мм | 0,1 | 0,1 |
| Продольное перемещение торцового шлифовального круга на одно деление лимба рабочей (тонкой) подачі, мм | 0,0025 | 0,0025 |
| Шлифовальная бабка | ||
| Частота обертання внутришлифовальных головок, 1/мин | 4500,5300,8200,12000 | 2500,4500,5250,8200 |
| Наибольший диаметр шлифовального круга по ГОСТ 2424-83, мм | 200 х 76 х 63 | 250 х 76 х 63 |
| Наибольшая окружная скорость шлифовального круга, м/с | 35 | 35 |
| Диаметр гильзы внутришлифовальной головки, мм | 125 | 125 |
| Диаметр кінця шлифовального шпинделя по ГОСТ 2324-77, мм | 30, 40, 50 | Не менее 45 |
| Поперечное перемещение шлифовальной бабки | ||
| Перемещение за один оборот маховичка - грубое (наладочное), мм | 5 | 5 |
| Перемещение за один оборот маховичка - тонкое, мм | 0,5 | 0,5 |
| Перемещение на одно деление лимба, мм | 0,002 | 0,002 |
| Перемещение на одно качание рычага ручной дозированной подачі, мм | 0,002 | 0,002 |
| Наибольшее наладочное перемещение шлифовальной бабки - назад (на робочого), мм | 10 | 10 |
| Наибольшее наладочное перемещение шлифовальной бабки - вперед (от робочого), мм | 80 | 100 |
| Передня бабка (бабка вироби) | ||
| Условный диаметр кінця шпинделя вироби, по ГОСТ 12595-72 | 2-8М | 2-11М |
| Наибольший угол поворота бабки вироби, град | 30 | 30 |
| Наибольший наладочное перемещение бабки вироби - назад (на робочого), град | 50 | 50 |
| Наибольший наладочное перемещение бабки вироби - вперед (от робочого), град | 250 | 300 |
| Частота обертання вироби (бесступенчатое регулювання), об/мин | 60..600 | 20..240 |
| Привід і електрообладнання верстата | ||
| Количество електродвигателей на станке | 7 | 7 |
| Електродвигун шпинделя шлифовальной бабки, кВт | 7,5 | 7,5 |
| Електродвигун приводу торцешлифовального приспособления, кВт | 2,2 | 2,2 |
| Електродвигун приводу вироби (бабки вироби) постоянного тока, кВт | 1,6 | 1,6 |
| Електродвигун насоса гідросистемы, кВт | 3,0 | 3,0 |
| Електродвигун фильтра-транспортера, кВт | 0,09 | 0,09 |
| Електродвигун насоса системы охлаждения, кВт | 0,15 | 0,15 |
| Електродвигун магнитного сепаратора, кВт | 0,09 | 0,09 |
| Общая мощность електродвигателей, кВт | 14,63 | 14,63 |
| Преобразователь тиристорный ЭТ1Е2-10, кВт | 1,3 | 1,3 |
| Габаритные розміри і масса верстата | ||
| Габаритные розміри верстата (длина х ширина х высота), мм | 3535 х 1460 х 1870 | 4165 х 1780 х 2000 |
| Масса верстата з електрообладнанням і охолодженням, кг | 6400 | 8300 |