Виробники універсального круглошліфувального верстата 3Е12 - Вільнюський завод шліфувальних верстатів .
Верстат виконаний на базі круглошліфувального верстата особливо високої точності моделі 3E153, розробленого Ленінградським спеціальним конструкторським бюро прецизійного верстатобудування.
Особливо високої точності круглошліфувальний верстат 3Е12 призначений для шліфування зовнішніх та внутрішніх циліндричних та конічних поверхонь в умовах індивідуального та дрібносерійного виробництва.
Круглошліфувальний верстат 3Е12 має поворотний стіл. Це дає можливість шліфувати не тільки циліндричні, а й пологі конічні поверхні.
На верстаті 3Е12 можна виконувати такі види обробки:
На верстаті 3Е12 можна обробляти вали діаметром від 8 до 200 мм завдовжки від 100 до 500 мм та отвори діаметром від 20 до 50 мм завдовжки до 75 мм.
Завдяки поворотній передній та поворотній шліфувальній бабці можна шліфувати круті конічні зовнішні та внутрішні поверхні.
Шліфувальна бабка складається із двох частинин. Верхня частинина шліфувальної бабки може пересуватися щодо нижньої (верхніх санок). Це дозволяє шліфувати периферією шліфувального кола торець деталі, закріпленої в патроні.
На верстаті 3Е12 можна шліфувати як у нерухомих центрах, так і патроні.
У верстаті застосовані конструктивні рішення, що забезпечують високу жорсткість і вібростійкість.
Олія системи казки підшипників бабки вироби та шпинделя шліфувальної бабки охолоджується радіатором.
Мастило направляючих столу здійснюється спеціальним антискачковим маслом ВНДІ НП-401 ГОСТ 11058-64.75.
Електродвигуни приводів бабки вироби та шліфувальної бабки додатково збалансовані разом із шківами.
Очищення охолоджуючої рідини проводиться за допомогою магнітного сепаратора та фільтра-транспортера з паперовою стрічкою, що фільтрує.
У верстаті є два механізми для здійснення подач: механізм подачі для грубих переміщень шліфувальної бабки з величиною переміщення за один поділ лімба 0,002 мм і механізм подачі. Механізм мікроподачі забезпечує поштовх поштовху п'яти величин переміщення з мінімальною величиною 0,0001 мм і автоматичну врізну подачу.
На верстаті можна виконати врізне шліфування напівавтоматичному циклі до електричного упору. Автоматично здійснюються такі етапи циклу:
При підведенні шліфувальної бабки одночасно починається обертання виробу і подається потік рідини, що охолоджує; при відведенні бабки припиняється обертання виробу, а вимикається потік рідини.
Верстат має безступінчасте регулювання швидкості обертання виробу та швидкості врізної подачі.
Шліфувальна бабка встановлена на проміжних санках, які переміщаються по направляючих кочення.
Верстат комплектується двома змінними електрошпинделями на 24000 об/хв та 48000 об/хв.
Передбачена можливість шліфування з приладом активного контролю БВ-4009-К-2, що постачається зі верстатом на особливе замовлення.

Мал. 38. Способи круглого шліфування:
а - з поздовжньою подачею, б - глибинне, в - врізне, г - послідовними врізаннями, д - комбіноване
На зовнішніх круглошліфувальних верстатах деталь встановлюється в центрах і обертається шпинделем передньої бабки. Для здійснення круглого зовнішнього шліфування необхідні рухи: обертання кола або головний рух різання, обертання деталі кругова подача деталі, зворотно-поступальний рух деталі (або кола) вздовж своєї осі поздовжня подача, подача на глибину шліфування.
Зовнішнє кругле шліфування здійснюється декількома способами:
В окремих випадках колу повідомляється додатковий осьовий коливальний рух з невеликою амплітудою - осцилюючий рух.

Фото круглошліфувального верстата 3е12

Фото круглошліфувального верстата 3е12

Розташування складових частинин шліфувального верстата 3е12
Розташування складових частинин шліфувального верстата 3Е12. Дивитись у збільшеному масштабі

Розташування органів керування круглошліфувальним верстатом 3е12
Розташування органів керування шліфувальним верстатом 3Е12. Дивитись у збільшеному масштабі

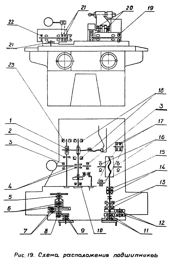
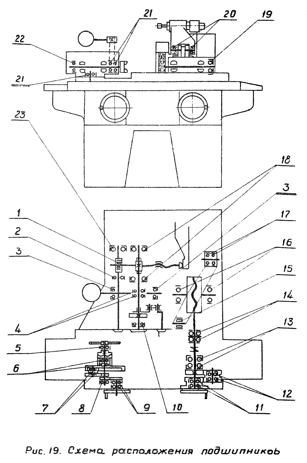
Схема розположення підшибників круглошлифовального верстата 3е12
Схема розположення підшибників круглошлифовального верстата 3Е12. Дивитись у збільшеному масштабі
| Наименование параметра | 3Б12 | 3Е12 |
|---|---|---|
| Основні параметри | ||
| Класс точності по ГОСТ 8-82 | П | А |
| Наибольший диаметр обрабатываемого вироби, мм | 200 | 200 |
| Наибольшая длина обрабатываемого вироби (РМЦ), мм | 500 | 500 |
| Наибольший диаметр наружного шлифования, мм | 200 | 120 |
| Наименьший диаметр шлифования, мм | 8 | |
| Рекомендуемый диаметр шлифования, мм | 20..60 | 10..60 |
| Наибольшая длина наружного шлифования, мм | 450 | 450 |
| Диаметр шлифуемого отверстия, мм | 25..50 | 20..40 |
| Расстояние от оси шпинделя передньої бабки до зеркала стола - высота центров, мм | 120 | 120 |
| Максимальная масса вироби, кг | 20 | 20 |
| Станина і столы верстата | ||
| Наибольшее продольное перемещение стола, мм | 550 | 550 |
| Наименьший ход стола между упорами, мм | 4 | 3 |
| Ручное замедленное/ ускоренное переміщення стола за один оборот маховика, мм | 1,59/ 31,9 | 1,4/ 15 |
| Скорость переміщення стола от гідросистемы, м/мин | 0,1..5 | 0,03..2 |
| Наибольший угол поворота верхнего стола по часовий стрелке, град | 6 | |
| Наибольший угол поворота верхнего стола против часовий стрелки, град | 7 | 6 |
| Цена деления шкалы поворота верхнего стола, град | ||
| Цена деления шкалы поворота верхнего стола (конусность), мм/м | ||
| Шлифовальная бабка | ||
| Наибольшее перемещение шлифовальной бабки от маховика, мм | 110 | 125 |
| Перемещение шлифовальной бабки относительно верхних салазок, мм | 180 | |
| Перемещение шлифовальной бабки во время швидкого подвода, мм | 40 | 25 |
| Поворот шлифовальной бабки (к изделию), град | 90 | 90 |
| Поворот шлифовальной бабки (от вироби), град | 10 | 10 |
| Шлифовальный круг по ГОСТ 2424-67 | 350 х 40 х 127 | |
| Диаметр шлифовального круга - наибольший/ наименьший, м/с | 300/ 200 | 350/ 250 |
| Диаметр шлифовального круга - посадочный, м/с | 127 | 127 |
| Наибольшая высота устанавливаемого круга, мм | 40 | 40 |
| Частота обертання шпинделя наружного шлифования, об/мин | 2250 | 1930 |
| Толчковая подача - периодическая подача з реверсированием стола, мм | 1,2 | |
| Цена деления лимба поперечної подачі, мм | ||
| Цена деления лимба тонкой поперечної подачі, мм | 0,002 | |
| Величина поперечного переміщення шлифовальной бабки за один оборот маховика, мм | 0,5 | |
| Скорость швидкого установочного переміщення шлифовальной бабки, мм/мин | 1,2 | |
| Кінець шлифовального шпинделя по ГОСТ 2323-67 (конусность 1:5, номинальный диаметр), мм | 50 | 65 |
| Приспособление для внутреннего шлифования | ||
| Наибольший диаметр заготовки, устанавливаемой в патроне, мм | ||
| Наибольшая длина шлифуемого отверстия, мм | ||
| Диаметр внутришлифовальной головки, мм | 17 х 20 х 6 30 х 25 х 10 40 х 32 х 16 |
|
| Число оборотів внутришлифовального шпинделя | 16750 | 24000 |
| Передня бабка | ||
| Частота обертання вироби (бесступенчатое регулювання), об/мин | 78..780 | 100..1000 |
| Угол поворота в сторону шлифовального круга, град | 90 | |
| Угол поворота в сторону от шлифовального круга, град | 30 | |
| Конус шпинделя передньої бабки по ГОСТ 2847-67 | Морзе 3 | |
| Задня бабка | ||
| Величина відведення пиноли задньої бабки от руки, мм | 25 | 25 |
| Конус шпинделя пиноли задньої бабки по ГОСТ 2847-67 | Морзе 3 | Морзе 4 |
| Привід і електрообладнання верстата | ||
| Количество електродвигателей на станке | 7 | 10 |
| Електродвигун шпинделя шлифовальной бабки, кВт | 3,0 | 3,0 |
| Електродвигун внутришлифовального шпинделя, кВт | 1,1 | |
| Електродвигун приводу микроподачі, кВт | 0,12 | |
| Електродвигун приводу вироби, кВт | 1,0 | 1,0 |
| Електродвигун насоса гідросистемы, кВт | 1,0 | 1,1 |
| Електродвигун насоса системы змазки шпинделя, кВт | 0,27 | 0,27 |
| Електродвигун приводу вентилятора, кВт | 0,12 | |
| Електродвигун приводу генератора високою частоти, кВт | 3,0 | |
| Електродвигун насоса системы охлаждения, кВт | 0,12 | |
| Електродвигун магнитного сепаратора, кВт | 0,15 | 0,08 |
| Габаритные розміри і масса верстата | ||
| Габаритные розміри верстата (длина х ширина х высота), мм | 2600 х 1750 х 1750 | 2300 х 2400 х 1600 |
| Масса верстата з електрообладнанням і охолодженням, кг | 3000 | 3500 |