Виробник безцентрового круглошліфувального універсального верстата 3180 Московський верстатобудівний завод шліфувальних верстатів, МСЗ , заснований у 1879 році.
Початок випуску верстата 372Б – 1955 рік
Плоскошліфувальний верстат моделі 372Б - верстат загального призначення з прямокутним столом та горизонтальним шпинделем, призначений для шліфування площин різних деталей периферією кола.
Конструктивна особливість верстата 372Б - поперечна подача шліфувального кола забезпечується переміщенням шліфувальної бабки горизонтальними напрямними коретки. При цьому стійка залишається нерухомою.
У верстаті 372Б здійснюються наступні рухи:

Кріплення шліфувального кола на верстаті 372Б
Кріплення шліфувального кола на верстаті 372Б. Дивитись у збільшеному масштабі

Фото плоскошліфувального верстата 372Б

Фото плоскошліфувального верстата 372Б
Фото плоскошліфувального верстата 372Б. Дивитись у збільшеному масштабі

Фото плоскошліфувального верстата 372Б
Фото плоскошліфувального верстата 372Б. Дивитись у збільшеному масштабі

Фото плоскошліфувального верстата 372Б

Фото плоскошліфувального верстата 372Б
Фото плоскошліфувального верстата 372Б. Дивитись у збільшеному масштабі

Фото плоскошліфувального верстата 372Б
Фото плоскошліфувального верстата 372Б. Дивитись у збільшеному масштабі

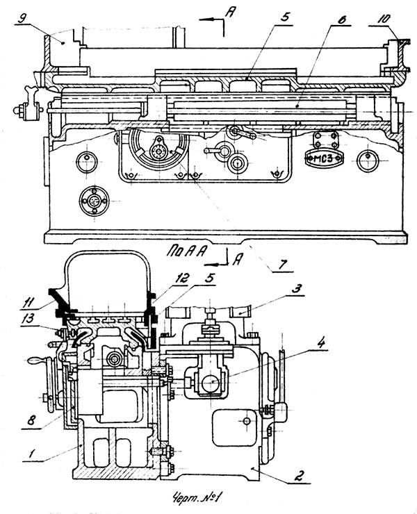
Розташування органів керування шліфувальним верстатом 372Б
Розташування органів керування плоскошліфувальним верстатом 372Б. Дивитись у збільшеному масштабі

Кінематична схема плоскошліфувального верстата 372Б
Кінематична схема плоскошліфувального верстата 372Б. Дивитись у збільшеному масштабі

Гідравлічна схема плоскошліфувального верстата 372Б
Схема гідравлічна плоскошліфувального верстата 372Б. Дивитись у збільшеному масштабі
Станина має поздовжні напрямні, якими зворотно поступально рухається робочий стіл. Переміщення столу забезпечує поздовжню подачу під час шліфування. Рух столу повідомляє гідроциліндр, закріплений між напрямними. Стіл не має ручної подачі.

Станина, тумба і стол плоскошлифовального верстата 372Б
Станіна, тумба та стіл плоскошліфувального верстата 372Б. Дивитись у збільшеному масштабі

Гідравічний циліндр столу верстата 372Б
З заднього боку станини кріпиться тумба на якій встановлена стійка (колонка), що несе каретку зі шліфувальною бабкою.

Стійка (колонка) плоскошліфувального верстата 372Б
Стійка (колонка) плоскошліфувального верстата 372Б. Дивитись у збільшеному масштабі
Каретка , що несе шліфувальну бабку, переміщається по двох вертикальних направляючих стійках, забезпечуючи вертикальну подачу при шліфуванні. Каретка має тільки ручний привід: від маховика вертикальної подачі – через механізм вертикальної подачі – через редуктор обертання передається на вертикальний гвинт і через гайку вертикальний рух передається каретці.

Каретка плоскошліфувального верстата 372Б
Шліфувальна бабака розташована знизу каретки на поперечних направляючих типу "ластівчин хвіст". Рух шліфувальної бабки по направляючих забезпечує поперечну подачу під час шліфування. Шліфувальна бабка переміщається як від руки від маховика, так і механічно від гідроциліндра.
Подача від гідроциліндра має два режими:

Шліфувальна бабка плоскошліфувального верстата 372Б
Шліфувальна бабка плоскошліфувального верстата 372Б. Дивитись у збільшеному масштабі
| Найменування параметру | 372B | |
|---|---|---|
| Основні параметри | ||
| Клас точності згідно з ГОСТ 8-82 | Н | |
| Найбільші розміри виробів, що обробляються (довжина × ширина × висота), мм | 1000 х 300 х 400 | |
| Відстань від осі шпинделя до дзеркала стола, мм | 125..575 | |
| Робочий стіл верстата | ||
| Розміри робочої поверхні столу (довжина x ширина), мм | 1000 х 300 | |
| Поздовжнє переміщення столу від гідравліки (найменше/найбільше), мм | 200..1100 | |
| Швидкість зворотно-поступального руху столу (безступінчасте регулювання), м/хв. | 3..30 | |
| Розміри магнітної плити (довжина × ширина × висота), мм | 680 х 305 х 125 | |
| Шліфувальна бабка | ||
| Розміри шліфувального кола, мм | 350 × 40 × 127 | |
| Найменший та найбільший зовнішній діаметри шліфувального кола, мм | 250..350 | |
| Число оборотів шліфувального кола за хвилину | 1440 | |
| Найбільший допустимий момент, що крутить, на шпинделі, кгс*м | 3,03 | |
| Кінець шпинделя шліфувальної бабки | Конус 1:3 | |
| Найбільше поперечне переміщення шліфувальної бабки від руки/від гідравліки, мм | 350 / 350 | |
| Ціна поділу лімба поперечного переміщення шліфувальної бабки, мм | 0,1 | |
| Поперечне переміщення шліфувальної бабки на один оберт лімба, мм | 8 | |
| Межі швидкостей поперечної подачі шліфувальної бабки за один хід столу (безступінчасте регулювання), м/хв | 3..30 | |
| Межі швидкостей поперечної подачі шліфувальної бабки безперервна (безступінчасте регулювання), м/хв. | 0,5..4,5 | |
| Найбільше вертикальне переміщення шліфувальної бабки від руки/від гідравліки, мм | 460 / ні | |
| Ціна поділу лімба вертикального переміщення шліфувальної бабки, мм | 0,01 | |
| Переміщення шліфувальної бабки вертикальне на один оберт лімба, мм | 2 | |
| Вертикальна подача шліфувальної бабки на кількість отворів, мм | 0,005..0,05 (10) | |
| Найбільша подача при встановленні на максимальну кількість отворів, мм | 0,2 |
Завжди не вистачає часу, щоб виконати роботу, як треба, але на те, щоб її переробити, час знаходиться.
Закон Мескімена