Виробник настільно-свердлувального верстата 2Д112Л - Красноріченський верстатобудівний завод ім. Фрунзе , Луганська область Кремінський р-н, с. Красноріченське.
Свердлильний настільний верстат 2Д112Л призначений для свердління отворів та нарізування різьблення в дрібних деталях з чавуну, сталі, кольорових сплавів та неметалічних матеріалів в умовах промислових підприємств, ремонтних майстерень та побутових майстерень.
Відлік глибини свердління провадиться за плоскою шкалою або упором.
Оригінальна конструкція натягу ремінної передачі дозволяє швидко змінювати положення ременя на шківах для отримання потрібної швидкості різання.
Свердлильний верстат 2Д112Л дозволяє виконувати такі операції:
Конус інструментальний - Конус Морзе - одне з найбільш застосовуваних кріплень інструменту. Був запропонований Стівеном А. Морзе приблизно 1864 року.
Конус Морзе підрозділяється на вісім розмірів - від КМ0 до КМ7 (англійською: MT0-MT7, німецькою: MK0-MK7).
Стандарти на конус Морзе: ГОСТ 25557 (Конуси інструментальні. Основні розміри), ISO 296, DIN 228. Конуси, виготовлені за дюймовими та метричними стандартами, взаємозамінні у всьому, крім різьблення хвостовика.
Для багатьох застосувань довжина конуса Морзе виявилася надмірною . Тому було введено стандарт на дев'ять типорозмірів укорочених конусів Морзе (B7, B10, B12, B16, B18, B22, B24, B32, B45), ці розміри отримані видаленням більш товстої частинини конуса. Цифра позначення короткого конуса — діаметр товстої частинини конуса в мм.
Російський стандарт на укорочені конуси ГОСТ 9953 Конуси інструментів укорочені .
Російський стандарт на свердлильні патрони ГОСТ 8522 Патрони свердлильні трикулачні .
Де D – діаметр конуса в основній площині.

Фото свердлильного верстата 2Д112Л

Фото свердлильного верстата 2Д112Л

Фото свердлильного верстата 2Д112Л

Фото свердлильного верстата 2Д112Л

Фото свердлильного верстата 2Д112Л

Розташування органів керування свердлильним верстатом 2Д112Л
Розташування органів керування свердлильним верстатом 2Д112Л. Дивитись у збільшеному масштабі

Кінематична схема свердлильного верстата 2Д112Л
Кінематична схема свердлильного верстата 2Д112Л. Дивитись у збільшеному масштабі

Шпиндельний вузол свердлильного верстата 2Д112Л
Шпиндельний вузол свердлувального верстата 2Д112Л. Дивитись у збільшеному масштабі

Шкала свердлильного верстата 2Д112Л
Шкала свердлильного верстата 2Д112Л. Дивитись у збільшеному масштабі

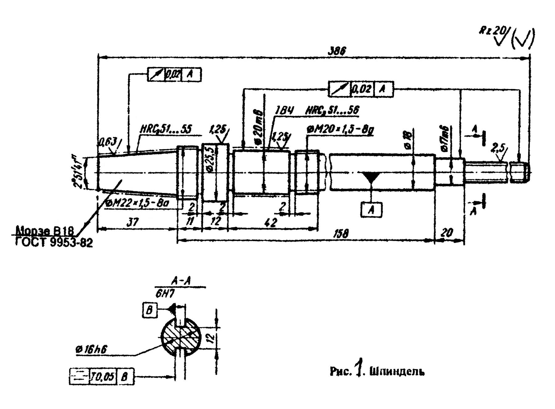
Креслення шпинделя свердлильного верстата 2Д112Л
Креслення шпинделя свердлильного верстата 2Д112Л. Дивитись у збільшеному масштабі

Електрична схема свердлильного верстата 2Д112Л
Електрична схема свердлильного верстата 2Д112Л. Дивитись у збільшеному масштабі
| Найменування параметру | 2M112 | 2H112 | 2D112L |
|---|---|---|---|
| Основні параметри верстата | |||
| Найбільший умовний діаметр свердління, мм | 12 | 12 | 12 |
| Найменша та найбільша відстань від торця шпинделя до столу | 0...400 | 70..420 | |
| Відстань від осі вертикального шпинделя до направляючих стійки (виліт), мм | 190 | 160 | 220 |
| Робочий стіл | |||
| Ширина робочої поверхні столу, мм | 250 х 250 | 250 х 250 | 250 x 380 |
| Число Т-подібних пазів | 3 | 3 | 1 |
| Шпиндель | |||
| Найбільше переміщення шпиндельної (свердлувальної) головки по колоні, мм | 250 | ||
| Хід гільзи шпинделя, мм | 100 | 100 | |
| Частота обертання шпинделя, об/хв | 450, 800, 1400, 2500, 4500 | 500, 710, 1000, 1400, 2000, 2800, 4000 | |
| Кількість швидкостей шпинделя | 5 | 7 | |
| Конус шпинделя | Морзе В18 | Морзе В18 | |
| Привід | |||
| Електродвигун приводу головного руху, кВт (об/хв) | 0,55 | 0,6 (1350) | |
| Габарит та маса верстата | |||
| Габарити верстата (довжина ширина висота), мм | 795 х 370 х 950 | 785 х 465 х 795 | |
| Маса верстата, кг | 120 | 120 |