Виробник координатно-розточувального верстата 24К40СФ4 - Куйбишевський завод координатно-розточувальних верстатів, ЗАТ «Стан-Самара» , заснований у 1963 році.
Свою історію Куйбишевський завод координатно-розточувальних верстатів веде з 1963 року, коли було запроваджено першу чергу цього підприємства. Молодий колектив заводу за короткий термін освоїв виробництво верстатів високої точності і вже 1966 року випустив їх кілька сотень.
Завод припинив своє існування у 1991 році, і на його виробничих площах відкрилося кілька верстатобудівних підприємств, які продовжують випускати координатно-розточувальні верстати, займаються їх ремонтом та модернізацією. Завод координатно-розточувальних верстатів «Стан-Самара» ЗАТ, Самарське НВП координатно-розточувальних верстатів, ЗАТ, «Станкосервіс» ТОВ та ін.
Одностоєчний вертикальний координатно-розточувальний верстат з ЧПУ 24К40СФ4 (2440СФ4) призначений для комплексної обробки корпусних деталей, штампів та прес-форм, до розмірів, геометричної форми та розташування поверхонь яких пред'являється вимога високої точності в умовах дрібносерійного та серійного виробництва.
Верстат призначений для обробки отворів з точним розташуванням осей, для напівчистового та чистового контурного фрезерування, а також для розмітки та перевірки лінійних розмірів деталей з одночасним керуванням за трьома координатами X, Y, Z.
Простота обслуговування та керування верстатом 24К40СФ4 , великий комплект різноманітного інструменту та приладдя в поєднанні з високою точністю та продуктивністю дозволяють використовувати його в різних умовах виробництва.
Координатно-розточувальний верстат 24К40СФ4 є програмно-керованою машиною, що забезпечує високоточну, рентабельну обробку різанням деталей середніх розмірів і дає можливість користувачу вирішити проблеми одиничного та серійного виробництва точних виробів, виготовлення контрольно-вимірювального інструменту та еталонних зразків.
Верстат 24К40СФ4 має одностоєчне компонування.
Шпиндельна бабка переміщається напрямними стійки, направляючими станини переміщається хрестовий стіл. На всіх направляючих застосовані фторопластові накладки.
Як приводи подач використовуються кулькові гвинтові передачі в поєднанні з електродвигунами постійного струму.
Приводом головного руху служить електродвигун постійного струму з перетворювачем тиристора, з'єднаний через 2-швидкісну коробку швидкостей зі шпиндельним пристроєм.
Верстат 24К40СФ4 оснащений Фотоімпульсними перетворювачами лінійних переміщень із дискретністю відліку 0,001 мм.
Інструментальні оправки затискаються у конусі шпинделя цанговим затискачем.
За допомогою універсального поворотного столу , що входить до комплекту верстата, можна обробляти отвори, задані в полярних координатах і розташовані під будь-яким кутом до площини верстата.
Верстат 24К40СФ4 оснащений пристроєм ЧПУ 2С42-65 з керуванням одночасно чотирма координатами , що дозволяє проводити обробку деталей складної конфігурації з використанням кругової та лінійно-кругової інтерполяції.
Інструментальний магазин – дискового типу з вертикальною віссю обертання. Інструментальний магазин встановлюється та кріпиться до фундаменту ліворуч від верстата.
Приводи обертання магазину та висування автооператора електромеханічні.
Висока точність забезпечується за рахунок жорсткості корпусних деталей, що утворюють несучу систему верстата, та вимірювальних систем лінійних переміщень на основі фотоімпульсних датчиків.
Приладдя, що входить до комплекту верстата:
Різці розточувальні з пластинками з твердого сплаву, ключі гайкові, викрутки, різцетримач з точною подачею, оправка з індикатором, підставка регульована, протира, мікроскоп-центрошукач, центрошукач з індикатором, керн механічний, резцеутримувач фтор та комплектом цанг, втулки з конусом Морзе під гвинт, модулі розточувальні, патрон свердлильний, патрон різьбонарізний, різьбонарізні вставки, центр настановний, прихвати, державки, подовжувачі, перехідники, грибки, втулки з конусом Морзе та вікном під клин, клиння, сухар для складання модульного інструменту, огорожі.
Аксесуари, що постачаються на вимогу замовників за окрему плату:
Різці, свердла, фрези, зенкери, зенковки, мітчики машинні, розгортки машинні, пристрій охолодження, стіл поворотний ділильний універсальний з планшайбою Ø 250 мм, втулка з конусом Морзе під гвинт, подовжувачі з конусом Морзе під клин, насадка для зняття фас , свердлильний патрон, патрон різьбонарізний, різьбонарізні вставки, державки, подовжувачі з конусом Морзе під клин, перехідники, грибки для захоплення інструменту в шпинделі.
Розробник - Куйбишевське верстатобудівне виробниче об'єднання.

Загальний вигляд координатно-розточувального верстата 24К40СФ4

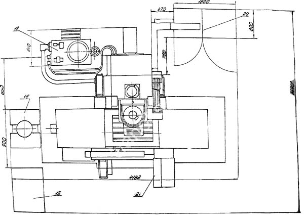
Розташування складових частинин координатно розточувального верстата 24К40СФ4

Розташування складових частинин координатно розточувального верстата 24К40СФ4

Розташування складових частинин координатно розточувального верстата 24К40СФ4

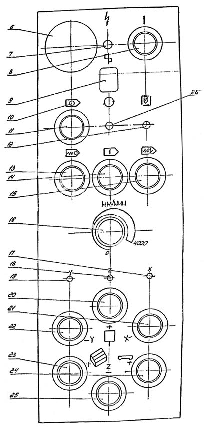
Розташування органів керування верстатом 24К40СФ4

Пульт керування координатно-розточувальним верстатом 24К40СФ4

Кінематична схема координатно-расточного верстата 24К40СФ4
Шпиндельная бабка перемещается в вертикальном направлении по направляющим стойки з помощью передачи винт-гайка качения. Винт в опорах укреплен на стойке, гайка на корпусе шпиндельной бабки. Отсчет перемещений шпиндельной бабки производится датчиком Минилид-300", линейка которого закреплена на стойке, головка - на шпиндельной бабке.
В шпиндельную бабку входят наступні основні вузли:
По роликам перемещаются тросы, на которых висит груз уравновешивания шпиндельной бабки. На лицевой стороне шпиндельной бабки расположен пульт керування.
Для отключения переміщення шпиндельной бабки в крайних положениях на корпусе шпиндельной бабки закреплен кулачок. Микровыключатели установлены на стойке.
Микровыключатели предназначены, также, для подачі сигнала об отжатом или зажатом инструменте.
Если кулачок, соединенный со штоком гідроцилиндра зажиму инструмента, нажимает на микровыключатель - инструмент зажат, если на микровыключатель - инструмент отжат. Шпиндельное пристрій соединяется з коробкой швидкостей гибкой безлюфтовой муфтой.
Привід головного руху осуществляется от електродвигуна постоянного тока 2ПФ-132МГУ4, установленного на опоре.
| Наименование параметра | 24К40АФ4 | 24К40СФ4 |
|---|---|---|
| Основні параметри верстата | ||
| Класс точності (Н,П,В,А,С) | А особо высокая точность | С особо точный |
| Рабочая поверхность стола, мм | 400 х 800 | 400 х 800 |
| Наибольший диаметр сверления в стали 45, мм | 30 | 30 |
| Наибольший диаметр растачивания в стали 45, мм | 250 | 250 |
| Наименьшее і наибольшее расстояние от торца шпинделя до стола, мм | 130..630 | 130..630 |
| Расстояние от оси шпинделя до стойки (вылет шпинделя), мм | 450 | 450 |
| Дискретность задания координат, мм | 0,001 | 0,001 |
| Точность установки стола, мм | ±0,01 | ±0,003 |
| Точность установки шпиндельной бабки, мм | ±0,01 | ±0,005 |
| Точность установки межосевых расстояний, мм | ±0,01 | ±0,0025 |
| Цена деления устройств для отсчета перемещений стола, салазок, шпиндельной бабки, мм | 0,001 | 0,001 |
| Рабочий стол і салазки | ||
| Наибольшая масса обрабатываемого вироби з учетом сил різання, кг | 800 | 800 |
| Наибольшее перемещение стола (поперечное X), салазок (продольное Y) і шпиндельной бабки (вертикальное Z), мм | 640 х 400 х 500 | 640 х 400 х 500 |
| Число Т- образных пазов на столе | 5 | 5 |
| Величина ускоренного переміщення стола і шпиндельной бабки, мм/мин | 6000 | 6000 |
| Пределы рабочих подач (скорость) при фрезеровании по ося X,Y,Z (бесступенчатое), мм/мин | 1..6000 | 1..6000 |
| Шпиндель. Шпиндельная бабка | ||
| Частота обертання шпинделя (б/с регулювання), об/мин | 6,3..3150 | 6,3..3150 |
| Количество ступеней (частот) обертання шпинделя | 55 | 55 |
| Внутренний конус шпинделя | 40(7:24) | 40(7:24) |
| Наибольший конус закрепляемого инструмента | Морзе 4 | Морзе 4 |
| Найбільше зусилля подач за координатою Z (вертикальне), Н | 4000 | 4000 |
| Найбільший крутний момент на шпинделі, Нм | 210 | 210 |
| Влаштування зміни інструменту | ||
| Кількість гнізд в інструментальному магазині | 30 | 30 |
| Час зміни інструменту "від різу до різу", з | 10..12 | 10..12 |
| Найбільша маса оправки інструменту, кг | 10 | 10 |
| Найбільший діаметр інструменту без пропуску гнізд / з пропуском гнізд, мм | 85/160 | 85/160 |
| Найбільша довжина інструменту, мм | 250 | 250 |
| Привід | ||
| Кількість електродвигунів на верстаті | 8 | 8 |
| Електродвигун приводу головного руху, кВт | 4,2 | 4,2 |
| Електродвигун приводу переміщення шпиндельної коробки, кВт | 1,1 | 1,1 |
| Електродвигун приводу переміщення столу, кВт | 1,1 | 1,1 |
| Електродвигун приводу санчат, кВт | 0,1 | 0,1 |
| Електродвигун гідростанції, кВт | 0,75 | 0,75 |
| Електродвигун вентилятора гідростанції, кВт | 0,12 | 0,12 |
| Електродвигун насоса охолоджувальної рідини, кВт | 0,12 | 0,12 |
| Електродвигун вентилятора двигуна головного руху, кВт | 0,12 | 0,12 |
| Сумарна потужність усіх електродвигунів, кВт | 8,61 | 8,61 |
| Стендовий калібр | ||
| Габарити верстата, включаючи хід столу та санок (довжина х ширина х висота), мм | 2515 х 2466 х 3060 | 2515 х 2466 х 3060 |
| Маса верстата, кг | 6885 | 6885 |