Виробник токарно-гвинторізного комбінованого верстата моделі 1А95 – Новосибірський верстатобудівний завод XVI партз'їзду , заснований у 1931 році.
Більш досконалі комбіновані токарно-гвинторізні верстати 1М95 , 1Д95 , 1Е95 випускав - Алма-Атинський верстатобудівний завод .
Універсальний комбінований токарно-гвинторізний верстат 1А95 призначений для виконання токарних, фрезерних, свердлильних, розточувальних, шліфувальних, довбальних та заточувальних робіт. А, також, для токарної обробки зовнішніх і внутрішніх поверхонь деталей типу тіл обертання різноманітного осьового профілю, у тому числі для нарізування метричної, модульної, дюймової та різьб на питці на заготовках, що встановлюються в центрах або патроні.
Комбінований верстат моделі 1А95 призначений для роботи в пересувних та стаціонарних майстернях.
Корпус передньої бабки верстата 1А95 пересувається вертикальними напрямними стійки, яка кріпиться до станини.
У верхній частинині передньої бабки кріпиться свердлильно-фрезерний агрегат, а до переднього торця - довбання, якщо воно необхідно.
Пристрій для зовнішнього та внутрішнього шліфування монтується на столі супорта, заточний пристрій на торці станини.
Привід токарно-фрезерного та свердлильно-фрезерного агрегатів здійснюється від окремих електродвигунів, також, як шліфувального та заточувального пристроїв.
Зміна числа оборотів шпинделя токарно-фрезерного агрегату досягається перемиканням відповідних рукояток коробки швидкостей, а шпинделя свердлильно-фрезерного агрегату - зміною положення ременя на щаблях шківів і перемиканням перебору.

Габарити робочого простору токарного верстата 1А95

Шпиндель токарно-гвинторізного верстата 1А95

Фото токарно-гвинторізного верстата 1А95
Фото токарно-гвинторізного верстата 1А95. Дивитись у збільшеному масштабі

Фото токарно-гвинторізного верстата 1А95

Розташування органів керування токарно-гвинторізним верстатом 1А95
Розташування органів керування токарно-гвинторізним верстатом 1А95. Дивитись у збільшеному масштабі

Кінематична схема токарно-гвинторізного верстата 1А95
Схема кінематична токарно-гвинторізного верстата 1А95. Дивитись у збільшеному масштабі
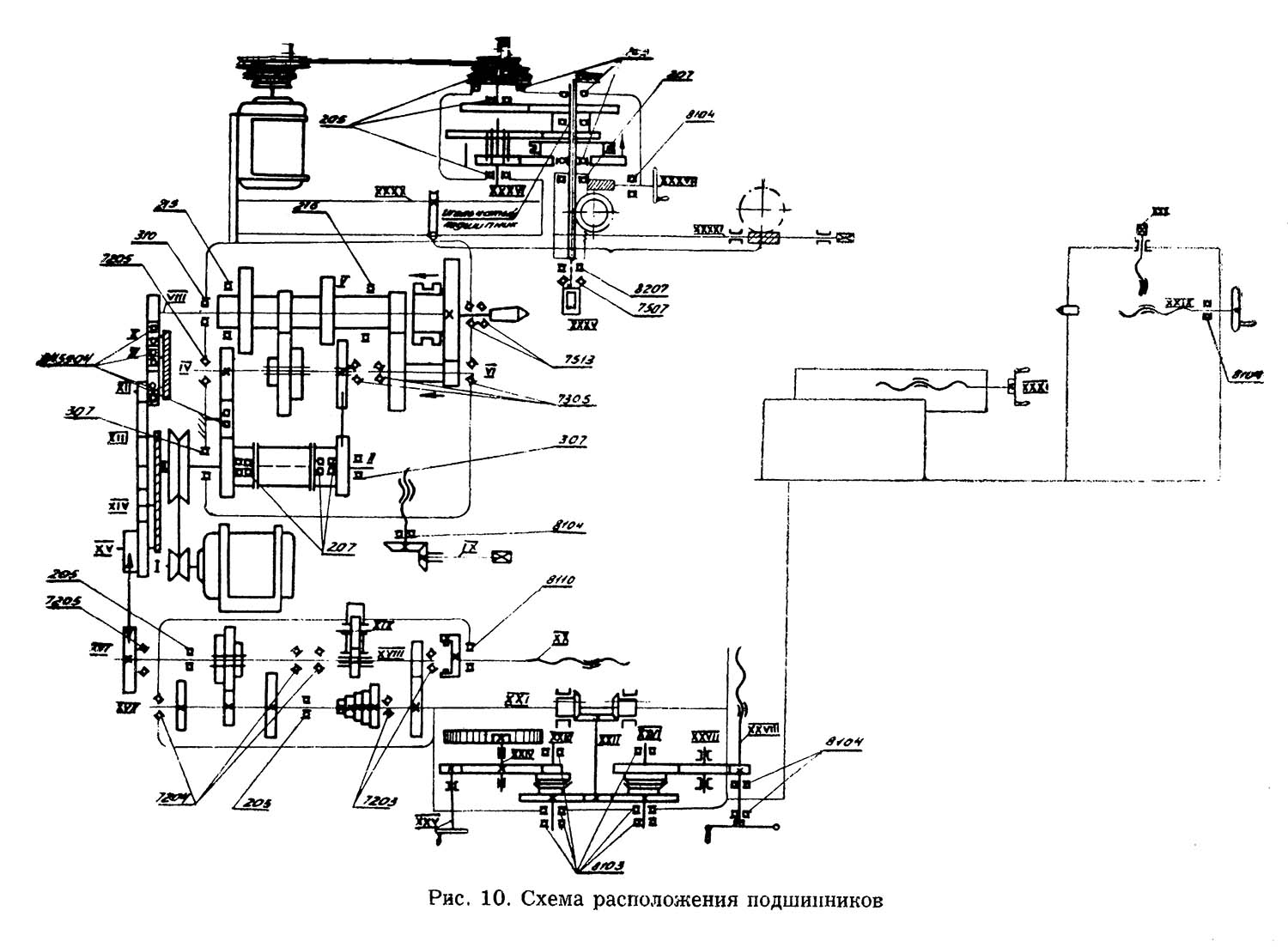
Схема розташування підшипників верстата 1А95. Дивитись у збільшеному масштабі
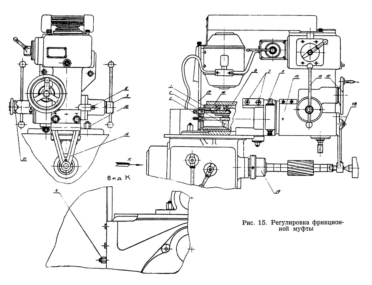
Привід шпинделя токарно-фрезерного агрегату здійснюється від електродвигуна через двосторонню фрикційну муфту, реверсування якої пов'язане зі збільшенням оборотів шпинделя. Одночасний реверс електродвигуна та муфти дає додатково до основних 6 числа оборотів шпинделя ще 6 прискорених.
Привід шестерни 30 коробки подач осуществляется через трензель і набор шестерен 26, 27, 28, 29 гітари, положение которых остается постоянным даже при максимальном подъеме передньої бабки как во время точения і фрезерування, так і нарізання метрических резьб. Для нарізання дюймовых різьб шестерни гітари устанавливаются по таблице пли руководству.
Подачи несколько ниже табличных можно получить, если сменить местами шестерни 28 (z = 52) і 26 (z = 65), подачі і метрические різьби вчетверо больше табличных - сменой мест шестерен (z = 47) і 30 (z = 74).
Привід шпинделя сверлильно-фрезерного агрегата осуществляется от отдельного електродвигуна через трехступенчатый шкив, редуктор і перебор.

фрезерно-свердлильне пристрій токарно-гвинторізного верстата 1А95
фрезерно-свердлильне пристрій токарно-гвинторізного верстата 1А95. Дивитись у збільшеному масштабі
| Наименование параметра | 1А95 | 1М95 | 1Д95 | 1Е95 |
|---|---|---|---|---|
| Основні параметри | ||||
| Класс точності по ГОСТ 8-82 | Н | Н | Н | Н |
| Наибольший диаметр заготовки над станиной, мм | 420 | 500 | 400 | 400 |
| Наибольший диаметр заготовки над выемкой станины (по заказу), мм | - | - | 550 | 570 |
| Наибольший диаметр заготовки над суппортом, мм | 420 | 210 | 210 | |
| Высота центров над направляющими станины, мм | 235..355 | 210 | 210 | |
| Высота оси шпинделя над суппорт-столом, мм | 175..420 | 125..245 | ||
| Наибольшая длина заготовки (РМЦ), мм | 1000 | 1000 | 1000 | 1000 |
| Наибольшая длина обтачивания, мм | 820 | 950 | 950 | |
| Наибольшая масса заготовки в патроне, кг | ||||
| Наибольшая масса заготовки в центрах, кг | 100 | |||
| Передня бабка | ||||
| Наибольшее вертикальное перемещение передньої бабки, мм | 120 | нет | нет | |
| Шпиндель | ||||
| Диаметр сквозного отверстия в шпинделе, мм | 35 | 35 | 52 | 52 |
| Наибольший диаметр прутка, мм | 32 | 32 | 50 | 50 |
| Число ступеней частот прямого обертання шпинделя | 12 | 12 | 16 | 16 |
| Частота прямого обертання шпинделя, об/мин | 23..1000 | 28..1250 | 16..1250 | 20..1600 |
| Размер внутреннего конуса в шпинделе | Морзе 5 | Морзе 6 | Морзе 6 | Морзе 6 |
| Кінець шпинделя по ГОСТ 12593-72 | М68 х 6 | 6К | 6К | |
| Торможение шпинделя | нет | Электрическое | Электрическое | |
| Суппорт-стол. Подачи | ||||
| Розміри рабочей поверхности фрезерного стола, мм | 300 | 280 х 700 | ||
| Наибольшее продольное перемещение каретки суппорта, мм | 820 | 950 | 950 | |
| Наибольшее поперечное перемещение суппорта, мм | 320 | 300 | 275 | |
| Наибольшее поперечное перемещение верхнего суппорта (резцовые салазки), мм | 110 | 100 | 130 | |
| Число ступеней продольных і поперечных подач | 15 | 24 | 16 | 48 |
| Пределы скорости продольных подач, мм/об | 0,13..1,17 | 0,13..1,87 | 0,0028..0,078 | 0,03..4,21 |
| Пределы скорости поперечных подач, мм/об | 0,07..0,65 | 0,072..1,016 | 0,0014..0,039 | 0,015..2,1 |
| Скорость быстрых перемещений суппорта, продольных/ поперечных, м/мин | нет | 4/ 2 | 4/ 2 | |
| Продольное перемещение на одно деление лимба, мм | 1,0 | |||
| Продольное перемещение на одно деление нониуса, мм | ||||
| Поперечное перемещение суппорта на одно деление лимба, мм | 0,05 | |||
| Перемещение резцовых салазок на одно деление лимба, мм | 0,05 | 0,05 | 0,05 | |
| Количество нарезаемых різьб метрических | 23 | 18 | 26 | |
| Пределы шагов нарезаемых різьб метрических, мм | 0,5..18 | 1..12 | 0,5..14 | 0,5..56 |
| Количество нарезаемых різьб дюймовых | 28..3 | 24 | 35 | 39 |
| Пределы шагов нарезаемых різьб дюймовых | 3..28 | 60..3,5 | 56..0,5 | |
| Количество нарезаемых різьб модульных | 13 | 18 | 22 | |
| Пределы шагов нарезаемых різьб модульных | 0,25..35 | 0,5..7 | 0,5..28 | |
| Количество нарезаемых різьб питчевых | 24 | 35 | 32 | |
| Пределы шагов нарезаемых різьб питчевых | 8..112 | 56..2,0 | ||
| Предохранитель от перегрузки | есть | |||
| Блокировка продольных і поперечных подач | есть | |||
| Выключающие продольные упоры | нет | |||
| Шероховатость поверхности заготовки из конструкционной стали при чистовом обтачивании, мкм, не более | Ra 2.0 | |||
| Задня бабка | ||||
| Наибольшая длина переміщення задньої бабки вдоль станины, мм | 820 | |||
| Наибольшая длина вертикального переміщення задньої бабки, мм | 120 | нет | нет | |
| Наибольшая длина переміщення пиноли задньої бабки, мм | 165 | 120 | 120 | |
| Наибольшее перемещение задньої бабки, мм | ±20 | |||
| Размер внутреннего конуса | №4 | Морзе 4 | Морзе 5 | |
| Сверлильный агрегат | ||||
| Наибольший диаметр сверления, мм | 25 | 25 | 25 | |
| Наибольший ход шпинделя, мм | 80 | 80 | 80 | |
| Вылет оси сверлильного шпинделя, мм | 290 | 210 | 210 | |
| Диаметр сверлильного стола, мм | 320 | 280 х 280 | ||
| Вертикальное перемещение сверлильного стола, мм | 465 | |||
| Размер внутреннего конуса сверлильного шпинделя | №3 | Морзе 3 | ||
| Расстояние от кінця шпинделя до сверлильного стола, мм | 40..540 | 400 | ||
| Количество швидкостей шпинделя | 6 | |||
| Частота прямого обертання шпинделя, об/мин | 62..1118 | 11..78 | ||
| Вертикально-фрезерна головка | ||||
| Вылет оси шпинделя фрезерной головки, мм | 380 | |||
| Расстояние от кінця шпинделя до суппорт-стола, мм | 120..240 | |||
| Наибольшее продольное перемещение суппорт-стола, мм | 320 | |||
| Размер внутреннего конуса фрезерной головки | №3 | |||
| Шлифовальное пристрій | ||||
| Диаметр шлифуемой заготовки при наружном шлифовании, мм | 25..210 | 20..210 | ||
| Диаметр шлифуемой заготовки при внутреннем шлифовании, мм | 30..300 | 30..300 | ||
| Частота обертання шпинделя при наружном шлифовании, об/мин | 5950, 3560 | 4400 | 4400 | |
| Частота обертання шпинделя при внутреннем шлифовании, мм | 11000 | 11000 | ||
| Долбежное пристрій | ||||
| Длина ходу долбяка, мм | 100 | 100 | ||
| Вылет суппорта долбяка, мм | 310 | |||
| Наибольшая высота долбления, мм | 80 | |||
| Наибольшая длина долбления, мм | 280 | |||
| Наибольшая ширина ходу долбления, мм | 320 | |||
| Електроустаткування | ||||
| Количество електродвигателей на станке | 5 | 4 | 6 | |
| Електродвигун головного привода, кВт (об/мин) | 3 (1430) | 4 | 4 | 5,5 |
| Електродвигун приводу ускоренных перемещений, кВт | - | - | 0,4 | 0,55 |
| Електродвигун приводу сверлильного агрегата, кВт | 1,1 | 1,1 | 1,1 | 1,1 |
| Електродвигун заточного приспособления , кВт | 0,8 | 0,8 | 0,75 | 0,75 |
| Електродвигун шлифовального приспособления , кВт | 0,8 | - | 0,27 | 0,27 |
| Електродвигун насоса охлаждения, кВт | 0,12 | 0,12 | 0,125 | 0,125 |
| Суммарная мощность, кВт | ||||
| Габарити і масса верстата | ||||
| Габарити верстата (длина ширина высота) (РМЦ 1000), мм | 2800 х 1290 х 1650..1775 | 2750 х 1255 х 1670 | 3000 х 1200 х 1610 | 3000 х 1200 х 1640 |
| Масса верстата (РМЦ 1000), кг | 2050 | 2170 | 2030 | 2475 |