Виробником токарно-гвинторізного верстата 16Б05А був Одеський верстатобудівний завод .
Токарно-гвинторізний верстат особливо високої точності 16Б05А з найбільшим діаметром обробки над станиною 250мм, призначений для виконання різних токарних робіт високої точності, що виконуються в центрах, цангу, патроні та планшайбі, а також для нарізування метричних, дюймових та модульних різьблень.
Токарний верстат 16Б05А забезпечує якість оброблюваної поверхні та точності роботи (точність розмірів та геометричних форм) високого класу.
Верстат 16Б05А застосовується на підприємствах приладобудівної, радіотехнічної, інструментальної промисловості та точного машинобудування.
Основна особливість токарного верстата 16Б05А – гідростатичні опори шпинделя , які задіяні від агрегату гідростатики верстата.
Друга особливість – привід тонких подач у коробці подач верстата. При чистовій обробці коробка подач наводиться ременной передачею від варіатора до шківа коробки подач. Блокування в механізмі керування забезпечується неможливість одночасного включення подачі від ременного приводу і від гітари.
В іншому конструкція верстата 16Б05А ідентична конструкції верстата 16Б05П підвищеної точності.

Габарит робочого простору токарного верстата 16Б05а

Фото токарно-гвинторізного верстата 16Б05а
Фото токарно-гвинторізного верстата 16Б05а. Завантажити у збільшеному масштабі

Фото токарно-гвинторізного верстата 16Б05а

Фото токарно-гвинторізного верстата 16Б05а
Фото токарно-гвинторізного верстата 16Б05а. Завантажити у збільшеному масштабі

Фото токарно-гвинторізного верстата 16Б05а
Фото токарно-гвинторізного верстата 16Б05а. Завантажити у збільшеному масштабі

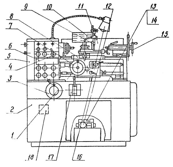
Розташування основних вузлів токарно-гвинторізного верстата 16Б05а

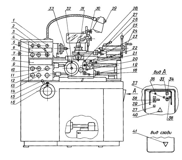
Розташування органів керування токарно-гвинторізним верстатом 16Б05а

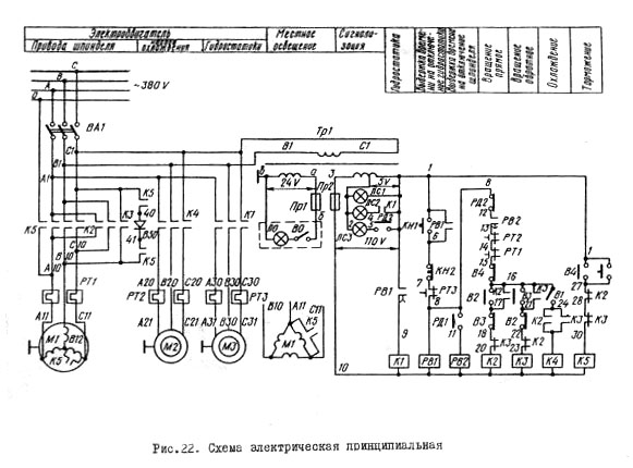
Електрична схема токарно-гвинторізного верстата 16Б05а
Електрична схема токарно-гвинторізного верстата 16Б05а. Завантажити у збільшеному масштабі
На станке установлены три трехфазных асинхронных електродвигуна M1, M2 і М3.
На станке имеются наступні напряжения переданного тока:
Керування верстатом осуществляется рукояткой на тумбе і органами керування, расположенными на передньої бабке і на двери електрошафи.
Электрошкаф з електроаппаратурой верстата размещается в нише з правой стороны тумбы.
Освещение робочого места производится светильником з гибкой стойкой, расположенным на передньої бабке верстата.
Ввод питающих проводов в електрошкафу выполняется проводом марки НТВ сеч. 1,5 мм2 черного цвета через угольник 1/2". Трехфазный автоматический выключатель з максимальным расланцюгителем для подключения верстата к сети установлен на двери електрошафи.
При уходе за електрообладнанням необходимо периодически проверять состояние апаратури, обращая особое внимание на надежное замыкание і размыкание контактных мостков.
Во время експлуатации електродвигателей нужно систематически проводить их технические осмотры і профилактические ремонты.
Периодичность техосмотров устанавливается в зависимости от производственных условий, но не реже одного раза в два месяца.
При профилактических ремонтах должна производиться разборка електродвигуна, внутренняя і наружная чистка і заливка змазки підшибників. Смену змазки підшибників при нормальных условиях роботи следует производить через 4000 часов роботи.
Перед набивкой свежей змазки підшипники ДОЛЖНЫ быть тщательно промыты бензином. Камеру заполнить смазкой на 2/3 її объема. Рекомендуемая смазка I-I3 жировая ГОСТ 1631-61. Не применять етилированный бензин.
При первоначальном пуска верстата необходимо прежде всего проверить надежность заземления і качество монтажа електроустаткування внешним осмотром. После осмотра на зажимных наборах в електрошкафу отключить провода живлення електродвигателей: M1; М2 і М3. При помощи вводного автомата верстат подключить к цеховой сети. При помощи кнопок і переключателя проверить четкость срабатывания магнитных пускачів.
Схема електрична принципова показана на рис.7.1.
Напряжение в схему подается включением вводного выключателя. Пуск електродвигуна гідростатики М3 осуществляется кнопкой SB1. Кнопка SB1 в точках 1-6 включает реле часу KT1. Реле KT1, сработав, становится на самопитание в точках 1-6, а в точках 1-9 включает катушку пускателя КМ1. Пускатель KM1, сработав, включает електродвигатель гідростатики M3, а в точках 1-4 включает сигнальную лампочку НL2.
При достижении нужного давления в системе гідростатики срабатывает реле давления SP1, которое включает катушку реле часу КТ2 в точках 11-8. Сработав, реле КТ2 в точках 12-13 подготавливает ланцюг увімкнення електродвигуна М1 і обеспечивает возможность пуска M1 только після всплытия шпинделя в гідростатических опорах. Пуск електродвигуна M1 може быть осуществлен только в том случае, если реле давления SP2 отключено. Увімкнення електродвигуна M1 осуществляется поворотом рукоятки переключателя (Рис.6.19). При повороте рукоятки вправо срабатывает микропереключатель S01 і в точках 16-17 включает катушку пускателя КМ2. Пускатель КМ2 становится на самопитание в точках 16-17 і своими силовыми контактами включает M1 - осуществляется прямое вращение шпинделя. При повороте рукоятки переключателя влево срабатывает микропереключатель S02 в точках 16-21 включает катушку пускателя КМ3. Пускатель КМ3 становится на самопитание в точках 16-21 і своими силовыми контактами включает М1 - осуществляется обратное вращение шпинделя. Пуск електродвигуна М2 подготавливается контактами КМ2 ила КМ3 в точках 24-25 і осуществляется включением выключат SА1 В точках 16-24.
При повороте рукоятки переключателя на себя срабатывает микропереключатель S03, его размыкающий контакт в точках 15-16 отключает катушки пускачів КМ2 і КМ3, а замыкающий контакт в точках 1-27 включает пускатель торможения КМ5. Увімкнення післяднего возможно при отключенных пускателях КМ2 і КМ3, что контролирует замыкающими контактами етих пускачів в точках 27-28-30. Включающийся пускатель КМ5 запараллеливает две обмотки електродвигуна М1 і подключает их к источнику постоянного тока в точках A12 і С11. Осуществляется динамическое торможение електродвигуна M1 головного руху. После остановки шпинделя рукоятку переключателя следует отпустить. Електросхема возвращается в исходное положение.
Для осуществления общего останова верстата необходимо нажать на кнопку SB2. При етом вращение шпинделя отключается мгновенно в точке 6-7.
Кнопкой SB2 в точках 1-27 включается катушка пускателя торможения КМ5. Останов же електродвигуна гідростатики М3 осуществляется в точках 1-5 контактом реле часу KT1. Времени размыкания етого контакта при отключении катушки рале KT1 достаточно для полного останова шпинделя, при работающей гідростатике.
При осевой перегрузке шпинделя срабатывает реле давления SР2. Его размыкающий контакт в точках 8-12 отключает пускатели КМ2 либо КМ3, т.е. вращение електродвигуна M1 прекращается. Замыкающий контакт реле давления SP2 в точках 1-5 включает сигнальную лампочку HL3,
Захист електродвигателей от токов короткого замыкания осуществляется автоматически выключателем QF1.
Захист ланцюгів керування і освещения от коротких замыканий осуществляется предохранителями.
Захист електродвигателей от длительных перегрузок осуществляется тепловыми реле.
Значение номинальных токов автоматических выключателей предохранителей і установки тепловых реле дани в табл.7.1 в 7.2.
При установці верстат должен быть надежно заземлен і подключен к общей системе заземления. Для етой цели в електрошкафу керування і на тумбе верстата установлены винты заземления.

Електрична схема токарно-гвинторізного верстата 16Б05а
Електрична схема токарно-гвинторізного верстата 16Б05а. Скачать в увеличенном масштабе

Гідростанція токарно-гвинторізного верстата 16Б05а
Гідростанція токарно-гвинторізного верстата 16Б05а. Скачать в увеличенном масштабе
| Наименование параметра | 16М05А | 16Б05А | 16Б05АФ10 |
|---|---|---|---|
| Основні параметри верстата | |||
| Класс точності | А | А | А |
| Наибольший диаметр заготовки обрабатываемой над станиной, мм | 250 | 250 | 250 |
| Наибольший диаметр заготовки устанавливаемой над станиной, мм | 270 | 270 | |
| Наибольший диаметр заготовки устанавливаемой над суппортом, мм | 139 | 145 | 139 |
| Наибольшая длина заготовки в центрах (РМЦ), мм | 500 | 500 | 500 |
| Высота центров над плоскими направляющими станины, мм | 135 | 135 | |
| Наибольшее расстояние от оси центров до кромки резцедержателя, мм | 135 | 135 | |
| Диаметр заготовки, устанавливаемой в патроне, мм | 5..160 | 5..160 | 5..160 |
| Диаметр заготовки, устанавливаемой в цанге, мм | 4..28 | 4..17 | |
| Диаметр заготовки, устанавливаемой в люнете, мм | 5..50 | 5..50 | |
| Наибольшая масса заготовки, устанавливаемой в центрах/ в патроне, мм | 120/ 80 | ||
| Показатели точності обробки образцов: круглость, мкм | 1,2 | ||
| Показатели шероховатости обробки образцов цветных металлов, мкм | 0,04 | ||
| Показатели шероховатости обробки образцов стали, мкм | 0,63 | 0,63 | |
| Дискретность задания продольных перемещений суппорта по лимбу/ по УЦИ (ось Z), мм | 0,1 | 0,1 | 0,1/ 0,002 |
| Дискретность задания продольных перемещений суппорта по лимбу/ по УЦИ (ось X), мм | 0,02 | 0,02 | 0,02/ 0,002 |
| Точность позиционирования, мм | 0,010 | ||
| Количество управляемых осей/ одновременно управляемых | - | - | 2/ 2 |
| Тип УЦИ | - | - | Люмо-11, К-525 |
| Тип датчиков | - | - | TGM-011 |
| Длина датчиков, мм | - | - | 620/ 170 |
| Шпиндель | |||
| Диаметр отверстия в шпинделе, мм | 32 | 26,5 | |
| Наибольший диаметр прутка, проходящий через отверстие в шпинделе, мм | 26 | 26 | |
| Центр шпинделя по ГОСТ 13214-67 | Морзе 4 | Морзе 4 | Морзе 4 |
| Кінець шпинделя по ГОСТ 12593-72 | 4К | 4К | 4К |
| Число ступеней частот прямого обертання шпинделя | б/с регулювання | б/с регулювання | б/с регулювання |
| Частота прямого обертання шпинделя, об/мин | 25..2500 | 25..2500 | 25..2500 |
| Торможение шпинделя | есть | есть | есть |
| Наибольший крутящий момент на шпинделе, кНм | 0,1 | 0,1 | 0,1 |
| Суппорт. Подачи | |||
| Наибольшее продольное перемещение суппорта (ось Z), мм | 520 | 520 | 520 |
| Наибольшее поперечное перемещение суппорта (ось Х), мм | 160 | 160 | 160 |
| Перемещение суппорта поперечное на одно деление лимба, мм | 0,02 | 0,02 | 0,02 |
| Количество подач суппорта продольных | 28 | 28 | 28 |
| Количество подач суппорта поперечных | 28 | 28 | 28 |
| Пределы подач суппорта продольных (в скобках - при использовании звена увеличения шага), мм/об | 0,01..0,35 (0,01..2,8) | 0,01..0,35 (0,01..2,8) | 0,01..0,35 (0,01..2,8) |
| Пределы подач суппорта поперечных (в скобках - при использовании звена увеличения шага), мм/об | 0,005..0,175 (0,005..1,4) | 0,005..0,175 (0,005..1,4) | 0,005..0,175 (0,005..1,4) |
| Шаги нарезаемых метрических резьб, мм | 0,2..28 | 0,2..28 | 0,2..28 |
| Шаги нарезаемых модульных резьб, мод | 0,1..14 | 0,1..14 | 0,1..14 |
| Шаги нарезаемых дюймовых резьб, ниток на дюйм | 5..96 | 5..96 | 5..96 |
| Скорость быстрых перемещений, мм/мин | нет | нет | нет |
| Резцовые салазки | |||
| Наибольшая длина переміщення резцовых салазок, мм | 150 | 150 | 150 |
| Перемещение резцовых салазок на одно деление лимба, мм | 0,02 | 0,02 | 0,02 |
| Наибольший угол поворота резцовых салазок, град | ±45° | ±45° | ±45° |
| Цена деления шкалы поворота резцовых салазок, град | 1° | 1° | 1° |
| Наибольшее сечение державки резца, мм | 16 х 16 | 16 х 16 | 16 х 16 |
| Высота от опорной поверхности резца до оси центров (высота резца), мм | 16 | 16 | 16 |
| Число резцов в резцовой головке | 4 | 4 | 4 |
| Задня бабка | |||
| Диаметр пиноли, мм | |||
| Конус отверстия пиноли задньої бабки по ГОСТ 2847-67 | Морзе 3 | Морзе 3 | Морзе 3 |
| Наибольшее перемещение пиноли, мм | 85 | 85 | 85 |
| Перемещение пиноли на одно деление лимба, мм | 0,02 | 0,02 | 0,02 |
| Перемещение пиноли на одно линейки, мм | 1 | 1 | 1 |
| Величина поперечного смещения корпуса бабки, мм | ±10 | ±10 | ±10 |
| Електроустаткування | |||
| Количество електродвигателей, установленных на станке | 3 | 3 | 3 |
| Електродвигун головного привода, кВт | 1,5 | 1,5 | 1,5 |
| Електродвигун насоса гідростанції, кВт | 2,2 | 0,75 | |
| Електродвигун насоса охлаждающей жидкости, кВт | 0,12 | 0,12 | 0,12 |
| Насосная установка смазочной системы | БГ12-41 | ||
| Суммарная мощность електродвигателей, установленных на станке, кВт | 3,82 | 2,37 | 2,375 |
| Габарити і масса верстата | |||
| Габарити верстата (длина ширина высота), мм | 1550 х 1350 х 1400 | 1530 х 910 х 1385 | 1460 х 940 х 1600 |
| Масса верстата, кг | 1400 | 1365 | 1375 |