Фартух токарно-гвинторізного верстата жорстко кріпиться до переднього торця каретки супорта .
Фартух перетворює обертальний рух ходового ггвинта або ходового валика в поступальне переміщення супорта (подачу) вздовж направляючих станини. Рух від ходового валика також використовується для механічного переміщення поперечних санок.
Технічні характеристики, фотографії та креслення наведені на сторінці Токарно-гвинторізний верстат 1К62 .
Ходовий гвинт використовується при нарізанні різьблення. Обертальний рух ходового ггвинта перетворюється на поступальний рух супорта (рух подачі) за допомогою роз'ємної маткової гайки. Швидкість обертання ходового ггвинта, отже швидкість подачі, регулюється коробкою подач токарного верстата.
Ходовий валик використовується при виконанні решти токарних робіт. Обертальний рух ходового валика перетворюється на поступальний рух супорта (рух подачі) за допомогою черв'яка на ковзній шпонці, зубчастої рейки закріпленої на станині і зчепленого з рейкою зубчастого колеса. Це колесо може отримувати обертання або механічно - від ходового валу або вручну від обертання рукоятки (маховичка).
Механізми у фартуху можуть перетворювати обертальний рух ходового валика на поступальний рух (механічну подачу) поперечних санок супорта.
Для прискореного руху супорта використовується окремий електродвигун, що обертає ходовий валик із підвищеною швидкістю.
Змащення всіх приводних частинин, підшипникові опори та напрямні супорта та каретки забезпечує плунжерний насос. Він змонтований і на нижній кришці фартуха і приводиться в дію від валу черв'ячної шестерні.
Змащування ходового ггвинта проводиться за допомогою ручної маслянки при включеній матковій гайці.

1. Схема кінематична токарно-гвинторізного верстата. Дивитись у збільшеному масштабі
2. Схема кінематична токарно-гвинторізного верстата. Дивитись у збільшеному масштабі
3. Схема кінематична токарно-гвинторізного верстата. Дивитись у збільшеному масштабі
Фартух токарно-гвинторізного верстата має чотири кулачкові муфти, що дозволяють здійснити прямий і зворотний хід каретки та супорта. Керування переміщеннями каретки здійснюється мнемонічною рукояткою 25. Напрямок включення рукоятки збігається з напрямком переміщення супорта. Включення швидких переміщень супорта у зазначених чотирьох напрямках здійснюється додатковим затисканням кнопки 12, вбудованої в рукоятку 25. Цим і натисканням включається електродвигун швидких ходів, який через клинопасову передачу повідомляє рух ходового валу.
Фартух має блокуючий пристрій, що перешкоджає одночасному включенню поздовжньої та поперечної подач супорта, а також запобіжну кулачкову муфту, яка спрацьовує під дією зусиль, що виникають при перевантаженні фартуха.
Для нарізання різьблення слід рукояткою 24 включити маточну гайку і вивести з зачеплення рейкову шестірню шляхом витягування кнопки 6.

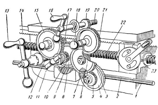
Рис 9. Схема фартука токарно-гвинторізного верстата
Поздовжня подача супорта верстата при виконанні всіх токарних робіт, крім нарізування різьблення, здійснюється за допомогою закріпленої на станині зубчастої рейки 14 і зубчастого колеса 17, що котиться по ній. Це колесо може отримувати обертання або механічно - від ходового валу 1, або вручну від брехні . Механічна поздовжня подача здійснюється в такий спосіб. У довгу шпоночную канавку 2 ходового валу 1 входить шпонка сидить на ньому черв'яка 9. Повертаючись, черв'як приводить в рух черв'ячне колесо 8. Для включення механічної поздовжньої подачі потрібно рукояткою 11 з'єднати (за допомогою муфти) черв'ячне колесо з колесом. 15, а разом з ним буде обертатися рейкове колесо, що сидить на тому ж валику 17. Це колесо котиться по нерухомій рейці 14, приводячи в рух фартух і каретку супорта вздовж станини.
Ручна поздовжня подача проводиться рукояткою 13 через колеса 12, 15, 17 та рейку 14.
Для здійснення механічної поперечної подачі поряд з черв'яком 9 на ходовому валу сидить конічне зубчасте колесо 7, шпонка якого також ковзає в довгій шпонковій канавці 2 ходового валу 1. Повертаючись разом з валом, колесо 7 приводить у обертання інше конічне колесо 4 і циліндр 3, 6 і 21. За допомогою кнопки 18 можна колесо 21 зчепити з колесом 19. Разом з колесом 19 приходить у обертання гвинт 20, здійснюючи поперечну подачу різця. Для вимкнення поперечної подачі колесо 21 виводять із зачеплення з колесом 19, користуючись тією ж кнопкою 18.
Ручна поперечна подача проводиться ручкою 16.

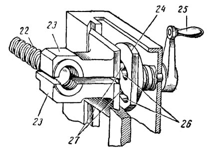
Мал. 10. Пристрій роз'ємної гайки (маткової гайки) токарно-гвинторізного верстата
Для поздовжнього переміщення супорта при нарізанні різьблення користуються ходовим гвинтом 22, з яким пов'язана гайка роз'ємна (маткова гайка) 23, встановлена у фартуху.
Пристрій гайки роз'єму показано на рис. 10. При нарізанні різьблення обидві половини гайки 23 зближують за допомогою рукоятки 25; зближуючись, вони захоплюють нарізку ггвинта 22, при обертанні якого фартух, а разом з ним і супорт з різцем отримують поздовжнє переміщення. Для зсуву і розсування половин гайки роз'ємної на валику рукоятки 25 закріплений диск 24 з двома спіральними прорізами 26, в які входять пальці 27 нижньої і верхньої половини гайки 23. При повороті диска 24 прорізи змушують пальці, а отже, і половини гайки.

Фартух токарно-гвинторізного верстата. Дивитись у збільшеному масштабі
Включення подачі ходовим гвинтом здійснюється замиканням маткової гайки (фіг. I, 15). Вона складається з двох півгайок 1 і 2, які можуть переміщатися напрямними, виконаним у фартуху. За допомогою рукоятки 4 на лицьовій стороні фартуха півгайки можна зближувати, замикаючи їх на гвинті, або звільняти його; переміщення їх здійснюється диском 5 з фасонними пазами, які входять штифти 3, запресовані в напівгайки.
Рух від ходового валика передається через ковзну по ньому разом з фартухом шестерню z = 27 (див.схема1, 6) на черв'ячну передачу фартуха. З валу черв'ячного колеса обертання передається в залежності від того, яка із зубчастиних муфт М6, М7, М8 або М9 включена - або на рейкову шестерню г = 10 - для отримання поздовжньої подачі, або на шестерню г = 20, що сидить на гвинті, що подає XXI поперечних санок, - для отримання механічної поперечної подачі. Увімкнення всіх цих муфт на верстаті мод. 1К62 проводиться однією рукояткою (фіг. I, 16), причому напрямок включення збігається з напрямком подачі різця. Поздовжнє переміщення супорта вручну проводиться, за допомогою маховичка на валу XXII, коли ручка включення механічної подачі встановлена в середнє положення. У фартуху є пристрій, що унеможливлює включення подачі одночасно по ходовому гвинту і ходовому валику (блокування), так як таке включення призвело б до поломки.

Фартук токарно-гвинторізного верстата
Для запобігання ланцюгу подач від перевантажень, а також для роботи з упорами (див. стор. 46), на осі черв'яка встановлена запобіжна зубчаста муфта Мп (див.схема1,6), пружина якої відрегульована на передачу певного моменту, що крутить. Якщо момент перевищить допустимий, муфта почне клацати.
Скорочення часу виконання допоміжних рухів є важливим резервом підвищення продуктивності верстатів; тому у більшості сучасних верстатів передбачені механізми, що забезпечують швидкі («прискорені») неодружені переміщення інструменту. У верстаті 1К62 для цієї мети на правому торці станини встановлений окремий електродвигун (фіг. I, 17) потужністю 1 кВт, з'єднаний клинопасової передачею з ходовим валиком. Одностороння муфта обгону Мо в коробці подач дозволяє повідомляти про обертання ходового валика як від коробки подач, так і від допоміжного двигуна.
Обгінна муфта (фіг. I, 18) має зовнішнє кільце 2, фасонний диск 1, ролики 3 і 4 пружини, підтискаючі ролики. Така муфта може передавати момент, що крутить, при заклинюванні роликів тільки в одному напрямку.
У коробці подач верстата зовнішнє кільце обгінної муфти Жорстко пов'язане з блоком шестерень z-56 (див.схема1,6), а внутрішній диск - з ходовим валиком XVI. Коли допоміжний електродвигун не включений, повідомляється рух ходового валика коробки подач; коли цей двигун увімкнений, диск муфти обертається в тому ж напрямку, що і зовнішнє кільце, але з більшою швидкістю, і це призводить до пробуксовування муфти обгінної. Після зупинки двигуна ланцюг робочих подач автоматично відновлюється. Двигун швидких переміщень включається кнопкою (див.схемаI, 16) на рукоятці включення автоматичних подач. Механізм швидких переміщень забезпечує швидкість поздовжнього переміщення супорта 3,4 м/хв і поперечного 1,7 м/хв. У важких токарно-гвинторізних верстатах, що мають кілька супортів, швидкі поздовжні та поперечні переміщення здійснюються від окремих електродвигунів, встановлених на кожному супорті.

Фото фартука токарно-гвинторізного верстата

Фартук токарно-гвинторізного верстата

Загальний вигляд фартуха токарно-гвинторізного верстата. Дивитись у збільшеному масштабі

Влаштування фартуха токарно-гвинторізного верстата. Дивитись у збільшеному масштабі

Влаштування фартуха токарно-гвинторізного верстата. Дивитись у збільшеному масштабі

Влаштування фартуха токарно-гвинторізного верстата. Дивитись у збільшеному масштабі

Влаштування фартуха токарно-гвинторізного верстата. Дивитись у збільшеному масштабі

Влаштування фартуха токарно-гвинторізного верстата. Дивитись у збільшеному масштабі
Пекеліс Р. Д., Гельберг Б.Т. Л., "Машинобудування". 1970 р.
Швидка заміна фартуха
Покрокова установка фартуха
Фрезерування направляючої кришки фартуха