
Загальний вигляд суппорта у зборі з фартухом

Супорт токарно-гвинторізного верстата
Супорт токарно-гвинторізного верстата. Дивуватися у збільшеному масштабі
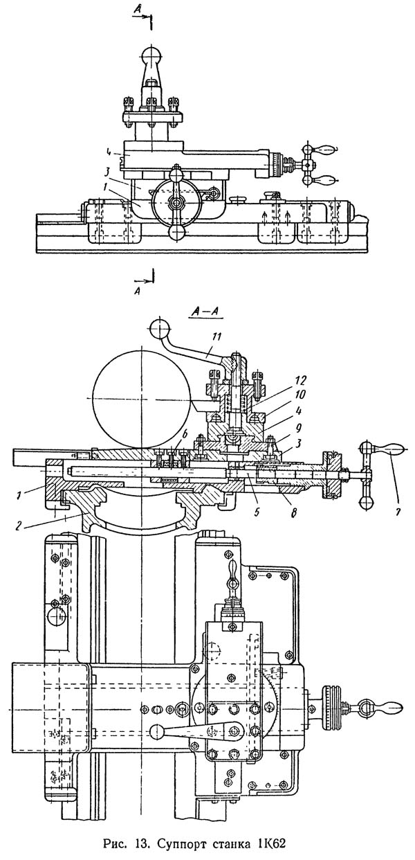
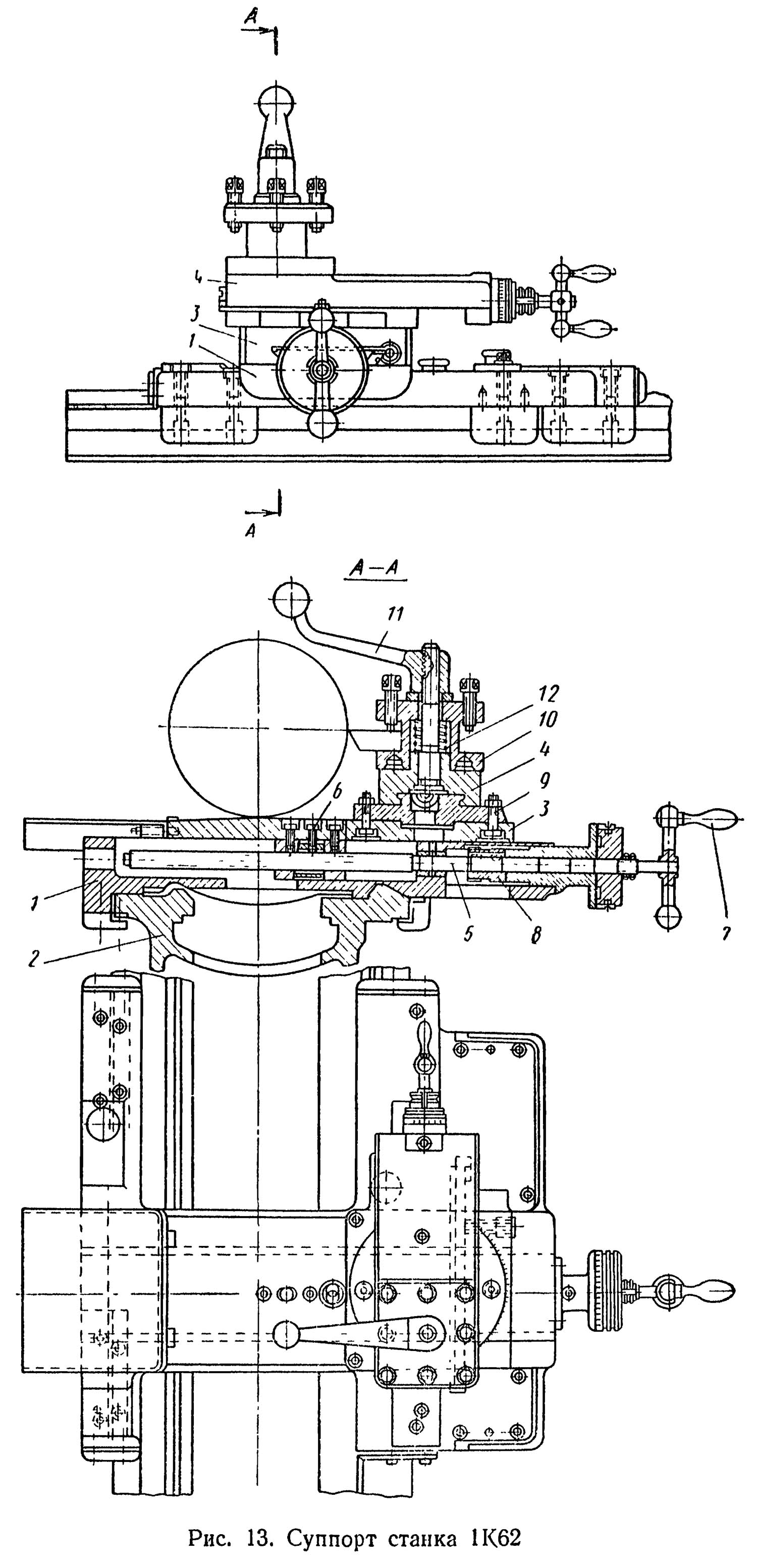
Супорт універсального токарного верстата призначений для переміщення закріпленого в різцетримачі різця вздовж осі шпинделя, поперек осі шпинделя та під кутом до осі шпинделя.
Супорт верстата має хрестову конструкцію і складається з трьох основних вузлів, що рухаються - каретка суппорта, поперечні санки суппорта, різцеві санки. У технічній літературі ці вузли називають по-різному, наприклад, каретка суппорта може називатися - нижні санки, поздовжні санки, продольна каретка. У нашому описі ми будемо дотримуватися термінології з посібника з експлуатації верстата 1к62.
Супорт складається з наступних основних частинин (рис. 13):
У кругових направляючих поперечної каретки 3 встановлена поворотна плита 9, направляючих якої переміщаються різцеві санки 4 з чотирипозиційним різцетримач 10. Така конструкція дозволяє встановлювати і затискати болтами поворотну плиту з різцевими санками під будь-яким углом до осі ш. При повороті рукоятки 11 проти часникової стрілки різцетримач 10 піднімається пружиною 12 один із нижніх відвернень його сходити з фіксатора. Після фіксації різцетримач у новому положенні його затискають, повернувши ручку 11 в зворотному напрямку.
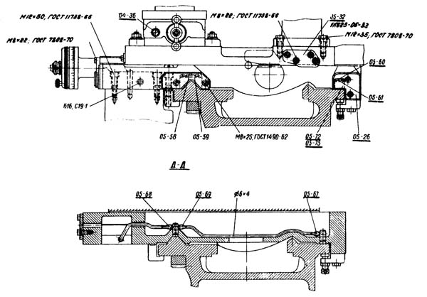
Механізм фартуха розташований у корпусі, пригорнутому до каретки суппорта (рис. 14). Від ходового валу через ряд передач обертається черв'ячне колесо 3. Обертання з валу I передається зубчастиними колесами валів II та III. На цих валах встановлені муфти 2, 11, 4 та 10 з торцевими зубами, якими включається переміщення суппорта в одному з чотирьох напрямків. Продовжній рух суппорта здійснюється рейковим колесом 1, а поперечний - гвинтом (на рис. 14 не показань), що обертається від зубчастого колеса 5. Рукоятка 8 служить для керування матковою гайкою 7 ходового ггвинта 6. Валом з кулачками 9 блокується ходовий гвинт , щоб не можна було увімкнути подачу суппорта від них одночасно.

Фото поперечних санчат і каретки суппорта
Каретка супорта (нижні санки, поздовжні санки) переміщається по направляючих станини вздовж осі шпинделя. Каретка рухається як вручну, так і механічно за допомогою механізму подачі. Рух каретці передається за допомогою фартуха , жорстко закріпленого на каретці. Каретку можна затиснути на станині притискною планкою та гвинтом для проведення важких торцювальних робіт.
У фартуху розміщені механізми та передачі, призначені для перетворення обертального руху ходового валка та ходового ггвинта у прямолінійно-поступальний рух каретки супорта, поздовжніх та поперечних санок. Фартух жорстко скріплений з кареткою супорта.
У верхній частинині каретки перпендикулярно осі шпинделя розташовані напрямні у формі хвоста ластівчина для установки поперечних санок супорта.
Основні параметри переміщення каретки супорта для верстата 1к62:
Поперечні санки супорта встановлені на каретці супорта і переміщається по направляючих каретки у формі ластівчиного хвоста під кутом 90° до осі шпинделя. Поперечні санки також рухаються як вручну, так і механічно механізмом подачі. Поперечні санки переміщаються в направляючі нижні санки за допомогою ходового ггвинта і безлюфтової гайки. При ручній подачі гвинт обертається за допомогою рукоятки 7, а при механічній від зубчастого колеса 8.
Точне переміщення санок визначається за допомогою лімбу.
Після деякого терміну роботи верстата, коли на бічних поверхнях ластівчиного хвоста з'являється зазор, точність роботи верстата знижується. Для зменшення цього зазору до нормальної величини необхідно підтягнути клинову планку, що є для цих цілей.
Для усунення люфта ходового ггвинта поперечних санчат при зносі гайки, що охоплює ходовий гвинт, остання виконана з двох половин, між якими встановлений клин. Підтягуючи клин за допомогою ггвинта вгору, можна розсунути обидві половини гайок і вибрати зазор.
На поперечні санки може бути встановлений задній різцетримач, що використовується для проточування канавок та інших робіт, що виконуються з поперечною подачею.
У верхній частинині поперечних санок розташовані кругові напрямні для встановлення та закрілення поворотної плити з різцевими санками.
Основні параметри переміщення санчат супорта для верстата 1к62:

Фото супорту верстата в зборі без фартуха
Різцеві санки (верхні санки) встановлені на поворотній частинині поперечної каретки і переміщаються по направляючих поворотної частинини, змонтованої в кругової напрямної поперечних санок. Це дозволяє різцеві санки разом з різцетримач встановлювати під будь-яким кутом до осі верстата при обточуванні конічних поверхонь.
Різцеві санки переміщаються по направляючих поворотної частинини, змонтованої в круговий напрямної поперечних санок. Це дозволяє встановлювати верхні санки разом з різцетримач при відпущених гайках під кутом до осі шпинделя верстата від -65 ° до +90 ° при обточуванні конічних поверхонь. При повороті затискної рукоятки проти годинникової стрілки здійснюється розтискання різцевої головки та виведення фіксатора, а потім поворот її в потрібне положення. Зворотним обертанням рукоятки різцева головка затискається у новому зафіксованому положенні. Головка має чотири фіксованих положення, але може бути закріплена в будь-якому проміжному положенні.
На верхній поверхні поворотної частинини розташовані напрямні у формі ластівчиного хвоста, за якими при обертанні рукоятки переміщається - різцеві (верхні) санки супорта.
Різцеві санки несуть на собі чотиригранну різцеву головку для закріплення різців і мають незалежне ручне поздовжнє переміщення по направляючих поворотної частинини супорта.
Точне переміщення санок визначається за допомогою лімбу.
Основні параметри переміщення санчат супорта для верстата 1к62:
При ремонті направляючих супорта необхідно відновити напрямні каретки, поперечних санок, поворотних санок і верхніх санок.
Відновлення направляючих каретки супорта є найбільш складним процесом і вимагає набагато більше витрат часу, ніж ремонт інших деталей супорта.

Каретка супорта токарно-гвинторізного верстата моделі 1К62. Мал. 51.
При ремонті каретки необхідно відновити:
При ремонті каретки необхідно зберегти нормальне зачеплення зубчастиних коліс фартуха з рейкою та механізмом поперечної подачі. Існуючі практично методи перерахунку і коригування цих передач є неприпустимими, оскільки у своїй порушуються відповідні розмірні ланцюга верстатів.
Не слід починати ремонт з поверхонь каретки, що сполучаються зі станиною, тому що в цьому випадку фіксують положення каретки, отримане внаслідок нерівномірного зносу цих направляючих. При цьому відновлення інших поверхонь пов'язане з невиправдано високою трудомісткістю ремонтних робіт.
Тому ремонт направляючих каретки слід починати з поверхонь 1, 2, 3 і 4 (рис. 51), що сполучаються з поперечними санчатами супорта.

Схема вимірів відхилень розмірів каретки супорта. Мал. 52.
Відновлення направляючих каретки установкою компенсаційних накладок здійснюється у такому порядку.
Якщо зношування цих поверхонь менше 1 мм необхідно зістругувати більший шар металу з тим, щоб товщина встановлюваних накладок була не менше 3 мм. Завдяки цьому передня частинина каретки в місці кріплення фартуха виявиться дещо вищою, ніж задня. Допускається відхилення 0,05 мм на довжині 300 мм. Це збільшить термін експлуатації верстата без ремонту, тому що при осаді супорта він спочатку вирівнюватматися і лише потім почнеться його перекіс.
Потім ці поверхні укладають контрольний валик 4, знову визначають відстань способом, зазначеним вище, і визначають різницю з раніше виробленим виміром розміру.
При струганні поверхні знімають шар металу, що дорівнює виробленому виміру перекосу (див. операцію 1 даного технологічного процесу), додають різницю двох вимірів відстані а і 0,1 мм. Наприклад, при перекосі 1,2 мм і різниці вироблених вимірів а - 0,35 мм з поверхні 3 зістрігають шар металу, що дорівнює 1,2 + 0,35 + 0,1 = 1,65 мм.
Потім заміряють відстань Ь, від якого віднімають раніше встановлений розмір (див. операцію 4). Різниця двох зазначених вимірів буде відповідати величині знятого шару металу.
Перевіряють профіль проструганих направляючих за контрольним шаблоном, який відповідає профілю направляючих станини.

Схема виміру співвісності отворів коробки подачі фартуха. Мал. 53.
Перевірку співвісності здійснюють за допомогою містка та індикатора, перевірку горизонтальності – за допомогою рівня.
Розміри компенсаційних накладок для відновлення направляючих кареток в залежності від величини зношування направляючих станин наведено в табл. 4
При встановленні чавунних накладок їх попередньо стругають і потім шліфують, доводячи до потрібної товщини.
Докладніше про накладки направляючих див. стор. 5-8.
Розміри компенсаційних накладок для відновлення направляючих кареток в залежності від величини зношування направляючих станин наведено в табл. 4
При встановленні чавунних накладок їх попередньо стругають і потім шліфують, доводячи до потрібної товщини.
Докладніше про накладки направляючих див. стор. 5-8.

Схема встановлення накладок на напрямні каретки. Мал. 54.
Щільність приклеювання визначається легким простукуванням. Звук повинен бути однотонним на всіх ділянках.
Відновлення точності направляючих каретки акрілопластом при даному технологічному процесі, впроваджене в спеціалізованому ремонтно-механічному цеху ЛОМО, проводиться з мінімальними витратами фізичної праці при значному зниженні трудомісткості робіт.
Насамперед ремонтують поверхні, що сполучаються з направляючими станини. З цих поверхонь зістругують шар металу близько 3 мм. При цьому точність установки на столі стругального верстата становить 0,3 мм за довжиною поверхні, а чистота поверхні повинна відповідати VI. Потім каретку встановлюють на пристрій. При цьому за базу приймається площина 6 (рис. 35) для кріплення фартуха і вісь отвору для ггвинта поперечної подачі.
Після вивіряння та закріплення каретки з поверхонь поперечних направляючих знімають мінімальний шар металу, домагаючись паралельності поверхонь 1 і 3 направляючих (див. рис. 51) до поверхні 6 у поперечному напрямку не більше 0,03 мм, взаємна непаралельність поверхонь 2 та 4 – не більше 0,02 мм на довжині поверхонь. Завершують ремонт цих поверхонь декоративним шабренням з пригонкою поверхонь, що сполучаються поперечних санок і клина.
Подальше відновлення точності положення каретки здійснюють за допомогою стиракрилу і виробляють наступної послідовності:
Одночасно при центруванні встановлюють: перпендикулярність поперечних направляючих кареток до направляючих станини за допомогою пристрою 1 і індикатора 2; паралельність площини каретки для кріплення фартуха до направляючих станини - рівнем 8; перпендикулярність площини каретки під фартух до площини коробки подач на станині — рівнем 5.
Після того як всі положення вивірені і регулювальні гвинти закріплені гайками, знімають гвинт ходу і ходовий вал, а також фартух. Потім герметизують пластиліном поверхні каретки 1 (рис. 56) та станини з боку фартуха і задньої притискної планки; по краях каретки роблять із пластиліну чотири вирви 2, а навколо просвердлених отворів у середній частинині направляючих - дві вирви 3.
Розчин стиракрилу заливають у середню лійку однієї з направляючих до тих пір, поки рівень рідкого стиракрилу в крайніх лійках не досягне рівня середньої лійки; так само здійснюють заливання другої напрямної.
Каретку на станині витримують 2-3 години при температурі 18 - 20 ° С, потім викручують гвинти і закладають отвори під ними різьбовими пробками або стиракрилом. Після цього знімають каретку з направляючих станини, очищають від пластини, видаляють припливи пластику, прорубують канавки для змащування направляючих (шабрування цих поверхонь не виробляють). На цьому ремонт направляючих каретки завершують і приступають до збирання супорта.
При виконанні ремонту зазначеним способом трудомісткість операцій скорочується в 7-10 разів у порівнянні з шабренням і в 4-5 разів у порівнянні з розглянутим комбінованим способом і становить лише 3 нормо-год. При цьому забезпечується висока якість ремонту.
При ремонті санок домагаються прямолінійності 1, 2, 3 і 4 (рис. 57) і взаємної паралельності поверхонь 1 і 2. Санки дуже зручно ремонтувати шліфуванням. При цьому ремонт здійснюється в такий спосіб.
Ремонт поворотних санчат починають з поверхні 1 (рис. 58, а), яку шабрять, перевіряючи на фарбу по шліфовані поверхні поперечних санок, що сполучається. Кількість відбитків фарби має бути не менше 8-10 на площі 25 х 25 мм.
Потім здійснюють ремонт поверхонь шліфуванням у такому порядку.
Напрямні поверхні 2 і 5 повинні бути паралельними до площини 1. Допускається непаралельність не більше 0,02 мм на всій довжині. Виміри роблять мікрометром у трьох-чотирьох точках з кожного боку деталі.
Непаралельність поверхні 3 до 4 поверхні допускається не більше 0,02 мм на всій довжині.
Вимірювання проводять звичайним способом: мікрометром та двома контрольними валиками.
Кут 55°, утворений напрямними 2, 3 та 4, 5, перевірити за шаблоном звичайним способом.

Салазки супорта. Мал. 58.
При зносі поверхні 1 (рис. 58 б) її слід проточити на токарномуу верстаті і встановити на епоксидному клеї тонкостінну втулку. Потім ремонт продовжують у такому порядку.
Ця операція виключається, якщо ремонт каретки виконано згідно з табл. 5.
Поєднання осей ходового ггвинта та ходового валу, коробки подач та фартуха проводять відповідно до наступного типового технологічного процесу.
Допустиме відхилення від співвісності відчинок коробки подач і фартуха: у вертикальній плоскості - не більше 0,15 мм (вісь відверні фартуха може бути тільки вище відвернення коробки подач), у горизонтальній плоскості - не більше 0,07 мм.
Перевстановлення коробки по висоті слід проводити при ремонті направляючих каретки без компенсуючих накладок. При цьому відчини коробки подач для гвинтів кріплення її до станини фрезерують. При зміщенні коробки у горизонтальному напрямку необхідно фрезерувати відверстия в каретці для гвинтів кріплення фартуха: останній також необхідно змістити, а потім заново штифтувати.

Загальний вигляд суппорту токарно-гвинторізного верстату
Загальний вигляд суппорту токарно-гвинторізного верстата. Дивуватися у збільшеному масштабі

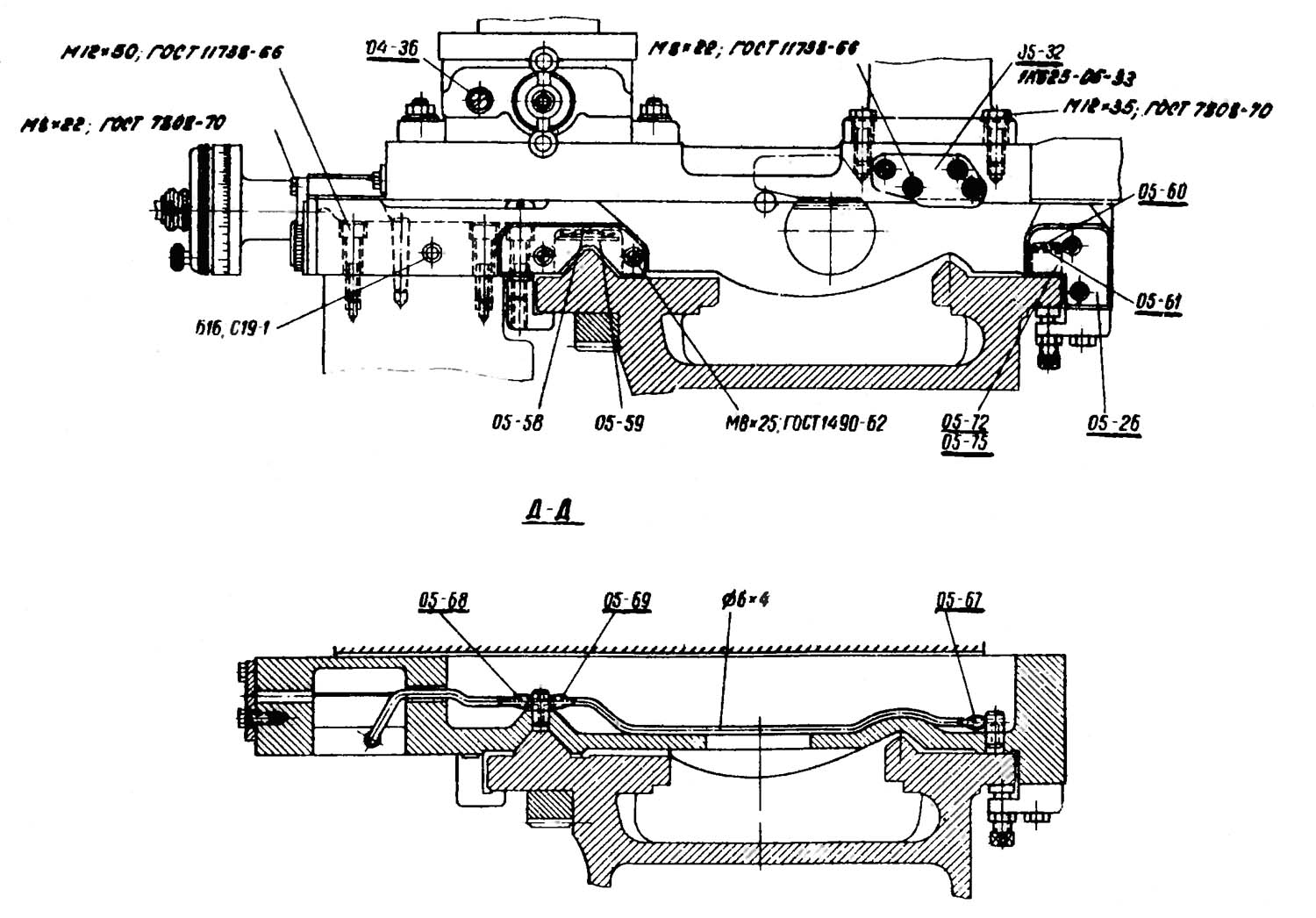
Креслення супорта токарного верстата
Влаштування суппорта токарно-гвинторізного верстата. Дивуватися у збільшеному масштабі

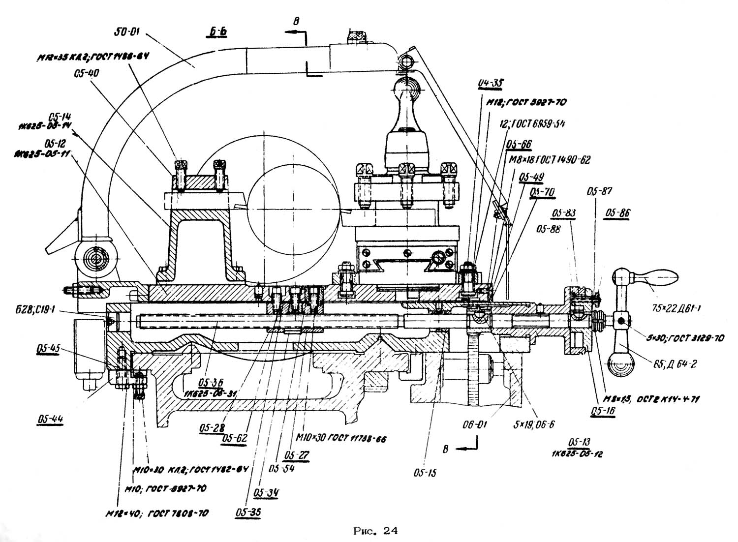
Креслення супорта токарного верстата
Влаштування суппорта токарно-гвинторізного верстата. Дивуватися у збільшеному масштабі

Креслення супорта токарного верстата
Влаштування суппорта токарно-гвинторізного верстата. Дивуватися у збільшеному масштабі

Креслення супорта токарного верстата
Влаштування суппорта токарно-гвинторізного верстата. Дивуватися у збільшеному масштабі

Креслення супорта токарного верстата
Влаштування суппорта токарно-гвинторізного верстата. Дивуватися у збільшеному масштабі
Пекеліс Р. Д., Гельберг Б.Т. Л., "Машинобудування". 1970р.
Притир супорту токарного верстата
Шабрування каретки токарного верстата