Токарно-гвинторізні універсальні верстати ТС-70 вироблялися Челябінський Верстатобудівний завод №78 імені Серго Орджонікідзе, ФНВЦ "Станкомаш" , заснований у 1935 році.
Продукція, що виробляється: верстати токарно-гвинторізні: 1К62Д, 1К625Д, ТС-30, ТС-70, ТС-75, ТС-85 компактні токарні верстати ТВ-250.
Верстат токарно-гвинторізний моделей ТС-70 призначений для виконання різноманітних токарних робіт, у тому числі для нарізування різьблення: метричної, дюймової, модульної, пітчевої та архімедової спіралі з кроком 3/8", 7/16", 8, 10 і 12 мм. . Клас точності Н згідно з ГОСТ 8. Умови експлуатації УХЛ4, ТС4, ТВ4 за ГОСТ15150 залежно від замовлення-наряду.
Базова модель - універсальний токарно-гвинторізний верстат 1К62Д , який є вдосконаленим прототипом верстата 1К62 , що добре зарекомендував себе в багатьох країнах світу , що випускався раніше заводом "Червоний пролетарій".
Крім базової моделі у складі серії представлено кілька модифікацій верстатів, які враховують індивідуальні запити споживачів. Особливості тієї чи іншої модифікації неважко простежити з маркування верстата.
Основні переваги пропонованої серії верстатів - висока потужність головного приводу, велика жорсткість і міцність всіх ланок кінематичного ланцюга, надійність та вібростійкість конструкції, широкий діапазон частот обертання шпинделя, розрахованих на швидкісне та силове різання.
Універсальний токарно-гвинторізний верстат ТС-70 відноситься до середніх верстатів і призначений для обробки заготовок середніх розмірів:
Шпиндель встановлений на двох опорах кочення. Передня опора є регульованим дворядним роликовим підшипником з внутрішнім конічним кільцем. Підшипник регулюють затягуванням гайки (стопора), яка натискає на внутрішнє кільце підшипника. Кільце при цьому насувається на конічну шию шпинделя і розтискається; таким чином зменшується зазор між кільцями та роликами, що утворився в результаті зношування. Задня опора шпинделя складається з двох радіально-завзятих підшипників, які регулюють тільки при поточному огляді верстата.
У конструкції токарного верстата ТС-70 для встановлення шпинделя передбачені спеціальні підшипники, завдяки чому забезпечуються необхідна жорсткість та висока точність обробки заготовок.
Шпиндель верстатів встановлений на спеціальних підшипниках, які забезпечують необхідну жорсткість та високу точність обробки.
Обробка різноманітних матеріалів може проводитись з ударними навантаженнями без втрати точності.
Верстати можуть використовуватися для обробки загартованих заготовок із жароміцної та інструментальної сталі, що потребують важких режимів різання.
Клас точності Н згідно з ГОСТ 8-82.
Умови експлуатації УХЛ4, ТС 4, ТВ 4 за ГОСТ 15150-69 залежно від замовлення – вбрання.
Шпиндель верстата отримує 23 ступені прямих (12,5..2000 об/хв) і 12 зворотних (19..2420 об/хв) ступенів частот обертання від коробки швидкостей передньої бабці.
Передній кінець шпинделя виконаний за ГОСТ 12593 (Конці шпинделів фланцеві під поворотну шайбу і фланці затискних пристроїв), DIN 55027, ISO 702-3-75 під поворотну шайбу, з коротким конусом, що центрує 1:4 (7°7′30″)

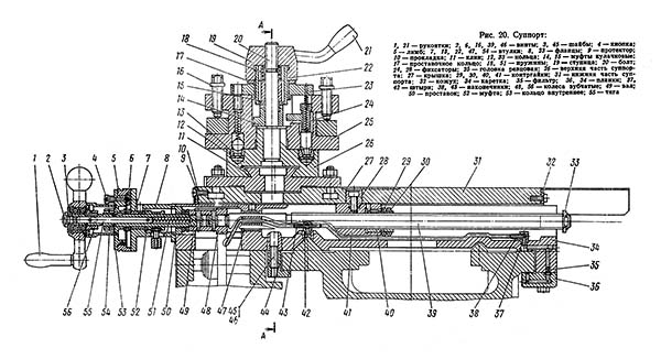
Супорт токарно-гвинторізного верстата ТС-70

Шпиндель токарно-гвинторізного верстата тс-70
Шпиндель токарно-гвинторізного верстата ТС-70. Дивитись у збільшеному масштабі

Фото токарно-гвинторізного верстата тс-70
Фото токарно-гвинторізного верстата ТС-70. Дивитись у збільшеному масштабі

Фото токарно-гвинторізного верстата тс-70

Фото токарно-гвинторізного верстата тс-70

Розташування складових частинин токарного верстата ТС-70
Розташування складових частинин токарного верстата ТС-70. Дивитись у збільшеному масштабі

Розташування органів керування токарно-гвинторізним верстатом тс-70
Органи керування токарно-гвинторізним верстатом ТС-70. Дивитись у збільшеному масштабі

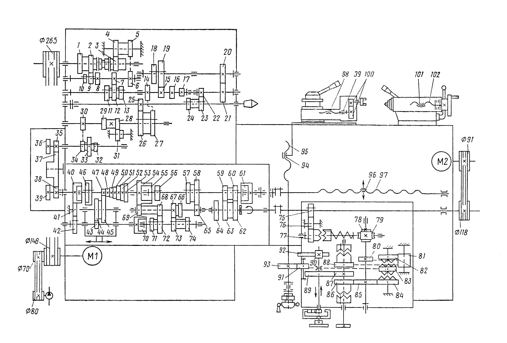
Кінематична схема токарно-гвинторізного верстата ТС-70
Схема кінематична токарно-гвинторізного верстата ТС-70. Дивитись у збільшеному масштабі

Передня бабка токарно-гвинторізного верстата ТС-70
Передня бабка токарно-гвинторізного верстата ТС-70. Дивитись у збільшеному масштабі

Передня бабка токарно-гвинторізного верстата ТС-70
Передня бабка токарно-гвинторізного верстата ТС-70. Дивитись у збільшеному масштабі

Передня бабка токарно-гвинторізного верстата ТС-70
Передня бабка токарно-гвинторізного верстата ТС-70. Дивитись у збільшеному масштабі
Передня бабка служит для сообщения шпинделю различных частот обертання при резании, сверлении, нарезании різьб і приводит в рух сменные зубчасті колеса коробки передач. Механізм передньої бабки позволяет:
Передня бабка устанавливается на линии центров в горизонтальной плоскости гвинтами.
Установка числа оборотів шпинделя осуществляется двумя рукоятками 5 і 9 (рис. 5) по таблице, помещенной на передньої бабке.
В правой і левой частини таблицы даны ряды чисел оборотів шпинделя в минуту при прямом вращении і указаны положения рукояток для установки требуемого числа оборотів.
Рукояткой 9 устанавливается один из четырех рядов частот обертання шпинделя в соответствии з обозначением положения рукоятки, нанесенным на таблице.
Рукояткой 5, на ступице которой нанесены цифры от 1 до 6, устанавливается требуемое число оборотів из выбранного ряда.
Для етого цифру, обозначающую требуемое число оборотів по таблице, нужно совместить з вертикальной стрелкой, изображенной над рукояткой.

Задня бабка токарно-гвинторізного верстата ТС-70
Задня бабка токарно-гвинторізного верстата ТС-70. Дивитись у збільшеному масштабі

Задня бабка токарно-гвинторізного верстата ТС-70
Задня бабка токарно-гвинторізного верстата ТС-70. Дивитись у збільшеному масштабі
Задня бабка перемещается по направляющим станины і крепится к ней в нужном положении через систему рычагов і ексцентрик рукояткой.
Перемещение пиноли осуществляется вращением маховика, а крепление пиноли рукояткой.
При помощи поперечного смещения задньої бабки, осуществляемого гвинтами I і 2 (рис. 8), можно обрабатывать пологие конуса.

Коробка подач токарно-гвинторізного верстата ТС-70
Коробка подач токарно-гвинторізного верстата ТС-70. Дивитись у збільшеному масштабі

Коробка подач токарно-гвинторізного верстата ТС-70
Коробка подач токарно-гвинторізного верстата ТС-70. Дивитись у збільшеному масштабі

Коробка подач токарно-гвинторізного верстата ТС-70
Коробка подач токарно-гвинторізного верстата ТС-70. Дивитись у збільшеному масштабі
Механізм коробки подач позволяет, через ходовой винт з шагом 12 мм (без звена увеличения шага), получить наступні різьби:
Посредством механізма увеличения шага при числе оборотів шпинделя от 12,5 до 40 можно получить різьби з увеличенным шагом, превышающим нормальный в 32 раза, а при числе оборотів от 50 до 160 — в 8 раз в соответствии з данными таблицы на рукоятке 1 (см. рис. 5).
Через ходовой валик суппорт, при любом числе оборотів шпинделя, получает продольные подачі от 0,07 до 2,08 мм/об, і поперечные от 0,035 до 1,04 мм/об., а при числе оборотів от 50 до 630 в минуту — продольные подачі от 2,28 до 4,16 мм/об і поперечные от 1,14 до 2,08 мм/об.
Для нарізання более точных різьб в коробке подач предусмотрено положение рукоятки 2 (рис. 5), при котором ходовой винт включается напрямую, минуя механізм коробки подач. При етом нужный шаг подбирается сменными шестернями специального набора.
Поворотом рукоятки 1 з барабаном определяется выбор ряда різьб или подач. Для получения требуемой величины і выбранного ряда різьби или подачі необходимо рукоятку из барабана вытащить на себя, повернуть до совпадения риски рукоятки з соответствующей графой таблицы барабана, а затем подать рукоятку вперед в прежнее положение.
Для осуществления быстрых перемещений суппорта в коробке подач на выходном валу смонтирована обгонная муфта.

Фартук токарно-гвинторізного верстата ТС-70
Фартук токарно-гвинторізного верстата ТС-70. Дивитись у збільшеному масштабі

Фартук токарно-гвинторізного верстата ТС-70
Фартук токарно-гвинторізного верстата ТС-70. Дивитись у збільшеному масштабі

Фартук токарно-гвинторізного верстата ТС-70
Фартук токарно-гвинторізного верстата ТС-70. Дивитись у збільшеному масштабі
Фартук имеет четыре кулачковые муфты, позволяющие осуществить прямой і обратный ход каретки і суппорта. Керування переміщеннями каретки і нижней частини суппорта осуществляется мнемонической рукояткой 23 (см. рис. 5).
Фартук имеет блокирующее пристрій, препятствующее одновременному включению поздовжньої і поперечної подач суппорта, одновременному включению ходового гвинта і ходового валика, а также предохранительную кулачковую муфту, которая срабатывает под действием усилий, возникающих при перегрузке фартука.
Зазор сцепления маточной гайки з ходовым винтом отрегулирован на заводе. При ремонтi зазор устанавливается винтом, расположенным в торце корпуса маточной гайки знизу фартука.

Суппорт токарно-гвинторізного верстата ТС-70
Суппорт токарно-гвинторізного верстата ТС-70. Дивитись у збільшеному масштабі

Суппорт токарно-гвинторізного верстата ТС-70
Суппорт токарно-гвинторізного верстата ТС-70. Дивитись у збільшеному масштабі
Суппорт крестовой конструкції перемещается в продольном; направлении по направляющим станины і в поперечном по направляющим каретки.
Эти переміщення могут быть осуществлены от механического приводу на рабочей подаче, быстро, а также от руки.
Кроме того, верхняя часть суппорта, несущая на себе четырехгранную резцовую головку, имеет независимое ручное продольное перемещение по направляющим поворотной частини суппорта і може быть повернута на угол от ±90°.
При тяжелых торцовых работах необходимо винтом 19 (рис. 5) затянуть прижимную планку каретки.
Жесткий микрометрический упор ограничения продольных перемещений крепится на передньої полке станины двумя гвинтами.
На нижней частини суппорта може быть установлен дополнительно задний резцедержатель.
Для установки заднего резцедержателя на станке ТС-70, полученного заказчиком по специальному заказу отдельно от верстата, необходимо произвести доработку нижней частини суппорта (рис. 9).

Керування фрикционом токарно-гвинторізного верстата ТС-70
Керування фрикционом токарно-гвинторізного верстата ТС-70. Дивитись у збільшеному масштабі
Конструкція механізма исключает возможность увімкнення или виключення фрикционной муфты при случайном нажатии на рукоятки 27, 35 (рис. 5), которые сблокированы между собой следующим образом.
При работе рукояткой 27 рукоятка 35 повторяет операции первой. Выключение возможно любой из рукояток. Если же муфта включена рукояткой 35, то вимкнення можно произвести і рукояткой 27 только при условии предварительного поворота етой рукоятки в соответствующее рабочее положение з післядующим возвращением в нейтральное (среднее) положение для виключення.

Коробка передач (сменные шестерни, гітара) токарно-гвинторізного верстата ТС-70
Коробка передач служит для передачи руху от выходного вала передньої бабки к приводному валу коробки подач.
Для получения подачі і нарізання метрической і дюймовой різьб устанавливаются шестерни основного набора з передаточным отношением 42/95*95/50, для нарізання модульной или питчевой різьб — 64/95*95/97 і для нарізання дюймовой різьби з шагом 19 ниток на 1" — 64/95*95/50
Трехкулачковый самоцентрирующийся патрон соединяется со шпинделем при помощи переходного фланца 5 (рис. 25).
При установці фланец 5 патрона центрируется на наружном конусе шпинделя 2, четыре шпильки 6 свободно проходят через отверстия фланца шпинделя і замкового кольца 7, затем замковое кольцо поворачивают і посредством равномерного перекрестного затягивания гаек 8 достигается беззазорное прилегание торца фланца 5 к фланцу шпинделя 2.
Корпус патрона центрируется по цилиндрическому пояску фланца 5 і притягивается к нему гвинтами.
Точность посадки патрона на шпиндель проверяется индикатором по контрольному пояску, расположенному на наружной цилиндрической поверхности корпуса патрона.
Радиальное биение не должно превышать 0,02 мм.
Для обеспечения надежности зажиму і безопасности роботи следует строго придерживаться требований, изложенных в паспорте патрона. Паспорт находится в ящике, в котором упакован патрон.
Установка патрона СТ-250П-Ф6 без переходного фланца осуществляется вышеуказанным способом.
Поводковый і четырехкулачковый патроны крепятся непосредственно на шпинделе без переходного фланца.
За отдельную плату со верстатом могут быть поставлены люнеты: подвижный з диаметрами установки 20... 110 мм і нерухомий з диаметрами установки 30... 160 мм.
В руководстве под определением «Центровой инструмент» понимается режущий инструмент для обробки отверстий, ось которых совпадает з осью шпинделя (например, сверла, зенкеры, развертки і т. п.).
Держатель центрового инструмента применяется при обработке отверстий з ручной і механической подачей каретки.
Держатель 1 устанавливают в позицию резцедержателя, маркированную символом, обозначающим сверло, до упора в его боковую грань і зажимают гвинтами.
В цилиндрическое отверстие держателя вставляется втулка 2 з коническим отверстием для инструмента і стопорится винтом 3.
Совмещение оси режущего инструмента з осью шпинделя осуществляется переміщенням поперечных салазок суппорта до совпадения з риской на каретке.
Коррекция положения оси режущего инструмента производится рукояткой переміщення поперечных салазок.

Електрична схема токарно-гвинторізного верстата ТС-70
Електроустаткування - загальні відомості. Електроустаткування верстата ТС-70 подключается к трехфазной сети переменного тока в соответствии з исполнениями, основні параметри которых приведены в табл. 10.
На станке установлены трехфазные асинхронные електродвигатели: головного приводу Ml, быстрых перемещений каретки і суппорта М2 і електронасоса охлаждения М3 (см. рис. 32, 33, 34).
На каретке установлены:
В рукоятке фартука встроен конечный выключатель SQ3 для керування електродвигуном переміщення каретки і суппорта.
В левой нише задньої стороны станины установлен конечный выключатель SQ1 ограничения холостого ходу головного привода. Открывание защитного кожуха з левой стороны верстата контролируется конечным выключателем SQ2.
Рабочее место освещается светильником EL1, смонтированным на каретке.
Шкаф керування установлен на задньої стенке передньої бабки. На внешней стороне шкафа имеются наступні органы керування і индикации:
Подключение верстата. При подключении верстата необходимо убедиться в соответствии напряжения і частоти питающей сети електрическим параметрам верстата, указанным в таблице на внутренней стороне дверцы шкафа керування.
Ввод проводов заземления і електроживлення сети може быть выполнен через верхнюю плоскость шкафа керування или через нижнюю, причем фланец з резьбовым отверстием G3/4-B для присоединения защитной оболочки сетевых проводов, взаимозаменяем з крышкой нижней плоскости шкафа. Подключать верстат к питающей сети і системе заземления изолированными медными проводами согласно табл. 11.
При заземлении верстата к контуру заземления стальной шиной используется спеціальний болт, расположенный на задньої стороне станины под шкафом керування, при етом в шкаф вводятся только три фазных провода
| Наименование параметра | 1К62Д | ТС-70 | ТС-75 | ТС-75-01 | ТС-75-02 |
| Основні параметри | |||||
| Класс точності по ГОСТ 8-82 | Н | Н | Н | Н | Н |
| Наибольший диаметр заготовки над станиной, мм | 435 | 435 | 435 | 435 | 435 |
| Наибольший диаметр заготовки над суппортом, мм | 224 | 224 | 224 | 224 | 224 |
| Наибольшая длина заготовки (РМЦ), мм | 1000,1500 | 1000,1500 | 1000,1500 | 1000,1500 | 1000,1500 |
| Наибольшая масса заготовки в патроне, кг | 200 | 200 | 200 | 200 | 200 |
| Наибольшая масса заготовки в центрах, кг | 900 | 900 | 900 | 900 | 900 |
| Шпиндель | |||||
| Диаметр сквозного отверстия в шпинделе, мм | 55 | 55 | 55 | 55 | 55 |
| Наибольший диаметр прутка, мм | |||||
| Число ступеней частот прямого обертання шпинделя | 23 | 23 | 23 | 23 | 23 |
| Частота прямого обертання шпинделя, об/мин | 12,5..2000 | 12,5..2000 | 12,5..2000 | 12,5..2000 | 12,5..2000 |
| Число ступеней частот обратного обертання шпинделя | 12 | 12 | 12 | 12 | 12 |
| Частота обратного обертання шпинделя, об/мин | 19..2420 | 19..2420 | 19..2420 | 19..2420 | 19..2420 |
| Размер внутреннего конуса в шпинделе, М | Морзе 6 | Морзе 6 | Морзе 6 | Морзе 6 | Морзе 6 |
| Кінець шпинделя по ГОСТ 12593-72 | 6К | 6К | 6К | 6К | 6К |
| Наибольший крутящий момент, кНм | 2 | 2 | 2 | 2 | 2 |
| Подачи | |||||
| Наибольшая длина ходу каретки, мм | 930,1430 | 930,1430 | 930,1430 | 930,1430 | 930,1430 |
| Число ступеней продольных і поперечных подач | 42 | 42 | 42 | 42 | 42 |
| Пределы продольных подач, мм/об | 0,07..4,16 | 0,07..4,16 | 0,07..4,16 | 0,07..4,16 | 0,07..4,16 |
| Пределы поперечных подач, мм/об | 0,035..2,08 | 0,035..2,08 | 0,035..2,08 | 0,035..2,08 | 0,035..2,08 |
| Скорость быстрых перемещений суппорта, продольных, м/мин | 4,5 | 4,5 | 4,5 | 4,5 | 4,5 |
| Скорость быстрых перемещений суппорта, поперечных, м/мин | 2,25 | 2,25 | 2,25 | 2,25 | 2,25 |
| Количество нарезаемых різьб метрических | 45 | 45 | 45 | 45 | 45 |
| Пределы шагов нарезаемых різьб метрических, мм | 0,5..192 | 0,5..192 | 0,5..192 | 0,5..192 | 0,5..192 |
| Количество нарезаемых різьб дюймовых | 28 | 28 | 28 | 28 | 28 |
| Пределы шагов нарезаемых різьб дюймовых, ниток на дюйм | 24..1 5 / 8 | 24..1 5 / 8 | 24..1 5 / 8 | 24..1 5 / 8 | 24..1 5 / 8 |
| Кількість нарізних різьблень модульних | 38 | 38 | 38 | 38 | 38 |
| Межі кроків різьблення модульних | 0,5..48 | 0,5..48 | 0,5..48 | 0,5..48 | 0,5..48 |
| Кількість нарізних різьблення питних | 37 | 37 | 37 | 37 | 37 |
| Межі кроків різьблення питних | 96..1 | 96..1 | 96..1 | 96..1 | 96..1 |
| Кількість нарізних різьблень архімедової спіралі | 5 | 5 | 5 | 5 | 5 |
| Межі кроків нарізання різьблення архімедової спіралі | 3/8",7/16" 8.10 |
3/8",7/16" 8.10 |
3/8",7/16" 8.10 |
3/8",7/16" 8.10 |
3/8",7/16" 8.10 |
| Супорт | |||||
| Ціна поділу лімба поздовжнього переміщення, мм | 0,1 | 0,1 | 0,1 | 0,1 | 0,1 |
| Найбільше переміщення санок, мм | 140 | 140 | 140 | 140 | 140 |
| Ціна поділу лімба різцевих санчат, мм | 0,05 | 0,05 | 0,05 | 0,05 | 0,05 |
| Задня бабка | |||||
| Ціна поділу лімба, мм | 0,1 | 0,1 | 0,1 | 0,1 | 0,1 |
| Розмір внутрішнього конуса пінолі | Морзе 5 | Морзе 5 | Морзе 5 | Морзе 5 | Морзе 5 |
| Найбільше переміщення пінолі, мм | 200 | 200 | 200 | 200 | 200 |
| Поперечне зміщення корпусу задньої бабки, мм | ±15 | ±15 | ±15 | ±15 | ±15 |
| Характеристика пневмообладнання | |||||
| Діаметр пневмо циліндра, мм | - | - | 200 | - | - |
| Хід штока пневмоциліндра, мм | - | - | 32 | - | - |
| Найбільший тиск повітря, кг/см2 | - | - | 6 | - | - |
| Характеристика гідрокопіювального пристрою | |||||
| Найбільший діаметр зовнішнього копіювання, мм | - | - | - | - | 155 |
| Найбільший діаметр розточування, мм | - | - | - | - | 200 |
| Найбільша різниця оброблюваних діаметрів при копіюванні , мм | - | - | - | - | 80 |
| Найбільша довжина копіюваної частинини виробу, мм | - | - | - | - | 600 |
| Швидкість підведення різця гідросупорта вхолосту, мм/хв. | - | - | - | - | 700 |
| Швидкість відведення різця гідросупорта вхолосту, мм/хв. | - | - | - | - | 1400 |
| Електроустаткування | |||||
| Кількість електродвигунів на верстаті | 3 | 3 | 3 | 3 | 4 |
| Потужність електродвигуна головного приводу, кВт | 11 | 11 | 11 | 11 | 11 |
| Потужність електродвигуна швидких переміщень (ходів), кВт | 0,75 | 0,75 | 0,75 | 0,75 | 0,75 |
| Потужність електродвигуна насоса охолодження, кВт | 0,12 | 0,12 | 0,12 | 0,12 | 0,12 |
| Потужність електродвигуна гідростанції, кВт | - | - | - | - | 1,1 |
| Потужність всіх електродвигунів, кВт | 11,87 | 11,87 | 11,87 | 11,87 | 11,97 |
| Габарити та маса верстата | |||||
| Габарити верстата при РМЦ = 1000 мм | 2786 x 1200 x 1500 |
2786 x 1200 x 1500 |
3182 x 1210 x 1500 |
2786 x 1210 x 1500 |
2786 x 1210 x 1500 |
| Маса верстата на тумбах при РМЦ = 1000 кг | 3080 | 3080 | 2650 | 2680 | 2680 |
| Маса знімного обладнання верстата, кг | 160 | 120 | 214 |