Виробником свердлувального настільного верстата СНС-90 є ПО ТПЗ .
Технічні вимоги до свердлильного верстата зафіксовано у ТУ 2-00222479-041-92.
Свердлильний верстат СНС-90 призначений для свердління отворів та нарізування різьблення в дрібних деталях із чавуну, сталі, кольорових сплавів та неметалічних матеріалів в умовах промислових підприємств, ремонтних майстерень та побутових майстерень.
Настільний свердлильний верстат СНС-90 дозволяє виконувати такі операції:
Основна особливість верстата СНС-90 - наявність 3-ступінчастої коробки швидкостей, яка разом з 2-ступінчастиним шківом забезпечують 6 швидкостей шпинделя.
Відлік глибини свердління провадиться за плоскою шкалою або упором.
Оригінальна конструкція натягу ремінної передачі дозволяє швидко змінювати положення ременя на шківах для отримання потрібної швидкості різання.
Захист електрообладнання верстата від короткого амикання та перевантаження струмом забезпечує споживач. У місці підведення живильних проводів до розетки верстата встановлюється автоматичний вимикач типу АП50-3МТ (АЕ 2036М) або аналогічний з номінальним струмом теплового розчіплювача 2А і встановлення струму спрацьовування в зоні струмів короткого замикання 10-12 Iн, або запобіжниками з плав.
Верстат встановлюється на дерев'яному або металевому верстаті, оснащеному місцевим освітленням, та кріпиться болтами М12. Точність роботи верстата залежить від правильності його встановлення. Установка вивіряється рівнем, встановленим на плиту.
Перед початковим запуском верстата необхідно шляхом зовнішнього огляду перевірити надійність заземлення та якість монтажу електроустаткування. Перевірити затягування гвинтів та підтягнути з'єднання, ослаблені під час транспортування.
Підключити верстат до магістральної шини заземлення. Підключити верстат за допомогою штепсельного роз'єму до мережі живлення. Увімкнути автоматичний вимикач (придбається та встановлюється покупцем), при цьому загоряється індикатор мережі. Верстат готовий до роботи.

Габаритні розміри робочого простору верстата СНР-90

Загальний вигляд свердлувального настільного верстата СНС-90
Загальний вигляд свердлувального настільного верстата СНР-90. Дивитись у збільшеному масштабі

Фото свердлувального верстата СНС-90
Кінематична схема верстата містить 3 кінематичні ланцюги:
Обертання від електродвигуна передається через ремінну передачу 1, 3-ступінчасту коробку швидкостей і 2-ступінчастиний шків на вал шпинделя.
Ручна подача шпинделя здійснюється рукояткою штурвального пристрою, обертання через зубчасте колесо 9 передається на рейку 10 гільзи шпинделя.

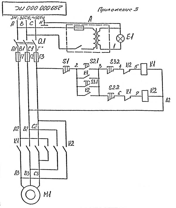
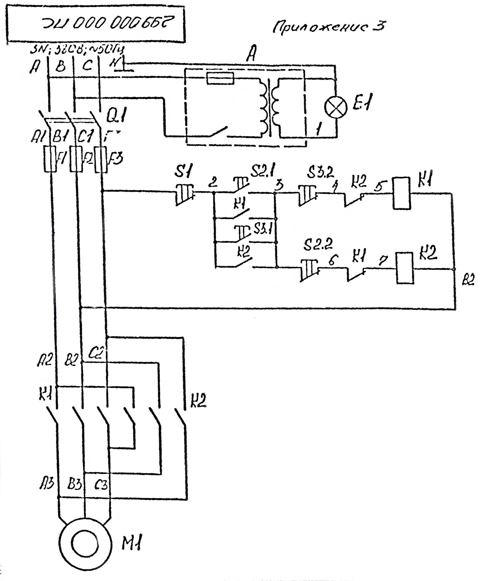
Електрична схема свердлувального верстата СНС-90
Електрична схема свердлильного верстата СНР-90. Дивитись у збільшеному масштабі
| Найменування параметру | 2M112 | 2H112 | AS2116m | СНС-90 |
|---|---|---|---|---|
| Основні параметри верстата | ||||
| Найбільший умовний діаметр свердління, мм | 12 | 12 | 16 | 16 |
| Найменша та найбільша відстань від торця шпинделя до столу | 0...400 | 70..420 | 100..400 | 400 |
| Відстань від осі вертикального шпинделя до направляючих стійки (виліт), мм | 190 | 160 | 232 | 180 |
| Робочий стіл | ||||
| Ширина робочої поверхні столу, мм | 250 х 250 | 250 х 250 | 250 х 270 | 250 х 250 |
| Число Т-подібних пазів | 3 | 3 | 3 | 3 |
| Шпиндель | ||||
| Найбільше переміщення шпиндельної (свердлувальної) головки по колоні, мм | 250 | 300 | ||
| Хід гільзи шпинделя, мм | 100 | 100 | 100 | 100 |
| Частота обертання шпинделя, об/хв | 450, 800, 1400, 2500, 4500 | 500, 710, 1000, 1400, 2000, 2800, 4000 | 170, 280, 450, 750, 750, 1250, 2000 | 430, 890, 1360, 2345, 4250 |
| Кількість швидкостей шпинделя | 5 | 7 | 6 | 5 |
| Конус шпинделя | Морзе В18 | Морзе В18 | Морзе В18 | Морзе В18 |
| Привід | ||||
| Напруга мережі живлення, В | 380 | 220/380 | ||
| Електродвигун приводу головного руху, кВт (об/хв) | 0,55 | 0,6 (1350) | 0,55 (1500) | 0,75 (1430) |
| Габарит та маса верстата | ||||
| Габарити верстата (довжина ширина висота), мм | 795 х 370 х 950 | 785 х 465 х 795 | 515 х 785 х 975 | 770 х 350 х 980 |
| Маса верстата, кг | 120 | 120 | 125 | 120 |